|
|
(21), (22) Заявка: 2006101853/28, 23.01.2006
(24) Дата начала отсчета срока действия патента:
23.01.2006
(46) Опубликовано: 27.09.2007
(56) Список документов, цитированных в отчете о поиске:
RU 2240615 C1, 20.11.2004. RU 2014692 C1, 15.06.1994. US 20022003670 A, 10.01.2002. GR 3020498 T, 31.10.1996.
Адрес для переписки:
125424, Москва, Волоколамское ш., 95, ФГУП “НПО Астрофизика”
|
(72) Автор(ы):
Барков Валерий Павлович (RU), Мурашев Владимир Михайлович (RU), Мызников Александр Николаевич (RU), Романенко Ольга Николаевна (RU), Свиридов Константин Николаевич (RU), Чередников Олег Руфович (RU)
(73) Патентообладатель(и):
Федеральное государственное унитарное предприятие “НПО Астрофизика” (RU)
|
(54) УСТРОЙСТВО ДЛЯ ФОКУСИРОВКИ ЛАЗЕРНОГО ИЗЛУЧЕНИЯ
(57) Реферат:
Изобретение относится к области лазерной техники и может быть использовано при доставке сфокусированного лазерного пучка на объект. Устройство включает оптически сопряженные входной и выходной аксиконы, выполненные в виде коаксиально расположенных внутренних и периферийных конусообразных отражающих поверхностей. Внутренние конусообразные отражающие поверхности аксиконов смонтированы на концах стержня. Стержень связан с периферийными конусообразными отражающими поверхностями аксиконов через пилоны. Устройство снабжено двумя плоскими отражающими элементами. Внутренние конусообразные отражающие поверхности аксиконов, смонтированные на концах стержня, выполнены с осевыми цилиндрическими выступами. Диаметры вышеуказанных осевых выступов соизмеримы с диаметром фокального пятна сфокусированного лазерного излучения и выполнены с разнонаправленными зеркальными скосами на концах, оптически сопряженными через плоские отражающие элементы с фокальным пятном сфокусированного излучения. Технический результат – повышает плотность мощности сфокусированного излучения. 1 з.п. ф-лы, 2 ил.
Изобретение относится к области лазерной техники и может быть использовано при доставке сфокусированного лазерного пучка на объект (например, при создании лазерных технологических комплексов).
Известны устройства для фокусировки лазерного излучения, выполненные на базе оптически сопряженных аксиконов, см. L.W.Casperson and M.S.Shekhani. Breakdown in a Radial-Mode Focusing Element. Appl. Opt., v.13, №1, 1974, p.104-108; и W.R.Edmonds. The Reflakxicon, a New Reflective Optical Element, and Some Applications. Appl. Opt, v.12, №8, 1973, p.1940-1945.
Наиболее близким техническим решением (прототипом) к предлагаемому изобретению является устройство для фокусировки лазерного излучения, содержащее оптически сопряженные входной и выходной аксиконы, выполненные в виде коаксиально расположенных внутренних и периферийных конусообразных отражающих поверхностей, при этом внутренние конусообразные отражающие поверхности аксиконов смонтированы на концах стержня, связанного с периферийными конусообразными отражающими поверхностями аксиконов через пилоны, см. RU 2240615 С1, опубл. 20.11.2004, Бюл. №32.
Недостатком приведенных технических решений является пониженная плотность мощности в сфокусированном пучке лазерного излучения, обусловленная отсутствием использования лучевой энергии центральной области подаваемого (фокусируемого) пучка лазерного излучения.
Технический результат от использования предлагаемого технического решения заключается в повышении плотности мощности фокусируемого пучка лазерного излучения.
В соответствии с предлагаемым изобретением вышеуказанный технический результат достигается тем, что устройство для фокусировки лазерного излучения, включающее оптически сопряженные входной и выходной аксиконы, выполненные в виде коаксиально расположенных внутренних и периферийных конусообразных отражающих поверхностей, при этом внутренние конусообразные отражающие поверхности аксиконов смонтированы на концах стержня, связанного с периферийными конусообразными отражающими поверхностями аксиконов через пилоны, снабжено двумя плоскими отражающими элементами, а внутренние конусообразные отражающие поверхности аксиконов, смонтированные на концах стержня, выполнены с осевыми цилиндрическими выступами, при этом диаметры вышеуказанных осевых выступов соизмеримы с диаметром фокального пятна сфокусированного лазерного излучения и выполнены с разнонаправленными зеркальными скосами на концах, оптически сопряженными через плоские отражающие элементы с фокальным пятном сфокусированного излучения.
Кроме того, основание осевого цилиндрического выступа внутренней конусообразной отражающей поверхности входного аксикона выполнено с проточкой.
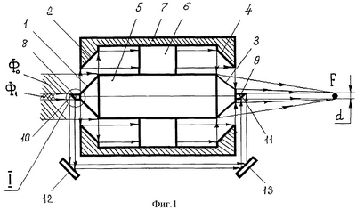
На фиг.1 изображено предлагаемое устройство для фокусировки лазерного излучения; на фиг.2 – то же, место I на фиг.1 в увеличенном масштабе.
Устройство содержит входной аксикон в виде коаксиально расположенных внутренней 1 и периферийной 2 конусообразных отражающих поверхностей и размещенный соосно входному аксикону выходной аксикон в виде внутренней 3 и периферийной 4 конусообразных отражающих поверхностей. Отражающие поверхности 1 и 3 смонтированы на концах стержня 5, который связан с отражающими поверхностями 2 и 4 с помощью пилонов 6, например, через втулку 7. Внутренние отражающие поверхности 1 и 3 аксиконов выполнены с осевыми цилиндрическими выступами 8 и 9 с наружным диаметром, соизмеримым с диаметром d фокального пятна фокусированного лазерного излучения (Ф1+Ф0). На концах выступов 8 и 9 выполнены разносторонние зеркальные скосы 10 и 11, напротив которых установлены плоские зеркальные элементы 12 и 13. Для исключения рассеивания излучения в месте сопряжения выступа 8 и отражающей поверхности 1 (за счет наличия радиуса на острой кромке режущего инструмента для обработки отражающих поверхностей устройства) в области основания выступа 8 предусмотрена проточка 14 (см. фиг.2).
Функционирование устройства осуществляется следующим образом.
Параллельный пучок (Ф1+Ф0) лазерного излучения подается на внутреннюю отражающую поверхность 1 входного аксикона. Часть излучения (Ф0) с помощью периферийных отражающих поверхностей 2 и 4 аксиконов, попадая на внутреннюю (фокусирующую) поверхность 3 выходного аксикона, концентрируется в фокусе F устройства с диаметром фокального пятна, равным d. Центральная область (Ф1) фокусируемого излучения через зеркальный скос 10, элементы 12 и 13 и зеркальный скос 11 также подается в фокус F, где суммируется со сфокусированной областью Ф0 излучения, создавая тем самым повышенную плотность мощности фокусируемого излучения.
Из вышеприведенного следует, что предложенное техническое решение имеет преимущество по сравнению с известными, а именно за счет дополнительного использования лучевой энергии центральной области фокусируемого излучения повышает плотность мощности в области фокального пятна устройства.
Следовательно предложенное устройство для фокусировки лазерного излучения при использовании дает положительный технический результат – повышает плотность мощности сфокусированного излучения.
По материалам заявки на предприятии в настоящее время изготовлен макетный образец предложенного устройства, который при испытаниях подтвердил достижение вышеуказанного технического результата.
Формула изобретения
1. Устройство для фокусировки лазерного излучения, содержащее оптически сопряженные входной и выходной аксиконы, выполненные в виде коаксиально расположенных внутренних и периферийных конусообразных отражающих поверхностей, при этом внутренние конусообразные отражающие поверхности аксиконов смонтированы на концах стержня, связанного с периферийными конусообразными отражающими поверхностями аксиконов через пилоны, отличающееся тем, что оно снабжено двумя плоскими отражающими элементами, а внутренние конусообразные отражающие поверхности аксиконов, смонтированные на концах стержня, выполнены с осевыми цилиндрическими выступами, при этом диаметры вышеуказанных осевых выступов соизмеримы с диаметром фокального пятна сфокусированного лазерного излучения и выполнены с разнонаправленными зеркальными скосами на концах, оптически сопряженными через плоские отражающие элементы с фокальным пятном сфокусированного излучения.
2. Устройство по п.1, отличающееся тем, что основание осевого цилиндрического выступа внутренней конусообразной отражающей поверхности входного аксикона выполнено с проточкой.
РИСУНКИ
|
|