|
|
(21), (22) Заявка: 2005111444/28, 18.04.2005
(24) Дата начала отсчета срока действия патента:
18.04.2005
(43) Дата публикации заявки: 27.10.2006
(46) Опубликовано: 27.09.2007
(56) Список документов, цитированных в отчете о поиске:
RU 2073905 C1, 20.02.1997. SU 352183 A1, 01.01.1972. SU 648143 A3, 15.02.1979. SU 1377831 A1, 28.02.1988. GB 749630, 30.05.1956. US 4637258, 20.01.1987.
Адрес для переписки:
443001, г.Самара, ул. Молодогвардейская, 194, СГАСУ, патентный отдел
|
(72) Автор(ы):
Веснин Владимир Иванович (RU), Фомина Анна Викторовна (RU)
(73) Патентообладатель(и):
Государственное образовательное учреждение высшего профессионального образования “Самарский государственный архитектурно-строительный университет” (СГАСУ) (RU)
|
(54) УСТРОЙСТВО РЕГУЛИРОВАНИЯ ДАВЛЕНИЯ И РАСХОДА РАБОЧЕЙ СРЕДЫ
(57) Реферат:
Изобретение относится к трубопроводной арматуре и может быть использовано для регулирования расхода и давления рабочей среды (жидкости, газа или пара) в системах для машиностроительной, химической, газовой и других отраслей промышленности. Техническим результатом является расширение функциональных возможностей конструкции для обеспечения регулирования расхода проходящей через нее рабочей среды. Сущность изобретения достигается тем, что в устройстве регулирования давления и расхода рабочей среды импульсная трубка, соединяющая управляющую полость пилота с приемником статического выходного давления, соединена с внутренней камерой, и в месте соединения трубок установлен переключатель, например, в виде трехходового крана. При этом эластичная муфта регулирует зазор по отношению к боковой поверхности встречных фланцев входного и выходного патрубков в зависимости от положения переключателя. 2 ил.
Изобретение относится к трубопроводной арматуре и может быть использовано для регулирования расхода и давления рабочей среды (жидкости, газа или пара) в системах для машиностроительной, химической, газовой и других отраслей промышленности.
Известно регулирующее устройство, регулирующее давление и расход рабочей среды / Пат.2027215 Российская. Федерация, МПК6 G05D 16/00. Регулирующее устройство / Быков А. Ф., Кислов С.М.; заявитель и патентообладатель Научно-испытательный центр Центрального института авиационного моторостроения. – №4851277/24; заявл. 31.05.90; опубл. 20.01.95 / [1].
Недостатком этого устройства является его конструктивная сложность, большое гидравлическое сопротивление потоку рабочей среды, малые проходные сечения каналов, которые могут засориться твердыми частицами, если они имеются в рабочей среде.
Известно также регулирующее устройство /Регулятор давления «Axial Flow Volve». Проспект фирмы АМС, ноябрь 1982 / [2], содержащее гибкий элемент в проходном сечении в виде эластичной муфты, что упрощает конструкцию регулятора и снижает его гидравлическое сопротивление.
Недостатком этого устройства является его недостаточная функциональная возможность, поскольку оно используется в качестве регулятора давления, но не измеряет и не регулирует расход жидкости.
Наиболее близким к заявленному изобретению по совокупности признаков является регулятор давления /Пат.2073905 Российская Федерация, МПК6 G05D 16/06. Регулятор давления /Целовальников П.Г., Никонов В.П.; заявитель и патентообладатель АОО «Сигнал». – №94011046/09; заявл. 30.03.94; опубл. 20.02.97/ [3], включающий корпус, расположенный между входным и выходным патрубками, встречные фланцы которых скреплены между собой по центру и образуют внутреннюю камеру, эластичную муфту, закрепленную между корпусом и противоположными фланцами входного и выходного патрубков и образующую с боковой поверхностью встречных фланцев регулирующий клапан, а с корпусом – управляющую полость, соединенную с выходом пилота, вход которого соединен с приемником статического входного давления, внутренняя камера соединена с приемником полного давления, выполненным в виде напорных трубок, расположенных во входном патрубке и закрепленных на его встречном фланце, регулятор давления снабжен измерителем перепада давлений, соединенным через импульсные трубки соответственно с внутренней камерой и приемником статического входного давления, принято за прототип.
К причинам, препятствующим достижению указанного ниже результата при использовании известного устройства, относят то, что оно не может регулировать расход рабочей среды, проходящей через него.
Сущность изобретения заключается в расширении сферы применения регулирующего устройства.
Техническим результатом является расширение функциональных возможностей конструкции для обеспечения регулирования расхода проходящей через нее рабочей среды.
Указанный технический результат при осуществлении изобретения достигается тем, что в известном устройстве регулирования давления и расхода рабочей среды, включающем корпус, расположенный между входным и выходным патрубками, встречные фланцы которых скреплены между собой по центру и образуют внутреннюю камеру, соединенную с приемником полного давления, выполненным в виде напорных трубок, расположенных во входном патрубке и закрепленных на его встречном фланце, эластичную муфту, закрепленную между корпусом и противоположными фланцами входного и выходного патрубков и образующую с боковой поверхностью встречных фланцев регулирующий клапан, а с корпусом – управляющую полость, соединенную с выходом пилота, вход которого соединен с приемником статического входного давления, измеритель перепада давлений, соединенный с внутренней камерой и приемником статического входного давления, особенностью является то, что импульсная трубка, соединяющая управляющую полость пилота с приемником статического выходного давления, соединена с внутренней камерой, и в месте соединения трубок установлен переключатель, при этом эластичная муфта регулирует зазор по отношению к боковой поверхности встречных фланцев входного и выходного патрубков в зависимости от положения переключателя.
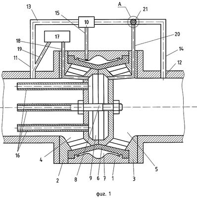
На чертежах представлено: на фиг.1 изображено регулирующее устройство, его разрез, на фиг.2 – узел А, в режиме регулирования устройством расхода рабочей среды.
Сведения, подтверждающие возможность осуществления изобретения с получением вышеуказанного технического результата, заключаются в следующем. Регулирующее устройство включает в себя корпус 1, входной 2 и выходной 3 патрубки, входную 4 и выходную 5 полости, эластичную муфту 6, закрепленную между корпусом 1 и противоположными фланцами входного 2 и выходного 3 патрубков, управляющую полость 7, размещенную между эластичной муфтой 6 и корпусом 1. Встречные фланцы входного 2 и выходного 3 патрубков скреплены между собой винтом 8, прижимая между собой эластичную муфту 6 и корпус 1 и образуя внутреннюю камеру 9. Пилот 10 соединен с приемниками статического входного 11 и выходного 12 давления через импульсные трубки 13 и 14 и через импульсную трубку 15 с управляющей полостью 7.
На встречном фланце входного патрубка 2 закреплены приемники полного давления 16, выполненные в виде напорных трубок, соединенные с внутренней камерой 9. Измеритель перепада давлений 17 импульсными трубками 18 и 19 подключен к внутренней камере 9 и приемнику статического входного давления 11.
Импульсная трубка 14, соединяющая управляющую полость пилота (не показано) с приемником статического выходного давления 12, соединена импульсной трубкой 20 с внутренней камерой 9, и в месте соединения трубок установлен переключатель режимов работы регулятора 21, например, в виде трехходового крана.
Устройство работает следующим образом. В статическом безрасходном режиме эластичная муфта 6 прижата к боковой поверхности встречных фланцев входного 2 и выходного 3 патрубков за счет воздействия выходного давления от пилота 10 в управляющей полости 7. При положении переключателя 21 (на фиг.1) выходное давление пилота 10 зависит от давления в выходной полости 5, подаваемого в управляющую полость пилота 10 (не показано), и величины настройки в пилоте 10. При наличии расхода эластичная муфта 6 регулирует зазор по отношению к боковой поверхности встречных фланцев входного 2 и выходного 3 патрубков, поддерживая выходное давление в полости 5, а следовательно, и в нагрузке постоянным. Одновременно в напорных трубках 16 формируется полное давление с учетом скоростного напора, равного
Ар=pV2/2g,
где V – скорость потока в месте установки приемника полного давления; р – плотность среды; g – ускорение силы тяжести. Это полное давление рст + Ар поступает во внутреннюю камеру 9. На измеритель перепада давлений 17 по импульсным трубкам 18 и 19 поступает полное и статическое давления, и измеритель перепада давлений 17 определяет скорость потока в сечении входной полости. Расход в сечении определяется произведением средней скорости на площадь сечения.
Если переключатель режимов работы регулятора 21 находится в положении, изображенном на фиг.2, выходное давление пилота 10 будет зависеть от полного давления во внутренней камере 9, которое при этом подается в управляющую полость пилота 10 (не показано), и величины настройки в пилоте 10. Эластичная муфта 6, регулируя зазор по отношению к боковой поверхности встречных фланцев входного 2 и выходного 3 патрубков будет поддерживать постоянным скоростной напор и, следовательно, регулировать скорость рабочей среды, проходящей через регулирующее устройство а следовательно, ее расход.
Использование данного изобретения дает возможность заменить одним два регулирующих устройства: регулятор давления и регулятор расхода.
Источники информации
1. Пат.2027215 Российская Федерация, МПК6 G05D 16/00. Регулирующее устройство / Быков А.Ф., Кислов С.М.; заявитель и патентообладатель Научно-испытательный центр Центрального института авиационного моторостроения. – №4851277/24; заявл. 31.05.90; опубл. 20.01.95.
2. Регулятор давления «Axial Flow Volve». Проспект фирмы АМС, ноябрь 1982.
3. Пат.2073905 Российская Федерация, МПК6 G05D 16/06. Регулятор давления / Целовальников П.Г., Никонов В.П.; заявитель и патентообладатель АОО «Сигнал». – №94011046/09; заявл. 30.03.94; опубл. 20.02.97.
Формула изобретения
Устройство регулирования давления и расхода рабочей среды, включающее корпус, расположенный между входным и выходным патрубками, встречные фланцы которых скреплены между собой по центру и образуют внутреннюю камеру, соединенную с приемником полного давления, выполненным в виде напорных трубок, расположенных во входном патрубке и закрепленных на его встречном фланце, эластичную муфту, закрепленную между корпусом и противоположными фланцами входного и выходного патрубков и образующую с боковой поверхностью встречных фланцев регулирующий клапан, а с корпусом – управляющую полость, соединенную с выходом пилота, вход которого соединен с приемником статического входного давления, измеритель перепада давлений, соединенный с внутренней камерой и приемником статического входного давления, отличающееся тем, что импульсная трубка, соединяющая управляющую полость пилота с приемником статического выходного давления, соединена с внутренней камерой, и в месте соединения трубок установлен переключатель, при этом эластичная муфта регулирует зазор по отношению к боковой поверхности встречных фланцев входного и выходного патрубков в зависимости от положения переключателя.
РИСУНКИ
MM4A – Досрочное прекращение действия патента СССР или патента Российской Федерации на изобретение из-за неуплаты в установленный срок пошлины за поддержание патента в силе
Дата прекращения действия патента: 19.04.2008
Извещение опубликовано: 20.06.2010 БИ: 17/2010
|
|