|
(21), (22) Заявка: 2006112283/28, 14.04.2006
(24) Дата начала отсчета срока действия патента:
14.04.2006
(46) Опубликовано: 27.09.2007
(56) Список документов, цитированных в отчете о поиске:
SU 1500953 A1, 15.08.1989. RU 2260811 С1, 20.09.2005. SU 862084 A, 07.09.1981. SU 498575 A1, 05.01.1976. SU 1652946 A1, 30.05.1991. JP 2004317264 A, 11.11.2004.
Адрес для переписки:
115998, Москва, ул. Садовническая, 33, МГУДТ
|
(72) Автор(ы):
Белицкая Ольга Александровна (RU), Леденева Ирина Николаевна (RU)
(73) Патентообладатель(и):
Московский государственный университет дизайна и технологии (МГУДТ) (RU)
|
(54) УСТРОЙСТВО ДЛЯ ИЗМЕРЕНИЯ ПОВЕРХНОСТНОЙ ПЛОТНОСТИ ЭЛЕКТРОСТАТИЧЕСКОГО ЗАРЯДА ПРИ ТРЕНИИ
(57) Реферат:
Устройство содержит рабочую камеру с блоком создания искусственного климата, измеритель электростатического поля, регистрирующее устройство, узел создания электростатического поля с приводом, узел закрепления образца. Устройство отличается содержанием конденсатора для создания однородного электростатического поля, в которое помещен образец и измеритель. Технический результат: повышение точности определения величины поверхностного заряда, уменьшение габаритов устройства. 2 ил.
Изобретение относится к технике электроизмерений и может быть использовано для измерения динамики изменения поверхностной плотности электростатического заряда при трении поверхностей различных пар материалов в различных климатических условиях, т.е. широком интервале температур и влажности.
Известно устройство для измерения электростатического заряда при трении [1], содержащее рабочую камеру с блоком создания искусственного климата, расположенный в камере измеритель электростатического поля, узел закрепления исследуемого образца, узел создания электростатического заряда с приводом.
Недостатком известного аналога является то, что измеритель электростатического поля закреплен над исследуемым образцом, при этом создается нарушение однородности электростатического поля, которое оказывает влияние на точность измерения величины напряженности поля и не позволяет корректно оценить поверхностную плотность заряда испытуемого образца.
Технической задачей изобретения является повышение однородности измеряемого электростатического поля и повышение точности оценки поверхностной плотности заряда испытуемых образцов.
Поставленная задача осуществляется с помощью устройства для измерения поверхностной плотности электростатического заряда при трении, включающего: рабочую камеру с блоком создания искусственного климата, измеритель электростатического поля и регистрирующее устройство, узел создания электростатического поля с приводом, узел закрепления исследуемого образца, отличающегося тем, что дополнительно содержит пластины конденсатора, установленные с возможностью создания однородного электростатического поля, при этом измеритель электростатического поля закреплен в прорези верхней пластины конденсатора, а узел закрепления образца расположен на нижней пластине конденсатора.
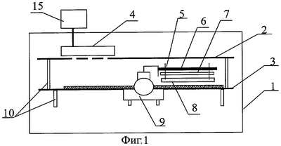
На фиг.1 и 2 изображено предлагаемое устройство для измерения поверхностной плотности электростатического заряда при трении пары материалов.
Устройство для измерения поверхностной плотности электростатического заряда при трении представляет собой рабочую камеру 1 с возможностью изменения климатических характеристик, две металлические пластины: верхняя 2 и нижняя 3, исполняющие функцию конденсатора, электромеханический привод 9 и измеритель 4 электростатического поля.
Металлические пластины 2 и 3, исполняющие функцию конденсатора соединены между собой стойками 10 из непроводящего материала. Верхняя пластина 2 имеет отверстие для установки измерителя 4, а на нижней пластине 3 располагают испытуемый образец 13. Блок регистрации 15 электростатического поля соединен с измерителем 4.
Узел закрепления испытуемого образца состоит из захватов 11 и 12 (фиг.2), расположенных на нижней пластине 3 конденсатора, выполненных в виде плоских пластинок, между которыми располагают исследуемый образец 13, и прикрепляют с помощью винтов 14. На внутренней поверхности пластинок захватов 11 и 12 наклеены мягкие вкладыши для лучшего закрепления испытуемого образца. Захваты 11 прикреплены к нижней пластине конденсатора стационарно, а захваты 12 могут перемещаться в горизонтальной плоскости для лучшего закрепления образцов разной площади.
Узел создания электростатического поля состоит из планки 6, на которую с помощью штифтов 5 прикрепляют возбуждающий элемент 8, на поверхности которого размещают образец контактирующего материала (ткань, кожа, мех и т.д.). Конструкция планки 6 позволяет крепить на нее грузики 7 различного веса для изменения силы трения и заменять возбуждающий элемент 8. Планка 6 соединена с электромеханическим приводом 9.
Устройство для измерения поверхностной плотности электростатического заряда при трении работает следующим образом.
На возбуждающий элемент 8 натягивают ткань, к планке 6 крепят грузики 7 требуемой массы.
За заданное время до начала испытаний включают измеритель 4 электростатического поля. Устанавливают возбуждающий элемент 8 в требуемое положение, помещают испытуемый образец 13. Возбуждающий элемент 8 приводят в контакт с испытуемым материалом и включают электромеханический привод 9.
Отличительной особенностью предлагаемого устройства является размещение образца внутри плоского конденсатора, что позволяет снизить погрешность измерений и использовать простые соотношения для оценки величины поверхностной плотности заряда.
В случае если L 5d, где L – характерный размер пластины конденсатора, a d – расстояние между пластинами конденсатора, напряженность электрического поля однородна, выполняются следующие соотношения:


следовательно, 
Е – напряженность электрического поля, В/м;
Q – величина заряда на поверхности исследуемого образца, Кл;
и 0 – относительные диэлектрические проницаемости;
S – поверхность пробы, м2;
– поверхностная плотность заряда, Кл/м2;
U – разность потенциалов, Вт.
Для увеличения точности измерений калибровку измерителя 4 электростатического поля проводят непосредственно в электрическом поле плоского конденсатора устройства с помощью высоковольтного источника питания постоянного тока. С пластины 3 удаляют образец и подают напряжение U от высоковольтного источника питания. Измеритель 4 при этом находится в однородном электрическом поле, величина которого равна U/d.
Предлагаемое устройство позволяет повысить однородность измеряемого электростатического поля, повысить точность оценки поверхностной плотности заряда испытуемых образцов, преимущественно на тканях и обувных материалах, и снизить габаритные размеры устройства.
Источник информации
1. Устройство для измерения электростатического заряда при трении. А.С. SU № 1500953, G01R 29/12, опубликовано в БИ № 30 от 15.08.89.
Формула изобретения
Устройство для измерения поверхностной плотности электростатического заряда при трении, включающее рабочую камеру с блоком создания искусственного климата, измеритель электростатического поля и регистрирующее устройство, узел создания электростатического поля с приводом, узел закрепления исследуемого образца, отличающееся тем, что дополнительно содержит пластины конденсатора, установленные с возможностью создания однородного электростатического поля, при этом измеритель электростатического поля закреплен в прорези верхней пластины конденсатора, а узел закрепления образца расположен на нижней пластине конденсатора.
РИСУНКИ
MM4A – Досрочное прекращение действия патента СССР или патента Российской Федерации на изобретение из-за неуплаты в установленный срок пошлины за поддержание патента в силе
Дата прекращения действия патента: 15.04.2008
Извещение опубликовано: 20.09.2009 БИ: 26/2009
|