|
|
(21), (22) Заявка: 2006107000/28, 09.03.2006
(24) Дата начала отсчета срока действия патента:
09.03.2006
(46) Опубликовано: 27.09.2007
(56) Список документов, цитированных в отчете о поиске:
US 3673873 А, 04.07.1972. US 3702073 А, 07.11.1972. RU 2155964 C1, 10.09.2000. RU 2120640 C1, 20.10.1998. RU 2120641 C1, 20.10.1998.
Адрес для переписки:
111123, Москва, ул. Авиамоторная, 55, ФГУП НИИ прикладной механики им. акад. В.И. Кузнецова
|
(72) Автор(ы):
Курносов Валерий Иванович (RU), Курносова Валентина Николаевна (RU), Мизина Наталья Олеговна (RU)
(73) Патентообладатель(и):
ФГУП НИИ прикладной механики им. акад. В.И. Кузнецова (RU)
|
(54) АКСЕЛЕРОМЕТР
(57) Реферат:
Изобретение относится к области приборостроения и, в частности, к системам измерения параметров движения подвижных объектов. Сущность изобретения: акселерометр содержит маятниковый чувствительный элемент в виде кварцевой пластины 1 (маятник), соединенный посредством упругого подвеса 2 с опорным кольцом 3. Опорное кольцо 3, имеющее 3 платика (выступа) 17, зажато по платикам между двумя металлическими пластинами 12, 13. В опорное кольцо 3 введены два утонения (впадины) 18, расположенные симметрично относительно упругого подвеса ниже опорных платиков. Введение упомянутых двух утонений резко снижает величину вредного момента, возникающего при сборке чувствительного элемента, и вследствие этого обеспечивает повышение стабильности нулевого сигнала акселерометра. 2 ил.
Изобретение относится к области приборостроения, в частности к системам измерения параметров движения подвижных объектов, и может быть использовано в приборах, измеряющих ускорение объектов.
Известен акселерометр (1), содержащий корпус, маятниковый чувствительный элемент (ЧЭ) на упругом подвесе, емкостной датчик перемещений, усилитель и узел силовой компенсации, состоящий из двух катушек, установленных на маятнике, и двух магнитных систем.
Маятниковый ЧЭ состоит из двух неподвижных пластин, между которыми расположена центральная кварцевая пластина (ЦКП), выполненная из одного куска плавленого кварца. ЦКП включает в себя опорное кольцо с нанесенными на него с двух сторон выступами (платиками) и маятник, связанный с опорным кольцом через две тонкие перемычки, образующие упругий подвес маятника.
Опорное кольцо зажато между двумя металлическими неподвижными пластинами по платикам. Высота платиков определяет рабочий зазор, в котором перемещается маятник.
Недостатком известного устройства является низкая точность величины нулевого сигнала из-за внутренних напряжений в ЧЭ, возникающих при креплении в статорных деталях опорного кольца ЦКП. Так как поверхности статорных элементов, прижимающих опорное кольцо, не могут быть идеально плоскими, то крепление опорного кольца ЦКП через платики (тоже не идеально плоские) создает в нем внутренние напряжения, передающиеся на упругие элементы подвеса, вызывая ошибки в нулевом сигнале. Кроме того, на величину внутренних напряжений влияет возможная разновысотность платиков, их геометрическое несовпадение с двух сторон опорного кольца и т.д.
Ошибка нулевого сигнала еще больше увеличивается, если акселерометр не термостатирован и работает в широком диапазоне окружающих температур. Как оказалось, при этом появляется значительный температурный гистерезис величины нулевого сигнала (величины нулевых сигналов при одной и той же температуре не совпадают друг с другом, если мы приходим к этой температуре от более низкой до более высокой и наоборот). Это явление затрудняет алгоритмический учет зависимости величины нулевого сигнала и, следовательно, приводит к повышению погрешности величины нулевого сигнала.
Наиболее близким к предлагаемому акселерометру является акселерометр (2), содержащий те же элементы, что и акселерометр (1). Отличие акселерометра (2) от акселерометра (1) заключается в конструктивном выполнении центральной кварцевой пластины (ЦКП).
ЦКП выполнена с уменьшением по толщине в сторону упругого подвеса. Вследствие этого жесткость той части опорного кольца, которая ближе к упругому подвесу, несколько меньше, чем у основной части опорного кольца. При появлении напряжений в опорном кольце его свободная часть благодаря уменьшению толщины имеет возможность перемещения, поэтому вредные моменты на упругие перемычки существенно уменьшают свою величину.
Известное устройство (2) имеет недостаточную точность и повышенную трудоемкость при изготовлении ЦКП, что обусловлено следующими причинами. Толщину опорной части кварцевой пластины вблизи упругого подвеса нельзя сделать достаточно тонкой из-за уменьшения прочностных свойств опорного кольца в месте формирования упругого подвеса. Кроме того, уменьшение толщины участка опорного кольца и соответственно маятника на несколько сот мкм вызовет увеличение рабочего зазора между неподвижными пластинами и маятником и приведет к резкому снижению демпфирования маятника, т.е. исключению основного преимущества маятниковых акселерометров, использующих газовое демпфирование. Это приведет к резкому возрастанию динамических погрешностей акселерометра при воздействии вибраций.
С другой стороны, выполнение одинаковой геометрии утонения опорного кольца кварцевой пластины относительно оси симметрии затруднено. А появление несимметрии приведет к появлению дополнительной систематической составляющей погрешности нулевого сигнала. Вместе с тем изготовление ЦКП с высокой степенью чистоты поверхности маятника при такой конструкции затруднено (если поверхности не лежат в одной плоскости, то затруднены операции шлифовки и доводки).
Целью настоящего изобретения является повышение точности величины нулевого сигнала.
Указанная цель достигается тем, что в опорное кольцо ЦКП по толщине введены два утонения (впадины), расположенные симметрично относительно упругого подвеса ниже опорных платиков.
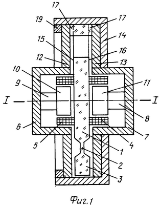
На фиг.1 изображен общий вид акселерометра, на фиг.2 – центральная кварцевая пластина.
Акселерометр содержит маятниковый ЧЭ в виде кварцевой пластины 1 (маятник), соединенной посредством упругого подвеса 2 с опорным кольцом 3. Эти три детали выполнены из единой заготовки плавленого кварца и называются центральной кварцевой пластиной. В состав акселерометра входят также узел силовой компенсации, включающий две катушки 4, 5, установленные на пластине 1, и две магнитные системы, каждая из которых состоит из магнитопровода 6 (7), постоянного магнита 8 (9) с полюсным наконечником 10 (11). Сборка устройства выполнена с помощью неподвижных металлических пластин 12, 13 и колец 14, 19. На подвижной пластине 1 расположены обкладки 15, 16 преобразователя перемещения, выполненные в виде металлизированного напыления, а пластины 12, 13 выполняют функции его неподвижных обкладок. Рабочий зазор обеспечивается с помощью платиков 17, расположенных на опорном кольце. Для снижения механических напряжений, возникающих в верхней части центральной кварцевой пластины, между средними платиками 17 и упругим подвесом 2 на опорном кольце 3 введены два утонения (впадины) 18.
Акселерометр работает следующим образом.
При движении объекта с ускорением в направлении оси чувствительности 1-1 прибора маятник 1 отклоняется относительно неподвижных пластин 12, 13. Отклонение маятника регистрирует и преобразует в напряжение преобразователь перемещения 12, 13, 15, 16. Далее выработанное напряжение подается на усилитель обратной связи (на фиг.1 не показан), где сигнал усиливается и в виде тока подается в узел силовой компенсации. Узел силовой компенсации развивает при этом силу, равную инерционной силе маятника 1, и последний возвращается в среднее положение. По величине тока, протекающего по катушкам 4, 5, судят о величине ускорения объекта в направлении оси чувствительности 1-1. Введение утонений (впадин) на опорном кольце приводит к тому, что при появлении механических напряжений в верхней части ЦКП (особенно изгибающего момента), вследствие разной толщины опорного кольца выше утонений (впадин) и самих утонений, деформации подвергаются утонения, и вредный момент передается на упругие перемычки подвеса значительно ослабленным.
В известных конструкциях подобного типа акселерометров толщина опорного кольца составляет величину 0,5-0,7 мм. Если утонения выполнить толщиной в 5 раз меньшей, чем основная толщина опорного кольца, то жесткость утоненной части кольца будет примерно в 125 раз меньше жесткости основной части опорного кольца (жесткость по отношению к толщине имеет кубическую зависимость). Это приводит к ослаблению величины вредного момента, передаваемому на упругие перемычки подвеса. Таким образом, стабильность величины нулевого сигнала увеличивается примерно на 2 порядка. При этом существенно снизится и величина температурного гистеризиса нулевого сигнала акселерометра. Механизм получения утонения опорного кольца аналогичен получению упругих перемычек подвеса, т.е. методом химического травления.
Источники информации
1. Патент США №3702073, кл. 73-517, 1972 г.
2. Патент США №3673873, кл. 73-517, 1972 г.
Формула изобретения
Акселерометр, содержащий корпус, преобразователь перемещений, усилитель, узел силовой компенсации и маятниковый чувствительный элемент, состоящий из двух неподвижных металлических пластин, между которыми расположена центральная кварцевая пластина, включающая в себя опорное кольцо с нанесенными на него с двух сторон выступами (платиками) и маятник, связанный с опорным кольцом через две упругие перемычки, образующими упругий подвес, при этом опорное кольцо центральной кварцевой пластины зажато по платикам между неподвижными металлическими пластинами, отличающийся тем, что в опорное кольцо по толщине введены два утонения (впадины), расположенные симметрично относительно упругого подвеса ниже опорных платиков.
РИСУНКИ
MM4A – Досрочное прекращение действия патента СССР или патента Российской Федерации на изобретение из-за неуплаты в установленный срок пошлины за поддержание патента в силе
Дата прекращения действия патента: 10.03.2008
Извещение опубликовано: 27.03.2010 БИ: 09/2010
NF4A – Восстановление действия патента СССР или патента Российской Федерации на изобретение
Дата, с которой действие патента восстановлено: 20.11.2010
Извещение опубликовано: 20.11.2010 БИ: 32/2010
|
|