|
(21), (22) Заявка: 2006104665/28, 14.02.2006
(24) Дата начала отсчета срока действия патента:
14.02.2006
(46) Опубликовано: 27.09.2007
(56) Список документов, цитированных в отчете о поиске:
RU 2104554 C1, 10.02.1998. US 2785376 A, 12.03.1957. JP 8146024 A, 07.06.1996.
Адрес для переписки:
454119, г.Челябинск, ул. Машиностроителей, 10Б, НПП “Резонанс”, В.А. Коровину
|
(72) Автор(ы):
Коровин Владимир Андреевич (RU), Коровин Константин Владимирович (RU)
(73) Патентообладатель(и):
Общество с ограниченной ответственностью “Научно-производственное предприятие “Резонанс” (RU)
|
(54) УСТРОЙСТВО ДЛЯ ИЗМЕРЕНИЯ СКОРОСТИ ОБЪЕКТА
(57) Реферат:
Изобретение относится к автономному определению линейной скорости автомобилей, самолетов и других подвижных объектов. Устройство для измерения скорости объекта содержит измерительный проводник, расположенный в горизонтальном направлении, перпендикулярном направлению движения объекта, с возможностью воздействия на этот проводник магнитным полем Земли, и бортовой вычислитель, выполненный с возможностью определения скорости движения объекта в зависимости от разности электрического потенциала между различными точками измерительного проводника, дополнительно используется обратный проводник, размещенный в магнитном экране, соединенный последовательно и расположенный параллельно измерительному проводнику. Однонаправленные выводы измерительного и обратного проводника непосредственно или через дополнительный измеритель потенциала подключаются к бортовому вычислителю. Устройство может также содержать датчик магнитного поля, осуществляющий измерение вертикальной составляющей индукции магнитного поля Земли, и/или инклинометр, и/или акселерометр. Технический результат: повышение точности определения скорости объекта и уменьшение габаритных размеров устройства. 2 н. и 13 з.п. ф-лы, 1 ил.
Изобретение относится к измерительной технике и может быть использовано для автономного определения линейной скорости движения автомобилей, самолетов и других подвижных объектов, движущихся в магнитном поле Земли.
Известно устройство для определения линейной скорости подвижного объекта путем интегрирования его ускорения в направлении движения объекта и содержащее линейный акселерометр, подключенный к входу интегратора, соединенного с отсчетным устройством [1].
Это устройство не обеспечивают высокой точности определения скорости объекта ввиду накопления ошибки интегрирования.
Известно также устройство для определения скорости объекта, преимущественно автомобиля, путем контроля угловой скорости какого-либо механизма этого объекта, например ведомого колеса, кинематически связанного с поверхностью, по которой перемещается объект. Устройство содержит последовательно соединенные датчик импульсов, схему формирования управляющих сигналов, выполненную в виде делителя частоты с регулируемым коэффициентом пересчета, и указатель скорости – стрелочный индикатор [2].
Недостатками этого технического решения являются отсутствие автономности и повышенная сложность установки на объекте ввиду необходимости присоединения датчика импульсов к какому-либо движущемуся механизму объекта, а также отсутствие универсальности в применении, вызванное необходимостью установки различных коэффициентов деления частоты для различных объектов.
Более универсальным в применении является устройство для измерения скорости, содержащее изолированный линейный проводник, размещенный на объекте с возможностью воздействия на него горизонтальной составляющей магнитного поля Земли, и электрический двигатель, приводящий во вращательное движение этот проводник. Проводник при помощи токосъемника соединен с входом усилителя, выход которого подключен к входу бортового вычислителя [3].
Недостатком этого технического решения является наличие движущихся элементов и токосъемника, что предопределяет невысокую надежность и ограниченный ресурс работы измерителя скорости.
Более совершенным и наиболее близким к предложенному является устройство для определения скорости подвижных объектов, содержащее изолированные измерительные проводники, расположенные в трех взаимно ортогональных направлениях с возможностью воздействия на эти проводники магнитного поля Земли, измеритель индукции магнитного поля Земли в месте движения объекта и бортовой вычислитель, выполненный с возможностью вычисления вектора скорости движения объекта в зависимости от разности электрических потенциалов между концами измерительных проводников и измеренных составляющих вектора индукции магнитного поля Земли [4].
Недостатками этого устройства являются пониженная точность измерений и повышенные габаритные размеры, что обусловлено как малой величиной контролируемой разности потенциалов, так и невозможностью уменьшения линейных размеров измерительных проводников и, соответственно, габаритных размеров устройства ввиду неизбежного пропорционального снижения величины этой разности потенциалов по мере уменьшения этих размеров. Во многом это обусловлено тем, что для подключения измерительных проводников к измерителю потенциалов необходимы соединительные проводники, на которых во время движения объекта в магнитном поле Земли также возникают разности потенциалов, которые направлены встречно разности потенциалов на концах измерительных проводников, и препятствуют их измерению.
Технический результат изобретения – повышение точности определения скорости объекта и уменьшение габаритных размеров устройства, в частности, путем применения дополнительных обратных проводников, полностью или частично экранированных от магнитного поля Земли, а также применения двух и более последовательно соединенных измерительных проводников.
Указанный результат достигается тем, что в устройстве для измерения скорости объекта, содержащем изолированный измерительный проводник, расположенный на объекте в горизонтальном направлении, перпендикулярном направлению движения объекта, с возможностью воздействия на этот проводник магнитного поля Земли, и бортовой вычислитель, выполненный с возможностью определения (вычисления) скорости движения объекта в зависимости от разности электрического потенциала между различными точками измерительного проводника, дополнительно используется изолированный обратный проводник, размещенный в магнитном экране, соединенный последовательно с измерительным проводником и расположенный параллельно измерительному проводнику, при этом однонаправленные выводы измерительного и обратного проводника непосредственно или через дополнительный измеритель потенциала подключаются к бортовому вычислителю.
Во втором варианте этого устройства указанный технический результат достигается тем, что используются дополнительные изолированные измерительные проводники, расположенные аналогично указанному измерительному проводнику, и обратные изолированные проводники, количество которых равно количеству измерительных проводников, причем измерительные и обратные проводники соединяются последовательно и образуют измерительную катушку, размещенную на магнитопроводе, который обеспечивает магнитное экранирование обратных проводников, причем выводы измерительной катушки непосредственно или через дополнительный измеритель потенциала подключены к бортовому вычислителю.
Для достижения указанного технического результата устройство в обоих вариантах его исполнения может дополнительно содержать датчик магнитного поля, подключенный к входу бортового вычислителя, выполненного с возможностью определения скорости движения объекта в зависимости от отношения разности электрического потенциала к величине вертикальной составляющей индукции магнитного поля Земли, измеренной с помощью упомянутого датчика. Магнитопровод, в частности, может быть выполнен в виде тороидального ферромагнитного экрана. Возможно также выполнение обратного проводника с магнитным экраном в виде аморфного ферромагнитного микропровода. Устройство дополнительно может содержать также датчик угла наклона объекта (инклинометр) и/или акселерометр, подключенный к входу бортового вычислителя. В последнем случае бортовой вычислитель выполняется с возможностью определения скорости движения объекта с учетом отклонения объекта от горизонтального положения и его линейного ускорения.
Кроме того, бортовой вычислитель и/или измеритель потенциала может быть выполнен с возможностью фильтрации переменной составляющей электрического потенциала, а измерительный и обратный проводники могут быть размещены в экране – в замкнутой электропроводной оболочке.
Реализация отличительных признаков заявленного изобретения – применение магнитного экранирования обратного проводника, а также применение множества измерительных и обратных проводников, объединенных в измерительную катушку, позволяет существенно повысить уровень электрического напряжения на входе измерителя потенциала или бортового вычислителя. Благодаря этому уменьшается влияние напряжения смещения нуля и собственного шума измерителя потенциала или бортового вычислителя на результат измерения скорости, что приводит к повышению точности работы устройства. При этом минимально допустимый уровень этого напряжения, соответствующий необходимой точности измерения скорости, достигается при меньшей длине измерительного проводника (проводников), что позволяет уменьшить габаритные размеры устройства.
Применение дополнительного датчика вертикальной составляющей индукции магнитного поля Земли и датчика угла наклона объекта (инклинометра) дает возможность бортовому вычислителю при определении скорости объекта учесть отклонение величины индукции от номинального значения или угла отклонения объекта от горизонтального положения, что также приводит к повышению точности измерения (вычисления) скорости объекта. Фильтрация переменной составляющей электрического потенциала в бортовом вычислителе и/или в измерителе потенциала, а также применение экранирования измерительных и обратных проводников (чувствительного элемента устройства) позволяют уменьшить влияние внешних переменных магнитных и электрических полей на результат измерения скорости и, соответственно, также обеспечивают повышение точности измерения.
Поэтому указанные отличительные признаки находятся в прямой причинно-следственной связи с достигаемым техническим результатом.
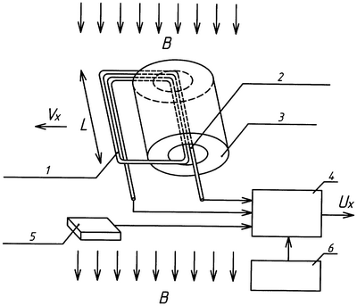
На чертеже приведена упрощенная функциональная схема устройства.
На объекте, движущемся параллельно поверхности Земли со скоростью Vx, размещен по меньшей мере один изолированный измерительный проводник 1, расположенный горизонтально в направлении, перпендикулярном направлению движения объекта. На этот проводник 1 воздействует магнитное поле Земли, вертикальная составляющая которого имеет индукцию В. Устройство содержит по меньшей мере один изолированный обратный проводник 2, размещенный в магнитном экране 3, соединенный последовательно с измерительным проводником 1 и расположенный параллельно измерительному проводнику 1. Обратный проводник вместе с экраном может быть выполнен в виде микропровода с ферромагнитной, в частности аморфной, оболочкой.
Однонаправленные выводы измерительного 1 и обратного 2 проводников непосредственно или через дополнительный измеритель потенциала (на чертеже условно не показан) подключены к бортовому вычислителю 4, реализованному, например, на микроконтроллере со встроенным аналого-цифровым преобразователем (АЦП). Микроконтроллер осуществляет определение (вычисление) скорости движения объекта в соответствии с программой, записанной в его энергонезависимой памяти, в зависимости от напряжения на его входе (на входе его АЦП), которое определяется разностью электрических потенциалов между различными точками измерительного проводника.
В общем случае устройство содержит N измерительных и N обратных проводников (N>1) соединенных последовательно и образующих измерительную катушку. Катушка размещена на магнитопроводе 3, в частности на тороидальном ферромагнитном магнитопроводе, выполняющем функции магнитного экрана для обратных проводников.
Для повышения точности измерений устройство может дополнительно содержать датчик магнитного поля 5, выполненный, например, по технологии GMR (Giant Magnetoresistance), а также датчик угла наклона – инклинометр 6, выполненный, например, на основе кремниевого микромеханического акселерометра. Выходы датчиков 5 и 6 подключены к дополнительным входам бортового вычислителя, например к дополнительным входам его АЦП.
Устройство может дополнительно содержать также линейный акселерометр, реализованный отдельно или совместно с инклинометром 6, ось чувствительности которого параллельна направлению движения объекта, подключенный аналогичным образом к дополнительному входу бортового вычислителя 4 (на чертеже условно не показано).
Измеритель потенциала (если от имеется в устройстве), включенный между однонаправленными выводами измерительного 1 и обратного 2 проводников (или выводами измерительной катушки) и входами бортового вычислителя 4, выполнен в виде усилителя постоянного напряжения. При отсутствии отдельного измерителя потенциала этот усилитель может входить в состав бортового вычислителя 4.
Измеритель потенциала и/или бортовой вычислитель 4 в общем случае содержит фильтры нижних частот и/или режекторные фильтры, обеспечивающие фильтрацию (подавление) переменной составляющей электрического потенциала и, соответственно, повышающие помехоустойчивость устройства.
С этой же целью чувствительная часть устройства – измерительный 1 и обратный 2 проводники или измерительная катушка вместе с магнитным экраном 3, либо все устройство в целом могут быть размещены в экране – в замкнутой электропроводной оболочке, например, из алюминиевого сплава, проницаемой для магнитного поля Земли.
Принцип работы устройства основан на эффекте возникновения разности потенциалов в измерительном проводнике (проводниках) 1, движущемся параллельно самому себе и перпендикулярно магнитному полю В – вертикальной составляющей магнитного поля Земли. При таком движении проводника на находящиеся в нем электроны действует сила Лоренца. Под действием этой силы электроны смещаются относительно положительных ионов кристаллической решетки, за счет чего в проводнике возникает электрическое поле и кулоновские силы начинают препятствовать разделению зарядов. Разделение зарядов в проводнике 1 прекращается, когда наступает равенство кулоновских сил и сил Лоренца. В этом случае

где U – разность электрических потенциалов, возникающая в измерительном проводнике 1;
L – длина проводника;
В – вертикальная составляющая магнитного поля Земли, перпендикулярная движущемуся измерительному проводнику 1.
Если в устройстве используется один измерительный проводник, то величина разности потенциалов U с использованием обратного проводника 2 непосредственно или через дополнительный измеритель потенциалов подается на вход бортового вычислителя 4.
При этом назначение магнитного экрана 3 – предотвратить воздействие вертикальной составляющей магнитного поля Земли на обратный проводник 2 и, соответственно, предотвратить возникновение на нем разности электрических потенциалов. В противном случае разности электрических потенциалов на измерительном или на обратном проводниках были бы направлены встречно, что привело бы к их взаимной компенсации и отсутствию результирующего напряжения на входе бортового вычислителя 4. Именно это является недостатком измерителя скорости – прототипа [4].
Далее бортовой вычислитель 4 на основании зависимости (1) определяет значение скорости движения объекта

и формирует выходной сигнал устройства Ux в виде электрического напряжения, пропорционального скорости объекта (Ux=Vx), или цифрового кода, значение которого также пропорционально значению скорости объекта Vx.
Если устройство содержит N измерительных проводников, т.е. измерительную катушку, то выражение (1) принимает вид

В этом случае бортовой вычислитель 4 на основании этой зависимости определяет значение скорости движения объекта

Соединительные проводники (или проводники торцевых частей измерительной катушки) ориентированы вдоль направления движения объекта и при его движении не пересекают силовых линий вертикальной составляющей магнитного поля. Поэтому разности потенциалов на концах соединительных проводников от этой составляющей магнитного поля равны нулю и не влияют на работу устройства.
Если имеет место неполное экранирование обратных проводников от воздействия магнитного поля Земли, то на этих проводниках также будет возникать разность электрических потенциалов, которая будет направлена встречно к разности потенциалов на измерительных проводниках. Это не имеет принципиального значения и лишь уменьшает величину результирующего напряжения на входе бортового вычислителя 4.
Определение скорости движения объекта по зависимостям (2) или (4) возможно в том случае, когда величина В – вертикальная составляющая магнитного поля Земли в месте движения объекта приближенно известна, например, на основе выполненных заранее измерений или расчетов. В этом случае эта величина В предварительно записывается в энергонезависимую память бортового вычислителя и используется в программе его работы.
В случае, когда величина В заранее не известна, в устройстве используется датчик магнитного поля – магнитометр 5. С его помощью и при необходимости с использованием вычислительных ресурсов бортового вычислителя 4 определяется вертикальная составляющая магнитного поля Земли в месте движения объекта. После этого определение скорости движения объекта Vx осуществляется аналогичным способом по формуле (2) или (4) с использованием измеренной величины В.
Благодаря измерению магнитного поля В дополнительно обеспечивается независимость результата измерения скорости от воздействия на описываемое устройство магнитных полей различных предметов, расположенных вне движущегося объекта, в том числе от различных магнитных аномалий.
При движении объекта возможен его продольный и поперечный наклон. Очевидно, что наклон объекта в продольно-вертикальной плоскости не изменяет взаимного расположения измерительных проводников относительно вертикальной составляющей магнитного поля Земли и, соответственно, не влияет на результат измерения скорости объекта. Наклон объекта в поперечной плоскости приводит к уменьшению величины проекции длины измерительных проводников L на горизонтальную плоскость и, соответственно, к уменьшению разности потенциалов на концах измерительных проводников. Чтобы это уменьшение не оказывало влияния на результат измерения скорости, в устройстве используется датчик угла поперечного наклона объекта – инклинометр 6.
В этом случае эффективная длина измерительных проводников

Соответственно, бортовой вычислитель 4 по формуле (5) определяет величину L и при определении скорости объекта по формуле (2) или (4) использует ее вместо длины L. Благодаря этому осуществляется независимость полученного результата от поперечного наклона объекта.
С целью повышения помехоустойчивости работы устройства измерения разности потенциалов целесообразно проводить между концами измерительных проводников, помещенных внутрь замкнутого экрана – электропроводной оболочки, проницаемой для магнитного поля Земли. В качестве материала для этого экрана может использоваться алюминий, медь или другой диамагнитный или парамагнитный металл.
Воздействие на устройство внешних переменных электрических и магнитных полей может быть также устранено путем фильтрации переменной составляющей электрического потенциала. В этом случае в бортовом вычислителе 4 и/или в измерителе потенциала (если он присутствует в устройстве) дополнительно осуществляется фильтрация сигналов – при помощи аппаратных и/или программных средств реализуется фильтр нижних частот. Если же наиболее существенные внешние помехи имеют фиксированную частоту, например промышленную частоту 50 Гц, то в устройстве могут быть установлены дополнительные режекторные фильтры, устраняющие помехи на этой частоте.
В предложенном устройстве могут быть применены также специальные цифровые динамические фильтры, реализованные, например, на цифровых сигнальных процессорах, обеспечивающие эффективное подавление внешних помех, в том числе от собственного электрооборудования объекта.
Дополнительно может быть реализовано измерение скорости объекта путем интегрирования сигнала датчика ускорения, реализованного в виде отдельной конструкции или совместно с инклинометром 6, с компенсацией накопления ошибки интегрирования путем использования величины разности потенциалов, возникающей в измерительных проводниках при их движении в магнитном поле Земли.
Необходимо также отметить, что собственные постоянные магнитные поля объекта не влияют на результат измерения скорости, поскольку они неподвижны относительно измерительных проводников и не вызывают возникновения на них какой-либо разности потенциалов.
Предлагаемое устройство по сравнению с известными измерителями позволяет получить более высокую точность определения скорости объекта при меньших собственных размерах этого устройства.
Источники информации
1. Феодосьев В.И. Основы техники ракетного полета. – М.: Наука, 1981, с.378-391.
2. RU 2183836 C2, G01P 1/08, 3/10, 20.06.2002.
3. US 2785376, G01P 3/50, 3/52, 3/42, 12.03.1957.
4. RU 2104554 C1, G01P 3/50, 10.02.1998.
Формула изобретения
1. Устройство для измерения скорости объекта, содержащее измерительный проводник, расположенный на объекте в горизонтальном направлении, перпендикулярном направлению движения объекта, с возможностью воздействия на этот проводник магнитного поля Земли, и бортовой вычислитель, выполненный с возможностью определения скорости движения объекта в зависимости от разности электрического потенциала между различными точками измерительного проводника, отличающееся тем, что оно дополнительно содержит обратный проводник, размещенный в магнитном экране, соединенный последовательно с измерительным проводником и расположенный параллельно измерительному проводнику, причем однонаправленные выводы измерительного и обратного проводника непосредственно или через дополнительный измеритель потенциала подключены к бортовому вычислителю.
2. Устройство по п.1, отличающееся тем, что оно дополнительно содержит датчик магнитного поля, подключенный к входу бортового вычислителя, который выполнен с возможностью определения скорости движения объекта в зависимости от отношения разности электрических потенциалов к величине вертикальной составляющей индукции магнитного поля Земли, измеренной с помощью упомянутого датчика.
3. Устройство по п.1 или 2, отличающееся тем, что оно дополнительно содержит датчик угла наклона объекта, подключенный к входу бортового вычислителя, который выполнен с возможностью определения скорости движения объекта с учетом отклонения объекта от горизонтального положения.
4. Устройство по п.1 или 2, отличающееся тем, что бортовой вычислитель и/или измеритель потенциала выполнен с возможностью фильтрации переменной составляющей электрического потенциала.
5. Устройство по п.1 или 2, отличающееся тем, что магнитный экран выполнен в виде тороидального ферромагнитного магнитопровода.
6. Устройство по п.1 или 2, отличающееся тем, что обратный проводник и магнитный экран выполнены в виде аморфного ферромагнитного микропровода.
7. Устройство по п.1 или 2, отличающееся тем, что оно дополнительно содержит линейный акселерометр, ось чувствительности которого параллельна направлению движения объекта, подключенный к входу бортового вычислителя, который выполнен с возможностью определения скорости объекта путем интегрирования сигнала ускорения с коррекцией результата интегрирования в зависимости от величины разности электрических потенциалов на измерительном проводнике.
8. Устройство по п.1 или 2, отличающееся тем, что оно дополнительно содержит замкнутую электропроводную оболочку, в которой размещены по меньшей мере измерительный и обратный проводники.
9. Устройство для измерения скорости объекта, содержащее измерительный проводник, расположенный на объекте в горизонтальном направлении, перпендикулярном направлению движения объекта, с возможностью воздействия на этот проводник магнитного поля Земли, и бортовой вычислитель, выполненный с возможностью определения скорости движения объекта в зависимости от разности электрического потенциала между различными точками измерительного проводника, отличающееся тем, что оно содержит дополнительные измерительные проводники, расположенные аналогично указанному измерительному проводнику, и обратные проводники, количество которых равно количеству измерительных проводников, причем измерительные и обратные проводники соединены последовательно и образуют измерительную катушку, размещенную на магнитопроводе, выполненном с возможностью магнитного экранирования обратных проводников, причем выводы измерительной катушки непосредственно или через дополнительный измеритель потенциала подключены к бортовому вычислителю.
10. Устройство по п.9, отличающееся тем, что оно дополнительно содержит датчик магнитного поля, подключенный к входу бортового вычислителя, который выполнен с возможностью определения скорости движения объекта в зависимости от отношения разности электрического потенциала к величине вертикальной составляющей индукции магнитного поля Земли, измеренной с помощью упомянутого датчика.
11. Устройство по п.9 или 10, отличающееся тем, что магнитопровод выполнен в виде тороидального ферромагнитного экрана.
12. Устройство по п.9 или 10, отличающееся тем, что оно дополнительно содержит датчик угла наклона объекта, подключенный к входу бортового вычислителя, который выполнен с возможностью определения скорости движения объекта с учетом отклонения объекта от горизонтального положения.
13. Устройство по п.9 или 10, отличающееся тем, что оно дополнительно содержит линейный акселерометр, ось чувствительности которого параллельна направлению движения объекта, подключенный к входу бортового вычислителя, который выполнен с возможностью определения скорости объекта путем интегрирования сигнала ускорения с коррекцией результата интегрирования в зависимости от величины выходного сигнала измерительной катушки.
14. Устройство по п.9 или 10, отличающееся тем, что бортовой вычислитель и/или измеритель потенциала выполнен с возможностью фильтрации переменной составляющей электрического потенциала.
15. Устройство по п.9 или 10, отличающееся тем, что оно дополнительно содержит замкнутую электропроводную оболочку, в которой размещены по меньшей мере измерительная катушка и магнитопровод.
РИСУНКИ
|