|
|
(21), (22) Заявка: 2002133588/14, 11.12.2002
(24) Дата начала отсчета срока действия патента:
11.12.2002
(30) Конвенционный приоритет:
12.12.2001 US 10/020,169
(43) Дата публикации заявки: 20.06.2004
(46) Опубликовано: 27.09.2007
(56) Список документов, цитированных в отчете о поиске:
WO 01/88518 A2, 12.11.2001. EP 0193154 A2, 24.02.1986. JP 2002296217 A, 09.10.2002. RU 2161653 C2, 10.01.2001.
Адрес для переписки:
129010, Москва, ул. Б.Спасская, 25, стр.3, ООО “Юридическая фирма Городисский и Партнеры”, пат.пов. Г.Б. Егоровой, рег.№ 513
|
(72) Автор(ы):
КЕРМАНИ Махиар З. (US)
(73) Патентообладатель(и):
ЛАЙФСКЕН, ИНК. (US)
|
(54) УСТРОЙСТВО БИОСЕНСОРА И СПОСОБ ОПРЕДЕЛЕНИЯ ТИПА И ОБЪЕМА ОБРАЗЦА
(57) Реферат:
Устройство содержит генератор синусоидальных колебаний для подачи сигнала переменного тока в ячейку биосенсора, содержащую образец, преобразователь «ток-напряжение», фазовращатель, генератор прямоугольных колебаний, синхронный детектор, и фильтр нижних частот, который выводит сигнал, пропорциональный эффективной электрической емкости ячейки биосенсора, которая пропорциональна объему образца. Кроме того, преобразователь «ток-напряжение» выводит сигнал, указывающий тип образца, содержащегося в ячейке биосенсора. Способ заключается в том, что подают синусоидальное колебание в ячейку биосенсора, сдвигают фазу результирующего сигнала, создают прямоугольное колебание, синхронное синусоидальному колебанию, демодулируют результирующий сигнал с использованием прямоугольного колебания и фильтруют демодулированный сигнал для создания сигнала, пропорционального эффективной электрической емкости ячейки биосенсора. С использованием данных устройства биосенсора и способа можно определять тип образца и измерять уровни глюкозы для широкого диапазона объемов образца с повышенной точностью. 2 н. и 7 з.п. ф-лы, 7 ил.
ОБЛАСТЬ ТЕХНИКИ, К КОТОРОЙ ОТНОСИТСЯ ИЗОБРЕТЕНИЕ
Настоящее изобретение относится к биосенсорам и, в частности, к способу и устройству для определения типа и объема образцов, помещенных в ячейку биосенсора.
УРОВЕНЬ ТЕХНИКИ
Биосенсор представляет собой устройство, которое измеряет содержание различных химических компонентов в образце, помещенном в ячейку биосенсора. Например, биосенсор может использоваться для измерения количества глюкозы, содержащейся в образце крови. Если говорить в общем, ячейка биосенсора содержит пару электрических проводников, например, из золота и палладия, выполненных таким образом, чтобы между ними размещался образец. В типичном случае биосенсор создает электрический сигнал, пропорциональный количеству определенного компонента (например, глюкозы) в образце, который, как предполагается, имеет определенный объем. Однако, если образец слишком маленький/большой, электрический сигнал будет указывать концентрацию, которая ниже/выше реальной концентрации компонента в образце, что может привести к неправильной постановке диагноза и назначению лечения. Соответственно, необходимы способы и устройство, определяющие адекватность биологического образца.
Один из способов определения адекватности образца, находящегося в ячейке биосенсора, реализуется посредством использования электрических датчиков. Электрические датчики представляют собой проводники, которые регистрируют протекание электрического тока. В этом способе в различных местах ячейки биосенсора устанавливаются один или более регистрирующих проводников. Когда возникает контакт образца с регистрирующим проводником, регистрирующий проводник начинает проводить электрический ток, тем самым указывая наличие образца в данном месте. В этом случае для определения адекватности образца, помещенного в ячейку биосенсора, исходя из количества регистрирующих проводников, проводящих электрический ток, можно использовать электронную схему. Данный способ обладает несколькими недостатками. Во-первых, в дополнение к двум существующим проводникам ячейки биосенсора в виде параллельных пластин требуются несколько регистрирующих проводников. Во-вторых, если образец контактирует с регистрирующим проводником, не заполняя полностью его площадь, то возникает ошибка. В-третьих, при использовании данного способа невозможно учесть наличие пузырьков, попавших в образец, которые уменьшают его объем.
Другой способ определения адекватности образца, размещенного в ячейке биосенсора, реализуется посредством визуального подтверждения объема образца. В этом способе пользователь устройства визуально проверяет образец, размещенный в биосенсоре, для определения его достаточности. Данный способ основан на субъективном определении объема образца и, следовательно, подвержен ошибкам. Это особенно проблематично, когда биосенсор используется для измерения содержания химических компонентов, связанных с определенными заболеваниями, такими как диабет, которые снижают остроту зрения у пользователя.
Существующие способы, используемые для определения адекватности образца, обеспечивают выполнение теста, только если объем образца находится в пределах узкого диапазона. Если объем образца выходит за пределы этого диапазона, выполнение теста невозможно. Такой способ использования биологических образцов по принципу “годится/не годится”, который основан на нахождении объема образца в пределах узкого диапазона, приводит к потере времени и образцов, если образцы выходят за пределы данного узкого диапазона.
Следовательно, существует потребность в устройстве и способах для точного определения объема образца, находящегося в ячейке биосенсора, а также для определения концентраций химических компонентов для широкого диапазона объемов образцов. Настоящее изобретение среди прочих удовлетворяет и эту потребность.
СУЩНОСТЬ ИЗОБРЕТЕНИЯ
Настоящим изобретением предлагаются устройство и способы, с использованием которых можно определять достаточность объема образца, помещенного в биосенсор, можно учитывать вариации объема образцов и можно определять тип образца, помещенного в биосенсор. Упомянутые выше проблемы решаются путем точного измерения объема образца, находящегося в ячейке биосенсора, путем определения эффективной электрической емкости ячейки биосенсора, которая пропорциональна объему образца, находящегося в ячейке биосенсора.
Одним аспектом настоящего изобретения является устройство для измерения эффективной электрической емкости ячейки биосенсора, имеющей контакт первого проводника и контакт второго проводника, при этом ячейка биосенсора выполнена с возможностью размещения в ней образца, обладающего некоторым объемом, связанным с эффективной электрической емкостью ячейки биосенсора. Данное устройство содержит генератор синусоидальных колебаний, имеющий выход для соединения с контактом первого проводника ячейки биосенсора, причем генератор синусоидальных колебаний создает сигнал переменного тока, преобразователь “ток-напряжение” (I/V-преобразователь), имеющий вход для соединения с контактом второго проводника ячейки биосенсора, а также имеющий выход; фазовращатель, имеющий вход, соединенный с выходом I/V-преобразователя, а также имеющий выход; генератор прямоугольных колебаний, создающий прямоугольное колебание, синхронное сигналу переменного тока, синхронный детектор, имеющий выход, первый вход, соединенный с фазовращателем, и второй вход, соединенный с генератором прямоугольных колебаний; и фильтр нижних частот (ФНЧ), имеющий вход, соединенный с выходом синхронного детектора, причем ФНЧ на выходе создает сигнал, пропорциональный эффективной электрической емкости ячейки биосенсора.
Другим аспектом данного изобретения является способ измерения эффективной электрической емкости ячейки биосенсора, имеющей контакт первого проводника и контакт второго проводника, причем ячейка биосенсора выполнена с возможностью ее использования в биосенсоре для размещения образца, имеющего некоторый объем. Данный способ заключается в том, что подают напряжение в виде синусоидального колебания, имеющего некоторую частоту, на первый проводник ячейки биосенсора для создания сигнала переменного тока, сдвигают фазу сигнала переменного тока, создают прямоугольное колебание, синхронное упомянутому синусоидальному колебанию; демодулируют сигнал переменного тока с использованием прямоугольного колебания для создания демодулированного сигнала; и фильтруют демодулированный сигнал для создания сигнала, пропорционального эффективной электрической емкости ячейки биосенсора.
КРАТКОЕ ОПИСАНИЕ ЧЕРТЕЖЕЙ
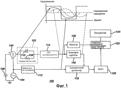
Фиг.1 – структурная схема биосенсора и относящихся к нему уровней сигналов в соответствии с настоящим изобретением.
Фиг.2 – принципиальная схема биосенсора в соответствии с настоящим изобретением.
Фиг.3 – диаграмма синхронизации для измерения объемов образцов и уровней глюкозы в соответствии с настоящим изобретением.
Фиг.4 – график, на котором приведены значения тока для заполненных и наполовину заполненных ячеек биосенсора в соответствии с настоящим изобретением.
Фиг.5 – график, на котором приведены прошедшие аналого-цифровое преобразование данные измерения объема для заполненных и наполовину заполненных ячеек биосенсора в соответствии с настоящим изобретением.
Фиг.6 – график, на котором изображена гистограмма прошедших аналого-цифровое преобразование данных, приведены среднее значение, среднеквадратическое отклонение и коэффициент вариации (CV) для заполненных и наполовину заполненных ячеек биосенсора спустя 0,8 секунды после размещения образца в соответствии с настоящим изобретением.
Фиг.7а – график, на котором приведены отклонения при определении уровня глюкозы по сравнению с промышленным стандартом до учета объема в соответствии с настоящим изобретением.
Фиг.7b – график, на котором приведены отклонения при определении уровня глюкозы по сравнению с промышленным стандартом после учета объема в соответствии с настоящим изобретением.
ПОДРОБНОЕ ОПИСАНИЕ ИЗОБРЕТЕНИЯ
Фиг.1 представляет собой структурную схему биосенсора 100, соответствующего одному из вариантов реализации настоящего изобретения и предназначенного для определения объема образца, помещенного в ячейку 102 биосенсора, и. определения типа этого образца. Кроме того, на фиг.1 изображены уровни сигналов, возникающих в различных местах биосенсора 100. При общем рассмотрении переменный ток в виде синусоидального колебания, созданный генератором 104 синусоидальных колебаний переменного тока, и напряжение смещения постоянного тока, созданное источником 106 напряжения постоянного тока, суммируются сумматором 146 и подаются в ячейку 102 биосенсора для создания сигнала, который характеризует эффективное сопротивление 108 и эффективную электрическую емкость 110 ячейки 102 биосенсора. Кроме того, напряжение переменного тока в виде синусоидального колебания подается в генератор 112 прямоугольных колебаний, который создает прямоугольное колебание, синхронное упомянутому синусоидальному колебанию. Сигнал, поступающий из ячейки 102 биосенсора, пропускают через преобразователь 114 “ток-напряжение” (I/V-преобразователь) для преобразования данного сигнала в сигнал напряжения. Фазу сигнала напряжения, поступающего из I/V-преобразователя 114, сдвигают с использованием фазовращателя 116. Выходной сигнал фазовращателя 116 подают в синхронный детектор 118 для демодуляции, используя для создания демодулированного сигнала выходной сигнал генератора 112 прямоугольных колебаний. Демодулированный сигнал пропускают через ФНЧ 120 для создания сигнала, пропорционального эффективной электрической емкости ячейки 102 биосенсора, которая пропорциональна объему образца. Сигнал преобразуют в цифровой при помощи аналого-цифрового преобразователя 122, и цифровой сигнал обрабатывают при помощи процессора 124 для определения объема образца на основе эффективной электрической емкости ячейки 102 биосенсора. Кроме того, выходной сигнал I/V-преобразователя 114 пропускают через фильтр 126, который удаляет переменную составляющую в виде синусоидального колебания, и результирующий сигнал преобразуют в цифровой при помощи аналого-цифрового преобразователя 122 для обработки при помощи процессора 124 с целью определения типа образца (например, тестовый образец или биологический образец), размещенного в ячейке 102 биосенсора. Настоящее изобретение особенно полезно (но не исключительно для этого) при применении в системах измерения содержания глюкозы, используемых диабетиками для определения уровней глюкозы в образцах крови.
Фиг.2 представляет собой схематическое изображение устройства для определения объема и типа образца, размещенного в ячейке 102 биосенсора, которое будет использоваться для подробного описания одного из вариантов реализации настоящего изобретения. Ячейка 102 биосенсора представляет собой приемник образца, например, крови. Ячейка 102 биосенсора известным образом может быть смоделирована при помощи эффективного сопротивления 108, установленного параллельно эффективной электрической емкости 110 между контактом 128 первого проводника и контактом 130 второго проводника ячейки 102 биосенсора. Ячейка 102 биосенсора содержит первый проводник, соединенный с контактом 128 первого проводника, и второй проводник, соединенный с контактом 130 второго проводника. Первый и второй проводники могут представлять собой пару пластин, фактически параллельных друг другу и выполненных таким образом, чтобы между ними можно было поместить образец. Когда образец размещен в ячейке 102 биосенсора, эффективная электрическая емкость 110 ячейки 102 биосенсора будет пропорциональна объему образца. В других вариантах реализации настоящего изобретения первый и второй проводники могут представлять собой пару пластин, расположенных в одной плоскости для размещения на них образца, или могут представлять собой пару соосных цилиндрических проводников, выполненных таким образом, чтобы между ними можно было поместить образец.
Генератор 104 синусоидальных колебаний создает синусоидальное колебание, которое может подаваться в ячейку 102 биосенсора. При подаче синусоидального колебания в ячейку 102 биосенсора в точке контакта 128 первого проводника в контакте 130 второго проводника возникает сигнал, который характеризует эффективное сопротивление 108 и эффективную электрическую емкость 110 ячейки 102 биосенсора. Амплитуда синтезируемого синусоидального колебания выбирается таким образом, что оно не влияет на электрохимическую реакцию в ячейке 102 биосенсора и может создавать сигнал, значительно превышающий уровень шума в системе. Частота синтезируемого синусоидального колебания выбирается так, чтобы сделать максимальным соотношение сигнал/шум биосенсора. В одном из вариантов реализации настоящего изобретения синусоидальное колебание имеет амплитуду приблизительно 50 мВ и частоту приблизительно 109,065 Гц. Примером подходящего генератора синусоидальных колебаний является известная микросхема прямого цифрового синтеза (DDS), которая содержит счетчик и цифроаналоговый преобразователь, формирующий на выходе синусоидальный сигнал, объединенные в проблемно-ориентированную интегральную схему, такую как микросхема AD9832, производимая компанией Analog Devices, Inc., Норвуд, штат Миннесота, США. Такая компоновка обеспечивает создание очень стабильного синусоидального колебания ступенчатого типа.
Источник 106 напряжения постоянного тока создает напряжение постоянного тока, которое можно подавать в ячейку 102 биосенсора. Напряжение постоянного тока делает возможным быстрое возникновение эффективной электрической емкости 110 в ячейке 102 биосенсора, что позволяет быстро определять объем образца, размещенного в ячейке 102 биосенсора. В одном из вариантов реализации настоящего изобретения напряжение постоянного тока является отрицательным и имеет уровень приблизительно – 300 мВ. Объем образца, находящегося в ячейке 102 биосенсора, может быть точно определен и без подачи напряжения постоянного тока в эту ячейку. Однако подача напряжения постоянного тока делает возможным более быстрое образование эффективной электрической емкости 110. Соответственно источник 106 напряжения постоянного тока может быть исключен из изображенного биосенсора без выхода за пределы сущности и объема настоящего изобретения, однако его включение в состав биосенсора может положительно повлиять на характеристики биосенсора при определении эффективной электрической емкости 110.
В изображенном варианте реализации настоящего изобретения источник 106 постоянного напряжения содержит первый обычный операционный усилитель 132 и второй обычный операционный усилитель 134. На неинвертирующий вход первого операционного усилителя 132 подается напряжение 136 запрещенной зоны. Напряжение 136 запрещенной зоны создается при помощи известного источника опорного напряжения на ширине запрещенной зоны, который генерирует стабильное напряжение с использованием источника напряжения, например аккумулятора. Напряжение 136 запрещенной зоны остается постоянным, несмотря на флуктуации выходного напряжения упомянутого источника напряжения. Первый операционный усилитель 132 выполняет функцию каскада усиления, при этом его инвертирующий вход соединен с заземлением через резистор 138 заземления, а его выход соединен с его инвертирующим входом через резистор 140 цепи обратной связи. Кроме того, выход первого операционного усилителя 132 соединен с потенциально заземленной точкой через первый резистор 142 заземления и с системным заземлением через первый резистор 142 заземления и второй резистор 144 заземления. Неинвертирующий вход второго операционного усилителя 134 соединен с выходом первого операционного усилителя 132. Второй операционный усилитель 134 выполняет функцию буферного каскада, при этом его выход соединен с его инвертирующим входом. Выходной сигнал второго операционного усилителя 134 представляет собой напряжение постоянного тока источника 106 напряжения постоянного тока.
Сумматор 146 суммирует синусоидальное колебание, поступающее от генератора 104 синусоидальных колебаний, и сигнал напряжения постоянного тока, поступающий от источника 106 напряжения постоянного тока, для создания сигнала, подаваемого на контакт 128 первого проводника ячейки 102 биосенсора. В изображенном варианте реализации настоящего изобретения сумматор 146 содержит обычный операционный усилитель 148. Неинвертирующий вход операционного усилителя 148 соединен с генератором 104 синусоидальных колебаний через первый входной резистор 150 и с источником 106 напряжения постоянного тока – через второй входной резистор 152. Инвертирующий вход операционного усилителя 148 соединен с потенциально заземленной точкой через резистор 154 заземления, а выход операционного усилителя 148 соединен с его неинвертирующим входом через резистор 156 обратной связи. Специалистам в данной области техники будет понятно, что, если источник 106 напряжения постоянного тока не используется, сумматор 146 может быть исключен, и генератор 104 синусоидальных колебаний может быть соединен непосредственно с ячейкой 102 биосенсора.
I/V-преобразователь 114 принимает сигнал тока, поступающий из ячейки 102 биосенсора, и преобразует его в сигнал напряжения. В изображенном варианте реализации настоящего изобретения I/V-преобразователь содержит обычный операционный усилитель 153. Инвертирующий вход операционного усилителя 158 соединен с контактом 130 второго проводника ячейки 102 биосенсора. Неинвертирующий вход операционного усилителя 158 соединен с потенциально заземленной точкой. Резистор 160 обратной связи, установленный между выходом операционного усилителя 158 и его инвертирующим входом, определяет коэффициент передачи I/V-преобразователя 114.
Фазовращатель 116 сдвигает фазу сигнала, поступающего из I/V-преобразователя 114, и удаляет из сигнала любую составляющую постоянного тока, если таковая имеется. В одном из вариантов реализации настоящего изобретения фаза сигнала, поступающего из I/V-преобразователя 114, сдвинута на 90°. В изображенном варианте реализации настоящего изобретения фазовращатель 116 содержит конденсатор 162 и резистор 164, и за фазовращателем 116 следует буферный усилитель 166. Буферный усилитель 166 может представлять собой обычный операционный усилитель, выход которого соединен с его инвертирующим входом. Конденсатор 162 установлен между выходом операционного усилителя 158 I/V-преобразователя 114 и неинвертирующим входом буферного усилителя 166. Один вывод резистора 164 соединен с точкой цепи между конденсатором 162 и неинвертирующим входом буферного усилителя 166, а другой его вывод соединен с потенциально заземленной точкой.
Генератор 112 прямоугольных колебаний создает на выходе прямоугольное колебание, Асинхронное синусоидальному колебанию, создаваемому генератором 104 синусоидальных колебаний. В одном из вариантов реализации настоящего изобретения прямоугольное колебание будет иметь относительно низкий уровень, в отрицательной полуволне синусоидального колебания, создаваемого генератором 104 синусоидальных колебаний, и будет иметь относительно высокий уровень в положительной полуволне синусоидального колебания. В изображенном варианте реализации настоящего изобретения генератор 112 прямоугольных колебаний содержит обычный операционный усилитель 168, представляющий собой триггер Шмидта с некоторым гистерезисом и соединенный с генератором 104 синусоидальных колебаний для создания прямоугольного колебания, синхронного синусоидальному колебанию, создаваемому генератором 104 синусоидальных колебаний. Неинвертирующий вход операционного усилителя 168 соединен с генератором 104 синусоидальных колебаний через входной резистор 170. Инвертирующий вход операционного усилителя 168 соединен с потенциально заземленной точкой. Выход операционного усилителя 168 соединен с его неинвертирующим входом через резистор 112 обратной связи. Предполагается, что, если генератор 104 синусоидальных колебаний представляет собой специализированную интегральную схему, включающую микросхему прямого цифрового синтеза, прямоугольное колебание может создаваться этой специализированной интегральной схемой, в результате чего устраняется необходимость в наличии отдельного компонента (например, генератора 112 прямоугольных колебаний) для создания упомянутого прямоугольного колебания.
Синхронный детектор 118 представляет собой схему, предназначенную для демодуляции сдвинутого по фазе сигнала, поступающего из фазовращателя 116, с использованием прямоугольного колебания, поступающего от генератора 112 прямоугольных колебаний. Выходной сигнал синхронного детектора 118 представляет собой сигнал, знак которого зависит от относительного уровня прямоугольного колебания, создаваемого генератором 112 прямоугольных колебаний. Если прямоугольное колебание имеет низкий уровень (указывающий, что проходит отрицательная полуволна синусоидального колебания), знак упомянутого сигнала будет меняться. Если прямоугольное колебание имеет высокий уровень (указывающий, что проходит положительная полуволна синусоидального колебания), знак упомянутого сигнала не будет меняться.
В изображенном варианте реализации настоящего изобретения синхронный детектор 118 содержит операционный усилитель 174 и переключатель 175, например транзистор. Инвертирующий вход и неинвертирующий вход операционного усилителя 174 соединены с выходом буферного усилителя 166 соответственно через первый входной резистор 176 и второй входной резистор 178. Выход операционного усилителя 174 соединен с его инвертирующим входом через резистор 180 цепи обратной связи. Кроме того, неинвертирующий вход операционного усилителя 174 может быть соединен с потенциально заземленной точкой через переключатель 175, который управляется генератором 112 прямоугольных колебаний. Когда уровень прямоугольного колебания является высоким, переключатель 175 замкнут, и неинвертирующий вход операционного усилителя 174 соединен с потенциально заземленной точкой, в результате чего меняется знак сигнала на выходе операционного усилителя 174. Когда уровень прямоугольного колебания является низким, переключатель разомкнут, и неинвертирующий вход операционного усилителя 174 не соединен с потенциально заземленной точкой, в результате чего знак сигнала на выходе операционного усилителя 174 остается неизменным.
ФНЧ 120 фильтрует выходной сигнал синхронного детектора 118 для создания сигнала постоянного тока, пропорционального эффективной электрической емкости 110 ячейки 102 биосенсора, которая, в свою очередь, пропорциональна объему образца, находящегося в биосенсоре. В одном из вариантов реализации настоящего изобретения частота среза ФНЧ 120 значительно ниже частот сигнала, поступающего из синхронного детектора 118. Так как частота среза значительно ниже частот сигнала, поступающего из синхронного детектора 118, ФНЧ 120 усредняет данный сигнал. Результирующий сигнал представляет собой сигнал постоянного тока, пропорциональный эффективной электрической емкости 110 ячейки 102 биосенсора. Пояснение, демонстрирующее, что результирующий сигнал пропорционален эффективной электрической емкости 110 и не характеризует эффективное сопротивление 108, приведено ниже со ссылкой на уравнения 1-8. В изображенном варианте реализации настоящего изобретения ФНЧ 120 содержит резистор 182 и конденсатор 184. Один вывод резистора 182 соединен с выходом синхронного детектора 118, а другой вывод – с конденсатором 184. Конденсатор 184 установлен между резистором 182 и потенциально заземленной точкой.
Усилитель 185 усиливает выходной сигнал ФНЧ 120. В изображенном варианте реализации настоящего изобретения усилитель 185 представляет собой обычный операционный усилитель 186. Неинвертирующий вход операционного усилителя 186 соединен с ФНЧ 120. Инвертирующий вход операционного усилителя 186 соединен с потенциально заземленной точкой через резистор 188 заземления, и выход операционного усилителя 186 соединен с его инвертирующим входом через резистор 190 обратной связи.
Делитель 191 напряжения понижает уровень напряжения на выходе усилителя 185 до уровня, подходящего для аналого-цифрового преобразователя 122. В изображенном варианте реализации настоящего изобретения делитель 191 напряжения содержит первый резистор 192 и второй резистор 194, установленные последовательно между выходом операционного усилителя 186 и системным заземлением. Подключение к цепи между резисторами 192, 194 обеспечивает пониженный уровень напряжения, который зависит от значений сопротивления, выбранных для этих резисторов.
Фильтр 126 представляет собой обычный фильтр, предназначенный для удаления составляющей переменного тока из сигнала, поступающего от I/V-преобразователя 114. Результирующий сигнал на выходе фильтра 126 указывает тип образца, размещенного в ячейке 102 биосенсора. Например, при измерении уровней глюкозы в крови в ячейку 102 биосенсора сначала помещают тестовый образец, например подслащенную воду, для определения правильности работы биосенсора. Результирующий сигнал может быть известным образом использован для определения типа образца, например кровь или подслащенная вода. В одном из вариантов реализации настоящего изобретения фильтр 126 выполняет функцию удаления частот сигнала переменного тока, эквивалентных частоте сигнала переменного тока, создаваемой генератором 104 синусоидальных колебаний. В другом варианте реализации настоящего изобретения фильтр 126 удаляет все сигналы переменного тока.
Аналого-цифровой преобразователь 122 преобразует аналоговые сигналы, принятые на входе, в цифровые сигналы на выходе. В одном из вариантов реализации настоящего изобретения аналого-цифровой преобразователь 122 соединяют с ФНЧ 120 через делитель 191 напряжения и усилитель 185 посредством переключателя 196 (например, транзистора) для выполнения первой функции, заключающейся в преобразовании сигнала, пропорционального эффективной электрической емкости 110 ячейки 102 биосенсора, из аналоговой формы в цифровую. Кроме того, аналого-цифровой преобразователь 122 можно соединять с выходом I/V-преобразователя 114 через фильтр 126 посредством переключателя 198 (например, другого транзистора) для выполнения второй функции, заключающейся в преобразовании сигнала, указывающего тип образца в ячейке 102 биосенсора, из аналоговой формы в цифровую. Замыкание переключателей 196, 198 является взаимоисключающим, чтобы предотвратить поступление в аналого-цифровой преобразователь 122 в одно и то же время более чем одного сигнала. Специалистам в данной области техники будет понятно, что аналого-цифровое преобразование, выполняемое для определения эффективной электрической емкости 110 ячейки 102 биосенсора, и аналого-цифровое преобразование, выполняемое для определения типа образца, помещенного в ячейку 102 биосенсора, могут осуществляться двумя отдельными аналого-цифровыми преобразователями. Если используются отдельные аналого-цифровые преобразователи или должна выполняться только одна функция, переключатели 196, 198 могут быть удалены.
В одном из вариантов реализации настоящего изобретения аналого-цифровой преобразователь 122 представляет собой аналого-цифровой преобразователь с двойной крутизной характеристики. Аналого-цифровой преобразователь с двойной крутизной характеристики является устройством, которое преобразует аналоговые сигналы в цифровые путем интегрирования аналогового сигнала в течение заданного периода времени с последующим подсчетом временных интервалов, необходимых для возвращения интегрированного сигнала обратно в ноль. Подсчитанные временные интервалы являются основой для цифрового сигнала, выводимого аналого-цифровым преобразователем с двойной крутизной характеристики. Специалистам в данной области техники будет понятно, что время интегрирования аналого-цифрового преобразователя с двойной крутизной характеристики может выбираться с целью подавления частоты, создаваемой генератором 104 синусоидальных колебаний, в результате чего фактически удаляется сигнал переменного тока, поступающий из I/V-преобразователя 114, и устраняется потребность в отдельном фильтре 126. В одном из вариантов реализации настоящего изобретения время интегрирования выбирается таким образом, чтобы подавить помеху линии 60/50 Гц, например, 18,34 мс. Кроме того, частота синусоидального колебания, создаваемого генератором 104 синусоидальных колебаний, выбирается так, чтобы в выбранное время интегрирования 18,34 мс имелось максимальное ослабление, например 109,065 Гц.
В изображенном варианте реализации настоящего изобретения вместо преобразования тока и напряжения, существующих в ячейке 102 биосенсора, с последующим определением эффективной электрической емкости 110, аналого-цифровой преобразователь 122 преобразует сигнал постоянного тока, пропорциональный эффективной электрическое емкости 110 ячейки 102 биосенсора. Это позволяет использовать более медленный аналого-цифровой преобразователь 122 (такой как аналого-цифровой преобразователь с двойной крутизной характеристики в приведенном выше варианте реализации настоящего изобретения), чем потребовался бы для перевода в цифровую форму напряжения и тока, существующих в ячейке 102 биосенсора.
Процессор 124 обрабатывает цифровые сигналы, поступающие из аналого-цифрового преобразователя 122. Если процессор 124 соединен с выходом I/V-преобразователя 114 через переключатель 198, фильтр 126 и аналого-цифровой преобразователь 122, то этот процессор известным образом выполняет функцию определения того, к какому типу относится образец, находящийся в ячейке 102 биосенсора, – к первому типу или второму типу. Если процессор 124 соединен с выходом ФНЧ 120 через усилитель 185, делитель 191 напряжения, аналого-цифровой преобразователь 122 и переключатель 196, то этот процессор выполняет функцию определения объема образца, находящегося в ячейке 102 биосенсора. Можно показать, что выходной сигнал ФНЧ 120 пропорционален объему образца в биосенсоре, поэтому объем образца можно определить с использованием известных технологий обработки данных. Процессор 124 включает, не ограничиваясь перечисленным; микропроцессоры, микроконтроллеры, процессоры для цифровой обработки сигналов (ЦОС, DSP), конечные автоматы, процессоры общего назначения, специализированные процессоры, специализированные интегральные схемы или, по существу, любое устройство, способное обрабатывать цифровой сигнал.
В одном из вариантов реализации настоящего изобретения процессор будет определять адекватность объема образца путем сравнения рассчитанного объема с предварительно заданным значением. Если объем образца является адекватным, с использованием данного образца выполняется измерение содержания компонента. Если объем образца неадекватен, измерение содержания компонента не выполняется, и пользователю биосенсора может выводиться сообщение об ошибке. В определенных вариантах реализации настоящего изобретения процессор 124 будет сохранять для образца замеры содержания компонента, если этот образец относится к первому типу, и отбрасывать замеры для образца, относящегося ко второму типу. Например, в системе измерения содержания глюкозы, если процессор 124 определяет, что тип образца – кровь, то он сохраняет замер содержания глюкозы. Однако, если процессор, определяет, что тип образца – подслащенная вода (обычное вещество, используемое для проверки правильности работы измерителя содержания глюкозы), то замер содержания глюкозы отбрасывается.
Процессор 124 может быть выполнен с возможностью определения количества компонента в образце, находящемся в ячейке 102 биосенсора. Например, процессор 124 может использоваться для определения количества глюкозы в образце крови. Чтобы определить уровень глюкозы в образце, процессор 124 соединяют с выходом I/V-преобразователя 114 через переключатель 198. Напряжение, подаваемое в ячейку 102 биосенсора источником 106 напряжения постоянного тока, например, -300 мВ, создает ток “первого импульса” ifp через ячейку 102 биосенсора. Затем источник 106 напряжения постоянного тока известным образом переводят в другой режим для подачи напряжения противоположной полярности, например, +300 мВ, и устанавливают допустимый «установившийся режим» для создания импульсного тока iss через ячейку 102 биосенсора. В одном из вариантов реализации настоящего изобретения уровень глюкозы для данного образца может определяться процессором 124, как описано ниже со ссылкой на уравнения 9-18, в которых перед вычислением уровня глюкозы импульсные токи рассчитываются и корректируются, исходя из эффективной электрической емкости 110 ячейки 102 биосенсора. В другом варианте реализации настоящего изобретения процессор 124 может известным образом определять уровень глюкозы на основе импульсных токов, а затем корректировать уровень глюкозы, используя эффективную электрическую емкость 110.
Чтобы снизить влияние изменчивости характеристик электронных компонентов биосенсора, изображенного на Фиг.2, используется процедура калибровки. Процедура калибровки включает усреднение цифровых сигналов, пропорциональных эффективной электрической емкости 110 пустой ячейки 102 биосенсора, и цифровых сигналов, возникающих при известной электрической емкости ячейки 102 биосенсора; и вычисление поправки на преобразование электрической емкости путем деления значения, полученного для известной емкости, на разность между значением, полученным для пустой ячейки 102 биосенсора, и значением, полученным для известной емкости. Поправка на преобразование электрической емкости затем сохраняется для использования ее процессором 124 с целью коррекции сигнала, пропорционального эффективной электрической емкости 110 ячейки 102 биосенсора.
В одном из вариантов реализации настоящего изобретения выбирают известный конденсатор со стандартным значением емкости, например, 0,47 мкФ ±2%. Величину емкости конденсатора определяют с использованием известного калиброванного измерителя, например измерителя индуктивности/емкости/сопротивления (LCR) Agilent. Затем конденсатор подключают между контактами 128, 130 проводников, при этом ячейка 102 биосенсора подключена к биосенсору и производится запись прошедших аналого-цифровое преобразование данных, поступающих из аналого-цифрового преобразователя 122. Прошедшие аналого-цифровое преобразование данные и известная измеренная электрическая емкость используются для проведения однократной калибровки с целью определения поправки на преобразование электрической емкости, которая может сохраняться в энергонезависимой памяти для ее использования процессором 124. При работе прошедшие аналого-цифровое преобразование данные аналого-цифрового преобразователя 122 преобразуются процессором 124 в значения электрической емкости с использованием хранящейся поправки на преобразование электрической емкости.
ПОЯСНИТЕЛЬНАЯ ЧАСТЬ
Когда две параллельные пластины с площадью поверхности А расположены на расстоянии d друг от друга и между ними установлен изолятор, электрическая емкость вычисляется следующим образом:

где: 0 – диэлектрическая проницаемость или диэлектрическая постоянная свободного пространства, и
r – относительная диэлектрическая проницаемость изолятора, установленного между двумя пластинами.
Электрическая емкость прямо пропорциональна площади поверхности А (или поверхности электродов, контактирующей с раствором образца) и обратно пропорциональна расстоянию d между двумя пластинами.
Чтобы создать сигнал, пропорциональный объему размещенного образца, измерение не должно зависеть от эффективного сопротивления 108. Чтобы доказать, что выходной сигнал схемы, описанной со ссылкой на фиг.2, пропорционален эффективной электрической емкости 110 ячейки биосенсора и не является функцией эффективного сопротивления 108 этой ячейки, допустим, что синтезируемое синусоидальное колебание является непрерывным и имеет амплитуду V и частоту f:

где =2 f;
t – время.
Ток через ячейку 102 биосенсора при размещенном в ней образце будет иметь ту же форму со сдвигом фазы на градусов

где I={V/*Z*}, и
=tg-1 ( RC).
Сопротивление Z ячейки биосенсора

Выходной сигнал ФНЧ 120 V0 представляет собой среднее значение выходного сигнала I/V-преобразователя 114 после сдвига его фазы на 90 градусов

где Rs – измерительный резистор для I/V-преобразователя 114.
В этом уравнении предполагается, что коэффициент передачи фазовращателя равен единице. При подстановке Z и вычислении интеграла

и

После некоторых математических упрощений

Таким образом, выходное напряжение V0 представляет собой линейную функцию эффективной электрической емкости 110 ячейки биосенсора и не является функцией эффективного сопротивления 108 этой ячейки. Следовательно, измерив напряжение и зная частоту и значение сопротивления измерительного резистора, можно определить эффективную электрическую емкость 110 ячейки биосенсора, которая в свою очередь, является индикатором объема образца.
В соответствии с одним из вариантов реализации настоящего изобретения можно провести точный замер содержания глюкозы, даже если в биосенсоре 102 размещен образец не оптимального объема. фиг.3 представляет собой диаграмму синхронизации, которая будет использована для иллюстрации прохождения сигналов, применяемых для измерения уровней глюкозы. Во время первого импульса (fp), в котором имеется первое напряжение смещения (например, -300 мВ), во время периода измерения объема, в который в образец подается сигнал переменного тока, измеряется уровень эффективной электрической емкости, характеризующий объем образца. Кроме того, в период первого импульса, после удаления сигнала переменного тока, измеряется первый уровень тока, протекающего через ячейку 102 биосенсора. В период второго импульса, в котором имеется второе напряжение смещения (например, +300 мВ), спустя период перехода в устойчивый режим измеряется второй уровень тока. Уровни тока в последующем могут корректироваться исходя из эффективной электрической емкости 110 ячейки 102 биосенсора и использоваться для определения уровня глюкозы в данном образце. Далее этот процесс будет описан подробно. Концентрация глюкозы (G) может быть вычислена следующим образом:

где ifp – ток первого импульса одной полярности, измеренный во время первого импульса (fp),
iss – импульсный ток установившегося режима другой полярности, измеренный во время второго импульса (sp),
р и z – постоянные калибровки и
Gsp – концентрация глюкозы, вычисленная во время второго импульса.
Концентрация глюкозы Gsp во время второго импульса может быть вычислена следующим образом:

где d – толщина ячейки биосенсора,
F – постоянная Фарадея,
А – площадь ячейки биосенсора и
D – коэффициент диффузии.
В одном из вариантов реализации настоящего изобретения ток первого импульса ifp измеряется во время первого импульса непосредственно перед переходом напряжения смещения от -300 мВ к +300 мВ, а ток установившегося режима iss измеряется во время второго импульса после того, как ток установится, по существу, на постоянный уровень.
Если ячейка биосенсора не полностью заполнена образцом, и площадь ячейки равна А, то G и Gsp могут быть вычислены исходя из частично заполненного объема. Чтобы проиллюстрировать этот подход, представим себе частично заполненную ячейку биосенсора, где область ячейки биосенсора, занятая образцом, представлена частично заполненной площадью APF, где PF обозначает частичное заполнение. При вычислении уровня глюкозы эта площадь используется для определения уровня глюкозы при частичном заполнении

где

Следовательно

Токи iss и ifp в ячейке пропорциональны площади А ячейки, и эквивалентная электрическая емкость ячейки пропорциональна площади ячейки

где F обозначает полностью заполненную ячейку.
Таким образом, если токи issPF и ifpPF для частично заполненной ячейки вычислены и подставлены для определения концентрации глюкозы в образце, который частично заполняет ячейку биосенсора, то

Если отношение электрических емкостей заменяется на отношение площадей, то

и

Это эквивалентно концентрации глюкозы, вычисленной для полностью заполненной ячейки биосенсора по уравнению 9, то есть

Это показывает, что точный уровень глюкозы может быть определен, даже если ячейка 102 биосенсора заполнена только частично.
На фиг.4 приведены значения токов в импульсах для заполненных и наполовину заполненных ячеек биосенсора в период первого импульса и второго импульса перед коррекцией, исходя из эффективной электрической емкости ячейки биосенсора, в соответствии с настоящим изобретением. В примере, изображенном на фиг.4, переход от первого импульса ко второму импульсу происходит спустя приблизительно 10 секунд. Как показано, вид кривых тока приблизительно одинаков для заполненных и наполовину заполненных ячеек биосенсора, но существуют значительные различия в значениях тока. Эти различия могут быть обусловлены вариациями реальных уровней глюкозы и объемов образцов. Например, определение низкого уровня глюкозы может быть вызвано низким уровнем глюкозы и/или небольшим объемом образца. Следовательно, измерения уровня глюкозы на основе уровней токов до коррекции могут быть неточными. Результаты, показанные на фиг.4, были получены при заполнении ячеек биосенсора образцами крови, содержащими от 40 мг/дЛ до 600 мг/дЛ глюкозы, и с гематокритом 20-70%.
На фиг.5 приведены прошедшие аналого-цифровое преобразование данные измерения объема для полностью заполненных и наполовину заполненных ячеек биосенсора в период от 0,6 до 0,8 секунды от момента обнаружения образца известным образом. Синтезированный переменный ток в виде синусоидального колебания подается в начале первого импульса и токи, на которых основано измерение объема, стабилизируются перед получением прошедших аналого-цифровое преобразование данных измерения объема. Как показано, значения прошедших аналого-цифровое преобразование данных для наполовину заполненных ячеек биосенсора приблизительно равны 1/2 от значений прошедших аналого-цифровое преобразование данных для заполненных ячеек биосенсора, что демонстрирует связь этих данных с объемом образца, находящегося в ячейке биосенсора. Результаты, показанные на фиг.5, были получены при заполнении ячеек биосенсора образцами крови, содержащими от 40 мг/дЛ до 600 мг/дЛ глюкозы, с гематокритом 20-70%.
На фиг.6 изображена гистограмма прошедших аналого-цифровое преобразование данных, приведены среднее значение, среднеквадратическое отклонение и коэффициент вариации (CV) для заполненных и наполовину заполненных ячеек биосенсора спустя 0,8 секунды после обнаружения образца. Как показано, прошедшие аналого-цифровое преобразование данные сильно коррелируют с объемом образца.
На фиг.7а и 7b приведено сравнение отклонений при определении содержания глюкозы биосенсором в соответствии с настоящим изобретением с замерами содержания глюкозы, выполненными при помощи устройства YSI Glucose Analyzer, выпускаемого компанией YSI Incorporated, Йеллоу Спрингс, штат Огайо, США (признанный промышленностью “золотой” стандарт измерения содержания глюкозы), до и после учета объема образцов, помещенных в ячейку биосенсора, соответственно. Отклонения в определении содержания глюкозы представляют собой разность между уровнями глюкозы, измеренными биосенсором в соответствии с настоящим изобретением, и уровнями глюкозы, измеренными устройством YSI Glucose Analyzer, по отношению к уровням глюкозы, измеренным устройством YSI Glucose Analyzer. На фиг.7а и 7b, если уровни глюкозы, измеренные устройством YSI Glucose Analyzer, ниже 100 мг/дЛ, то отклонение указано в мг/дЛ, а если уровни глюкозы, измеренные устройством YSI Glucose Analyzer, выше 100 мг/дЛ, то отклонение указано в процентах.
На Фиг.7а приведены отклонения при определении содержания глюкозы для полностью заполненных и наполовину заполненных ячеек биосенсора перед коррекцией с использованием прошедших аналого-цифровое преобразование данных измерения объема. Как показано, в случае наполовину заполненных ячеек биосенсора может иметься отклонение до -70% для образца с уровнем глюкозы 600 мг/дЛ и отклонение -25 мг/дЛ для образца с уровнем глюкозы 40 мг/дЛ. фиг.7b демонстрирует значительное снижение отклонений в определении содержания глюкозы для наполовину заполненной ячейки биосенсора после коррекции с использованием прошедших аналого-цифровое преобразование данных измерения объема. Как показано, отклонение для наполовину заполненных ячеек снижается до приблизительно менее -30% для образца с уровнем глюкозы 600 мг/дЛ и до приблизительно менее -10 мг/дЛ для образца с уровнем глюкозы 40 мг/дЛ.
На основе приведенных нескольких конкретных вариантов реализации настоящего изобретения специалисты в данной области техники могут с легкостью представить себе различные его изменения модификации и усовершенствования. Подразумевается, что такие изменения, модификации и усовершенствования, ставшие очевидными при прочтении этого описания, являются его составной частью, хотя специально здесь и не изложены, и предполагается, что они не выходят за пределы сущности и объема данного изобретения. Соответственно, предшествующее описание приведено только в качестве примера и не является ограничивающим. Данное изобретение ограничено только пунктами приведенной ниже формулы изобретения и их эквивалентами.
Формула изобретения
1. Устройство для измерения эффективной электрической емкости ячейки биосенсора, имеющей контакт первого проводника и контакт второго проводника, при этом ячейка биосенсора выполнена с возможностью размещения образца, обладающего некоторым объемом, содержащее генератор синусоидальных колебаний, имеющий выход для соединения с контактом первого проводника ячейки биосенсора, причем генератор синусоидальных колебаний создает сигнал переменного тока, преобразователь «ток-напряжение», имеющий вход для соединения со вторым проводником ячейки биосенсора, а также имеющий выход, фазовращатель, имеющий вход, соединенный с выходом преобразователя «ток-напряжение», а также имеющий выход, генератор прямоугольных колебаний, создающий прямоугольное колебание, синхронное упомянутому сигналу переменного тока, синхронный детектор, имеющий выход, первый вход, соединенный с фазовращателем, и второй вход, соединенный с генератором прямоугольных колебаний, и фильтр нижних частот (ФНЧ), имеющий вход, соединенный с выходом синхронного детектора, причем ФНЧ на выходе создает сигнал, пропорциональный эффективной электрической емкости ячейки биосенсора.
2. Устройство по п.1, отличающееся тем, что дополнительно содержит источник напряжения постоянного тока, соединенный с контактом первого проводника ячейки биосенсора, причем источник напряжения постоянного тока добавляет постоянную составляющую тока в первый проводник.
3. Устройство по п.2, отличающееся тем, что фазовращатель сдвигает фазу сигнала, поступающего из преобразователя «ток-напряжение» и удаляет постоянную составляющую тока из сигнала, поступающего из преобразователя «ток-напряжение».
4. Устройство по п.1, отличающееся тем, что дополнительно содержит аналого-цифровой преобразователь, имеющий аналоговый вход, который соединен с выходом ФНЧ, а также имеющий цифровой выход, причем аналого-цифровой преобразователь преобразует упомянутый сигнал, пропорциональный эффективной электрической емкости ячейки биосенсора, из аналогового в цифровой.
5. Устройство по п.4, отличающееся тем, что дополнительно содержит процессор, соединенный с цифровым выходом аналого-цифрового преобразователя для обработки цифрового сигнала, пропорционального эффективной электрической емкости ячейки биосенсора, и вычисления эффективной электрической емкости ячейки биосенсора.
6. Устройство по п.5, отличающееся тем, что процессор дополнительно вычисляет объем образца на основе эффективной электрической емкости ячейки биосенсора.
7. Устройство по п.1, отличающееся тем, что генератор синусоидальных колебаний создает синтезированное синусоидальное колебание.
8. Устройство по п.7, отличающееся тем, что синтезированное синусоидальное колебание представляет собой синусоидальное колебание ступенчатого типа.
9. Способ измерения эффективной электрической емкости ячейки биосенсора, имеющей контакт первого проводника и контакт второго проводника, причем ячейка биосенсора выполнена с возможностью использования в биосенсоре для размещения образца, имеющего некоторый объем, заключающийся в том, что подают напряжение в виде синусоидального колебания, имеющего определенную частоту, на первый проводник ячейки биосенсора для создания сигнала переменного тока, сдвигают фазу сигнала переменного тока, создают прямоугольное колебание, синхронное упомянутому синусоидальному колебанию, детектируют сигнал переменного тока с использованием прямоугольного колебания для создания детектированного сигнала, и фильтруют детектированный сигнал для создания сигнала, пропорционального эффективной электрической емкости ячейки биосенсора.
РИСУНКИ
|
|