|
|
(21), (22) Заявка: 2006102819/28, 31.01.2006
(24) Дата начала отсчета срока действия патента:
31.01.2006
(46) Опубликовано: 27.09.2007
(56) Список документов, цитированных в отчете о поиске:
SU 1601199 А1, 23.10.1990. RU 2172943 C2, 27.08.2001. RU 2122047 C1, 20.11.1998. GB 2157441 В, 25.11.1987.
Адрес для переписки:
603000, г.Нижний Новгород, ул. Горького, 144, кв.46, Е.С. Покровскому
|
(72) Автор(ы):
Покровский Евгений Серафимович (RU), Бачаев Александр Андреевич (RU), Котин Юрий Иванович (RU)
(73) Патентообладатель(и):
Покровский Евгений Серафимович (RU), Бачаев Александр Андреевич (RU)
|
(54) ЭЛЕКТРОД СРАВНЕНИЯ ДЛИТЕЛЬНОГО ДЕЙСТВИЯ
(57) Реферат:
Изобретение относится к приборам систем коррозионных измерений на подземных стальных сооружениях для определения опасности электрохимической коррозии и контроля эффективности действия электрохимической защиты. Электрод сравнения содержит заполненный электролитом диэлектрический корпус, в котором размещен стержень. Датчик потенциала закреплен снаружи корпуса на выступающей из дна корпуса части пористой диафрагмы. Электролит выполнен двухслойным, при этом в качестве нижнего слоя, расположенного над ионообменной мембраной, установленной над пористой диафрагмой, выбран матричный электролит со структурой молекулярного сита. Конструктивное исполнение электрода сравнения обеспечивает повышение надежности и увеличение срока службы. 3 з.п.ф-лы, 1 ил.
Изобретение относится к приборам систем коррозионных измерений на стальных подземных сооружениях для определении опасности электрохимической коррозии и контроля эффективности электрохимической защиты.
Известен медно-сульфатный электрод сравнения неполяризующийся стационарный ЭСН-МС (см. авт.св. №2122047 от 15.04.1997 г.), которым согласно рекомендациям «Инструкции по защите городских подземных трубопроводов от электрохимической коррозии РД 153-39.4-091-01» (Издательство г.Москва, 4-й филиал Воениздат. 2002 г.) оборудуются контрольно-измерительные пункты, в дальнейшем (КИП).
Неполяризующийся медно-сульфатный электрод сравнения длительного действия ЭСН-МС состоит из диэлектрического корпуса, заполненного электролитом, в котором находится медный стержень, двух ионообменных мембран, прижатых к корпусу муфтой с перфорированным дном, датчика потенциала, снабженного съемной насадкой и расположенного на корпусе электрода. Для подключения электрода сравнения и датчика потенциала к измерительным цепям предусмотрены проводники.
К недостаткам известного электрода следует отнести следующее. В мембране имеются микропоры и микротрещины, возникающие при ее изготовлении, а также рост количества последних при монтаже и эксплуатации, что не позволяет обеспечивать только ионную проводимость и уменьшить воздействие осмотического давления. Дно такого электрода имеет перфорацию, которая не гарантирует целостности ионообменной мембраны при монтаже электрода сравнения в КИП(е) из-за возможности попадания в ячейки перфорации твердых частиц грунта, а также нет гарантии контакта дна с грунтом, в случае отсутствия земли в ячейках перфорации, при монтаже в шурф. Расположение датчика потенциала на корпусе электрода не позволяет проводить измерение смещения потенциала, не выключая ток защиты и не разъединяя контакт между датчиком потенциала и защищаемым стальным сооружением, т.к. датчик потенциала и диафрагма должны быть максимально приближены друг к другу (Справочник. Катодная защита от коррозии, авторы: В.Бэкман, В.Швенк, Издательство г.Москва, Металлургия, 1948 г., стр 103-106).
За прототип принят медно-сульфатный электрод сравнения длительного действия ЭНЕС (см. авт. №1601199 от 12.01.1989 г.), оснащенный диэлектрическим корпусом, заполненным электролитом, в котором помещен медный стержень, и дном, состоящим из ионообменной мембраны и керамики, закрепленных в корпус муфтой. На корпусе смонтирован датчик потенциала.
Недостатком этого электрода является наличие в мембране микропор и микротрещин, возникающих при изготовлении и рост, количества последних при монтаже и эксплуатации, что не позволяет обеспечивать только ионную проводимость и уменьшить воздействие осмотического давления, так как наличие диффузионных каналов приводит к обмену между внутренним и внешним растворами, что «отравляет» электролит электрода. Датчик потенциала расположен на корпусе электрода, а не максимально приближен к диафрагме, т.е. также как у аналога.
Задача изобретения состояла в том, чтобы создать электрод сравнения длительного действия, обеспечивающий следующий технический результат: повышение надежности и увеличение срока службы за счет обеспечения максимально низкого уровня осмотического переноса грунтовой влаги в электролит электрода; а также создать электрод, позволяющий измерять величину смещения потенциала защиты без выключения защитного тока за счет уменьшения величины сопротивления между диафрагмой и датчиком потенциала.
Поставленная задача решается следующим образом.
Электрод сравнения содержит: заполненный электролитом корпус из диэлектрического материала, в котором помещен медный или серебряный стержень; датчик потенциала; дно корпуса, состоящее из ионообменной мембраны и пористой диафрагмы. Электролит выполнен двухслойным, нижний слой которого размещен над мембраной и представляет собой матричный электролит со структурой молекулярного сита. Одним из вариантов приготовления такого электролита является растворение агар-агара в насыщенном растворе компонента, препятствующего проникновению в электролит электрода вредных растворов из внешней среды. Например, для медно-сульфатного электрода сравнения агар-агар растворяется в насыщенном растворе медного купороса, а для хлорсеребряного – на основе кальция хлористого. Датчик потенциала размещается максимально близко к пористой диафрагме и в тоже время пористая диафрагма со стороны датчика должна быть изолирована при сохранении пористых свойств. Наиболее простой вариант исполнения – это диафрагму выполнить из пористой керамики в виде цилиндра и боковую поверхность покрыть диэлектрической глазурью, а в датчике потенциала делается соответствующее отверстие для размещения на пористой диафрагме. Ионообменная мембрана, установленная над диафрагмой, зажата по периметру (закреплена) между двух диэлектрических концентрических колец (как в пяльцы).
Авторам не известны электроды сравнения длительного действия, обладающие совокупностью существенных признаков, аналогичных признакам предлагаемого изобретения.
Заявляемый электрод сравнения поясняется чертежом.
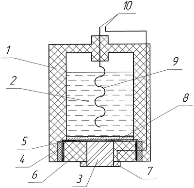
Электрод сравнения, изображенный на чертеже, содержит диэлектрический корпус 1, заполненный электролитом 2 и 8; диафрагму 3, которая закреплена в кольце 6; ионообменную мембрану 5, которая закреплена между кольцами 4 и 6; датчик потенциала 7. Между жидким электролитом 2 и ионообменной мембраной 5 помещен матричный электролит 8; в электролит 2 погружен медный или серебряный стержень (электрод) 9. Датчик потенциала 7 и стержень (электрод) 9 снабжены проводниками 10.
Неполяризующийся электрод сравнения длительного действия с датчиком потенциала используется при измерении величины смещения потенциала на стальных трубопроводах защищенных от электрохимической коррозии методом катодной защиты. Для этого электрод сравнения устанавливается по определенной методике на стационарном контрольно-измерительном пункте защищаемого объекта. При подключении проводников 10 от стержня (электрода) 9 и датчика потенциала 7 к соответствующему вольтметру через электролит 2, матричный электролит 8, ионообменную мембрану 5 и пористую диафрагму 3, стержень (электрод) 9 оказывается связан со средой, в которой находится защищаемый объект. При этом матричный электролит 8 препятствует проникновению внутрь вредных растворов (грунтовой влаги). Датчик потенциала 7 связан с металлическим сооружением, находящимся под катодной защитой в этой же среде, что позволяет на вольтметре измерить величину смещения потенциала, так как пористая диафрагма 3 электрода сравнения и датчик потенциала 7 изолированы между собой, находясь максимально близко друг к другу.
Формула изобретения
1. Электрод сравнения длительного действия, содержащий заполненный электролитом диэлектрический корпус, в котором размещен стержень, датчик потенциала, закрепленный снаружи корпуса, ионообменную мембрану, установленную над пористой диафрагмой, отличающийся тем, что электролит выполнен двухслойным, при этом в качестве нижнего слоя, расположенного над ионообменной мембраной, выбран матричный электролит со структурой молекулярного сита, а датчик потенциала закреплен на выступающей из дна корпуса части пористой диафрагмы.
2. Электрод по п.1, отличающийся тем, что ионообменная мембрана, установленная над пористой диафрагмой, зажата по периметру между двух диэлектрических концентрических колец.
3. Электрод по п.1, отличающийся тем, что пористая диафрагма выполнена в виде цилиндра из пористой керамики, боковая сторона которого покрыта диэлектрическим слоем глазури.
4. Электрод по п.1 или 3, отличающийся тем, что в датчике потенциала имеется отверстие, которым он фиксируется на выступающей части пористой диафрагмы.
РИСУНКИ
|
|