|
|
(21), (22) Заявка: 2005122389/28, 14.07.2005
(24) Дата начала отсчета срока действия патента:
14.07.2005
(46) Опубликовано: 27.09.2007
(56) Список документов, цитированных в отчете о поиске:
МАЛКИН А.Я., АСКАДСКИЙ А.А., КОВРИГА В.В. МЕТОДЫ ИЗМЕРЕНИЯ МЕХАНИЧЕСКИХ СВОЙСТВ ПОЛИМЕРОВ. – М.: ХИМИЯ, 1978, С.336. SU 898296 A1, 15.01.1982. SU 1695172 A1, 30.11.1991. SU 307317 A1, 01.01.1971. US 4059983 A1, 29.11.1977.
Адрес для переписки:
680035, г.Хабаровск, ул. Тихоокеанская, 136, Хабаровский государственный технический университет, отдел интеллектуальной собственности
|
(72) Автор(ы):
Баханцов Александр Викторович (RU), Старикова Вера Николаевна (RU), Римлянд Владимир Иосифович (RU)
(73) Патентообладатель(и):
Государственное образовательное учреждение высшего профессионального образования “Хабаровский государственный технический университет” (RU)
|
(54) СПОСОБ ИЗМЕРЕНИЯ МЕХАНИЧЕСКИХ СВОЙСТВ ПОЛИМЕРОВ В ПРОЦЕССЕ ОТВЕРЖДЕНИЯ И УСТРОЙСТВО ДЛЯ ЕГО ОСУЩЕСТВЛЕНИЯ
(57) Реферат:
Изобретение относится к области измерений механических свойств жидкостей и твердых тел. Техническим результатом изобретения является возможность измерения вязкости и модуля сдвига образцов материалов, претерпевающих в течение времени переход из жидкого состояния в твердое. Сущность способа заключается в том, что предварительно измеряют частоту и коэффициент затухания колебательной системы без образца; образец заливают в тонкостенную кювету; проводят серию распределенных по времени процесса отверждения измерений частот и коэффициентов затухания системы с образцом; для каждого измерения серии определяют по сохраненным в памяти ЭВМ данным вязкость и модуль сдвига исследуемого образца путем сравнения колебаний системы с образцом и без него. Устройство представляет собой крутильный маятник, который составлен из инерционного диска, упругого элемента и образца. Жидкий образец размещен в тонкостенной кювете, которая одним концом закреплена на инерционном диске, вторым – на неподвижном основании. Упругий элемент выполнен в виде резинового шнура, перпендикулярного оси колебаний и жестко закрепленного в своей средней точке на поверхности диска на максимальном удалении от оси. 2 ил.
Изобретение относится к области измерений механических свойств жидкостей и твердых тел.
Известны способы и устройства, предназначенные для измерения вязкости высоковязких жидкостей. На их основе созданы приборы, предназначенные для измерения вязкости, упругих модулей, тангенса угла механических потерь различных материалов в жидком, гелеобразном и твердом состояниях. К подобным приборам относятся: вискозиметры, применяемые для измерения вязкости жидкостей в пределах от 10-4 до 106 Па·с; пластометры, предназначенные для измерения реологических свойств высоковязких материалов, вязкость которых может меняться в пределах от 102 до 1011 Па·с; приборы, предназначенные для измерения механических свойств отверждающихся твердых полимеров (Малкин А.Я., Чалых А.Е. Диффузия и вязкость полимеров: Методы измерения – М.: Химия, 1979 – 304 с.).
Каждый из этих методов предназначен для измерений вязкости или упругости материалов, находящихся в одном из трех состояний: жидком, жидком высоковязком или твердом. Известные методы и приборы на их основе не позволяют измерять непрерывно на одном образце изменение вязкости и модуля сдвига (при его отличии от нуля) при переходе материала из жидкого состояния в твердое. Данные измерения необходимы при исследованиях процесса отверждения различных полимерных и других материалов.
Известен способ определения вязкоупругих характеристик отверждающихся материалов при переходе от вязкопластичного состояния к твердому, заключающийся в измерении амплитуды вынужденных колебаний торсиона, один из концов которого скручивается на определенный угол внешним приводом, а второй соприкасается с образцом, помещенным в специальную жесткую герметичную матрицу (А.С. РФ 1374100).
К недостаткам данного изобретения относится невозможность применения для образцов в жидком состоянии с малым значением динамического модуля сдвига и для твердых полимеров, у которых жесткость к скручивающим деформациям сравнима или превышает жесткость торсиона.
Наиболее близким к предлагаемому изобретению является способ измерения упругих свойств полимерных материалов на основе крутильного маятника, заключающийся в измерении частоты и коэффициента затухания свободнозатухающих крутильных колебаний исследуемого образца в виде тонкого стержня (Малкин А.Я., Аскадский А.А., Коврига В.В. Методы измерения механических свойств полимеров. М.: Химия, 1978, 336 с). В данном способе крутильный маятник состоит из металлического торсиона, являющимся основным упругим элементом системы, инерционной массы в виде диска, образца в твердом состоянии, который закрепляется в виде второго торсиона маятника, датчика угла отклонения маятника. В начале измерений маятник отклоняется на заданный угол и затем совершает свободнозатухающие колебания, которые непрерывно записываются. На основе анализа колебаний определяется частота и коэффициент затухания колебаний и рассчитывается модуль сдвига образца.
Недостатком известного способа является невозможность проводить измерения для образцов в жидком состоянии.
Цель изобретения – обеспечение возможности измерение вязкости и модуля сдвига образцов материалов, претерпевающих в течение времени переход из жидкого состояния в твердое.
Указанная цель достигается тем, что предлагается способ измерения механических свойств полимеров в процессе отверждения путем измерения и анализа частоты и коэффициента затухания свободных крутильных колебаний исследуемого образца, который заключается в выполнении следующих действий:
– предварительно измеряют частоту и коэффициент затухания колебательной системы (упругий элемент – инерционный диск – кювета) без образца, с сохранением результатов в памяти ЭВМ;
– образец заливают в тонкостенную кювету, обладающую минимальным модулем кручения и коэффициентом внутреннего трения;
– проводят серию распределенных по времени процесса отверждения измерений частот и коэффициентов затухания системы с образцом с сохранением результатов в памяти ЭВМ;
– для каждого измерения серии определяют по сохраненным в памяти ЭВМ данным вязкость и модуль сдвига исследуемого образца путем сравнения колебаний системы с образцом и без него.
Кроме того, для реализации данного способа предлагается устройство, представляющее собой крутильный маятник, который составлен из инерционного диска, упругого элемента и образца, отличающееся тем, что жидкий образец размещен в тонкостенной кювете, которая одним концом закреплена на инерционном диске, вторым – на неподвижном основании, и подвергается постоянному осевому натяжению, а упругий элемент выполнен в виде резинового шнура, перпендикулярного оси колебаний и жестко закрепленного в своей средней точке на поверхности диска на максимальном удалении от оси.
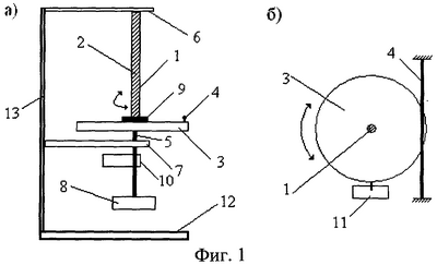
На фиг.1 изображена структурная схема устройства, реализующего предлагаемый способ измерения механических свойств полимеров в процессе отверждения.
Устройство содержит крутильный маятник, состоящий из кюветы 1, в которую заливается образец 2, инерционного диска 3 с заданным моментом инерции, упругого элемента 4 и оси крепления 5. Кювета представляет собой тонкостенную трубку и обладает минимальным коэффициентом упругости по отношению к крутильным колебаниям и минимальным коэффициентом внутреннего трения, и фактически не оказывает влияние на характер колебаний маятника. Кювета 1 может быть изготовлена, например, из полиэтиленовой пленки. Кювета 1 закреплена верхним концом на основании 6. Нижний конец кюветы соединен с инерционным диском 3, который с помощью оси 5 установлен в подшипниковом узле 7. При этом ось 5 может свободно вращаться и вертикально перемещаться вверх и вниз, что необходимо для задания натяжения кюветы 1 с помощью блока 8. Образец 2 в жидком состоянии заливается в кювету 1 с помощью узла 9, закрепленного на инерционном диске 3. За счет постоянного осевого натяжения кюветы не происходит ее деформации при заливании образца. Ось 5 соединена с датчиком угла поворота 10, который подключается к ЭВМ. К диску 3 также прикреплен упругий элемент 4, изготовленный из тонкого резинового шнура, и блок задания начального отклонения 11. Все узлы системы закреплены на основании 12 и на стойке 13.
Измерения механических свойств полимеров в процессе отверждения осуществляют следующим образом. С ЭВМ по команде оператора подается импульс на блок задания начального отклонения 11, при этом инерционный диск 3 отклоняется от начального положения на 3-5 градусов и растягивает резиновый шнур. После этого автоматически блок начального отклонения 11 освобождает диск 3 и под действием упругого элемента 4 и образца 2 начинаются затухающие колебания крутильного маятника. Зависимость угла поворота маятника от времени (Т) записывается с помощью датчика угла поворота 10 в память ЭВМ. Частота опроса датчика составляет 1 кГц, что примерно в сто раз больше частоты возможных колебаний маятника. Первоначально производится запись затухающего колебания для пустой кюветы. Затем кювета заполняется исследуемым образцом 2 в жидком состоянии. После этого цикл измерений повторяется на заданном временном интервале в автоматическом режиме через промежутки времени, в несколько раз превышающие время полного затухания колебаний. Каждое измерение представляет собой запись зависимости угла поворота маятника от времени для одного затухающего колебания маятника. Время всего цикла измерений выбирается таким образом, чтобы образец перешел от жидкого состояния к твердому. При этом в жидком состоянии при увеличении вязкости возрастает затухание колебаний и уменьшается частота колебаний. При формировании структуры твердой фазы модуль сдвига образца становится отличным от нуля, что приводит к увеличению эффективного модуля кручения маятника, вследствие чего уменьшается затухание и возрастает частота колебаний. На фиг.2 приведены цифровые осциллограммы колебаний для пустой кюветы (а), для кюветы с образцом в сильновязком состоянии (б) и при полном отверждении образца (в). На основе записанных цифровых осциллограмм с высокой точностью определяются частота колебаний и коэффициент затухания.
Колебания крутильного маятника описываются дифференциальным уравнением затухающих колебаний с коэффициентом затухания равным:

где – коэффициент вязкости образца;
n – коэффициент затухания колебательной системы с пустой кюветой;
I – момент инерции диска;
– форм-фактор образца;
R0 – радиус образца;
L – длина образца.
Частота колебаний маятника с кюветой, заполненной образцом, равна:

где – собственная частота колебании;
D – модуль кручения кюветы;
k – коэффициент жесткости резинового шнура;
r – расстояние от центра диска до точки крепления шнура;
G’ – динамический модуль сдвига образца.
Частота колебаний пустой кюветы с учетом затухания равна:

где – собственная частота колебаний пустой кюветы.
Из формул (1)-(3) получаются расчетные формулы:
для вязкости образца:
,
для модуля сдвига образца:
.
Совокупность технических решений, предлагаемых в данном изобретении, позволяет проводить в квазинепрерывном режиме измерения вязкости и модуля упругости образцов, претерпевающих переход от жидкого состояния к твердому, измерять вязкость сильновязких жидкостей и гелей, а также модуль сдвига твердых тел.
Формула изобретения
1. Способ измерения механических свойств полимеров в процессе отверждения, включающий измерение и анализ частоты и коэффициента затухания свободных колебаний исследуемого образца, отличающийся тем, что предварительно измеряют частоту и коэффициент затухания колебательной системы (упругий элемент – инерционный диск – кювета) без образца, с сохранением результатов в памяти ЭВМ, образец заливают в тонкостенную кювету, обладающую минимальным модулем кручения и коэффициентом внутреннего трения, проводят серию распределенных по времени процесса отверждения измерений частот и коэффициентов затухания системы с образцом с сохранением результатов в памяти ЭВМ, для каждого измерения серии определяют по сохраненным в памяти ЭВМ данным вязкость и модуль сдвига исследуемого образца путем сравнения колебаний системы с образцом и без него.
2. Устройство для реализации способа измерения механических свойств полимеров в процессе отверждения представляет собой крутильный маятник, который составлен из инерционного диска, упругого элемента и образца, отличающееся тем, что жидкий образец размещен в тонкостенной кювете, которая одним концом закреплена на инерционном диске, вторым на неподвижном основании, и подвергается постоянному осевому натяжению, а упругий элемент выполнен в виде резинового шнура, перпендикулярного оси колебаний и жестко закрепленного в своей средней точке на поверхности диска на максимальном удалении от оси.
РИСУНКИ
MM4A – Досрочное прекращение действия патента СССР или патента Российской Федерации на изобретение из-за неуплаты в установленный срок пошлины за поддержание патента в силе
Дата прекращения действия патента: 15.07.2007
Извещение опубликовано: 10.03.2009 БИ: 07/2009
|
|