|
|
(21), (22) Заявка: 2003112102/28, 24.04.2003
(24) Дата начала отсчета срока действия патента:
24.04.2003
(43) Дата публикации заявки: 27.10.2004
(46) Опубликовано: 27.09.2007
(56) Список документов, цитированных в отчете о поиске:
SU 258719 A1, 01.01.1970. SU 935744 A1, 15.06.1982. SU 633500 A3, 15.11.1978. GB 2236591, 10.04.1991. EP 0331538, 06.09.1989.
Адрес для переписки:
452620, Республика Башкортостан, г. Октябрьский, ул. Горького, 1, ОАО НПП “ВНИИГИС”, отдел промышленной собственности
|
(72) Автор(ы):
Асманов Рамиль Нуруллинович (RU), Даниленко Виталий Никифорович (RU), Зараменских Николай Михайлович (RU), Шокуров Владимир Филиппович (RU)
(73) Патентообладатель(и):
Открытое акционерное общество Научно-производственное предприятие “Научно-исследовательский и проектно-конструкторский институт геофизических исследований геологоразведочных скважин (ОАО НПП “ВНИИГИС”) (RU), Закрытое акционерное общество Научно-производственная фирма “ГИТАС” (ЗАО НПФ “ГИТАС”) (RU)
|
(54) ВИБРАЦИОННЫЙ ПЛОТНОМЕР
(57) Реферат:
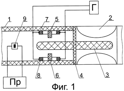
Изобретение относится к области промысловой геофизики и предназначено для исследования скважинной жидкости. Устройство состоит из корпуса 1 с окнами 2, через которые поступает скважинная жидкость на механический резонатор 3, выполненный в виде круглого стержня, укрепленного пластиной 4 в корпусе 1 (заварен по кругу). Свободный конец стержня 3 помещен между двумя магнитами 5 и 6 с электрокатушками 7 и 8, выходы которых подключены параллельно к генератору Г. В зоне действия магнитного потока установлен магниторезистивный датчик 9. Датчик 9 представляет собой магниторезистивный мост, выход которого подключен к преобразователю синфазного сигнала. При этом датчик 9 установлен таким образом, что силовые магнитные поля электрокатушек 7 и 8 совпадают с направлением максимальной чувствительности магниторезистивного моста, вместо которого могут быть использованы датчик Холла, индуктивный датчик или дифференциально-трансформаторный датчик с соответствующими им преобразователями. Техническим результатом изобретения является повышение точности и надежности измерения плотности скважинной жидкости. 3 з.п. ф-лы, 2 ил.
Предложение относится к области промысловой геофизики и предназначено для исследований скважинной жидкости.
Известно устройство для измерения вязкости жидкости, которое можно использовать также и для измерения ее плотности, так как между ними существует прямая зависимость.
Вискозиметр, работающий в режиме непрерывных гармонических колебаний, содержит зонд с обратимым электромеханическим преобразователем, квазиуравновешенный мост, схему самовозбуждения и измерительное устройство, причем к диагонали моста, в одно из плеч которого включен обратимый электромеханический преобразователь, подключены вход и выход схемы самовозбуждения, ко входу которой подключено измерительное устройство (авт. свид. СССР №258719, опубл. бюл. 1, 1970 г.).
Основным недостатком устройства является очень большое удаление датчика от преобразователя (до нескольких километров), при этом измеряемая величина – комплексное сопротивление (емкость-индуктивность) датчика – значительно меньше паразитных емкостно-индуктивных связей, компенсировать которую в динамике практически невозможно, это в особенности касается геофизического кабеля, где оплетка геофизического кабеля одновременно является “землей” измерительного моста, что является существенным недостатком. “Земля” измерительного моста является “плавающей” и очень сильно будет зависеть от многих технических параметров: питание прибора и преобразователя, длины измерительной линии, температуры и т.д.
Вторым главным недостатком является то, что измерительно-информационная система является интегрированной, то есть измерительный мост является общим и обязательным звеном для следующих частей целой системы: датчика вискозиметра, схемы самовозбуждения (генератора), измерительного устройства, блока питания, что значительно снижает точность измерения.
Предложенный плотномер решает задачу повышения точности и надежности измерений параметров жидкости в скважинах за счет использования дифференцированной информационно-измерительной системы.
Для чего в вибрационном плотномере, содержащем корпус, устройство возбуждения, резонатор, работающий в режиме непрерывных механических автоколебаний, и измерительную схему, устройство возбуждения выполнено в виде генератора гармонических колебаний и параллельно соединенных с ним электрокатушек с магнитными сердечниками, резонатор выполнен в виде стержня, имеющего механическую резонансную частоту, совпадающую с резонансной частотой генератора, и разделен на две половины, корпус также разделен на две части при помощи герметичной перегородки, приваренной к корпусу, при этом одна часть корпуса с размещенным в нем половиной стержня сообщается с измеряемой средой, в другой герметичной части корпуса конец второй половины стержня расположен между двумя магнитами устройства возбуждения, а измерительная схема содержит магниторезистивный мост, выход которого связан с преобразователем разностного сигнала, причем магниторезистивный мост установлен в зоне действия магнитного потока электрокатушек таким образом, что силовые магнитные поля электрокатушек совпадают с направлением максимальной чувствительности данного моста.
Таким образом, в нашей системе связь осуществляется только через магнитный поток и гальванически полностью разделена. Кроме того, наша информационно-измерительная система является строго дифференцированной и независимой по паразитным параметрам (через источник питания), что важно для точностных характеристик (температура и т.д.).
Устройство состоит: из корпуса 1 с окнами 2, через которые поступает скважинная жидкость на механический резонатор 3, выполненный в виде круглого стержня, укрепленного пластиной 4 в корпусе 1 (заварена по кругу). Свободный конец стержня 3 помещен между двумя магнитами 5 и 6 с электрокатушками 7 и 8, выходы которых подключены параллельно (фиг.1) генератору (Г).
В зоне действия магнитного потока установлен магниторезистивный датчик 9. Датчик 9 представляет собой магниторезистивный мост (фиг.2), выход которого подключен к преобразователю синфазного сигнала (Пр.). При этом датчик 9 установлен таким образом, что силовые магнитные поля электрокатушек 7 и 8 совпадают с направлением максимальной чувствительности магниторезистивного моста.
Вместо магниторезистивного моста можно использовать датчик Холла, индуктивный датчик или дифференциально-трансформаторный датчик с соответствующими им преобразователями.
Устройство работает следующим образом. Для измерения плотности скважинной жидкости устройство помещают в скважину, которая также может быть горизонтальной и наклонной. Контролируемая среда, например скважинная жидкость, поступает в корпус 1 через окна 2 и контактирует со стержнем 3, находящимся в режиме непрерывных механических колебаний, вызываемых катушками 7 и 8 с магнитами 5 и 6 при помощи генератора Г.
Известно, что тип колебаний, способных распространяться в упругой среде, зависит от ее упругих свойств. В среде, подвергающейся лишь деформации сжатия (жидкость, газ), распространяются только продольные волны. Скорость распространения продольной волны определяется из формулы
,
где С – скорость, Е – модуль упругости, – плотность.
Период колебания стержня определяется временем прохождения фронта волны от одного конца стержня до другого и обратно. Поэтому при длине стержня, равной l, основная собственная частота продольных колебаний:
, откуда f0,
где f0 – частота колебаний.
Это соотношение показывает, что изменение одной из величин влечет пропорциональное изменение других величин, в частности изменение плотности вызывает изменение частоты.
Постоянная частота колебаний стержня-резонатора 3 возбуждается при помощи электромагнитов 5 и 6, настроенных таким образом, что частота возбуждения генератором Г, поданная на электрические катушки 7 и 8, должна совпадать с собственной резонансной частотой резонатора 3. Таким образом, цепь от генератора с помощью 2-х электромагнитов с катушками раскачивает диполь в виде круглого стержня, разделенного пластиной пополам, имеющего характеристику поля с механическими колебаниями.
При попадании вязкой среды на резонатор 3, она гасит его колебания. В зависимости от плотности среды колебания резонатора 3 будут изменяться в прямой зависимости.
При вибрациях (стержня) окружающая его среда тоже приводится в колебательное движение, причем чем больше плотность среды, тем большая масса приводится в движение и тем меньше частота колебаний стержня.
Расположение магниторезистивного моста по его максимальной чувствительности к силовым магнитным полям электрокатушек позволяет контролировать изменения магнитного потока электрокатушек.
Магниторезистивный мост, в свою очередь, соединен с преобразователем сигнала.
Формула изобретения
1. Вибрационный плотномер, содержащий корпус, устройство возбуждения, резонатор, работающий в режиме непрерывных механических автоколебаний, и измерительную схему, отличающийся тем, что устройство возбуждения выполнено в виде генератора гармонических колебаний и параллельно соединенных с ним электрокатушек с магнитными сердечниками, резонатор выполнен в виде стержня, имеющего механическую резонансную частоту, совпадающую с резонансной частотой генератора, и разделен на две половины, корпус также разделен на две части при помощи герметичной перегородки, приваренной к корпусу, при этом одна часть корпуса с размещенной в нем половиной стержня сообщается с измеряемой средой, в другой герметичной части корпуса конец второй половины стержня расположен между двумя магнитами устройства возбуждения, а измерительная схема содержит магниторезистивный мост, выход которого связан с преобразователем разностного сигнала, причем магниторезистивный мост установлен в зоне действия магнитного потока электрокатушек таким образом, что силовые магнитные поля электрокатушек совпадают с направлением максимальной чувствительности данного моста.
2. Плотномер по п.1, отличающийся тем, что измерительная схема содержит датчик Холла.
3. Плотномер по п.1, отличающийся тем, что измерительная схема содержит индуктивный датчик.
4. Плотномер по п.1, отличающийся тем, что измерительная схема содержит дифференциально-трансформаторный датчик.
РИСУНКИ
|
|