|
|
(21), (22) Заявка: 2006106678/28, 03.03.2006
(24) Дата начала отсчета срока действия патента:
03.03.2006
(46) Опубликовано: 27.09.2007
(56) Список документов, цитированных в отчете о поиске:
JP 63145930 А, 18.06.1988. RU 2148215 C1, 27.04.2000. SU 307282 А1, 21.06.1971. RU 2099675 C1, 20.12.1997. SU 1525479 А1, 30.11.1989. GB 2379983 A, 26.03.2003.
Адрес для переписки:
454138, г.Челябинск, Комсомольский пр-кт, 29, ЗАО ПГ “Метран”, Т.А. Крымской
|
(72) Автор(ы):
Кучеров Александр Анатольевич (RU)
(73) Патентообладатель(и):
ЗАКРЫТОЕ АКЦИОНЕРНОЕ ОБЩЕСТВО ПРОМЫШЛЕННАЯ ГРУППА “МЕТРАН” (RU)
|
(54) ДАТЧИК ТЕМПЕРАТУРЫ
(57) Реферат:
Изобретение относится к термометрии, а именно к контактным датчикам температуры, и может быть использовано в различных отраслях, например в нефтяной, газовой, химической, пищевой промышленности и в коммунальном хозяйстве для измерения на малых глубинах, в частности в трубах малого диаметра. Устройство содержит корпус, который имеет наружную резьбу и закреплен в трубопроводе с помощью установочной головки и закрыт в верхней части крышкой. Корпус соединен в нижней части с металлической защитной гильзой, в которой закреплен термочувствительный элемент, представляющий собой кварцевый резонатор. Выводы последнего посредством проводов включены в цепь генератора частоты, собранного на печатной плате, размещенной в корпусе. При этом установочная головка, корпус и гильза выполнены в виде функционально последовательной цельной, полой внутри, металлической конструкции. Гильза выполнена с переменным по ее длине термосопротивлением – минимальным в месте съема теплопотока и максимальным – в месте отвода тепла к корпусу. Пространство между стенками отверстия в корпусе и резонатором заполнено теплопроводящим материалом, например кварцевым песком или теплопроводящей пастой, до уровня немного выше верхней кромки корпуса резонатора. Пространство погружаемой части, расположенное выше этого уровня, заполнено виксинтом. Технический результат заключается в обеспечении работоспособности датчика при повышении точности измерений. 3 з.п. ф-лы, 1 ил.
Изобретение относится к термометрии, а именно к контактным датчикам температуры, и может использоваться в различных отраслях, например в нефтяной, газовой, химической, пищевой промышленности и в коммунальном хозяйстве, для измерения на малых глубинах, в частности в трубах малого диаметра.
Известен датчик температуры, описанный в одноименной заявке РФ №93025623 по кл. G01K 7/32, з. 28.04.93, оп.27.05.95.
Известный датчик выполнен в виде корпуса, в котором размещен кристаллический кварцевый элемент в форме усеченного конуса с ориентировкой yxbl/6°44’±1°/+6°02’±1°. На верхнем и нижнем основании конуса размещены пленочные электроды, а внутренний объем заполнен гелием.
Недостатком известного датчика является сложность конструкции, обусловленная сложностью формы и ориентировки кварцевого элемента, а также необходимостью заполнения внутреннего объема гелием.
Наиболее близким по технической сущности к заявляемому является датчик температуры в ЗАО ПГ “Метран”, представленный в техдокументации СПГК 7050.110.00 “Термопреобразователи “Метран-299” от 25.06.04 и выбранный в качестве прототипа.
Известный датчик содержит закрепленную в трубопроводе с помощью установочной головки корпус с крышкой в верхней части, соединенную в нижней ее части резьбовым соединением с цилиндрической гильзой, в которой закреплен термочувствительный элемент, представляющий собой кварцевый резонатор, размещенный выводами в направлении, противоположном дну гильзы, и включенный выводами в цепь генератора частоты, собранного на печатной плате, размещенной в несущей трубке. При этом свободное пространство между кварцевым резонатором и внутренней стенкой гильзы заполнено теплопроводящим материалом, штуцер и гильза выполнены из металла и имеют внутреннюю резьбу, а несущая трубка имеет наружную резьбу и выполнена из пластмассы. Печатная плата соединена с внешними цепями посредством кабеля.
Недостатком известного датчика является тот факт, что корпус выполнен из пластмассы, а установочная головка и гильза – из металла, вследствие чего они имеют разные коэффициенты теплового расширения при нагревании и в месте сочленения гильзы с трубкой в датчик начинает просачиваться вода, что делает конструкцию неработоспособной. Невозможность регулирования температуры по длине защитной гильзы не дает высокой точности измерения температуры, поскольку в месте съема тепла с резонатора на выводы тепло оттягивается на более широкую резьбовую часть гильзы и уносится более холодным пристенным потоком, а в месте замера тепла – в нижней части гильзы – тепловой поток не больше, чем в других точках.
Задачей заявляемого изобретения является обеспечение работоспособности датчика при повышении точности измерения.
Поставленная задача решается тем, что в датчике температуры, содержащем закрепленный в трубопроводе с помощью установочной головки корпус с наружной резьбой, закрытый в верхней части крышкой и соединенный в нижней части с металлической защитной гильзой, в которой закреплен термочувствительный элемент, представляющий собой кварцевый резонатор, выводы которого посредством проводов включены в цепь генератора частоты, собранного на печатной плате, размещенной в корпусе, согласно изобретению установочная головка, корпус и гильза выполнены в виде функционально последовательной цельной, полой внутри, металлической конструкции, при этом гильза выполнена с переменным по ее длине термосопротивлением – минимальным в месте съема теплопотока и максимальным – в месте отвода тепла к преобразователю.
При этом переменное по длине гильзы термосопротивление обеспечивается за счет формы выполнения гильзы или выполнения ее из материалов с разной теплопроводностью либо того и другого вместе. Выполнение установочной головки, корпуса и гильзы в виде цельной металлической конструкции позволяет избежать негерметичности конструкции из-за разного расширения элементов в датчике температуры (как это происходит в прототипе) при нагревании и обеспечивает работоспособность устройства. Повышение точности измерений обеспечивается за счет выполнения гильзы с переменным по ее длине термосопротивлением – минимальным в месте съема теплопотока и максимальным – в месте соединения гильзы с корпусом, уменьшая тем самым тепловой поток от гильзы к корпусу, что снижает отвод тепла от чувствительного элемента, позволяя гильзе ближе к точке замера удерживать больше тепла и снижая влияние корпуса на величину теплового потока наружу.
Технический результат – обеспечение герметичности устройства и надежной работы генератора, обеспечение замера температуры в центре потока жидкости при минимальных потерях его при передаче тепла через элементы конструкции.
В сравнении с прототипом заявляемый датчик температуры обладает новизной, отличаясь от него наличием таких существенных признаков, как выполнение нескольких функциональных узлов в виде единой цельнометаллической конструкции, выполнение гильзы с переменным по ее длине термосопротивлением, обеспечивающих в совокупности достижение заданного результата.
Заявителю неизвестны технические решения, обладающие указанными отличительными признаками, обеспечивающими в совокупности достижение заданного результата, поэтому он считает, что заявляемый датчик температуры соответствует критерию “изобретательский уровень”.
Заявляемый датчик температуры может найти широкое применение в термометрии для измерения температуры в различных областях, например в нефтегазовой, пищевой, химической, металлургической промышленности и в коммунальном хозяйстве, в частности в трубах малого диаметра, при использовании с различными чувствительными элементами, а также там, где требуется высокая точность измерения, т.е. где возможно влияние температуры окружающей среды на показания датчика, а потому соответствует критерию “промышленная применимость”.
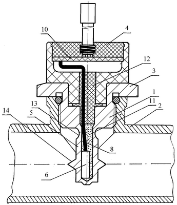
Заявляемое изобретение иллюстрируется чертежом, где показан в разрезе общий вид датчика.
Корпус 1 датчика температуры имеет наружную резьбу, закреплен в трубопроводе 2 с помощью установочной головки 3 и закрыт в верхней части крышкой 4. Он соединен в нижней части с металлической защитной гильзой 5, в которой закреплен термочувствительный элемент 6, представляющий собой кварцевый резонатор. Выводы 7 последнего посредством проводов 8 включены в цепь генератора 9 частоты, собранного на печатной плате 10, размещенной в корпусе 1. При этом установочная головка 3, корпус 1 и гильза 5 выполнены в виде функционально последовательной цельной, полой внутри, металлической конструкции. Гильза 5 выполнена с переменным по ее длине термосопротивлением – минимальным в месте съема теплопотока и максимальным – в месте отвода тепла к корпусу.
Пространство между стенками отверстия в корпусе 1 и резонатором 6 заполнено теплопроводящим материалом 11, например кварцевым песком или теплопроводящей пастой, до уровня немного выше верхней кромки корпуса резонатора. Пространство погружаемой части, расположенное выше этого уровня, заполнено виксинтом 12.
Переменное термосопротивление гильзы 5 по ее длине обеспечивается, в частности за счет ее формы. Это достигается, например, тем, что при переходе от корпуса 1 к гильзе 5 имеется сужающаяся шейка 13 для уменьшения отвода тепла от чувствительного элемента, а в средней части гильзы 5 диаметр ее увеличивается, образуя дополнительное кольцевое расширение 14 для увеличения теплового потока из центра потока жидкости (или другого локального места).
Датчик температуры работает следующим образом. При размещении датчика в среде, температуру которой он должен измерить, защитная металлическая гильза 5 нагревается, при этом тепло передается на кварцевый резонатор 6, который в зависимости от температуры меняет частоту выходного сигнала. Сигнал с выводов 7 кварцевого резонатора 6 через провода 8 поступает на плату 10 генератора 9 (не показан). Наличие кольцевого расширения 14 на гильзе 5 в месте с максимальной температурой (в центре потока среды) позволяет снять максимальное количество тепла, а сужающаяся шейка 13 гильзы уменьшает влияние оттока тепла от кварца на показания датчика.
В сравнении с прототипом заявляемый датчик обеспечивает надежную работу датчика и повышает точность измерения температуры.
Формула изобретения
1. Датчик температуры, содержащий закрепленный в трубопроводе с помощью установочной головки корпус с наружной резьбой, закрытый в верхней части крышкой и соединенный в нижней части с металлической защитной гильзой, в которой закреплен термочувствительный элемент, представляющий собой кварцевый резонатор, выводы которого посредством проводов включены в цепь генератора частоты, собранного на печатной плате, размещенной в корпусе, отличающийся тем, что установочная головка, корпус и гильза выполнены в виде функционально последовательной цельной, полой внутри, металлической конструкции, при этом гильза выполнена с переменным по ее длине термосопротивлением – минимальным в месте съема теплопотока и максимальным – в месте отвода тепла к генератору.
2. Датчик температуры по п.1, отличающийся тем, что переменное по длине гильзы термосопротивление обеспечивается за счет формы выполнения гильзы.
3. Датчик температуры по п.1, отличающийся тем, что переменное по длине гильзы термосопротивление обеспечивается за счет выполнения гильзы из материалов с разной теплопроводностью.
4. Датчик температуры по п.1, отличающийся тем, что переменное по длине гильзы термосопротивление обеспечивается за счет формы выполнения гильзы и выполнения ее из материалов с разной теплопроводностью.
РИСУНКИ
|
|