|
| На основании пункта 3 статьи 13 Патентного закона Российской Федерации от 23 сентября 1992 г. № 3517-I патентообладатель обязуется передать исключительное право на изобретение (уступить патент) на условиях, соответствующих установившейся практике, лицу, первому изъявившему такое желание и уведомившему об этом патентообладателя и федеральный орган исполнительной власти по интеллектуальной собственности, – гражданину РФ или российскому юридическому лицу. |
|
(21), (22) Заявка: 2005139222/28, 15.12.2005
(24) Дата начала отсчета срока действия патента:
15.12.2005
(46) Опубликовано: 27.09.2007
(56) Список документов, цитированных в отчете о поиске:
RU 2172959 С1, 27.08.2001. SU 1303827 A1, 15.04.1987. RU 2037779 C1, 19.06.1995. RU 20577 U1, 10.11.2001. SU 977956 А2, 30.11.1982.
Адрес для переписки:
355021, г.Ставрополь, ул. Ленина, 320, СВВАИУ, НИО, В.В. Ефанову
|
(72) Автор(ы):
Ефанов Василий Васильевич (RU), Мужичек Сергей Михайлович (RU), Глущенко Юрий Алексеевич (RU)
(73) Патентообладатель(и):
Ефанов Василий Васильевич (RU), Мужичек Сергей Михайлович (RU), Глущенко Юрий Алексеевич (RU)
|
(54) УСТРОЙСТВО ДЛЯ ФУНКЦИОНИРОВАНИЯ ИНФОРМАЦИОННО-ВЫЧИСЛИТЕЛЬНОЙ СИСТЕМЫ АВТОМОБИЛЯ
(57) Реферат:
Изобретение относится к области приборостроения и может применяться для определения расстояния, пройденного автомобилем, средней скорости движения и времени нахождения в пути до заданных населенных пунктов. Технический результат – расширение функциональных возможностей. Для достижения данного результата в устройство введены блоки и связи, на основе которых определяют среднюю скорость движения автомобиля на основе выражения: где S – расстояние, пройденное автомобилем, t – время нахождения в пути автомобиля при пройденном расстоянии S, определяют время движения до заданных пунктов назначения на основе выражений: , , , где t1 – время движения автомобиля до пункта назначения L1, t2 – время движения автомобиля до пункта назначения L2, tn – время движения автомобиля до пункта назначения Ln. 2 з.п. ф-лы, 2 ил.
Изобретение относится к области информационно-вычислительных систем автомобилей, может быть использовано для определения пройденного пути автомобилем, средней скорости движения и времени необходимого нахождения в пути до заданных населенных пунктов при данной средней скорости движения.
Наиболее близким к изобретению является устройство для измерения расстояния, пройденного автомобилем, содержащее закрепленные на переднем и заднем колесах первый и второй датчики пути, блок сравнения и счетчик пути, счетчик отрезков, счетчик пути выполнен в виде генератора импульсов, первой схемы сравнения, первого программного переключателя, первого счетчика и индикатора, блок сравнения выполнен в виде второго счетчика импульсов, второй схемы сравнения, второго программного переключателя и второго индикатора, выход первого датчика пути соединен через генератор импульсов с первым входом первой схемы сравнения и через счетчик отрезков с первым входом второго счетчика импульсов, второй вход которого соединен с выходом второго датчика пути, а выход – с первым входом второй схемы сравнения, выход первого переключателя соединен со вторым входом первой схемы сравнения, выход которой через первый счетчик соединен с входом индикатора, а выход второго программного переключателя соединен с вторым входом второй схемы сравнения, выход которой соединен с входом второго индикатора, первый и второй датчики пути закреплены на диагонально расположенных колесах [1].
Недостатком данного устройства является отсутствие возможности определения средней скорости движения автомобиля, а также невозможность определения времени движения до выбранного пункта назначения.
Технической задачей изобретения является расширение функциональных возможностей информационно-вычислительной системы автомобиля за счет получения дополнительной информации о средней скорости движения автомобиля и времени нахождения в пути до выбранного пункта назначения.
Для достижения технической задачи изобретения в устройстве для функционирования информационно-вычислительной системы автомобиля, содержащем закрепленные на переднем и заднем колесах первый и второй датчики пути, счетчик пути, блок сравнения и счетчик отрезков, счетчик пути выполнен в виде первого генератора импульсов, первой схемы сравнения, первого программного переключателя, первого счетчика импульсов и первого индикатора, блок сравнения выполнен в виде второго счетчика импульсов, второй схемы сравнения, второго программного переключателя и второго индикатора, выход первого датчика пути соединен через первый генератор импульсов с первым входом первой схемы сравнения и через счетчик отрезков с первым входом второго счетчика импульсов, второй вход которого соединен с выходом второго датчика пути, а выход – с первым входом второй схемы сравнения, выход первого переключателя соединен с вторым входом первой схемы сравнения, выход которой через первый счетчик соединен с входом первого индикатора, а выход второго программного переключателя соединен со вторым входом второй схемы сравнения, выход которой соединен с входом второго индикатора, первый и второй датчики пути закреплены на диагонально расположенных колесах, дополнительно введены блок определения средней скорости движения автомобиля, блок определения времени движения автомобиля до пунктов назначения, причем выход счетчика пути соединен одновременно с первым и третьим входом блока определения средней скорости движения автомобиля, с первым входом блока определения времени движения автомобиля до пунктов назначения, второй вход которого соединен с выходом блока определения скорости движения автомобиля, со вторым входом которого соединен выход первого датчика пути.
Кроме того, блок определения средней скорости состоит из элемента И-НЕ, триггера, второго генератора импульсов, элемента И, счетчика импульсов, делителя, третьего индикатора, причем первый и третий входы блока определения средней скорости движения являются соответственно входами элемента И-НЕ и вторым входом делителя, а второй вход является входом триггера, выход элемента И-НЕ, выход триггера и выход второго генератора импульсов соединены соответственно с первым, вторым и третьим входами элемента И, выход элемента И через второй счетчик соединен с первым входом делителя, выход которого соединен со входом третьего индикатора и одновременно со вторым входом блока определения времени движения автомобиля до пунктов назначения.
Кроме того, блок определения времени движения до пунктов назначения состоит из n вторых делителей, n вычитающих устройств, задатчика сигналов, n четвертых индикаторов, причем первый и второй вход блока определения времени движения до пунктов назначения является соответственно вторыми входами n вычитающих устройств и первыми входами n пороговых устройств, вторые входы которых соединены с выходами n вычитающих устройств, первые входы которых соединены с выходом задатчика сигналов, выходы пороговых устройств соединены с n входами четвертых индикаторов.
Существенными отличительными признаками по устройству являются элементы схемы: блок определения средней скорости движения автомобиля, состоящий из элемента И-НЕ, триггера, второго генератора импульсов, элемента И, счетчика импульсов, делителя третьего индикатора, блок определения времени движения автомобиля до пунктов назначения, состоящий из n пороговых устройств, n вычитателей, задатчика сигналов, n четвертых индикаторов, и новые связи.
Использование всех новых признаков позволит расширить функциональные возможности информационно-вычислительной системы автомобиля за счет получения информации о пройденном пути и дополнительной информации о средней скорости движения автомобиля и времени движения автомобиля до выбранного пункта назначения.
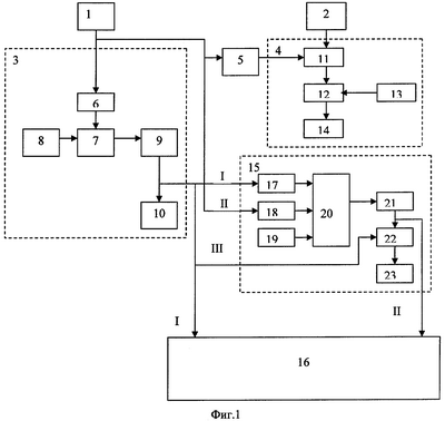
На фиг.1 показана схема устройства, реализующего предлагаемый способ, на фиг.2 – блок определения времени движения автомобиля до пунктов назначения.
Устройство для функционирования информационно-вычислительной системы автомобиля содержит закрепленные на переднем и заднем колесах первый 1 и второй 2 датчики пути, счетчик 3 пути, блок 4 сравнения и счетчик 5 отрезков, счетчик 3 пути выполнен в виде первого 6 генератора импульсов, первой 7 схемы сравнения, первого 8 программного переключателя, первого 9 счетчика импульсов и первого 10 индикатора, блок 4 сравнения выполнен в виде второго 11 счетчика импульсов, второй 12 схемы сравнения, второго 13 программного переключателя и второго 14 индикатора, выход 1 первого датчика пути соединен через первый 6 генератор импульсов с первым входом первой 7 схемы сравнения и через счетчик 5 отрезков с первым входом первого 9 счетчика импульсов, второй вход которого соединен с выходом второго 2 датчика пути, а выход – с первым входом второй 12 схемы сравнения, выход первого 8 переключателя соединен с вторым входом первой 7 схемы сравнения, выход которой через первый 9 счетчик импульсов соединен с входом первого 10 индикатора, а выход второго 13 программного переключателя соединен со вторым входом второй 12 схемы сравнения, выход которой соединен с входом второго 14 индикатора, первый 1 и второй 2 датчики пути закреплены на диагонально расположенных колесах, блок 15 определения средней скорости движения, блок 16 определения времени движения до пунктов назначения, причем выход счетчика 3 пути соединен одновременно с первым и третьим входом блока 15 определения средней скорости движения автомобиля, с первым входом блока 16 определения времени движения автомобиля до пунктов назначения, второй вход которого соединен с выходом блока 15 определения скорости движения автомобиля, со вторым входом которого соединен выход первого 1 датчика пути.
Кроме того, блок 15 определения средней скорости движения автомобиля состоит из элемента 17 И-НЕ, триггера 18, второго генератора 19 импульсов, элемента 20 И, третьего счетчика 21 импульсов, делителя 22, третьего индикатора 23, причем первый и третий входы блока 15 определения средней скорости движения являются соответственно входами элемента 17 И-НЕ и вторым входом делителя 22, а второй вход является входом триггера 18, выход элемента 17 И-НЕ, выход триггера 18 и выход второго 19 генератора импульсов соединены соответственно с первым, вторым и третьим входом элемента 20 И, выход которого через третий 21 счетчик соединен с первым входом делителя 22, выход которого соединен со входом третьего 23 индикатора и одновременно со вторым входом блока определения времени движения автомобиля до пунктов назначения.
Кроме того, блок 16 определения времени движения автомобиля до пунктов назначения состоит из n вторых делителей 24, n вычитающих устройств 25, задатчика 26 сигналов, n четвертых индикаторов 27, причем первый и второй вход блока 16 определения времени движения до пунктов назначения, является соответственно вторыми входами n вычитающих устройств 25 и первыми входами n пороговых устройств 24, вторые входы которых соединены с выходами n вычитающих устройств 25, первые входы которых соединены с выходом задатчика 26 сигналов, выходы пороговых устройств 25 соединены с n входами четвертых 27 индикаторов.
Устройство работает следующим образом.
Датчик 1 оборотов колеса пропорционально пройденному пути автомобиля вырабатывает импульсы, каждый последующий из которых – результат единичного приращения пути. Значение этого единичного приращения пути для соответствующих условий устанавливается заранее первым программным переключателем 8. Импульсы с датчика 1 пути запускают высокочастотный генератор 6. Когда число импульсов, выработанных генератором 6, станет равным значению, установленному на программном переключателе 8, схема 7 сравнения остановит генератор. В результате сформируется пачка высокочастотных импульсов. Первый 9 счетчик прибавит к предыдущему значению число, равное единичному приращению пути (число, установленное программным переключателем). Значение единичного приращения пути подается на индикатор 10, которое в цифровом виде отображает пройденный путь.
Для осуществления анализа условий движения автомобиля используется счетчик 5 отрезков и блок 4 сравнения. Информационным признаком является знак и величина разности оборотов переднего и заднего колеса автомобиля.
Определение данного информационного признака осуществляется путем подачи с первого 1 датчика импульсов на счетчик 5 отрезков, с выхода которого импульсы поступают на первый вход второго 11 счетчика, на второй вход которого поступают импульсы со второго 2 датчика пути.
Второй 11 счетчик считает количество импульсов в период между импульсами, вырабатываемыми счетчиком 8 отрезков, например 100 (321,5 м). Далее сигнал подается на вторую схему 12 сравнения, которая вырабатывает сигнал, величина и знак которого (значение знака отображается вторым индикатором 14) зависят от того, равно, больше или меньше число в счетчике 11 импульсов числа (значение разности оборотов переднего и заднего колес), установленного заранее на программном переключателе 13.
Выбирается это число в соответствии со значением коэффициента коррекции пути (единичным приращением пути), полученным на эталонном базисе. Равенство чисел с некоторым установленным допуском свидетельствует о том, что условия движения не изменились и коэффициент коррекции пути соответствует условиям движения. При изменении равенства чисел необходимо с учетом знака и величины изменить значение единичного отрезка приращения пути на программном переключателе 8.
Определение средней скорости движения автомобиля осуществляется следующим образом.
На второй вход блока 15 определения средней скорости движения автомобиля поступают импульсы через триггер 18, который определяет момент начала измерения скорости, на первый и третий вход поступает сигнал, пропорциональный пройденному расстоянию S, соответственно на элемент 17 И-НЕ и на второй вход делителя 22. С выхода элемента 17 И-НЕ и триггера 18 сигнал поступает соответственно на первый и второй вход элемента 20 И, на третий вход которого поступает сигнал с выхода второго 19 генератора импульсов. С выхода элемента 20 сигнал, пропорциональный временному интервалу между моментами начала движения и пройденным автомобилем до расстояния S, поступает через счетчик 21 на первый вход делителя 22, с выхода которого сигнал, полученный в соответствии с выражением пропорциональный средней скорости движения автомобиля, поступает на вход третьего 23 индикатора и одновременно на второй вход блока 16 определения времени движения автомобиля до пунктов назначения.
Определение времени нахождении в пути автомобиля до пунктов назначения осуществляется следующим образом.
На первый вход блока 16 определения времени движения автомобиля до пунктов назначения поступает сигнал S, пропорциональный расстоянию, пройденному автомобилем, который поступает на вторые входы n вычитающих устройств 25, на первые входы которых поступают сигналы, пропорциональные значениям L1, L2…Ln до заданных пунктов назначения, от задатчика 26 сигналов. Сигналы, пропорциональные значениям L1-S, L2-S…Ln-S, поступают на вторые входы n делителей 24, на первые входы которых поступают сигналы, пропорциональные средней скорости движения, с выхода блока 15 определения средней скорости. С выхода делителей 24 сигналы, пропорциональные времени нахождения автомобиля в пути до заданных пунктов назначения, поступают на входы n индикаторов 27.
Таким образом, предлагаемый способ и устройство определяют наряду с пройденным расстоянием среднюю скорость движения автомобиля и время нахождения его в пути до заданных пунктов назначения.
Источники информации:
1. Авторское свидетельство СССР №1303827, кл. G01С 22/00, 19.07.1984 г. (прототип).
Формула изобретения
1. Устройство для функционирования информационно-вычислительной системы автомобиля, содержащее закрепленные на переднем и заднем колесах первый и второй датчики пути, счетчик пути, блок сравнения и счетчик отрезков, счетчик пути выполнен в виде первого генератора импульсов, первой схемы сравнения, первого программного переключателя, первого счетчика импульсов и первого индикатора, блок сравнения выполнен в виде второго счетчика импульсов, второй схемы сравнения, второго программного переключателя и второго индикатора, выход первого датчика пути соединен через первый генератор импульсов с первым входом первой схемы сравнения и через счетчик отрезков с первым входом второго счетчика импульсов, второй вход которого соединен с выходом второго датчика пути, а выход – с первым входом второй схемы сравнения, выход первого переключателя соединен со вторым входом первой схемы сравнения, выход которой через первый счетчик соединен с входом первого индикатора, а выход второго программного переключателя соединен со вторым входом второй схемы сравнения, выход которой соединен с входом второго индикатора, первый и второй датчики пути закреплены на диагонально расположенных колесах, отличающееся тем, что введен блок определения средней скорости движения автомобиля, блок определения времени движения автомобиля до пунктов назначения, причем выход счетчика пути соединен одновременно с первым и третьим входом блока определения средней скорости движения автомобиля, с первым входом блока определения времени движения автомобиля до пунктов назначения, второй вход которого соединен с выходом блока определения средней скорости движения автомобиля, со вторым входом которого соединен выход первого датчика пути.
2. Устройство по п.1, отличающееся тем, что блок определения средней скорости движения автомобиля состоит из элемента И-НЕ, триггера, второго генератора импульсов, элемента И, счетчика импульсов, делителя третьего индикатора, причем первый и третий входы блока определения средней скорости движения являются соответственно входами элемента И-НЕ и вторым входом делителя, а второй вход является входом триггера, выход элемента И-НЕ, выход триггера и выход второго генератора импульсов соединены соответственно с первым, вторым и третьим входом элемента И, выход элемента И через второй счетчик соединен с первым входом делителя, выход которого соединен со входом третьего индикатора и одновременно со вторым входом блока определения времени движения автомобиля до пунктов назначения.
3. Устройство по п.1, отличающееся тем, что блок определения времени движения автомобиля до пунктов назначения состоит из n – вторых делителей, n – вычитающих устройств, задатчика сигналов, n – четвертых индикаторов, причем первый и второй вход блока определения времени движения до пунктов назначения является соответственно вторыми входами n – вычитающих устройств и первыми входами n – вторых делителей, вторые входы которых соединены с выходами n – вычитающих устройств, первые входы которых соединены с выходом задатчика сигналов, выходы n – вторых делителей соединены с n – входами четвертых индикаторов.
РИСУНКИ
|
|