|
|
(21), (22) Заявка: 2005125389/28, 09.08.2005
(24) Дата начала отсчета срока действия патента:
09.08.2005
(30) Конвенционный приоритет:
04.02.2005 (пп.1-6) BY a 20050108
(43) Дата публикации заявки: 20.02.2007
(46) Опубликовано: 27.09.2007
(56) Список документов, цитированных в отчете о поиске:
ЕА 1581 В1, 25.06.2001. RU 2002131490 А, 27.05.2004. SU 1376051 A1, 23.02.1988. JP 04-295786 A, 20.10.1992.
Адрес для переписки:
220023, г.Минск, ул. Макаенка, 23, ОАО “Пеленг”
|
(72) Автор(ы):
Тареев Анатолий Михайлович (BY), Мышалов Павел Ильич (BY), Янаев Владимир Николаевич (BY)
(73) Патентообладатель(и):
Открытое акционерное общество “Пеленг” (BY)
|
(54) ЛАЗЕРНЫЙ ДАЛЬНОМЕР
(57) Реферат:
Изобретение относится к области оптико-электронного приборостроения, более конкретно к импульсным лазерным дальномерам. Лазерный дальномер содержит передающий канал, включающий оптически связанные лазер и передающую оптическую систему, и визирно-приемный канал, включающий объектив, первый спектроделитель, устройство наблюдения изображения объектов с прицельной маркой, фотоприемное устройство, второй спектроделитель, тест-объект, систему подсветки тест-объекта, и световозвращатель, установленный перед объективом с возможностью введения в зону его входного зрачка. Для оперативной выверки визирного и приемного каналов лазерный дальномер содержит также оптический компенсатор, расположенный на оптической оси объектива между первым и вторым спектроделителями. Фотоприемное устройство оптически сопряжено посредством первого спектроделителя с устройством наблюдения изображения объектов. Второй спектроделитель расположен между первым спектроделителем и фотоприемным устройством на оптической оси объектива под углом к ней. Тест-объект расположен на оптической оси объектива и связан с ним оптически посредством второго и первого спектроделителей. Технический результат – повышение точности измерения дистанции до цели. 5 з.п. ф-лы, 3 ил.
Изобретение относится к области оптико-электронного приборостроения, более конкретно к импульсным лазерным дальномерам.
Наиболее близким по технической сущности к заявляемому изобретению является лазерный дальномер [1], содержащий передающий канал, включающий оптически связанные лазер и передающую оптическую систему, состоящую из телескопа и двух вращающихся клиньев, установленных на выходе телескопа, визирно-приемный канал, включающий объектив, первый спектроделитель, расположенный на оптической оси объектива под углом к ней, устройство наблюдения изображения объектов с прицельной маркой, расположенной в фокальной плоскости объектива, и фотоприемное устройство, оптически сопряженное посредством первого спектроделителя с устройством наблюдения изображения объектов, коллиматор видимого света, установленный параллельно оси излучения лазера, жестко соединенный с ним и оптически связанный с передающей оптической системой посредством двух параллельных друг другу плоских зеркал, одно из которых выполнено в виде спектроделителя, и ретровозвращатель, установленный в пределах выходного зрачка передающего канала и входного зрачка визирно-приемного канала с возможностью вывода из хода лучей света каналов.
Известный лазерный дальномер обеспечивает возможность оперативного контроля параллельности осей передающего и визирного каналов. Однако его недостатком является невысокая точность измерения дальности до цели из-за невозможности оперативного контроля параллельности осей и выверки визирного и приемного каналов. Вероятность рассогласования визирного и приемного каналов в процессе эксплуатации дальномера довольно высока, поскольку угловое поле приемного канала составляет обычно единицы угловых минут.
Задачей настоящего изобретения является повышение точности измерения дистанции до цели.
Для решения указанной задачи лазерный дальномер, содержащий передающий канал, включающий оптически связанные лазер и передающую оптическую систему, визирно-приемный канал, включающий объектив, первый спектроделитель, расположенный на оптической оси объектива под углом к ней, устройство наблюдения изображения объектов с прицельной маркой, расположенной в фокальной плоскости объектива, и фотоприемное устройство, оптически сопряженное посредством первого спектроделителя с устройством наблюдения изображения объектов, снабжен дополнительно вторым спектроделителем, расположенным между первым спектроделителем и фотоприемным устройством на оптической оси объектива под углом к ней, тест-объектом, расположенным на оптической оси объектива и связанным оптически с объективом посредством второго и первого спектроделителей, системой подсветки тест-объекта, расположенной на оптической оси объектива и связанной с ним оптически посредством второго и первого спектроделителей, и световозвращателем, установленным перед объективом с возможностью введения в зону его входного зрачка.
Тест-объект может быть выполнен в виде диафрагмы, диаметр которой может быть равен диаметру чувствительной площадки фотоприемного устройства, в виде волоконно-оптического световода или в виде сетки с прозрачными штрихами, например в виде перекрестия. Лазерный дальномер может быть снабжен дополнительно оптическим компенсатором, расположенным на оптической оси объектива между первым и вторым спектроделителями, для возможности оперативного согласования визирного и приемного каналов. Оптический компенсатор может быть выполнен, например, в виде линзы, установленной с возможностью перемещений в двух взаимно ортогональных направлениях, перпендикулярных оптической оси объектива. Второй спектроделитель, тест-объект и система подсветки тест-объекта могут быть жестко связаны друг с другом в едином блоке, установленном с возможностью перемещения в произвольном направлении, перпендикулярном оптической оси объектива, и фиксации в выбранном положении.
Введение в лазерный дальномер второго спектроделителя, расположенного между первым спектроделителем и фотоприемным устройством на оптической оси объектива под углом к ней, тест-объекта, расположенного на оптической оси объектива и связанного оптически с объективом посредством второго и первого спектроделителей, системы подсветки тест-объекта, расположенной на оптической оси объектива и связанной с ним оптически посредством второго и первого спектроделителей, и световозвращателя, установленного перед объективом с возможностью введения в зону его входного зрачка, обеспечивает повышение точности измерения дистанции до цели, так как позволяет осуществить оперативный контроль не параллельности осей визирного и приемного каналов дальномера и своевременно устранить неисправность, непосредственно влияющую на результат измерения дистанции.
Выполнение тест-объекта в виде диафрагмы обеспечивает наибольшую простоту и технологичность конструкции тест-объекта, а в виде волоконно-оптического световода позволяет выполнить оптимальную компоновку узла с фотоприемным устройством в тех случаях, когда нет места для размещения системы подсветки тест-объекта в непосредственной близости от фотоприемного устройства.
Введение в лазерный дальномер оптического компенсатора, расположенного на оптической оси объектива между первым и вторым спектроделителями, обеспечивает возможность оперативного устранения непараллельности осей визирного и приемного каналов, что также обеспечивает повышение точности измерения дистанции.
Жесткая связь второго спектроделителя, тест-объекта и системы подсветки тест-объекта в едином блоке, установленном с возможностью перемещения в произвольном направлении, перпендикулярном оптической оси объектива, и фиксации в выбранном положении, обеспечивает технологичность конструкции, так как позволяет наиболее просто осуществить оптическое сопряжение чувствительной площадки фотоприемного устройства с тест-объектом перемещениями единого блока относительно фотоприемного устройства в направлениях, перпендикулярных оптической оси объектива.
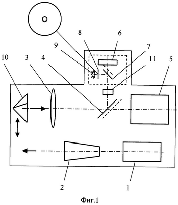
На фиг.1 изображена принципиальная схема лазерного дальномера, на фиг.2 показан вариант выполнения световозвращателя, на фиг.3 приведен вид поля зрения устройства в момент выверки.
Лазерный дальномер содержит (фиг.1) передающий канал, включающий оптически связанные лазер 1 и передающую оптическую систему 2, и визирно-приемный канал, включающий объектив 3, первый спектроделитель 4, устройство 5 наблюдения изображения объектов с прицельной маркой, фотоприемное устройство 6, второй спектроделитель 7, тест-объект 8, систему 9 подсветки тест-объекта и световозвращатель 10, установленный перед объективом 3 с возможностью введения в зону его входного зрачка. Для оперативной выверки визирного и приемного каналов лазерный дальномер может содержать также оптический компенсатор 11.
Устройство 5 наблюдения изображения объектов с прицельной маркой может быть визуальным или электронным. В первом случае оно включает сетку с прицельной маркой, установленной в фокальной плоскости объектива [1], а во втором случае оно включает ПЗС-матрицу, выход которой подключен к монитору (на фиг.1 не показан). Фотоприемное устройство 6 оптически сопряжено посредством первого спектроделителя 4 с устройством 5 наблюдения изображения объектов. Второй спектроделитель 7 расположен между первым спектроделителем 4 и фотоприемным устройством 6 на оптической оси объектива 3 под углом к ней, например 45°.
Тест-объект 8 оптически сопряжен с чувствительной площадкой фотоприемного устройства 6 с помощью второго спектроделителя 7. Система 9 подсветки тест-объекта расположена на оптической оси объектива 3 и связана с ним оптически посредством второго спектроделителя 7 и первого спектроделителя 4. Световозвращатель 10 установлен перед объективом 3 с возможностью введения в зону его входного зрачка. Тест-объект 8 в простейшем случае выполнен в виде диафрагмы, диаметр которой равен диаметру чувствительной площадки фотоприемного устройства 6. Однако в зависимости от конкретной реализации он может иметь и другой вид, например может быть выполнен в виде перекрестия или в виде волоконно-оптического световода. В последнем случае выходной торец волоконно-оптического световода является собственно тест-объектом, а входной торец волоконно-оптического световода вынесен в свободную от электронно-оптических узлов зону корпуса дальномера и подсвечивается системой 9 подсветки.
Лазерный дальномер может быть снабжен дополнительно оптическим компенсатором 11, расположенным на оптической оси объектива 3 между первым 4 и вторым 7 спектроделителями, для возможности оперативного согласования визирного и приемного каналов. Оптический компенсатор 11 в простейшем случае может быть выполнен в виде линзы, установленной с возможностью перемещений в двух взаимно ортогональных направлениях, перпендикулярных оптической оси объектива 3. Он также может быть выполнен в виде двух вращающихся клиньев [1] или иметь другую конструкцию, обеспечивающую смещение изображения фотоприемного устройства 6 и тест-объекта 8 в направлении, перпендикулярном оптической оси объектива 3.
Для упрощения юстировки приемного канала второй спектроделитель 7, тест-объект 8 и система 9 подсветки тест-объекта могут быть жестко связаны друг с другом в едином блоке, установленном с возможностью перемещения в произвольном направлении, перпендикулярном оптической оси объектива 3, и фиксации в выбранном положении. Световозвращатель 10 может быть выполнен в виде уголкового отражателя, как показано на фиг.1? или в виде системы «кошачий глаз», включающей объектив этой системы и расположенное в его фокальной плоскости плоское зеркало, как показано на фиг.2.
На фиг.3 показаны изображение 13 диафрагмы тест-объекта 8 в поле зрения устройства 5 наблюдения изображения объектов и его прицельная марка 14.
Лазерный дальномер работает следующим образом.
При измерении дальности до цели с помощью лазерного дальномера его разворотами совмещают цель с прицельной маркой 14 и осуществляют пуск лазерного излучения. Импульс лазерного излучения выходит из лазера 1, проходит передающую оптическую систему 2 и выходит из передающего канала. В момент формирования импульса излучения электронная система управления лазерным дальномером формирует первый (стартовый) импульс. Отраженный от цели свет лазера 1 входит в визирно-приемный канал и попадает на чувствительную площадку фотоприемного устройства 6. При этом формируется второй (рабочий) импульс в электронной системе дальномера. По измеренной временной задержке от момента выхода импульса излучения из передающего канала до его попадания на фотоприемное устройство 6 после отражения от цели электронная система лазерного дальномера определяет дистанцию до цели.
При необходимости осуществления контроля не параллельности осей приемного и визирного каналов и выверки лазерного дальномера световозвращатель 10 вводят в ход лучей и устанавливают в его рабочее положение в пределах выходного зрачка объектива 3, как показано на фиг.1. Одновременно включается система 9 подсветки тест-объекта 8. Излучение системы 9 подсветки, как правило, должно быть видимым, так как устройство 5 наблюдения изображения объектов обычно работает в видимой области спектра. Лучи света от тест-объекта 8, подсвеченного системой 9 подсветки, отражаются от второго спектроделителя 7, затем от первого спектроделителя 4, который отражает небольшую часть видимого излучения (примерно 5…10%), проходят объектив 3, отражаются от световозвращателя 10, снова проходят объектив 3 и после прохождения первого спектроделителя 4 формируют в поле зрения устройства 5 наблюдения изображения объектов изображение 13 диафрагмы тест-объекта 8 (фиг.2). Изображение 13 наблюдается оператором через окуляр (или на экране монитора) вместе с прицельной маркой 14 (фиг.3). Если ось приемного канала дальномера не параллельна его визирной оси, то изображение 13 диафрагмы тест-объекта не будет совпадать с вершиной прицельной марки 14, как это показано на фиг.3 пунктиром. Точность измерения дистанции дальномером в этом случае будет невысока или возможность измерения вообще будет отсутствовать. Дальномер следует отправить в ремонт. При наличии же в дальномере оптического компенсатора 11 и органов управления им на панели дальномера данный дефект устраняют на месте, совмещая изображение 13 с вершиной прицельной марки 14, как показано на фиг.3. Точность измерения дистанции при этом будет высокой.
Таким образом, предлагаемый лазерный дальномер обеспечивает оперативный контроль и устранение непараллельности оси приемного канала дальномера и его визирной оси, обеспечивая тем самым повышение точности измерения дистанции до цели.
Источники информации
1. Евразийский патент №001581, кл.G01C3/08, публ. 25.06.2001 г., прототип.
Формула изобретения
1. Лазерный дальномер, содержащий передающий канал, включающий оптически связанные лазер и передающую оптическую систему, и визирно-приемный канал, включающий объектив, первый спектроделитель, расположенный на оптической оси объектива под углом к ней, устройство наблюдения изображения объектов с прицельной маркой, расположенной в фокальной плоскости объектива, и фотоприемное устройство, оптически сопряженное посредством первого спектроделителя с устройством наблюдения изображения объектов, отличающийся тем, что он снабжен вторым спектроделителем, расположенным между первым спектроделителем и фотоприемным устройством на оптической оси объектива под углом к ней, тест-объектом, расположенным на оптической оси объектива и связанным оптически с объективом посредством второго и первого спектроделителей, системой подсветки тест-объекта, расположенной на оптической оси объектива и связанной с ним оптически посредством второго и первого спектроделителей, и световозвращателем, установленным перед объективом с возможностью введения в зону его входного зрачка.
2. Лазерный дальномер по п.1, отличающийся тем, что тест-объект выполнен в виде диафрагмы.
3. Лазерный дальномер по п.1, отличающийся тем, что тест-объект выполнен в виде волоконно-оптического световода.
4. Лазерный дальномер по любому из пп.1-3, отличающийся тем, что он снабжен дополнительно оптическим компенсатором, расположенным на оптической оси объектива между первым и вторым спектроделителями, для возможности оперативного согласования визирного и приемного каналов.
5. Лазерный дальномер по п.4, отличающийся тем, что оптический компенсатор выполнен в виде линзы, установленной с возможностью перемещений в двух взаимно ортогональных направлениях, перпендикулярных оптической оси объектива.
6. Лазерный дальномер по любому из пп.1-3, 5, отличающийся тем, что второй спектроделитель и тест-объект жестко связаны друг с другом в едином блоке, установленном с возможностью перемещения в произвольном направлении, перпендикулярном оптической оси объектива, и фиксации в выбранном положении.
РИСУНКИ
|
|