|
|
(21), (22) Заявка: 2005140957/02, 28.12.2005
(24) Дата начала отсчета срока действия патента:
28.12.2005
(46) Опубликовано: 27.09.2007
(56) Список документов, цитированных в отчете о поиске:
RU 2242704 C1, 20.12.2004. RU 2205362 С2, 27.05.2003. RU 2125706 C1, 27.01.1999. US 4739706 A, 26.04.1988.
Адрес для переписки:
117519, Москва, ул. Кировоградская, 1, ФГУП “ФНПЦ “Прибор”, патентное бюро, А.Л. Качалову
|
(72) Автор(ы):
Аманов Валерий Владиленович (RU), Дерюгин Лев Михайлович (RU), Киселев Валерий Алексеевич (RU), Федоров Виктор Николаевич (RU), Чичиков Виктор Васильевич (RU), Чижевский Олег Тимофеевич (RU)
(73) Патентообладатель(и):
Федеральное государственное унитарное предприятие “Федеральный научно-производственный центр “Прибор” (RU)
|
(54) ГОЛОВНОЙ ВЗРЫВАТЕЛЬ
(57) Реферат:
Изобретение относится к взрывателям ударного действия, срабатывающим при встрече с преградой. Головной взрыватель содержит узел воспламенения, осевой боек, взаимодействующий с реакционным ударником, оснащенным инерционным приводом, механизм дальнего взведения, включающий пиротехнический заряд, на котором размещен подпружиненный стопорный шток поперечной шиберной заслонки, несущей накольный капсюль-детонатор, устройство самоликвидации и лучевой капсюль-детонатор. Новым является то, что стопорный шток механизма дальнего взведения опирается непосредственно на пиротехнический заряд, при этом площадь его опоры составляет 1/3…1/2 поперечного сечения заряда, который выполнен слоеным из коксующихся шлаковых составов, причем к нижнему слою, имеющему меньшую объемную плотность запрессовки, примыкают распределенные по периферии пиротехнические каналы коммуникации с узлом воспламенения, заполненные пиротехническим составом нижнего слоя. Предложенное техническое решение обеспечило оптимизацию дистанции срабатывания взрывателя в узком диапазоне 30-40 м. 1 з.п. ф-лы, 4 ил.
Изобретение относится к области боеприпасов, а более конкретно к взрывателям ударного действия, срабатывающим при встрече с преградой.
Уровень техники данной области характеризует взрыватель ударного действия для артиллерийских боеприпасов по патенту RU 2125706, F42C 1/06, 1999 г., содержащий аксиально смонтированные боек, взаимодействующий со сферической формы инерционным подпружиненным ударником, установленным в профилированной направляющей, и детонатор, между которыми размещен поперечный движок, несущий накольный капсюль-детонатор.
Движок (шиберная заслонка) в безопасном положении, при смещении от оси огневой цепи удерживается подпружиненным штоком механизма дальнего взведения, в качестве стопора которого использован заряд пиротехнической запрессовки, сообщающийся с узлом воспламенения.
Взрыватель оснащен пиротехническими, связанными с узлом воспламенения дистанционным устройством, которое включает лучевой капсюль-детонатор и механизмом самоликвидации.
Недостатком этого многофункционального взрывателя является неудовлетворительная чувствительность при встрече боеприпаса с легкими преградами (снег, вода, болото) из-за отсутствия реакционного действия конструкции.
Отмеченный недостаток устранен в головном взрывателе для артиллерийских малокалиберных патронов, описанный в патенте RU 2205362, F42C 9/14, 2003 г., который дополнительно содержит ударный реакционный механизм, выполненный в виде конического обтекателя, под которым в корпусе имеется периферийная кольцевая канавка и радиальные, наклоненные к осевому бойку пазы, где свободно помещены шарики, а также замедлительную втулку в огневой цепи с центробежным предохранительным механизмом на выходе.
Этот всепогодный взрыватель характеризуется сложностью конструкции и высокой стоимостью, что ограничивает массовое использование в разнообразных боеприпасах.
Более простым малогабаритным взрывателем ударного действия, который по большинству совпадающих признаков и технической сущности выбран в качестве наиболее близкого аналога предложенному, является описанный в патенте RU 2242704, F42C 1/04, 2004 г., который содержит узел воспламенения, осевой боек, взаимодействующий с реакционным ударником, оснащенным инерционным приводом, механизм дальнего взведения, включающий пиротехнический заряд, на котором размещен подпружиненный стопорный шток поперечной шиберной заслонки, несущей накольный капсюль-детонатор, устройство самоликвидации и лучевой капсюль-детонатор.
Особенностью известного взрывателя является дополнительный передаточный заряд в огневой цепи, который выполнен ступенчатым с коническим переходом между ступенями, причем меньшая по диаметру ступень направлена в сторону накольного капсюля-детонатора, а большая – в сторону исполнительного детонатора, и имеет переменную плотность, возрастающую от торца с меньшей поверхностью к торцу с большей поверхностью.
Между накольным капсюлем-детонатором и передаточным зарядом имеются перемычки, выполненные с возможностью предотвращения детонации передаточного заряда при нештатном срабатывании накольного капсюля-детонатора и/или лучевого капсюля-детонатора, а в штатном режиме – обеспечить передачу детонационного импульса от накольного капсюля-детонатора.
Этот ударный взрыватель обеспечивает не только высокую чувствительность и надежную передачу детонационного импульса при встрече с легкой преградой при малых скоростях, но и безопасность в эксплуатации.
Известный малогабаритный взрыватель устанавливается на гранатометном или минометном выстреле.
Ударный механизм предназначен для передачи усилия реакции преграды на капсюль-детонатор накольного типа, обеспечивающий срабатывание огневой цепи взрывателя, и состоит из упруго связанных вертикально подвижного колпака и крышки, в профилированном двухпозиционном пазу которой помещено пружинное кольцо, а также двух плоских пружин, установленных в корпусе и опирающихся на подпружиненный осевой боек.
Шток механизма дальнего взведения на пиротехнический заряд (стопор) опирается через шайбу, смонтированную в корпусе с минимальным зазором, чтобы стандартно противодействовать упругим силам приводной пружины независимо от жесткости и несущих свойств сгорающего заряда, а также максимально изолировать запрессовку от атмосферного давления при взведении реакционного механизма.
Взведение ударного механизма происходит автоматически в два этапа: при выстреле инерционно оседает колпак, сжимая нагружающую пружину и упруго деформируя плоские пружины, при этом пружинное кольцо разжимается и неподвижно устанавливается между крышкой и колпаком; на траектории, когда исчезают осевые перегрузки, упругими силами пружины через колпак и кольцевую пружину крышка перемещается вверх относительно корпуса. Плоские пружины и боек возвращаются в исходное положение.
При встрече с преградой крышка, реакционно перемещаясь вниз, через пружинное кольцо и плоские пружины передает усилие преграды бойку, который накалывает капсюль-детонатор.
Однако недостатком известного взрывателя является большой диапазон дистанции срабатывания из-за нестабильного горения пиротехнического заряда механизма дальнего взведения, зависящего от величины давления, возникающего в закрытом взрывателе до открытия крышки. Нестабильное время сгорания заряда дает большой разброс срабатывания боеприпаса на дистанции 10-100 м. Нижний предел этого диапазона является опасным для личного состава, а верхний предел дистанции расположен за зоной поражения цели, что неэффективно.
Задачей, на решение которой направлено настоящее изобретение, является повышение эффективности боевого применения взрывателя путем сужения диапазона дистанции дальнего взведения.
Требуемый технический результат достигается тем, что в известном головном взрывателе, содержащем узел воспламенения, осевой боек, взаимодействующий с реакционным ударником, оснащенным инерционным приводом, механизм дальнего взведения, включающий пиротехнический заряд, на котором размещен подпружиненный стопорный шток поперечной шиберной заслонки, несущей накольный капсюль-детонатор, устройство самоликвидации и лучевой капсюль-детонатор, согласно изобретению стопорный шток механизма дальнего взведения опирается непосредственно на пиротехнический заряд, при этом площадь его опоры составляет 1/3…1/2 поперечного сечения заряда, который выполнен слоеным из составов с разной плотностью запресовки, причем к нижнему слою, имеющему меньшую плотность запрессовки, примыкают распределенные по периферии пироприемные каналы коммутации с узлом воспламенения, которые заполнены пиротехническим составом нижнего слоя.
Отличительные признаки за счет интенсификации воспламенения пиротехнического заряда механизма дальнего взведения и стабилизации процесса его горения технически обеспечили оптимизацию дистанции срабатывания взрывателя в узком диапазоне 30-40 м, что для малокалиберных выстрелов, имеющих скорость встречи с преградой 30-50 м/с, достигнуто впервые.
Выполнение пиротехнического заряда слоеным позволило дифференцировать скорости и режимы горения заряда во времени при изменении давления внутри взрывателя для стабилизации заданной дистанции взведения в более узком диапазоне.
Расчетная площадь опоры стопорного штока ограничена диапазоном соотношения с площадью поперечного сечения заряда из противных условий: несущей прочности запрессовки и возможности внедрения штока в объем шлакового остатка при последовательном сгорании составов.
При соотношении указанных площадей менее 1/3 шток при осевых динамических нагрузках может внедриться в заряд и произойдет преждевременное взведение, когда свободная шиберная заслонка переместит накольный капсюль-воспламенитель под боек. Следовательно, срабатывание взрывателя может произойти при выстреле в стволе, что недопустимо.
При соотношении этих площадей более 1/2 могут быть случаи, когда усилия пружины штока окажется недостаточно для его перемещения внутрь шлакового остатка стопорного заряда, что приведет к отказу срабатывания боеприпаса.
Пиротехнический состав нижнего слоя заряда, имеющий относительно низкую объемную плотность запрессовки, обеспечивает интенсификацию его воспламенения.
Размещение по периферии заряда пироприемных каналов коммуникации с узлом воспламенения повысило надежность инициирования воспламенения нижнего слоя узконаправленными форсами, которые при выходе на границу раздела слоев обеспечивают воспламенение верхнего слоя по торцу и равномерное его сгорание в объеме.
Заполнение коммуникационных каналов заряда пиротехническим составом его нижнего слоя активизирует воспламенение и обеспечивает всестороннее стабильное послойное горение заряда в расчетном режиме.
Следовательно, каждый существенный признак необходим, а их совокупность в устойчивой взаимосвязи является достаточной для достижения новизны качества, не присущего признакам в разобщенности, то есть решается поставленная в изобретении техническая задача не суммой эффектов, а новым сверхэффектом от суммы признаков.
Проведенный сопоставительный анализ предложенного технического решения с выявленными аналогами уровня техники, из которого изобретение явным образом не следует для специалиста по взрывателям, показал, что оно не известно, а с учетом возможности промышленного серийного изготовления головного взрывателя можно сделать вывод о соответствии критериям патентоспособности.
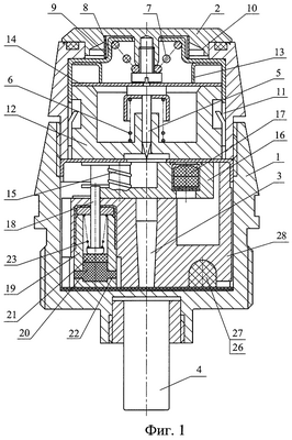
Сущность изобретения поясняется чертежом, где изображены:
на фиг.1 – предложенный головной взрыватель в разрезе;
на фиг.2 – то же, при выстреле;
на фиг.3 – то же, на траектории;
на фиг.4 – продольный разрез узла воспламенения.
В корпусе 1 головного взрывателя ударного действия, закрытом крышкой 2, установленной с возможностью относительного продольного перемещения, соосно огнепередаточному каналу 3 укреплены лучевой капсюль-детонатор 4 и боек 5, нагруженный пружиной 6.
Крышка 2 кинематически связана посредством пружины 7 нажимного колпака 8, на котором установлена кольцевая пружина 9 в верхнем положении двухпозицинного упора внутри крышки 2.
Колпак 8 установлен с возможностью продольного перемещения в кольцевом зазоре 11 между корпусом 1 и центральной втулкой 12, при этом упором 13 взаимодействует с пластинчатыми пружинами 14, уложенными на втулку 12, опираясь на боек 5.
Под осевым бойком 5, перекрывая канал 3, установлена снабженная приводной пружиной 15 поперечная шиберная заслонка 16, несущая накольный капсюль-воспламенитель 17, который в исходном положении смещен относительно оси взрывателя (огневой цепи), где удерживается вертикальным стопорным штоком 18 механизма 19 дальнего взведения.
Механизм 19 дальнего взведения содержит слоеный пиротехнический заряд, который выполнен из двух запрессовок 20 и 21 коксующихся, шлакообразующих при сгорании составов соответственно: нижнего, имеющего меньшую плотность, и верхнего с большей плотностью пиротехнического состава.
Нижняя запрессовка 20 оснащена радиальными распределенными по периферии заряда пироприемными каналами 22 коммуникации с инициирующим механизмом (узлом воспламенения).
Вертикальный шток 18 прижат пружиной 23 к верхней запрессовке 21 и имеет площадь опоры, составляющую 1/3-1/2 поперечного сечения запрессовки 20.
Узел воспламенения (фиг.4) инерционного действия содержит соосно смонтированные неподвижное жало 24 и подпружиненный капсюль-воспламенитель 25, который коммутируется с пиротехническим зарядом 20-21 механизма 19 дальнего взведения и медленно горящим пороховым составом 26 кольцевой дорожки 27 вкладыша 28, которые выполняют функции механизма самоликвидации, сообщаясь с исполнительным капсюлем-детонатором 4.
Функционирует взрыватель следующим образом.
При выстреле капсюль-воспламенитель 25 узла воспламенения (фиг.4) под действием силы инерции от линейного ускорения боеприпаса перемещается вниз, где накалывается на жало 24. Форс пламени от капсюля-воспламенителя зажигает пиросостав в каналах 22, сообщающихся с запрессовкой 20 заряда механизма 19 дальнего взведения, и пороховой состав 26 кольцевой дорожки 27 механизма самоликвидации.
Под действием силы инерции от линейного ускорения боеприпаса в пазу 11 оседает, сжимая пружину 7, нажимной колпак 8, который толкает впереди себя упором 13 пластинчатые пружины 14. Пружины 14 упруго деформируются, прогибаясь в центре, и перемещают книзу боек 5, сжимая пружину 6.
При движении вниз колпака 8 освобождается кольцевая пружина 9, которая, раскрываясь, перемещается по пазу 10 крышки 2 в нижнее устойчивое положение, где фиксируется в распор между крышкой 2 и колпаком 8 в нижнем положении.
На полете, когда исчезают осевые перегрузки, под действием сил упругости пружин 6 и 14, посредством бойка 5 крышка 2 перемещается вверх относительно корпуса 1 – ударный механизм взведен и готов к встрече с преградой.
За это время запрессовка 20 интенсивно сгорает восходящими распределенными по периферии факелами, сформированными при горении пиротехнического наполнения каналов 22. Далее при выходе огня на линию раздела запрессовок 20-21 последняя равномерно воспламеняется и стабильно горит по торцу, нечувствительно к перепаду давления, который возникает внутри взрывателя при открытой крышке 2.
При сгорании шлаковых составов запрессовок 20 и 21 образуется несущий каркас коксового остатка, который противодействует пружине 23 и удерживает шток 18 в кинематическом зацеплении с заслонкой 16.
В расчетное время, когда догорает запрессовка 21, пружина 23 преодолевает сопротивление каркаса (спекшегося кокса) из шлакового остатка пиротехнического заряда и внедряет внутрь шток 18, который опускается. При этом освобождается поперечная заслонка 16, которая пружиной 15 перемещается в крайнее левое (по чертежу) положение, выводя накольный капсюль-детонатор 17 под боек 5. Взрыватель готов к действию на дистанции полета боеприпаса в узком заданном диапазоне 30-40 м, оптимальном для эффективного поражения цели и безопасности.
При встрече с преградой крышка 2, сжимая пружины 7, 14 и 6, реакционно перемещается вниз и динамично толкает боек 5, который накалывает капсюль-детонатор 17. Срабатывание капсюля-детонатора 17 инициирует детонацию капсюля-детонатора 4, который инициирует наполнение боеприпаса.
В случае, когда боеприпас не встречает цель на траектории или не срабатывает при встрече с преградой, по истечении заданного времени горения порохового состава 26 в кольцевой дорожке 27 форс пламени устройства самоликвидации поступает в огневую цепь и инициирует лучевой капсюль-детонатор 4, в результате чего боеприпас подрывается.
Таким образом осуществляется многофункциональное стабильное во времени действие ударного малогабаритного головного взрывателя, пригодного для использования в различных артиллерийских боеприпасах, минах и гранатах.
Формула изобретения
1. Головной взрыватель, содержащий узел воспламенения, осевой боек, взаимодействующий с реакционным ударником, оснащенным инерционным приводом, механизм дальнего взведения, включающий пиротехнический заряд, на котором размещен подпружиненный стопорный шток поперечной шиберной заслонки, несущей накольный капсюль-детонатор, устройство самоликвидации и лучевой капсюль-детонатор, отличающийся тем, что стопорный шток механизма дальнего взведения опирается непосредственно на пиротехнический заряд, при этом площадь его опоры составляет 1/3…1/2 поперечного сечения заряда, который выполнен слоеным из шлакообразующих составов с разной плотностью запрессовки, причем к нижнему слою с меньшей плотностью запрессовки примыкают распределенные по периферии пироприемные каналы коммутации с узлом воспламенения.
2. Головной взрыватель по п.1, отличающийся тем, что коммуникационные каналы заряда механизма дальнего взведения заполнены пиротехническим составом его нижнего слоя.
РИСУНКИ
|
|