|
(21), (22) Заявка: 2006100130/02, 10.01.2006
(24) Дата начала отсчета срока действия патента:
10.01.2006
(46) Опубликовано: 27.09.2007
(56) Список документов, цитированных в отчете о поиске:
RU 21435 U1, 10.08.2003. RU 2003134265 А, 10.05.2005. SU 1370411 A1, 30.01.1988. RU 2040756 C1, 25.07.1995. US 3059912 A, 23.10.1962.
Адрес для переписки:
620012, г.Екатеринбург, пл. I Пятилетки, ООО “Уралмаш-Метоборудование”
|
(72) Автор(ы):
Доронин Дмитрий Николаевич (RU), Жилкин Владимир Прокопьевич (RU), Скоринов Анатолий Михайлович (RU), Скачкова Софья Семеновна (RU)
(73) Патентообладатель(и):
Общество с ограниченной ответственностью “Уралмаш-Металлургическое оборудование” (RU)
|
(54) СПЕКАТЕЛЬНАЯ ТЕЛЕЖКА АГЛОМЕРАЦИОННОЙ МАШИНЫ
(57) Реферат:
Изобретение относится к тележкам конвейерных агломерационных машин и касается конструкции продольного уплотнения вакуум-камер. Спекательная тележка содержит корпус с ходовыми роликами и продольное уплотнение, смонтированное в пазу корпуса Т-образного профиля. Уплотнение выполнено в виде взаимодействующей с уплотняющей поверхностью вакуум-камеры подвижной пластины с торцевыми прорезями. В торцевых прорезях с зазором размещены укрепленные в корпусе пальцы. Подвижная пластина снабжена упорами, имеющими возможность контакта с площадками профильного паза. При этом величина хода упоров в головке профильного паза корпуса меньше возможного хода пальцев в торцевых прорезях подвижной пластины. Тележка также снабжена съемными фиксаторами подвижной пластины в крайнем верхнем положении, размещенными между площадками профильного паза тележки и нижней поверхностью упоров подвижной пластины. Изобретение позволит предотвратить выпадение подвижной пластины уплотнения, повысить ремонтопригодность и обеспечить возможность унификации тележек. 1 з.п. ф-лы, 8 ил.
Изобретение относится к области производства железорудного сырья в черной металлургии, а более конкретно к тележкам конвейерных агломерационных машин и касается конструкции продольного уплотнения вакуум-камер.
Известна тележка агломерационной машины с продольным уплотнением, состоящим из уплотнительных пластин скольжения сопрягаемых между собой подпружиниванием или снизу или сверху (Юсфин Ю.С. Производство агломерата и окатышей М., Металлургия 1984 г. стр.140, рис.35). Недостатком тележки с таким уплотнением является сложность конструкции и низкая надежность.
Известна тележка агломерационной машины с продольным уплотнением, которое состоит из верхней пластины, закрепленной на тележке, и нижней пластины, закрепленной консольно на вакуум-камере с изгибом из условия изначального подпружинивания, что обеспечивает беззазорное сопряжение верхней и нижней пластины (Патент России RU 2040756 МКИ F27B 21/06).
Недостатком этой конструкции является достаточно быстрое ослабление подпружинивания, что приводит к нарушению сопряжения пластин уплотнения и, соответственно, к нарушению герметизации.
Известна тележка конвейерной агломашины с продольным уплотнением вакуум-камер (Авторское свидетельство СССР SU 1370411 МКИ F27B 21/06), принятое в качестве прототипа, содержащее взаимодействующую с уплотняющей поверхностью вакуум-камеры и размещенную в продольном пазу тележки подвижную пластину с продольными и поперечными перемычками и торцевыми прорезями, в которых с зазором размещены укрепленные в корпусе тележки агломашины пальцы. Минимальная величина возможного вертикального перемещения пальцев в торцевых прорезях должна компенсировать изменение уровня сопрягаемых поверхностей подвижной пластины и уплотняющей поверхности вакуум-камеры, например вследствие износа.
Это уплотнение обеспечивает постоянный прижим подвижной пластины к уплотняющей поверхности за счет разницы давлений в полостях, образованных перемычками в подвижной пластине, что практически исключает нарушение герметизации, однако пальцы, посредством которых подвижная пластина взаимодействует с корпусом тележки, являются конструктивно слабым элементом и в процессе эксплуатации могут срезаться из-за воздействия нештатных горизонтальных усилий, например, при зацеплении подвижной пластины за внешнее препятствие или выпадать при нарушении крепления, а при переходе тележки с рабочей ветви на холостую пальцы испытывают повышенную нагрузку, поскольку воспринимают усилия от веса подвижной пластины, воспринимаемые на горизонтальных участках траектории уплотняющей поверхностью вакуум-камеры или внутренней горизонтальной поверхностью паза тележки, что дополнительно снижает срок их службы. В случае поломки даже одного пальца и при заходе тележки на радиальный участок траектории происходит выпадение подвижной пластины уплотнения из паза тележки и создается аварийная ситуация, что существенно усложняет ремонт и увеличивает простои оборудования и, соответственно, снижает производительность агломашины.
К недостаткам данной конструкции следует отнести также то, что величина возможного перемещения пластины относительно пальцев превышает минимальную, для исключения возможности застревания кусочков агломерата между корпусом тележки и элементами подвижной пластины, вследствие чего при выходе тележки на радиальную траекторию подвижная пластина, повисая на пальцах, опускается слишком низко и начинает задевать подвижную пластину соседней тележки, что приводит к повышенному износу и может спровоцировать заклинивание агломашины.
Кроме этого, на практике часто возникает необходимость в унификации тележек, т.е. необходимо обеспечить возможность работы тележки с разного рода продольными уплотнениями, например машина работает с пружинными продольными уплотнениями (например, конструкция по патенту России RU 2040756), а сменный парк состоит из тележек с подвижной пластиной. Для осуществления такой возможности следует зафиксировать подвижную пластину в крайнем верхнем положении, однако конструкция паза известной тележки не позволяет сделать этого оптимальным образом.
Задача, решаемая изобретением, заключается в предотвращении выпадения подвижной пластины уплотнения и повышении ремонтопригодности, а также в обеспечении возможности унификации тележек.
Эта задача решается следующим образом.
В известной спекательной тележке агломерационной машины, содержащей корпус с ходовыми роликами и смонтированное в пазу корпуса продольное уплотнение в виде взаимодействующей с уплотняющей поверхностью вакуум-камеры подвижной пластины с торцевыми прорезями, в которых с зазором размещены укрепленные в корпусе пальцы, согласно изобретению паз корпуса тележки выполнен Т-образного профиля, а подвижная пластина снабжена упорами, имеющими возможность контакта с площадками профильного паза, при этом величина хода упоров в головке профильного паза корпуса меньше возможного хода пальцев в торцевых прорезях подвижной пластины.
Кроме этого, тележка снабжена съемным фиксатором подвижной пластины в крайнем верхнем положении, размещенным между площадками профильного паза тележки и нижней поверхностью упоров подвижной пластины.
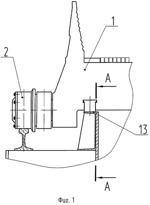
На фиг.1 изображен общий вид предлагаемой тележки.
На фиг.2 изображен разрез А-А на фиг.1 (подвижная пластина со стороны вакуум-камеры).
На фиг.3 изображен разрез Б-Б на фиг.2 (подвижная пластина в рабочем положении.
На фиг.4 – то же, повернуто на 180° (подвижная пластина в холостом положении).
На фиг.5 изображено положение подвижной пластины на радиальном участке траектории.
На фиг.6 – разрез В-В на фиг.2.
На фиг.7 изображен съемный фиксатор.
На фиг.8 изображена подвижная пластина в крайнем верхнем положении с установленными в профильном пазу фиксаторами.
Спекательная тележка агломерационной машины содержит корпус 1 с ходовыми роликами 2 и смонтированное в пазу 3 корпуса 1 продольное уплотнение в виде подвижной пластины 4 с полостями 5, 6 и торцевыми прорезями 7, в которых с зазорами «e» и возможностью хода «h» размещены укрепленные в корпусе 1 пальцы 8. Паз 3 корпуса тележки выполнен Т-образного профиля, а подвижная пластина 4 снабжена упорами 9, имеющими возможность контакта с площадками «а» и «в» профильного паза 3, при этом величина хода «h1» упоров 9 в головке профильного паза 3 корпуса 1 меньше возможного хода «h» пальцев 8 в торцевых прорезях 7 подвижной пластины 4.
Тележка снабжена съемными фиксаторами 10 подвижной пластины 4 в крайнем верхнем положении, размещенными между площадкой «а» профильного паза 3 тележки и нижней поверхностью упоров 9 подвижной пластины 4.
Фиксатор 10 выполнен в виде пластины 11 с полукруглым шипом 12, соответствующим конфигурации прорези 7.
Спекательная тележка агломерационной машины работает следующим образом.
При перемещении тележки над вакуум-камерой подвижная пластина 4 под действием собственного веса опускается на уплотняющую поверхность 13 вакуум-камеры и вследствие разности давлений в полостях 5 и 6 постоянно поджимается к ней. В случае отсутствия необходимости значительного поджатия подвижная пластина может быть выполнена без полостей и прижиматься только под действием собственного веса.
При колебаниях уровня контактных поверхностей подвижной пластины 4 и уплотняющей поверхности 13 подвижная пластина 4 перемещается в пазу 3 корпуса 1, при этом пальцы 8 перемещаются в торцевых прорезях 7 корпуса 1 с возможностью хода «h», а упоры 9 перемещаются в головке Т-образного паза 3 с возможностью хода «h1». При заходе корпуса 1 тележки на радиальный участок траектории перемещения, поскольку «h1»<«h», подвижная пластина 4 повисает на упорах 9, при этом даже при аварийном срезании одного пальца 8 подвижная пластина 4 предохранена от выпадения и машина может продолжать работу до плановой остановки. Таким образом, пальцы 8 всегда взаимодействуют только с боковыми поверхностями торцевых прорезей 7, ограничивая продольное смещение подвижной пластины 4 в пазу 3, разгружены от вертикальных усилий, что дополнительно повышает срок их службы. Кроме этого, обеспечивается минимальное перемещение подвижной пластины 4, которое не позволяет пластинам соседних тележек контактировать на радиальном участке траектории, что предотвращает их преждевременный износ и заклинивание агломашины, притом что достаточная величина торцевых прорезей 7 обеспечивает свободное выпадение застрявших кусочков агломерата.
В случае необходимости использования данной тележки с уплотнениями другого рода, например пружинными, в паз 3 устанавливают съемный фиксатор 10, закрепляя подвижную пластину 4 в крайнем верхнем положении. При этом пластина 11 фиксатора находится между упором 9 и плоскостью «а» паза 3, а шип 12 фиксатора 10 входит в торцевую прорезь 7. В таком виде тележка может быть установлена на машину, оборудованную пружинными уплотнениями, и использоваться до полной замены всех тележек и перехода на описанный тип уплотнения.
Формула изобретения
1. Спекательная тележка агломерационной машины, содержащая корпус с ходовыми роликами и смонтированное в пазу корпуса продольное уплотнение в виде взаимодействующей с уплотняющей поверхностью вакуум-камеры подвижной пластины с торцевыми прорезями, в которых с зазором размещены укрепленные в корпусе пальцы, отличающаяся тем, что паз корпуса тележки выполнен Т-образного профиля, а подвижная пластина снабжена упорами, имеющими возможность контакта с площадками профильного паза, при этом величина хода упоров в головке профильного паза корпуса меньше возможного хода пальцев в торцевых прорезях подвижной пластины.
2. Спекательная тележка агломерационной машины по п.1, отличающаяся тем, что она снабжена съемными фиксаторами подвижной пластины в крайнем верхнем положении, размещенными между площадками профильного паза тележки и нижней поверхностью упоров подвижной пластины.
РИСУНКИ
PC4A – Регистрация договора об уступке патента СССР или патента Российской Федерации на изобретение
Прежний патентообладатель:
Общество с ограниченной ответственностью “Уралмаш – Металлургическое оборудование”
(73) Патентообладатель:
Общество с ограниченной ответственностью “Уралмаш – Инжиниринг”
Договор № РД0039344 зарегистрирован 08.08.2008
Извещение опубликовано: 20.09.2008 БИ: 26/2008
|