|
|
(21), (22) Заявка: 2005133921/02, 02.11.2005
(24) Дата начала отсчета срока действия патента:
02.11.2005
(43) Дата публикации заявки: 10.05.2007
(46) Опубликовано: 27.09.2007
(56) Список документов, цитированных в отчете о поиске:
RU 2037760 C1, 19.06.1995. RU 2210708 С2, 20.08.2003. RU 6221 U1, 16.03.1998. JP 62-48795 A, 15.10.1987.
Адрес для переписки:
620012, г.Екатеринбург, пл. I Пятилетки, ООО “Уралмаш-Метоборудование”
|
(72) Автор(ы):
Доронин Дмитрий Николаевич (RU), Жилкин Владимир Прокопьевич (RU), Скоринов Анатолий Михайлович (RU), Скачкова Софья Семеновна (RU)
(73) Патентообладатель(и):
Общество с ограниченной ответственностью “Уралмаш-Металлургическое оборудование” (RU)
|
(54) КОЛОСНИКОВАЯ ТЕЛЕЖКА АГЛОМЕРАЦИОННОЙ МАШИНЫ
(57) Реферат:
Изобретение относится к агломерационному оборудованию для окускования руд и концентратов и касается конструкции колосниковых тележек. Тележка содержит раму с несущими балками ходовых роликов, колосниковую решетку и борта, выполненные разъемными по высоте из двух частей. Нижняя часть борта выполнена отъемной на нижнем уровне транспортируемого материала и состоит из нескольких поперечных деталей, смонтированных с зазорами между ними. При этом верхняя часть борта выполнена в виде плоского листа, в котором выполнены верхний и нижний ряды прорезей, смещенных относительно друг друга в продольном направлении и перекрывающихся в средней части на величину =0,1-0,3 высоты верхней части борта. Нижняя часть борта имеет уширение относительно продольной оси тележки на величину b=0,02-0,04 ширины колосниковой решетки тележки. Выполнение указанным образом верхней и нижних частей борта позволяет соответственно исключить использование профильного проката специальной формы с сохранением прочностных характеристик, исключить трещинообразование нижней части борта, исключить дополнительные механические напряжения в зоне соединения верхней и нижней частей борта, а также повысить ремонтопригодность тележки в целом и обеспечить повышение производительности. 1 з.п. ф-лы, 3 ил.
Изобретение относится к области черной и цветной металлургии, а более конкретно к агломерационному оборудованию для окускования руд и концентратов, и касается конструкции колосниковых тележек.
Известна колосниковая тележка агломерационной машины (Авторское свидетельство СССР №578547, МКИ F21B 21/04), содержащая раму с несущими балками ходовых роликов и стационарные борта, соединенные со съемными бортами, имеющими форму асимметричной полосы с продольными гребнями с наружной стороны тележки. Недостатком этой тележки является низкая производительность и низкая стойкость съемных бортов, а также повышенная себестоимость изготовления.
Известна колосниковая тележка агломерационной машины (Авторское свидетельство СССР №1370410, МКИ F27B 21/04), содержащая раму с несущими балками ходовых роликов и стационарные борта, установленные на расстоянии между собой с их внутренней стороны, равном 0,92-0,96 расстояния между ребордами ходовых роликов, и соединенные со съемными бортами, выполненными из профильного проката и имеющими продольные гребни с наружной стороны тележки, высота которых составляет 0,25-0,35 высоты съемных бортов. Производительность увеличивается за счет увеличения площади колосниковой тележки, а стойкость съемных бортов увеличивается за счет определенной конфигурации гребней, при этом себестоимость снижается за счет выполнения съемных бортов из профильного проката.
Недостатком этой тележки является недостаточная стойкость и надежность, обусловленная наличием стационарных бортов, отлитых зацело с рамой тележки, в которых из-за различия температурных режимов нагрева рамы и бортов возникают опасные температурные напряжения, вызывающие трещины. Помимо этого, отлитые зацело с массивным корпусом нижние борта не имеют возможности одинакового расширения с верхними бортами, поскольку отличаются по режиму нагрева, коэффициентам температурного расширения, вследствие чего в верхнем борту возникают дополнительные механические напряжения в местах его крепления. Кроме этого, отлитые зацело стационарные борта и сложная конфигурация съемных бортов, выполненных из профильного проката, значительно усложняют изготовление тележки и увеличивают ее себестоимость. Ремонтопригодность тележки неудовлетворительная, т.к. в условиях производства не всегда найдется прокат редкого профиля для замены износившихся съемных бортов, а при возникновении дефектов стационарных бортов приходится заменять раму целиком.
Задача, решаемая изобретением, заключается в устранении возможности трещинообразования части бортов, примыкающей к колосниковой решетке, исключении механических напряжений в зоне стыковки частей борта, упрощении конструкции и повышении ремонтопригодности путем использования для изготовления бортов тележки листового проката.
Эта задача решается следующим образом.
В известной колосниковой тележке агломерационной машины, содержащей раму с несущими балками ходовых роликов, колосниковую решетку и борта, выполненные разъемными из двух частей, СОГЛАСНО ИЗОБРЕТЕНИЮ нижняя часть борта выполнена отъемной на уровне перемещаемого материала и состоит из нескольких поперечных деталей, смонтированных с зазорами между ними, при этом верхняя съемная часть борта выполнена в виде плоского листа, в котором выполнены верхний и нижний ряды прорезей, смещенных относительно друг друга в продольном направлении и перекрывающихся в средней части на величину =0,1-0,3 высоты верхнего борта.
Кроме этого, нижняя часть борта имеет уширение относительно продольной оси тележки на величину b=0,02-0,04 ширины колосниковой решетки.
Выполнение указанным образом верхней и нижней частей борта позволяет соответственно исключить использование профильного проката специальной формы с сохранением прочностных характеристик, исключить трещинообразование нижней части борта, исключить дополнительные механические напряжения в зоне соединения верхней и нижней частей борта, а также повысить ремонтопригодность тележки в целом и обеспечить повышение производительности.
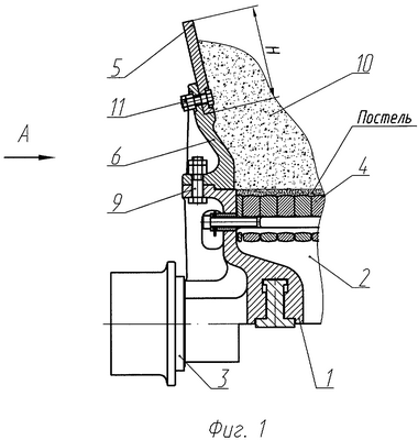
На фиг.1 изображен общий вид предлагаемой тележки.
На фиг.2 изображен вид на борт тележки (вид А на фиг.1).
На фиг.3 изображена эпюра распределения напряжений по борту тележки.
Колосниковая тележка агломерационной машины состоит из рамы 1 с несущими балками 2 ходовых роликов 3, колосниковой решетки 4 и бортов, выполненных разъемными из двух частей верхней 5 и нижней 6. Нижняя часть 6 борта выполнена в виде литых деталей 7, 8, имеющих уширение b=0,02-0,04 ширины В колосниковой решетки 4 тележки и закрепленных болтовым соединением 9 на раме 1 тележки на нижнем уровне размещения транспортируемой шихты 10. Зазор е1 между деталями 7, 8 составляет 2 мм. Верхняя часть 5 борта выполнена в виде плоского листа, прикрепленного посредством болтового соединения 11 к нижней части 6 борта.
Верхняя часть 5 борта имеет прорези 12, размещенные в местах наибольших напряжений по ее высоте, которые установлены эмпирическим путем. Согласно полученным эпюрам напряжений (фиг.3) выполнен верхний и нижний ряды прорезей 12, смещенных относительно друг друга в продольном направлении и перекрывающихся в средней части на величину =0,1-0,3 высоты Н верхней части 5 борта.
Наличие прорезей 12 препятствует образованию термоусталостных трещин в местах максимальных температурных напряжений, обусловленных неравномерным нагревом бортов в циклическом режиме. Перекрытие обеспечивает возможность температурных расширений по всей высоте верхней части 5 борта, что исключает появление температурных трещин. При уменьшении перекрытия происходит образование трещин в средней зоне части 5 борта. При увеличении перекрытия происходит ослабление конструкции верхней части 5 борта.
Ширина прорезей в сумме составляет не менее 8 мм, а ширина каждой прорези e2 в отдельности не превышает 4 мм. При суммарной ширине прорезей менее 8 мм и при нагреве верхних кромок бортов до температуры 500-600°С (установлено экспериментально) длина верхней части 5 борта по верху за счет температурного расширения выходит за габарит тележки, что приводит к деформациям. При ширине прорези более 4 мм через нее происходит высыпание шихты.
Выполнение верхней части 5 борта указанным образом позволяет изготовлять ее из плоского листа с сохранением всех прочностных характеристик за счет снятия температурных напряжений в местах их повышения. При этом уменьшается вес детали, а замена профильного проката на лист обеспечивает возможность ее оперативного изготовления на месте эксплуатации.
Выполнение нижней части борта 6 отъемной на нижнем уровне транспортируемого горячего материала позволяет выполнить ее из нескольких частей и в совокупности с упомянутым разъемом исключить возникновение в ней температурных трещин. Кроме этого, отъемная нижняя часть борта улучшает ремонтопригодность, так как в случае износа замене подлежит только непосредственно она.
Прорези 12 в верхней части 5 борта и наличие зазора е1 между деталями 7, 8 нижней части 6 борта в совокупности обеспечивают соразмерное расширение верхней и нижней части бортов и устраняют дополнительные механические нагрузки.
Уширение b нижней части 6 борта обеспечивает увеличение площади транспортируемого материала и, следовательно, производительности агломерационной машины на 4-8%.
При величине уширения b менее 0,02 ширины колосниковой решетки тележки эффект уширения становится несущественным, а при величине b более 0,04 у бортов образуются застойные зоны с худшим спеканием шихты.
Формула изобретения
1. Колосниковая тележка агломерационной машины, содержащая раму с несущими балками ходовых роликов, колосниковую решетку и борта, выполненные разъемными по высоте из двух частей, отличающаяся тем, что нижняя часть борта выполнена отъемной на нижнем уровне транспортируемого материала и состоит из нескольких поперечных деталей, смонтированных с зазорами между ними, при этом верхняя часть борта выполнена в виде плоского листа, в котором выполнены верхний и нижний ряды прорезей, смещенных относительно друг друга в продольном направлении и перекрывающихся в средней части на величину =0,1-0,3 высоты верхней части борта.
2. Колосниковая тележка агломерационной машины по п.1, отличающаяся тем, что нижняя часть борта имеет уширение относительно продольной оси тележки на величину b=0,02-0,04 ширины колосниковой решетки тележки.
РИСУНКИ
PC4A – Регистрация договора об уступке патента СССР или патента Российской Федерации на изобретение
Прежний патентообладатель:
Общество с ограниченной ответственностью “Уралмаш – Металлургическое оборудование”
(73) Патентообладатель:
Общество с ограниченной ответственностью “Уралмаш – Инжиниринг”
Договор № РД0039345 зарегистрирован 08.08.2008
Извещение опубликовано: 20.09.2008 БИ: 26/2008
|
|