|
|
(21), (22) Заявка: 2006109300/06, 23.03.2006
(24) Дата начала отсчета срока действия патента:
23.03.2006
(46) Опубликовано: 27.09.2007
(56) Список документов, цитированных в отчете о поиске:
RU 2230258 C1, 10.06.2004. RU 2254161 C1, 20.06.2005. RU 2130152 C1, 10.05.1999. RU 2186612 C1, 10.02.2002. US 4753784 А, 28.06.1988.
Адрес для переписки:
305040, г.Курск, ул. 50 лет Октября, 94, КурскГТУ, ОИС
|
(72) Автор(ы):
Ежов Владимир Сергеевич (RU)
(73) Патентообладатель(и):
Государственное образовательное учреждение высшего профессионального образования “Курский государственный технический университет” (RU)
|
(54) ПОЛИФУНКЦИОНАЛЬНЫЙ СТРУЙНЫЙ ВОЗДУХОПОДОГРЕВАТЕЛЬ
(57) Реферат:
Изобретение относится к теплоэнергетике, а именно к использованию тепла дымовых газов котельных агрегатов и промышленных печей при нагреве воздуха, подаваемого на горение. Технической задачей, на решение которой направлено изобретение, является уменьшение содержания в охлажденных дымовых газах агрессивных и вредных примесей для повышения эффективности и экологической безопасности устройства. Технический результат достигается тем, что полифункциональный струйный воздухоподогреватель содержит газовый короб с размещенными в нем тепловой камерой, в начале которой от коллектора холодного воздуха через днище пропущены патрубки холодного воздуха, заканчивающиеся щелевыми соплами холодного воздуха, размещенными параллельно друг к другу и направленными в сторону движения дымовых газов, устроенные соосно напротив каждого сопла холодного воздуха промежуточные ловушки-конфузоры, заканчивающиеся промежуточными щелевыми соплами, а в конце тепловой камеры помещен ряд ловушек горячего воздуха, соединенных через патрубки горячего воздуха с коллектором горячего воздуха, камерой очистки с коническим днищем, соединенным через гидрозатвор с дренажным трубопроводом, в которой помещены параллельно ходу газов перфорированные кассеты, покрытые слоем гидроокиси кальция (Са(ОН)2) с газовыми каналами между собой, прикрепленные к крышке кассет, и вертикальные сепарационные пластины, прикрепленные под углом относительно нормали движения дымовых газов к крышке отбойных пластин. 1 ил.
Предлагаемое изобретение относится к теплоэнергетике, а именно к использованию тепла дымовых газов котельных агрегатов и промышленных печей при нагреве воздуха, подаваемого на горение.
Известен дымовсасывающий струйный воздухоподогреватель, содержащий газоход, полую теплообменную камеру с встроенными в ее ограждения перфорированными досками, закрытыми коробами с входными и выходными патрубками холодного и горячего воздуха, соединенными через отверстия в перфорированных досках внутри теплообменной камеры с воздушными соплами и ловушками горячего воздуха, образующими между собой каналы дымовых газов [1].
Основным недостатком известного устройства является невозможность существенного нагрева воздуха без подмешивания в него значительного количества дымовых газов, что снижает эффективность его работы.
Более близким к предлагаемому изобретению является устройство, содержащее газовый короб с размещенной в нем тепловой камерой, в начале которой от коллектора холодного воздуха через днище пропущены патрубки холодного воздуха, заканчивающиеся щелевыми соплами холодного воздуха, размещенными параллельно друг к другу и направленными в сторону движения дымовых газов, устроенные соосно напротив каждого сопла холодного воздуха промежуточные ловушки-конфузоры, заканчивающиеся промежуточными щелевыми соплами, а в конце газового короба помещен ряд ловушек горячего воздуха, размещенных аналогично промежуточным ловушкам-конфузорам и соединенным через патрубки горячего воздуха с коллектором горячего воздуха [2].
К недостаткам известного устройства относится наличие в дымовых газах после их охлаждения до температуры ниже точки росы капель агрессивного конденсата, содержащего кислотные компоненты, и газообразных окислов азота и окислов серы, влекущее за собой интенсивный коррозионный износ следующих по ходу газа газоходов и оборудования, загрязнение окружающей атмосферы, что снижает его эффективность и экологическую безопасность.
Технической задачей, на решение которой направлено предлагаемое изобретение, является уменьшение содержания в охлажденных дымовых газах агрессивных и вредных примесей для повышения эффективности и экологической безопасности устройства.
Технический результат достигается тем, что предлагаемый полифункциональный струйный воздухоподогреватель (ПФСВП) содержит газовый короб с размещенными в нем тепловой камерой, в начале которой от коллектора холодного воздуха через днище пропущены патрубки холодного воздуха, заканчивающиеся щелевыми соплами холодного воздуха, размещенными параллельно друг к другу и направленными в сторону движения дымовых газов, устроенные соосно напротив каждого сопла холодного воздуха промежуточные ловушки-конфузоры, заканчивающиеся промежуточными щелевыми соплами, а в конце тепловой камеры помещен ряд ловушек горячего воздуха, соединенных через патрубки горячего воздуха с коллектором горячего воздуха, после ловушек горячего воздуха в газовом коробе устроена камера очистки с коническим днищем, соединенным через гидрозатвор с дренажным трубопроводом, в которой помещены параллельно ходу газов перфорированные кассеты, покрытые слоем гидроокиси кальция (Са(ОН)2) с газовыми каналами между собой, прикрепленные к крышке кассет, и вертикальные сепарационные пластины, прикрепленные под углом относительно нормали движения дымовых газов к крышке сепарционных пластин, обеспечивающим минимальное гидравлическое сопротивление.
В основу работы предлагаемого ПФСВП положены свойства затопленной турбулентной струи воздуха, в частнос,ти плоской струи, которая, распространяясь в направлении истечения перемешивается с окружающей газовой средой, причем перемешивание сопровождается вовлечением в воздушную струю масс газовой среды, сообщением периферийной части газовой среды движения, совпадающего с направлением струи. При этом наряду с перемешиванием граничных слоев воздушной струи и газовой среды происходит интенсивный теплообмен между ними, значительно превышающий скорость теплопередачи через стенку, так как в этом случае отсутствует термическое сопротивление стенки с загрязнениями, и конвективный теплообмен осуществляется непосредственно между частицами воздуха и газа, а также начинает играть существенную роль лучистый теплообмен, что приводит к быстрому выравниванию температуры воздушной струи и газовой среды [3, с.326-339], [4, с.50-60]. Кроме того, частичное смешение воздуха с дымовыми газами и последующее использование полученной смеси для горения позволяет уменьшить содержание в дымовых газах NOx и SOx [5, с.457]. Для уменьшения перемешивания воздушной струи с дымовыми газами с одновременным обеспечением высокой температуры ее нагрева используется повторное сжатие одной и той же воздушной струи, что позволяет снизить градиент скорости на оси струи и соответственно количество примеси дымовых газов в ней [6, с.378]. Уменьшение концентрации в охлажденных дымовых газах при их охлаждении до температуры ниже точки росы капель агрессивного конденсата газообразных окислов азота и окислов серы обеспечивается путем взаимодействия этих примесей с гидроокисью кальция, улавливанием капель агрессивного конденсата и отвода его из рабочей зоны [7, с., с.275, 415, 483], [8, с.348], [9, с.227].
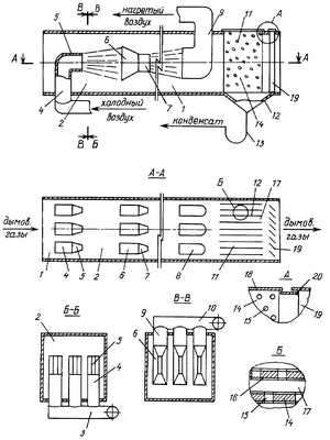
На чертеже изображен полифункциональный струйный воздухоподогреватель (ПФСВП).
ПФСВП содержит газовый короб 1 с размещенными в нем тепловой камерой 2, в начале которой от коллектора холодного воздуха 3 через днище пропущены патрубки холодного воздуха 4, заканчивающиеся щелевыми соплами холодного воздуха 5, размещенными параллельно друг к другу и направленными в сторону движения дымовых газов, устроенные соосно напротив каждого сопла холодного воздуха 5 промежуточные ловушки-конфузоры 6, заканчивающиеся промежуточными щелевыми соплами 7, а в конце тепловой камеры 2 помещен ряд ловушек горячего воздуха 8, размещенных аналогично промежуточным ловушкам-конфузорам 6 и соединенным через патрубки горячего воздуха 9 с коллектором горячего воздуха 10, камерой очистки 11 с коническим днищем 12, соединенным через гидрозатвор 13 с дренажным трубопроводом, в которой помещены параллельно ходу газов перфорированные кассеты 14 с отверстиями 15, покрытые слоем гидроокиси кальция (Са(ОН)2) 16 с газовыми каналами между собой, прикрепленные к крышке кассет 18, и вертикальные сепарационные пластины 19, прикрепленные под углом относительно нормали движения дымовых газов к крышке сепарационных пластин 20, обеспечивающим минимальное гидравлическое сопротивление [10, с.87].
Предлагаемый ПФСВП работает следующим образом. Дымовые газы при разрежении, соответствующем режиму работы котельного агрегата или промышленной печи, поступают из газового короба 1 в тепловую камеру 2, куда также вентилятором высокого давления по коллектору холодного воздуха 3 через входные патрубки 4 из щелевых сопел 5, количество которых выбирается, исходя из условия создания устойчивых плоских струй со скоростью воздуха, достаточной для последующих сжатий и образования повторных струй, воздух подают в виде параллельных плоских струй, нагреваемых со всех сторон движущимися дымовыми газами, увлекаемыми этими струями, которые далее попадают в промежуточные ловушки-конфузоры 6. При этом в пограничных слоях происходит частичное перемешивание и вовлечение в воздушные струи некоторой части дымовых газов, интенсивный конвективный и лучистый теплообмен между дымовыми газами и воздухом и соответственно быстрый нагрев воздушных струй и охлаждение дымовых газов. Нагретые до промежуточной температуры и частично смешанные с дымовыми газами воздушные струи в промежуточных ловушках-конфузорах 6, расстояние до которых определяется, исходя из условий обеспечения достаточной кинетической энергии струи для повторного сжатия и истечения повторных струй при заданном промежуточном смешении и соответствующей ему температуре нагрева, сжимаются и истекают из промежуточных сопел 7 в виде повторных плоских струй. При этом площади входных сечений ловушек-конфузоров 6 должны соответствовать заданному расходу воздуха при скорости струи на заданном расстоянии от сопла, а площади сечений промежуточных сопел 7 – созданию устойчивых повторных плоских струй со скоростью воздуха меньшей, чем у первоначальной струи, но достаточной для последующего сжатия и истечения, которые взаимодействуют с дымовыми газами аналогично вышеописанному. Нагретые до требуемой температуры воздушные струи с некоторой примесью дымовых газов, количество которых задают из требуемой рециркуляции, попадают в прямоугольные входные отверстия ловушек горячих струй 8, расположенных аналогично ловушкам-конфузорам 6, с площадью, соответствующей расходу горячего воздуха при скорости входа струи в ловушки 8, откуда через выходные патрубки 9, коллектор горячего воздуха 10 воздух подают для проведения процесса горения в топку котельного агрегата или промышленную печь, а охлажденные до температуры ниже токи росы дымовые газы, содержащие капли агрессивного конденсата и подмешанный воздух, поступают в камеру очистки 11 со скоростью большей, чем на входе в тепловую камеру 2, что обусловлено передачей им части энергии воздушных струй. При этом в камере очистки 11 ввиду наличия в дымовых газах кислорода воздуха и капель конденсата, а также относительно низкой температуры (80-90)°С в газовой фазе протекают реакции окисления вредных примесей (NOx и SOx) до легкорастворимых в воде двуокиси азота и серного ангидрида (NO2 и SO3, абсорбции их конденсатом с образованием азотной и серной кислот (HNO3 и H2SO4), после чего обогащенный кислотными компонентами конденсат совместно с дымовыми газами проходит газовые каналы 17 между перфорированными кассетами 14, покрытыми слоем гашеной извести (Ca(ОН)2), с которой происходят химические реакции находящихся в дымовых газах окислов азота (NOx), капель кислого конденсата, двуокиси углерода (CO2), с образованием нитрита кальция (Ca(NO2)2), углекислого кальция (СаСО3), нитрата кальция (Ca(NO3)2) [6, с.с.415, 483], [8, с.406], [9, с.227], после чего очищенные от большей части вредных примесей (NOx, СО2, пары воды) дымовые газы ударяются о сепарационные пластины 19, освобождаясь от уносимых капель конденсата, и выводятся в атмосферу, а кислый конденсат стекает в поддоне 12, откуда через гидрозатвор 13 и дренажный трубопровод отводится к потребителю.
Отработавшие пакеты перфорированных кассет 14 меняют на регенерированные по мере их насыщения, что определяется опытным путем. Процесс регенерации заключается в том, что отработанные кассеты 14 очищают от слоя покрытия 16, которое после их использования состоит из смеси углекислого кальция, нитрита и нитрата кальция, и снова покрывают слоем гашеной извести (Ca(OH)2), после чего повторно используют для очистки дымовых газов. Компоненты вышеописанных реакций, составляющие отработанный слой покрытия 16, являются азотсодержащими веществами и могут быть использованы в качестве азотных удобрений в сельском хозяйстве [11, с.227], а кислый конденсат из поддона. 12, обогащенный кислотными компонентами и двуокисью углерода, – для последующей обработки и добавки в подпиточную воду.
Таким образом, предлагаемый ПФСВП позволяет при охлаждении дымовых газов до температуры ниже точки росы уменьшить содержание агрессивных и вредных веществ в охлажденных дымовых газах, уменьшить коррозионный износ металла, утилизировать уловленные вредные компоненты, что повышает эффективность устройства и экологическую безопасность его работы.
Литература
1. Пат. России №2230258, Мкл. F23L 15/04, 2002.
2. Заявка 2003131109/06 России, Мкл F23L 15/00, БИМП №10, 2005.
3. А.Д.Альтшуль и др. Гидродинамика и аэродинамика. – М.: Стройиздат, 1983, 415 с.
4. И.А.Шепелев. Аэродинамика воздушных потоков в помещении. – М.: Стройиздат, 1978, 145 с.
5. Г.М.Делягин и др. Теплогенерирующие установки. – М.: Стройиздат, 1986, 560 с.
6. Г.Н.Абрамович. Прикладная газовая динамика. -М.: Наука, 1976, 888 с.
7. К.Неницеску. Общая химия. – Мир.: 1968, 448 с.
8. А.М.Кутепов. Общая химическая технология. – М.: Высшая школа, 1985, 448 с.
9. Н.И.Абрамов и др. Водоснабжение. – М.: Гостройиздат, 1960, 579 с.
10. Р.В.Щекин и др. Справочник по теплоснабжению и вентиляции. Кн.2. – К.: Будiвельник, 1976, 350 с.
11. М.Г.Позин. Технология минеральных удобрений. – Л.: Химия, 1983, 363 с.
Формула изобретения
Полифункциональный струйный воздухоподогреватель, содержащий газовый короб с размещенными в нем тепловой камерой, в начале которой от коллектора холодного воздуха через днище пропущены патрубки холодного воздуха, заканчивающиеся щелевыми соплами холодного воздуха, размещенными параллельно друг к другу и направленными в сторону движения дымовых газов, устроенные соосно напротив каждого сопла холодного воздуха промежуточные ловушки-конфузоры, заканчивающиеся промежуточными щелевыми соплами, а в конце тепловой камеры помещен ряд ловушек горячего воздуха, соединенных через патрубки горячего воздуха с коллектором горячего воздуха, отличающийся тем, что после ловушек горячего воздуха в газовом коробе устроена камера очистки с коническим днищем, соединенным через гидрозатвор с дренажным трубопроводом, в которой помещены параллельно ходу газов перфорированные кассеты, покрытые слоем гидроокиси кальция (Са(ОН)2) с газовыми каналами между собой, прикрепленные к крышке кассет, и вертикальные сепарационные пластины, прикрепленные под углом относительно нормали движения дымовых газов к крышке сепарационных пластин, обеспечивающим минимальное гидравлическое сопротивление.
РИСУНКИ
MM4A – Досрочное прекращение действия патента СССР или патента Российской Федерации на изобретение из-за неуплаты в установленный срок пошлины за поддержание патента в силе
Дата прекращения действия патента: 24.03.2008
Извещение опубликовано: 27.03.2010 БИ: 09/2010
|
|