|
|
(21), (22) Заявка: 2005101416/06, 22.08.2003
(24) Дата начала отсчета срока действия патента:
22.08.2003
(30) Конвенционный приоритет:
21.06.2003 DE 20309553.7
(43) Дата публикации заявки: 10.09.2005
(46) Опубликовано: 27.09.2007
(56) Список документов, цитированных в отчете о поиске:
US 6276492 B1, 21.08.2001. US 6145625 А, 14.11.2000. DE 19843695 A1, 06.04.2000. RU 2169879 C2, 27.06.2001. RU 2020370 С1, 30.09.1997.
(85) Дата перевода заявки PCT на национальную фазу:
21.01.2005
(86) Заявка PCT:
EP 03/09338 (22.08.2003)
(87) Публикация PCT:
WO 2004/113784 (29.12.2004)
Адрес для переписки:
129010, Москва, ул. Б.Спасская, 25, стр.3, ООО “Юридическая фирма Городисский и Партнеры”, пат.пов. Е.И.Емельянову
|
(72) Автор(ы):
ПАЛУНЧИК Здравко (DE), ШЕНФЕЛЬД Андреас (DE)
(73) Патентообладатель(и):
ЛИНКОЛЬН ГМБХ (DE)
|
(54) РАСПРЕДЕЛИТЕЛЬНЫЙ ЭЛЕМЕНТ ДЛЯ СИСТЕМ СМАЗКИ
(57) Реферат:
Распределительный элемент предназначен для дозирования смазочных материалов для систем смазки. Элемент с имеющим отверстие поршнем клапана, который из исходного положения, в котором отверстие освобождает соединение между распределительной камерой и дозировочной камерой через соединительный канал, под установившимся у впускного отверстия давлением смазочного материала имеет возможность смещения против действия первой возвратной пружины в положение дозирования, в котором поршень клапана освобождает пропускное отверстие от впускного отверстия для смазочного материала к соединительному каналу и тем самым к дозировочной камере, а также с распределительным поршнем, который под действием поступающего в дозировочную камеру смазочного материала имеет возможность смещения против действия второй возвратной пружины из исходного положения, и благодаря этому имеющееся в распределительной камере между поршнем клапана и распределительным поршнем количество смазочного материала вытесняется в выпускное отверстие. Технический результат – повышение надежности. 15 з.п. ф-лы, 6 ил.
Изобретение относится к распределительному элементу, в частности к однопроводному распределителю для дозирования смазочных материалов, например консистентной смазки для систем смазки.
Известный распределитель смазочных материалов этого вида имеет снабженный отверстием поршень клапана, который из исходного положения, в котором отверстие освобождает соединение от дозировочной камеры через соединительный канал к распределительной камере, под установившимся у впускного отверстия для смазки давлением смазочного материала может перемещаться против действия единственной возвратной пружины до положения дозирования, в котором поршень клапана высвобождает пропускное отверстие от впускного отверстия для смазочного материала к соединительному каналу и тем самым к дозировочной камере. Этот распределитель смазочного материала имеет распределительный поршень, который под действием поступающего в дозировочную камеру смазочного материала может перемещаться против действия указанной единственной возвратной пружины. С помощью создаваемого в дозировочной камере давления смазочного материала, имеющееся в распределительной камере между поршнем клапана и распределительным поршнем количество смазочного материала вытесняется, по меньшей мере, в одно выпускное отверстие для смазочного материала, и поршень клапана перемещается до достижения точки выравнивания давления от распределительного поршня в промежуточное положение, в котором поршень клапана отсекает пропускное отверстие от впускного отверстия для смазочного материала к соединительному каналу и тем самым к дозировочной камере. При последующем сбросе давления у впускного отверстия для смазочного материала поршень клапана, а затем также и распределительный поршень под воздействием единственной возвратной пружины переводится обратно в свое исходное положение. У такого распределительного элемента устанавливающееся у впускного отверстия клапана гидравлическое давление смазочного материала (рабочее давление), например, до 250 бар для требуемого сброса давления невыгодным образом должно снижаться до относительно низкого остаточного давления, к примеру, около 45 бар, с тем, чтобы была обеспечена функционируемость. Известное выполнение, в частности, если последовательно подключено несколько распределителей смазочного материала, из-за возникающего по трубопроводу со смазочным материалом падения давления может привести к нарушению функционирования последнего распределителя смазочного материала. Проблема слишком низкого давления сброса не может быть решена благодаря, например, усилению имеющейся в решении согласно уровню техники единственной возвратной пружины, так как она взаимодействует не только с поршнем клапана, но и в другом направлении, также с распределительным поршнем. Более сильная возвратная пружина повлекла бы за собой повышение давления, которое должно привести распределительный поршень в его конечное положение.
Задачей настоящего изобретения является предложение распределительного элемента указанного вида, у которого давление сброса (остаточное давление) по номинальному значению, т.е., например, примерно в два раза больше, чем у известного распределительного элемента, однако не осуществляется никакого повышения минимального рабочего давления, т.е. давления, при котором распределительный поршень находится в своем смещенном конечном положении.
Эта задача согласно изобретению решается с помощью распределительного элемента для дозирования смазочного материала, например, консистентной смазки, для систем смазки, например, по существу, благодаря тому, что он имеет оснащенный отверстием поршень клапана, который из исходного положения, в котором отверстие освобождает соединение между распределительной камерой и дозировочной камерой через соединительный канал, под установившимся у впускного отверстия для смазочного материала давлением смазочного материала может смещаться против действия первой возвратной пружины в положение дозирования, в котором поршень клапана освобождает пропускное отверстие от впускного отверстия для смазочного материала к соединительному каналу и тем самым к дозировочной камере. Далее, согласно изобретению предусмотрен распределительный поршень, который под действием поступающего в дозировочную камеру смазочного материала может смещаться против действия второй возвратной пружины, благодаря чему имеющееся в дозировочной камере между поршнем клапана и распределительным поршнем количество смазочного материала вытесняется, по меньшей мере, в одно выпускное отверстие для смазочного материала. Поршень клапана движется при необходимости до достижения точки выравнивания давления в промежуточное положение, в котором он отсекает пропускное отверстие от впускного отверстия для смазочного материала к соединительному каналу и тем самым к дозировочной камере. При сбросе давления у впускного отверстия для смазочного материала поршень клапана под действием первой возвратной пружины, а сообразно этому и распределительный поршень под действием второй возвратной пружины возвращаются в свои исходные положения.
На основе повышения согласно изобретению остаточного давления достигаются более короткие периоды включения, и могут использоваться трубопроводы большей длины и/или меньшего диаметра, что снижает расходы. Несмотря на это, минимальное рабочее давление может поддерживаться низким. Усилие пружин и пружинные характеристики обеих возвратных пружин могут рассчитываться по отдельности с учетом поперечных сечений поршней, отверстий и каналов.
Согласно изобретению, т.е., по сравнению с уровнем техники, единственная возвратная пружина разделена на две отдельно действующие возвратные пружины; первая возвратная пружина взаимодействует лишь с поршнем клапана, в то время как вторая возвратная пружина ответственна лишь за возврат распределительного поршня. Параметры возвратных пружин могут выбираться в соответствии с имеющимися условиями, например, в зависимости от имеющихся длин и поперечных сечений трубопроводов, дозируемых объемов, рабочих давлений, остаточных давлений и т.п. Благодаря этому простейшим образом можно достичь того, что, несмотря на повышение остаточного давления, минимальное рабочее давление не повысится, а может поддерживаться низким.
Особенно простым в конструктивном отношении способом можно осуществить соответствующее изобретению решение в варианте осуществления благодаря тому, что между первой возвратной пружиной и второй возвратной пружиной расположено выполненное, например, по существу в виде полого цилиндра опорное тело для обеих возвратных пружин. Имеющееся в опорном теле пропускное отверстие делает возможным прохождение обращенной к поршню клапана удлиненной части распределительного поршня, так что при срабатывании распределительного поршня с помощью созданного в дозировочной камере давления поршень клапана может перемещаться в направлении своего исходного положения от распределительного поршня сначала до промежуточного положения, в котором впускное отверстие для смазочного материала отделено от соединительного канала.
Еще в одном варианте осуществления изобретения для упрощения изготовления и улучшения функционируемости поршень клапана, распределительный поршень, опорное тело и обе возвратные пружины расположены аксиально друг другу в общем, прямом сквозном канале корпуса клапана.
Целесообразно для экономии места и обеспечения надежной опоры вторая возвратная пружина выполнена в виде спиральной пружины, которая окружает распределительный поршень.
В другом варианте осуществления изобретения благодаря тому, что вторая выполненная в виде спиральной пружины возвратная пружина в любом случае своим обращенным к поршню клапана концом окружает выполненную также в виде спирали первую пружину, можно достичь того, что при заданной длине возвратных пружин можно достичь незначительной общей длины распределительного элемента.
Преимущество при этом состоит в том, что первая выполненная в виде спиральной пружины возвратная пружина своим обращенным к распределительному поршню концом входит в выполненное в виде гильзы опорное тело, которое окружено выполненной в виде спиральной пружины второй возвратной пружиной. Первая возвратная пружина может при этом опираться на направленную радиально внутрь отбортовку на обращенном от поршня клапана конце выполненного в виде гильзы опорного тела и установлена в выполненном в виде гильзы опорном теле. Напротив, вторая возвратная пружина может прилегать к внешней стороне выполненного в виде гильзы опорного тела и опираться на выступающий радиально наружу опорный фланец опорного тела.
Опорное тело в свою очередь может при этом прилегать к опорному уступу корпуса клапана, обращенному от поршня клапана.
Другие цели, признаки, преимущества и возможности применения изобретения следуют из последующего описания вариантов осуществления изобретения посредством чертежей. При этом все описанные и/или графически представленные признаки сами по себе или в любой комбинации образуют предмет изобретения, также независимо от их сочетания в отдельных пунктах формулы или ссылке на них.
На чертежах показано:
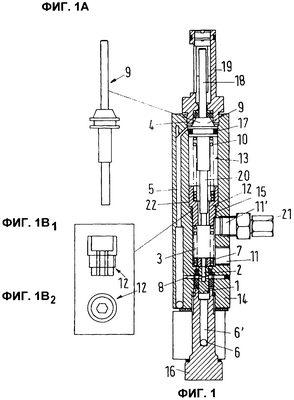
фиг.1 – образованный в виде выполненного с использованием изобретения однопроводного распределителя элемент клапана согласно одному варианту осуществления, частично в разрезе по центральной продольной плоскости,
фиг.1А – выделенный из фиг.1 распределительный поршень на виде сбоку,
фиг.1 В1 и В2 – опорное тело, выделенное из фиг.1, на виде сбоку, а также на виде сверху,
фиг.2 – изображение согласно фиг.1 для другого варианта осуществления распределительного элемента согласно изобретению и
фиг.2А – изображение элемента IIa фиг.2.
Представленный на чертежах однопроводный распределитель для дозирования смазочных материалов, например, консистентной смазки, для однопроводных систем смазки имеет корпус 14 с проходящим по длине корпуса 14 сквозным каналом 13. В нижний конец корпуса 14 ввинчено нижнее закрывающее тело 16 с впускным отверстием 6 для смазочного материала. Впускное отверстие 6 для смазочного материала заканчивается в осевом впускном канале 6′, который ведет к размещенному в сквозном канале 13 с возможностью аксиального смещения и опирающемуся на коаксиально расположенную в сквозном канале 13 на противоположной впускному отверстию 6 для смазочного материала стороне первую возвратную пружину 7 поршня 1 клапана. Первая возвратная пружина 7 прилегает своим противоположным поршню 1 клапана концом к выполненному в виде полого цилиндра опорному телу 12, которое с помощью винтового соединения 17 и опорного уступа 22 аксиально установлено в определенном положении в сквозном канале 13.
На фиг.1 поршень 1 клапана принимает свое предусмотренное в начале цикла смазывания исходное положение, которого поршень 1 клапана достигает по окончании соответственно предыдущего цикла смазывания и в следующей далее при необходимости паузе в процессе смазывания. Поршень 1 клапана имеет проходящее в представленном случае под углом отверстие 2, которое, с одной стороны, посредством аксиально проходящего участка отверстия соединено с образованной в сквозном канале 13 перед поршнем 1 клапана распределительной камерой 3, а с другой стороны посредством радиально проходящего участка отверстия – с радиально выполненным в корпусе 14 клапана пропускным отверстием 8, которое оканчивается в проходящем в продольном направлении параллельно сквозному каналу 13 соединительном канале 5.
Соединительный канал 5 у своего верхнего, т.е. своего обращенного от поршня 1 клапана, конца направлен в дозировочную камеру 4, которая внутри сквозного канала 13 напротив поршня 1 клапана отграничена от распределительного поршня 9, снабженного окружным уплотнением 17. Распределительный поршень 9 в направлении поршня 1 клапана с помощью второй возвратной пружины 10 опирается на обращенную от поршня 1 клапана сторону опорного тела 12.
Распределительный поршень 9 в исходном положении, показанном на фиг.1, контрольным стержневым участком 18 может вдаваться в верхнее, открытое сбоку закрывающее тело 19 для оптического показания функционирования. В направлении поршня 1 клапана распределительный поршень 9 может иметь удлиненную часть 20 для обратного смещения поршня 1 клапана в направлении его исходного положения перед окончанием цикла смазывания вначале в промежуточное положение, что ниже будет еще описано. Корпус 14 клапана имеет, по меньшей мере, одно выпускное отверстие 11 для смазочного материала, которое в представленном на фиг.1 исходном положении поршня 1 клапана при необходимости расположено непосредственно перед его торцевой поверхностью, лежащей со стороны распределительного поршня. Снабженное навинчивающейся крышкой 21 пропускное отверстие 11′ может служить, например, для заполнения распределительного элемента смазочным материалом.
Распределительный элемент согласно изобретению функционирует следующим образом:
В показанной на фиг.1 фазе паузы в процессе смазывания давление, установившееся у впускного отверстия 6 распределительного элемента, уменьшено до остаточного давления. Обе возвратные пружины 7, 10 разгружены до соответственно желательного и соответственно рассчитанного усилия предварительного натяжения. Распределительная камера 3 – после ее первого наполнения через пропускное отверстие 11′ для смазочного материала – наполнена смазочным материалом от предыдущего цикла смазывания. Проходящее под углом отверстие 2 еще соединяет распределительную камеру 3 через соединительный канал 5 с дозировочной камерой 4.
В начале фазы увеличения давления и смазывания, например, центральный смазочный насос создает давление смазочного материала в главном трубопроводе и во впускном отверстии 6, 6′ для смазочного материала до получения рабочего давления. Поршень 1 клапана под воздействием рабочего давления перемещается против действия первой возвратной пружины 7, пока он не освободит пропускное отверстие 8 в корпусе 14 клапана к дозировочной камере 4 через соединительный канал 5. Подаваемый от впускного отверстия 6 для смазочного материала смазочный материал попадает затем через соединительный канал 5 в дозировочную камеру 4. Распределительный поршень 9 нагружается возникающим в дозировочной камере 4 давлением смазочного материала и приводится в действие, преодолевая воздействие второй возвратной пружины 10. При этом одновременно втягивается имеющийся при необходимости контрольный стержневой участок 18. При этом на одной стороне распределительного поршня 9 заполняется дозировочная камера 4, в то время, как распределительный поршень 9 на другой стороне, преодолевая воздействие второй возвратной пружины, под давлением смазочного материала вытесняет дозированное количество смазочного материала из распределительной камеры 3 к открытому выпускному отверстию 11 для смазочного материала. К выпускному отверстию 11 для смазочного материала подсоединен (не показанный) трубопровод для местной подачи смазки. Гидравлическое рабочее давление смазочного насоса в фазе смазывания имеет заданное минимальное значение, например, до 250 бар.
По окончании фазы смазывания распределительный поршень 9 вытеснил дозированное количество смазочного материала из распределительной камеры 3 к выпускному отверстию 11 (или 11′) и своей предусмотренной, при необходимости, удлиненной частью 20 переместил поршень 1 клапана при достижении точки выравнивания давления в промежуточное положение, в котором пропускное отверстие 8 к соединительному каналу 5 блокировано задним участком поршня 1 клапана. До срабатывания клапана сброса давления смазочного насоса распределительный элемент остается в этом положении.
Для того чтобы можно было реверсировать распределительный элемент, по завершении каждого цикла смазывания в последующей фазе сброса давления трубопровод со смазочным материалом между смазочным насосом и впускным отверстием 6 для смазочного материала распределительного элемента разгружается от давления. При соответствующих параметрах первой возвратной пружины 7 по сравнению с традиционными распределителями, достаточно меньшего понижения давления до желательного остаточного давления, например 90 бар (в противоположность 45 бар для традиционных распределительных элементов). Первая возвратная пружина 7 смещает при этом поршень 1 клапана из занимаемого вначале промежуточного положения (внизу) до представленного на фиг.1 конечного положения (которое для следующего цикла смазки представляет начальное положение). Теперь дозировочная камера 4 через соединительный канал 5, вновь освобожденное пропускное отверстие 8 и отверстие 2 снова соединена с распределительной камерой 3.
Вторая возвратная пружина 10 может теперь имеющийся в дозировочной камере 4 смазочный материал переводить через упомянутый соединительный путь в распределительную камеру 3 и заполнять ее. Когда распределительный поршень 9 ввиду воздействия второй возвратной пружины 10 достигнет своего верхнего представленного на фиг.1, конечного положения, распределитель в целом в этом цикле смазывания вернется в свое исходное положение и может начаться новый цикл смазки. Параметры второй возвратной пружины 10 независимо от первой возвратной пружины 7 обеспечивают желательное низкое минимальное рабочее давление.
Представленный на фиг.2 и 2А вариант осуществления соответствующего изобретению распределительного элемента не отличается по своему основному принципу работы от показанного на фиг.1-1В2 распределительного элемента. Конструктивно этот распределительный элемент, однако, несколько иначе построен благодаря тому, что опорное тело 12 выполнено в виде более протяженного коаксиального обеим возвратным пружинам 7 и 10 тела, имеющего форму гильзы, в которое входит верхний участок первой возвратной пружины 7. Первая возвратная пружина 7 опирается при этом на верхнюю, т.е. предусмотренную на обращенном от поршня 1 клапана конце опорного тела 12, указывающую радиально внутрь отбортовку 24. Напротив, вторая возвратная пружина 10 охватывает выполненное в виде гильзы опорное тело 12 своим обращенным к поршню 1 клапана концом и опирается при этом на выступающий радиально наружу опорный фланец 23 опорного тела 12. Таким образом, обе возвратные пружины 7, 10, несмотря на остающуюся одинаковой длину распределительного элемента, могут иметь относительно большую длину с соответствующей пружинной характеристикой.
Список ссылочных позиций
1 Поршень клапана
2 Отверстие
3 Распределительная камера
4 Дозировочная камера
5 Соединительный канал
6, 6′ Впускное отверстие для смазочного материала, впускной канал для смазочного материала
7 Первая возвратная пружина
8 Пропускное отверстие
9 Распределительный поршень
10 Вторая возвратная пружина
11, 11′ Выпускное отверстие или пропускное отверстие для смазочного материала
12 Опорное тело
13 Сквозной канал
14 Корпус клапана
15 Резьбовое соединение
16 Нижнее закрывающее тело
17 Окружное уплотнение
18 Контрольный стержневой участок
19 Верхнее закрывающее тело
20 Удлиненная часть
21 Навинчивающаяся крышка
22 Опорный уступ
23 Опорный фланец
24 Отбортовка
Формула изобретения
1. Распределительный элемент для дозирования смазочных материалов для систем смазки с имеющим отверстие (2) поршнем (1) клапана, который из исходного положения, в котором отверстие (2) освобождает соединение между распределительной камерой (3) и дозировочной камерой (4) через соединительный канал (5), под установившимся у впускного отверстия (6) для смазочного материала давлением смазочного материала имеет возможность смещения против действия первой возвратной пружины (7) в положение дозирования, в котором поршень (1) клапана освобождает пропускное отверстие (8) от впускного отверстия (6) для смазочного материала к соединительному каналу (5) и тем самым к дозировочной камере (4), а также с распределительным поршнем (9), который имеет возможность смещения под действием поступающего в дозировочную камеру (4) смазочного материала против воздействия второй возвратной пружины (10) из исходного положения и благодаря этому количество смазочного материала, имеющееся в распределительной камере (3) между поршнем (1) клапана и распределительным поршнем (9) вытесняется через выпускное отверстие (11) для смазочного материала, причем при необходимости поршень (1) клапана до достижения точки выравнивания давления имеет возможность смещения в промежуточное положение, в котором он отсекает пропускное отверстие (8) от впускного отверстия (6) к соединительному каналу (5) и тем самым к дозировочной камере (4), и причем при сбросе давления у впускного отверстия (6) для смазочного материала поршень (1) клапана имеет возможность возврата первой возвратной пружиной (7) в свое исходное положение, а распределительный поршень (9) – второй возвратной пружиной (10) в свое исходное положение.
2. Распределительный элемент по п.1, отличающийся тем, что между первой возвратной пружиной (7) и второй возвратной пружиной (10) расположено выполненное, по существу, в виде полого цилиндра опорное тело (12) для обеих возвратных пружин (7, 10).
3. Распределительный элемент по п.1 или 2, отличающийся тем, что поршень (1) клапана, распределительный поршень (9), опорное тело (12) и обе возвратные пружины (7, 10) расположены аксиально друг другу в общем сквозном канале (13) корпуса (14) клапана.
4. Распределительный элемент по п.1 или 2, отличающийся тем, что вторая возвратная пружина (10) в виде спиральной пружины окружает распределительный поршень (9).
5. Распределительный элемент по п.3, отличающийся тем, что вторая возвратная пружина (10) в виде спиральной пружины окружает распределительный поршень (9).
6. Распределительный элемент по п.1 или 2, отличающийся тем, что вторая, выполненная в виде спиральной пружины возвратная пружина (10) соответственно своим обращенным к поршню (1) клапана концом окружает выполненную также в виде спиральной пружины первую возвратную пружину (7).
7. Распределительный элемент по п.3, отличающийся тем, что вторая, выполненная в виде спиральной пружины возвратная пружина (10) соответственно своим обращенным к поршню (1) клапана концом окружает выполненную также в виде спиральной пружины первую возвратную пружину (7).
8. Распределительный элемент по п.4, отличающийся тем, что вторая, выполненная в виде спиральной пружины возвратная пружина (10) соответственно своим обращенным к поршню (1) клапана концом окружает выполненную также в виде спиральной пружины первую возвратную пружину (7).
9. Распределительный элемент по п.2, отличающийся тем, что первая, выполненная в виде спиральной пружины возвратная пружина (7) своим обращенным к распределительному поршню (9) концом входит в выполненное в виде гильзы опорное тело (12), которое окружено выполненной в виде спиральной пружины второй возвратной пружиной (10).
10. Распределительный элемент по п.3, отличающийся тем, что первая, выполненная в виде спиральной пружины возвратная пружина (7) своим обращенным к распределительному поршню (9) концом входит в выполненное в виде гильзы опорное тело (12), которое окружено выполненной в виде спиральной пружины второй возвратной пружиной (10).
11. Распределительный элемент по п.4, отличающийся тем, что первая, выполненная в виде спиральной пружины возвратная пружина (7) своим обращенным к распределительному поршню (9) концом входит в выполненное в виде гильзы опорное тело (12), которое окружено выполненной в виде спиральной пружины второй возвратной пружиной (10).
12. Распределительный элемент по п.5, отличающийся тем, что первая, выполненная в виде спиральной пружины возвратная пружина (7) своим обращенным к распределительному поршню (9) концом входит в выполненное в виде гильзы опорное тело (12), которое окружено выполненной в виде спиральной пружины второй возвратной пружиной (10).
13. Распределительный элемент по п.6, отличающийся тем, что первая, выполненная в виде спиральной пружины возвратная пружина (7) своим обращенным к распределительному поршню (9) концом входит в выполненное в виде гильзы опорное тело (12), которое окружено выполненной в виде спиральной пружины второй возвратной пружиной (10).
14. Распределительный элемент по п.6, отличающийся тем, что вторая возвратная пружина (10) опирается на опорный фланец (23) опорного тела (12).
15. Распределительный элемент по п.2 или 9, отличающийся тем, что опорное тело (12) опирается на обращенный от поршня (1) клапана опорный уступ (21) корпуса (14) клапана.
16. Распределительный элемент по пп.1, 2 или 9, отличающийся тем, что выполнен в виде однопроводного распределителя.
РИСУНКИ
|
|