|
|
(21), (22) Заявка: 2006110872/06, 04.04.2006
(24) Дата начала отсчета срока действия патента:
04.04.2006
(46) Опубликовано: 27.09.2007
(56) Список документов, цитированных в отчете о поиске:
SU 870845 А, 17.10.1981. SU 1523823 A1, 23.11.1989. RU 2179216 C1, 10.02.2002. RU 2174639 C1, 10.10.2001. RU 2180948 C1, 27.03.2002. SU 1638433 A1, 30.03.1991.
Адрес для переписки:
450075, Республика Башкортостан, г.Уфа-75, а/я 6902, Д.А. Янборисовой
|
(72) Автор(ы):
Головачев Сергей Михайлович (RU), Мугаллимов Фанзиль Мавлявиевич (RU), Мугаллимов Ильдар Фанзилевич (RU), Сафонов Валентин Александрович (RU), Савельева Елена Владимировна (RU), Панкратьев Сергей Александрович (RU), Мугаллимов Азат Фанзильевич (RU)
(73) Патентообладатель(и):
Головачев Сергей Михайлович (RU), Мугаллимов Фанзиль Мавлявиевич (RU), Мугаллимов Ильдар Фанзилевич (RU), Сафонов Валентин Александрович (RU), Савельева Елена Владимировна (RU), Панкратьев Сергей Александрович (RU), Мугаллимов Азат Фанзильевич (RU)
|
(54) УСТРОЙСТВО ДЛЯ ПЕРЕКРЫТИЯ ТРУБОПРОВОДА
(57) Реферат:
Изобретение относится к строительству трубопроводного транспорта, преимущественно нефти и нефтепродуктов, и предназначено для перекрытия трубопровода при его ремонте с заменой дефектного участка. Наружная поверхность прилегающей к стенке трубопровода чашеобразной манжеты снабжена зубцами и кольцом из абразивного материала. На внутренней поверхности манжеты выполнены гнезда для пружинной ленты, один конец которой шарнирно соединен с рычагами, а на другом конце имеются зацеп и подкладная гофрированная лента. Рычаги соединены между собой шарнирно, на конце рычага шарнирно размещен стяжной винт с гайкой, на конце винта закреплен тросик. После проведения сварочных работ извлекают посредством тросика пружинные ленты и демонтируют устройство из трубопровода. Расширяет арсенал технических средств. 3 ил.
Изобретение относится к области трубопроводного транспорта, преимущественно нефти и нефтепродуктов, и предназначено для перекрытия трубопровода при его ремонте с заменой дефектного участка.
Известно устройство для перекрытия трубопровода, состоящее из установленных на общей оси направляющих дисков и неподвижного и подвижного упоров, между которыми размещено эластичное уплотнение, при этом устройство снабжено установленным с возможностью осевого перемещения между неподвижным и подвижным упорами барабаном, выполненным в виде соединенных большими основаниями двух усеченных конусов, а эластичное уплотнение состоит из двух кольцевых элементов, размещенных на барабане симметрично относительно его центральной плоскости поперечного сечения, кроме того, неподвижный и подвижный упоры выполнены в виде тарелок, обращенных открытыми полостями к торцам барабана [А.С. №1523823, Кл. F16L 55/18, опубл. Бюл. №43, 1989 г.].
Недостатком устройства является сложность конструкции и ненадежность перекрытия трубопровода вследствие того, что кольцевые уплотнения не обеспечивают плотного прилегания уплотнений к внутренней поверхности трубопровода, а также необходимость транспортировки устройства до камеры приема ближайшей перекачивающей станции для удаления его из трубопровода.
Наиболее близким к заявляемому является устройство для перекрытия трубопровода, состоящее из корпуса, уплотнения, установленного на корпусе и заключенного между кольцевыми упорами, и механизма поджатия уплотнения к внутренней поверхности трубопровода с приводом, при этом корпус выполнен в виде отрезка трубы и насаженного на нее барабана, а механизм поджатия уплотнения состоит из установленного на трубе корпуса по обе стороны от барабана подвижных в осевом направлении втулок с прижимными элементами, взаимодействующими с кольцевыми упорами уплотнения [А.С. №870845, Кл. F16L 55/18, опубл. Бюл. №37, 1981 г.].
Недостатком устройства является сложность конструкции, недостаточная герметизация, наличие приводов в виде силовых цилиндров для приведения в движение поджимных элементов, а также необходимость транспортировки устройства до камеры приема ближайшей перекачивающей станции для извлечения его из трубопровода.
Технический результат – упрощение конструкции устройства, обеспечение надежной герметизации между поверхностью трубопровода и манжетой за счет плотного поджатия манжеты к поверхности трубопровода и равномерного распределения усилия пружинной ленты размещением на конце ее подкладной гофрированной ленты и повышенной эластичности рабочей поверхности манжеты.
Указанный технический результат достигается тем, что в устройстве для перекрытия трубопровода, включающем уплотнение и механизм поджатия уплотнения к внутренней поверхности трубопровода, особенность заключается в том, что уплотнение выполнено в виде чашеобразной манжеты из упругоэластичного материала, например резины, наружная поверхность ее, прилегающая к стенке трубопровода, снабжена зубцами и кольцом из абразивного материала, а на внутренней поверхности манжеты выполнены гнезда для механизма поджатия уплотнения, выполненного из пружинной ленты, один конец которой шарнирно соединен с рычагами, а на другом ее конце имеются зацеп и подкладная гофрированная лента, закрепленная заклепкой, при этом рычаги соединены между собой шарнирно, на конце одного из них шарнирно размещен стяжной винт с гайкой, на конце винта закреплен тросик.
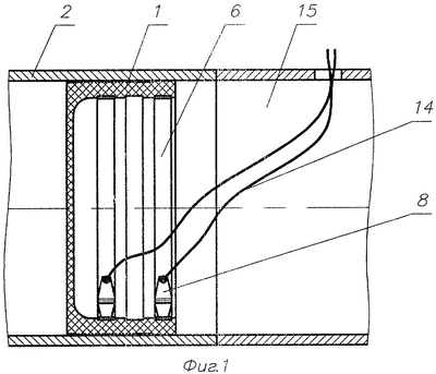
На фиг.1 изображен общий вид устройства для перекрытия трубопровода, на фиг.2 – манжета, на фиг.3 – механизм поджатия уплотнения.
Устройство содержит чашеобразную манжету 1, наружная поверхность которой, прилегающая к стенке трубопровода 2, снабжена зубцами 3 и кольцом 4 из абразивного материала. На внутренней поверхности манжеты выполнены гнезда 5 для пружинной ленты 6, один конец которой шарнирно соединен с рычагами 7 и 8, а на другом конце имеются зацеп 9 и подкладная гофрированная лента 10, закрепленная заклепкой 11. При этом рычаги 7 и 8 соединены между собой шарнирно, на конце рычага 7 шарнирно размещен стяжной винт 12 с гайкой 13, на конце винта 12 закреплен тросик 14.
Устройство работает следующим образом.
При перекрытии внутренней полости трубопровода в открытый ее конец вставляется манжета 1, а в манжету – пружинная лента 6, при этом рычаг 8 вводится в зацепление с зацепом 9, а верхняя часть этого рычага максимально отходит от рычага 7, далее в прорезь рычага 8 вставляется стяжной винт 12, после чего завинчиванием гайки 13 верхние концы рычагов сходятся, а нижние расходятся, раздвигая концы пружиной ленты 6, тем самым прижимая ее к манжете. Аналогично работает и второе устройство, устанавливаемое в трубопроводе с противоположной стороны от первого. После завершения подгонки катушки 15 тросики 14 обоих концов пружинных лент 6 выводятся наружу через отверстие в катушке. После окончания сварочных работ пружинные ленты 6 поочередно извлекаются из трубопровода 2 тросиком 14, потянув за который винт 12 с гайкой 13 выходит из прорези рычага 8, а рычаг 7 из зацепа 9 и освободившийся конец пружинной ленты легко выходят из трубопровода. Манжета 1 не извлекатся из трубопровода, т.к. в дальнейшем она теряет свою прочность, раскисает и растворяется в перекачиваемом продукте.
Предлагаемое устройство применимо в трубопроводном транспорте, т.к. все узлы и детали выпускаются промышленностью.
Формула изобретения
Устройство для перекрытия трубопровода, включающее уплотнение и механизм поджатия уплотнения к внутренней поверхности трубопровода, отличающееся тем, что уплотнение выполнено в виде чашеобразной манжеты из упругоэластичного материала, наружная поверхность ее, прилегающая к стенке трубопровода, снабжена зубцами и кольцом из абразивного материала, а на внутренней поверхности манжеты выполнены гнезда для механизма поджатия, выполненного из пружинной ленты, один конец которой шарнирно соединен с рычагами, а на другом ее конце имеется зацеп и подкладная гофрированная лента, закрепленная заклепкой, при этом рычаги соединены между собой шарнирно, на конце одного из них шарнирно размещен стяжной винт с гайкой, на конце винта закреплен тросик.
РИСУНКИ
|
|