|
|
(21), (22) Заявка: 2005102092/11, 13.06.2003
(24) Дата начала отсчета срока действия патента:
13.06.2003
(30) Конвенционный приоритет:
28.06.2002 (пп.1-12) US 10/187,941
(43) Дата публикации заявки: 10.08.2005
(46) Опубликовано: 27.09.2007
(56) Список документов, цитированных в отчете о поиске:
US 4826477 A, 02.05.1989. FR 2459663 A1, 16.01.1981. GB 715070 A, 08.09.1954. RU 2037723 C1, 19.06.1995. SU 1006848 A, 23.03.1983.
(85) Дата перевода заявки PCT на национальную фазу:
28.01.2005
(86) Заявка PCT:
EP 03/06243 (13.06.2003)
(87) Публикация PCT:
WO 2004/003418 (08.01.2004)
Адрес для переписки:
103735, Москва, ул. Ильинка, 5/2, ООО “Союзпатент”, пат.пов. Л.С.Кишкиной
|
(72) Автор(ы):
КАРХАФФ Питер (US)
(73) Патентообладатель(и):
СОСЬЕТЕ ДЕ ПРОДЮИ НЕСТЛЕ С.А. (CH)
|
(54) ШЛАНГОВОЕ ПРИСПОСОБЛЕНИЕ ДЛЯ РАЗОВОЙ ПИЩЕВОЙ ТАРЫ
(57) Реферат:
Изобретение относится к устройствам присоединения шлангов, в частности для соединения разовой пищевой тары с линией раздачи пищевых продуктов и т.п. Приспособление выполнено с возможностью установления в линиях раздачи пищевых или жидких продуктов надежного соединения по потоку между шлангом и шланговым удерживающим средством и содержит корпус (10), имеющий вытянутую вдоль продольной оси втулку (12), на которую может быть надет шланговый конец (20), и гильзу (11), имеющую проточку (15) и конец, выполненный с возможностью удобного зацепления с внешней стороны со шланговым концом (20), для обеспечения установки шланга на втулке (12) корпуса (10) с созданием непроницаемого уплотнения. При этом корпус (10) имеет круговую торцевую стенку (13), окружающую отверстие (14) для жидкости, а гильза (11) имеет кольцеобразную форму и содержит средство стыковки (18), выполненное с возможностью дополнительного сцепления со шланговым удерживающим средством линии раздачи. Разовая тара может состоять из резервуара и шланга, прикрепленного одним концом к резервуару. Другой конец шланга предназначен для присоединения к приспособлению, закрытому протыкаемой мембраной. Поскольку приспособление значительной длины вызывает необходимость частой очистки пищевых остатков и, соответственно, уничтожения возможных колоний растущих бактерий, то данное изобретение направлено на сокращение длины приспособления и, таким образом, обеспечивает снижение гигиенического риска. 3 н. и 9 з.п. ф-лы, 6 ил.
Изобретение относится к надеваемым на шланг приспособлениям для образования соединения разовой тары с раздаточными линиями или устройствами, или тому подобным. Изобретение особенно полезно для создания недорогих, надежных и гигиеничных соединений для асептической пищевой тары, содержащей чувствительные к микроорганизмам продукты, такие, например, как молоко или концентраты на основе молока, мягкое мороженое, кулинарные жиры и тому подобное.
В пищевой промышленности принято отпускать исходные напитки или пищевые продукты, приготовленные раздаточными системами, в зависимости от пожеланий изготовителей, например в виде концентратов или готовых к употреблению компонентов, хранящихся в разовой таре, например пакетах, коробках и тому подобном. Напитки или исходный продукт обычно извлекаются из коробки механическими средствами или под действием силы тяжести, или благодаря комбинации того и другого через шланг, присоединенный к раздаточной линии с помощью шлангового приспособления. Шланговое приспособление предназначено для быстрого и удобного установления связи между источником, содержащим напиток или исходный пищевой продукт, с раздаточной линией.
Когда речь идет о жидкой среде, чувствительной к микроорганизмам, такой как низкокислотные или нейтральные концентраты, например молоко и ему подобное, могут возникнуть гигиенические проблемы, связанные с тщательным уходом и периодической чисткой раздаточных линий. Возможно, например, подсоединять к приспособлению гигиеничную систему трубопровода для периодического промывания приспособления и раздаточной линии с целью удаления, очищения и вымывания любых пищевых остатков и, соответственно, уничтожения возможных колоний растущих бактерий.
Находящаяся на рассмотрении и поданная в тот же день заявка того же автора «СИСТЕМА ГИГИЕНИЧНОГО ТРУБОПРОВОДА И СПОСОБ СОЗДАНИЯ ГИГИЕНИЧНЫХ РАЗДАТОЧНЫХ ПОТОКОВ», предлагает изобретение, отвечающее требованиям регулярной очистки и промывания конечных торцов и распределительных линий. Содержание этой заявки вносится в данную заявку посредством ссылок на нее.
Известные приспособления имеют стыковочную часть и простой сальник, выступающий на конце стыковочной части для присоединения к шлангу. Сальник обычно должен быть достаточно протяженным, чтобы создать эффективное непроницаемое уплотнение. Если его сделать слишком коротким, возможно подтекание и загрязнение, особенно в щелях, линиях стыка и мертвых зонах. При слишком длинном сальнике приспособление может зажать шланг, когда не будет подачи жидкого потока к отдаленному пункту. Следовательно, чем дальше находится точка зажима, тем выше гигиенический риск, поскольку повышается необходимость очистки части шланга и приспособления.
Поэтому существует необходимость в создании нового приспособления, которое было бы короче, чем известные приспособления, с тем, чтобы сократить расстояние между точкой зажима трубы и отверстием приспособления, связывающим с раздаточной линией, например, очищающей или промывающей системой, обеспечивая в то же время непроницаемое уплотнение без всякой возможности сообщения с окружающей средой. Необходимо также создать приспособление, обеспечивающее более стойкое и непроницаемое соединение.
Настоящее изобретение соответствует данным требованиям.
Настоящее изобретение относится к шланговому приспособлению, приспособленному устанавливать надежное соединение по потоку между шлангом и шланговыми удерживающими средствами линий раздачи напитков или пищевых продуктов, содержащему корпус, имеющий вытянутую вдоль продольной оси втулку, на которую может быть надет шланг, и торцевую стенку, окружающую отверстие для жидкости, второй элемент, предпочтительно кольцевую гильзу, имеющую проточку, выполненную с возможностью плотного прилегания к поверхности шлангового конца, надавливания на шланговый конец около втулки корпуса, создавая тем самым непроницаемое уплотнение.
Такая конструкция обеспечивает более компактное приспособление с уменьшенной поверхностью контакта со шланговым концом и созданием одновременно лучшей непроницаемости для жидкости, проходящей через шланг и приспособление к линии раздачи. Следовательно, приспособление может использоваться для соединения со шлангом, в котором управление потоком, например, с помощью зажимного затвора может быть размещено ближе к выходу приспособления с тем, чтобы сократить чувствительный к микроорганизмам участок шланга. В результате участок шланга, требующий очистки или промывки ниже точки зажима с помощью очищающих или промывающих жидкостей при работе в раздаточном устройстве, может быть уменьшен, соответственно уменьшая и риск загрязнения микроорганизмами.
Гильза может иметь форму кольца и содержать стыковочные средства, пригодные для комплиментарното сцепления со средством удерживания шланга линии раздачи. Таким образом, стыковочные средства могут находиться на том же элементе, который осуществляет функцию прикрепления конца шланга к приспособлению. Следовательно, приспособление может быть менее громоздким, поскольку нет необходимости в соединительном выступе, т.е. сальнике для присоединения приспособления к шлангу.
Втулка корпуса и проточка гильзы имеют различные формы поверхностей, расположенные так, чтобы создать эффект заклинивания конца шланга и препятствовать рассоединению при приложении к шлангу тянущего усилия. Следовательно, соединение шланга с приспособлением оказывается более прочным, так как прикладываемые к шлангу или приспособлению тянущие усилия воспринимаются самой кольцеобразной гильзой. Поэтому в противоположность обычному приспособлению, в котором тянущие усилия на шланг ведут к рассоединению шланга и приспособления, в настоящем изобретении тянущие усилия на шланг ведут к увеличению прижима гильзы к шланговому концу и корпусу приспособления.
Стыковочные средства приспособления для присоединения его к линии раздачи, например к системе гигиенического трубопровода, могут иметь различные выбираемые специалистом конфигурации и формы. Например, стыковочные средства могут включать дополнительно канавку, соответствующую держателю узла удерживания линии раздачи. В другом случае, стыковочные средства могут содержать, по меньшей мере, одно ребро, дополнительно взаимодействующее с конфигурацией удерживающего средства линии.
Изобретение также включает разовую тару для напитков или пищевых продуктов, содержащую резервуар для чувствительных к микроорганизмам жидких или пищевых исходных продуктов, прикрепленный к резервуару шланг, и описанное выше приспособление, закрытое пробиваемой мембраной. Предпочтительнее резервуар должен быть в виде пакета, в котором помещается устойчивый к хранению низкокислотный концентрат, такой как молочный концентрат.
Изобретение относится также к шланговому приспособлению, пригодному для создания надежного соединения по потоку между шлангом и удерживающим шланг средством линии раздачи пищевых или жидких продуктов, содержащему корпус, имеющий первую поверхность зацепления для внутреннего зацепления конца шланга, и гильзу, имеющую вторую поверхность зацепления, охватывающую конец шланга извне с надавливанием на конец шланга и прижатием его к первой поверхности зацепления, создавая тем самым непроницаемое уплотнение между приспособлением и концом шланга.
Некоторые варианты выполнения изобретения будут далее описаны со ссылкой на прилагаемые чертежи, на которых:
Фигура 1 – перспективный вид приспособления согласно изобретению, присоединенного к отрезку шланга;
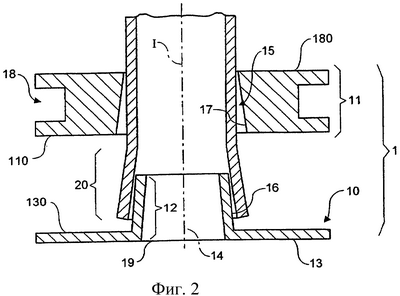
Фигура 2 – сечение приспособления на Фиг.1, показывающее зажимание приспособления;
Фигура 3 – сечение приспособления на Фиг.2 с присоединенным к отрезку шланга приспособлением;
Фигура 4 – сечение, которое иллюстрирует зажимание приспособления согласно второму варианту его исполнения;
Фигура 5 – сечение в зажатом положении второго варианта выполнения изобретения;
Фигура 6 – схема прикрепления тары к гигиенической системе трубопровода с помощью приспособления согласно изобретению.
На чертежах номером 1 обозначено приспособление, как оно показано впервые на Фиг.1, номером 2 обозначен шланг, присоединяемый к приспособлению, и номером 3 обозначена система гигиенической подачи продукта, в целом показанная на Фиг.6.
Как показано на Фигурах 1-3, приспособление согласно изобретению состоит из двух основных элементов: первого – корпуса 10 и второго – кольцеобразной гильзы 11, которые, будучи собранными вместе и присоединенными к концевой части или к концу 20 шланга, образуют между приспособлением и шлангом 2 непроницаемый для жидкости узел. Через приспособление можно пропускать любой вид жидкого или полужидкого потока, однако более предпочтительно использовать его для чувствительных к микроорганизмам компонентов, таких как концентраты, готовые к употреблению продукты и напитки, мягкое мороженое или сорбент, медицинские растворы и тому подобное, извлекаемые с помощью насосов из мягкой или жесткой тары, например пакетов или мешков, для подачи на линию раздачи. Предпочтительно использовать изобретение, когда жидкость является молоком или концентратом на основе молока и предназначена для получения горячего или холодного напитка в раздаточных машинах, которые предпочтительно не нуждаются в охлаждении. Концентрат может поддерживаться в асептических условиях в закрытой таре, после открывания он может быть распределен при температуре окружающей среды без риска заражения микроорганизмами. Благодаря особой конструкции приспособление согласно настоящему изобретению способствует сохранению благоприятных гигиенических условий распределяемых продуктов.
Как показано на Фигуре 2 корпус 10 приспособления включает часть трубки или втулку 12, вытянутую вдоль продольной оси I. Втулка 12 имеет трубчатую поверхность зацепления с внешней секцией, выполненной соответствующей номинальному внутреннему диаметру конца 20 шланга и предназначенной для соединения с ним. Предпочтительно шланг выполняется из гибкого пластика, слегка растяжимого для плотной посадки на втулку 12. На первом конце втулки 12 имеется торцевая стенка 13, которая окружает центральный вход 14 жидкости на оси I. Когда шланг надет на втулку, торцевая стенка образует элемент примыкания, который ограничивает длину шланга и должен быть сцеплен с ним.
Далее приспособление содержит второй элемент 11, представляющий собой гильзу, предпочтительно в форме кольца с внутренней проточкой 15, образующей вторую поверхность сцепления с концом шланга. Эта проточка гильзы 11 выполнена с возможностью плотного сцепления с внешней поверхностью конца 20 шланга с тем, чтобы образовать непроницаемое для жидкости соединение, как показано на Фигуре 3. Чаще втулка 12 и проточка 15 имеют отличающиеся формы поверхностей, выполненные так, чтобы образовать клин на конце шланга для предотвращения разъединения при натяжении шланга. В предпочтительном варианте втулка 12 имеет поверхность зацепления 16, которая скашивается в направлении шланга с образованием наклона 1 относительно продольной оси I, а проточка 15 имеет поверхность зацепления 17, которая также скашивается в том же самом направлении, но с образованием наклона 2, большего, чем 1, в результате чего образуется клинообразный участок 4, который зажимает шланг, примыкающий к внешней радиальной поверхности 180 гильзы 11. Таким образом, шланг оказывается надежно закреплен между втулкой и гильзой, и при этом присутствует сопротивление тянущему усилию в направлении Т.
Гильза 11 имеет стыковочное средство 18, дополнительно выполненное к удерживающему средству линии раздачи, описанному ниже. Как нетрудно понять, когда приспособление закреплено в линии раздачи с помощью стыковочного средства 18, силы, тянущие шланг в направлении Т, создают силу реакции гильзы на скошенном участке 4, что увеличивает давление на конце шланга и обеспечивает даже более прочное удержание конца шланга внутри приспособления. В результате нет необходимости выполнять втулку и проточку длинными, поскольку имеется достаточное давление для создания непроницаемого и прочного уплотнения. Во избежание всякого просачивания предпочтительно, чтобы зацепление корпуса и гильзы происходило на длине шланга L, равной или меньшей внешнего диаметра D шланга. Например, внешний диаметр шланга может быть около 1-1,5 см, тогда длина приспособления может меняться от 0,5 до 1,2 см. Прекрасные результаты были получены при D, равном 1,2 см, и L, равном 0,8 см. Приспособление предпочтительно выполнять из хороших полимеров, таких как полиолефины, полиамиды, полистирол или тетрафторполиэтилен.
Более предпочтительно, чтобы гильза имела переднюю поверхность 110, соответствующую внутренней поверхности 130 торцевой стенки 13 первого корпуса. Более предпочтительно, чтобы две поверхности 110 и 130 надежно связывались средствами соединения, например склеиванием, термосвариванием, ультразвуковой сваркой, защелкиванием или их комбинациями. Таким образом, как видно на Фигуре 3, путь для утечки жидкости из шланга достаточно сложен и имеет, по меньшей мере, два ограничивающих участка 40 и 41. Конец шланга удерживается благодаря трению с поверхностью втулки и гильзы, однако возможно также и защелкивание, адгезионное или термосклеивание для повышения степени надежности и непроницаемости соединения.
В более предпочтительном варианте приспособление может иметь защитную мембрану 19, которая закрывает отверстие 14. Мембрана может быть закреплена на внешней поверхности торцевой стенки 13 с помощью любых технологий, например термосклеиванием, вибрационным склеиванием, склеиванием или другими эквивалентными методами. Крепление может быть выполнено постоянным или съемным в зависимости от требований потребителя. Мембрана 19 в случае постоянного крепления может быть выполнена протыкаемой для обеспечения протекания жидкости или, в случае съемного крепления, может просто сниматься.
Фигуры 4 и 5 иллюстрируют вариант воплощения изобретения, в котором корпус и гильза соединяются с помощью защелки 6, которая может содержать ряд штырей 60 одной части, выполненных соответствующими отверстиям 61 другой части. Такая конструкция способствует удобному и быстрому присоединению к шлангу, не требуя установки в производственной линии пункта склеивания.
Как видно на Фигуре 6 в раздаточном устройстве может быть предусмотрен узел 3 гигиеничной подачи напитков или пищевых продуктов, например дозатор гигиенически разбавляемых по желанию напитков. Узел содержит одноразовый подузел или тару 30, которая присоединяется к гигиенической системе трубопровода 31 с возможностью съема. Система трубопровода 31 содержит кожух 32 со связующим проходом 33 для образования соединения по потоку между тарой 30 и линией раздачи 34. Система трубопровода выполнена с возможностью промывки через поточную линию 35 с помощью очищающих и/или промывочных жидкостей, поступающих с линий очистки или промывки 320, 321. Линии очистки или промывки могут использовать горячую или холодную воду, химические агенты, пар и их комбинации. Выбор и открытие линий очистки или промывки осуществляется с помощью затвора 323, управляемого системой управления (не показано).
Тара в сборе 30 предпочтительно включает содержащий жидкий или пищевой исходный продукт пакет 300 и шланг 2, оканчивающийся приспособлением 1 согласно настоящему изобретению. Пакет может быть пакетом с вкладышем или любым другим мягким пакетом, простым и удобным для транспортировки и складирования. Шланг 2 предпочтительно может быть присоединен непосредственно к отверстию пакета 301 герметичным способом или с помощью загибания и обжатия кромок и выполняется из пригодных для этого материалов. Перед заполнением тара в сборе с мембраной предпочтительно может быть стерилизована, например, с помощью облучения. Заполнение пищевых жидкостей выполняется предпочтительно с помощью асептических методов. Асептическое заполнение может осуществляться через заполняющее отверстие или апертуру, предусмотренное в самом пакете или благодаря вводу приспособления, присоединенного к шлангу и, в свою очередь, хорошо герметизированное. Следовательно, тара в сборе остается асептической до протыкания мембраны или ее снятия, что является преимуществом при транспортировке, складировании и погрузке тары при температуре окружающей среды. Такой узел мягкого пакета и шланга описан более подробно в патенте США 6024252 «Система раздачи», содержание которого включается в настоящую заявку посредством ссылок.
Тара в сборе соединена с системой трубопровода через концевое приспособление 1, соединенное со связующим проходом 33 и шлангом 2, введенным в зажимной затвор или ему подобный, поддерживающим верхнюю часть шланга и пакет стерильными. Обычно предусматриваются дополнительный затвор(ры) и насосы для управления потоком продукта, поступающего на линию раздачи (не показано).
Система трубопровода содержит удерживающее средство 36, которое дополнительно зацепляется и расцепляется с приспособлением 1 согласно изобретению. Конфигурация стыковочных средств может широко меняться в зависимости от типа и формы приспособления и обеспечения его зажима в связующем проходе 33. Стыковка должна обеспечивать влагонепроницаемое соединение в связующем проходе для создания надежной и уверенной связи по потоку между тарой и линией раздачи 34 гигиенической системы трубопровода. В предпочтительном варианте предусматривается подпружиненная удерживающая система 37, выполненная с возможностью зацепления со стыковочными средствами приспособлениями и плавно направляющая приспособление к связующему проходу. Понятно, что соединение между приспособлением 1 и системой трубопровода 31 может осуществляться с помощью любых других эквивалентных средств, таких как кулачковые или рычажные механизмы, с обеспечением того же результата и не выходя за рамки концепции изобретения.
В режиме очистки или промывки система трубопровода может обеспечивать прохождение очищающей или промывающей жидкости внутри приспособления до самой зоны зажима с тем, чтобы регулировать очистку или промывку этой критической зоны тары в сборе. При такой конфигурации зажимной затвор обеспечивает изолированность и стерильность верхней по потоку части тары в сборе.
Важно, и это легко понять, что укороченная конструкция приспособления 1 позволяет эффективно уменьшить нижнюю по потоку часть шланга, нуждающуюся в очистке и промывке. Приспособление предоставляет также очень мало возможностей для внедрения микроорганизмов, поскольку контакт с жидкостью ограничен только внутренней короткой трубчатой поверхностью гильзы. Следовательно, можно успешно улучшить гигиенические условия распределяемого продукта и, соответственно, пропорционально снизить риск загрязнения и роста бактерий. В результате содержащиеся в асептически обработанной таре низкокислотные концентраты, такие как молочные концентраты с относительно низкой активностью к воде, могут подаваться при температуре окружающей среды в устройствах раздачи без необходимости охлаждения тары. Это существенно сказывается на стоимости в сравнении с известными раздаточными устройствами, использующими охлажденное молоко.
Более подробно система трубопровода и способ гигиеничной подачи из тары чувствительных к микроорганизмам жидкостей описаны в находящейся одновременно на рассмотрении заявке США, поданной в тот же день на изобретение «Гигиеничная система трубопровода и способ гигиенической раздачи чувствительных к микроорганизмам жидкостей», которая внесена в настоящую заявку путем ссылок.
Формула изобретения
1. Шланговое приспособление для создания в линиях раздачи напитков или пищевых продуктов надежного соединения по потоку между шлангом (2), имеющим внешний диаметр, и шланговым удерживающим средством (36), содержащее корпус (10), имеющий вытянутую вдоль продольной оси втулку (12), на которую может быть надет шланговый конец (20), и гильзу (11), имеющую проточку (15) и конец, выполненный с возможностью удобного зацепления с внешней стороны со шланговым концом (20), для обеспечения установки шланга на втулке (12) корпуса (10) с созданием непроницаемого уплотнения, отличающееся тем, что корпус (10) имеет круговую торцевую стенку (13), окружающую отверстие (14) для жидкости, и тем, что гильза (11) имеет кольцеобразную форму и содержит средство стыковки (18), выполненное с возможностью дополнительного сцепления со шланговым удерживающим средством (36) линии раздачи.
2. Шланговое приспособление по п.1, отличающееся тем, что стыковочное средство (18) включает канавки или ребра.
3. Шланговое приспособление по п.1, отличающееся тем, что втулка (12) корпуса (10) и проточка (15) гильзы (11) имеют различные формы поверхностей, предназначенные для образования клинового эффекта на шланговом конце (20) для препятствования рассоединению при действии на шланг (2) тянущих усилий.
4. Шланговое приспособление по п.3, отличающееся тем, что втулка (12) постепенно скашивается в направлении от торцевой стенки (13) к шлангу под углом, меньшим, чем такое же скашивание прохода (15) гильзы, для создания клиновидного участка вблизи свободного конца втулки.
5. Шланговое приспособление по п.1, отличающееся тем, что гильза (11) имеет переднюю круговую поверхность (110), соответствующую внутренней поверхности (130) круговой торцевой стенки (13) корпуса (10), и средства соединения для плотного прикрепления этих поверхностей друг к другу.
6. Шланговое приспособление по п.5, отличающееся тем, что эти две поверхности (110, 130) прикрепляются с помощью нажима, склеивания, термосклеивания, защелкивания или их комбинаций.
7. Шланговое приспособление по любому из пп.1-6, отличающееся тем, что отверстие (14) для жидкости закрыто протыкаемой или снимаемой мембраной (19).
8. Шланговое приспособление по любому из пп.1-6, отличающееся тем, что корпус (10) и гильза (11) зацеплены на участке (L), длина которого меньше внешнего диаметра (D) шланга (2).
9. Разовая тара для пищевых продуктов и напитков, содержащая резервуар (300) для чувствительных к микроорганизмам жидких или пищевых исходных продуктов, шланг (2), прикрепленный одним концом (301) к резервуару (300), а другим концом (20) – к приспособлению (1) согласно п.1, закрытому протыкаемой мембраной.
10. Разовая тара по п.9, отличающаяся тем, что резервуар (300) является пакетом, содержащим стойкий к хранению низкокислотный концентрат.
11. Разовая тара по п.10, отличающаяся тем, что резервуар (300) содержит концентрат на основе молока.
12. Приспособление для пищевых продуктов или напитков, выполненное с возможностью создания в линиях раздачи напитков или пищевых продуктов надежного соединения по потоку между шлангом (2) и шланговым удерживающим средством (36), содержащее корпус (10), имеющий первую поверхность зацепления (16) для внутреннего зацепления шлангового конца (20) и гильзы (11), имеющей вторую поверхность зацепления (17), которая извне окружает шланговый конец (20) и прижимает шланговый конец к первой поверхности сцепления (16) с образованием непроницаемого уплотнения между приспособлением и шлангом, отличающееся тем, что корпус (10) имеет круговую торцевую стенку (13), окружающую отверстие (14) для жидкости, и тем, что гильза (11) имеет кольцеобразную форму и содержит средство стыковки (18), выполненное с возможностью дополнительного сцепления со шланговым удерживающим средством (36) линии раздачи.
РИСУНКИ
|
|