|
|
(21), (22) Заявка: 2005136273/06, 22.11.2005
(24) Дата начала отсчета срока действия патента:
22.11.2005
(43) Дата публикации заявки: 27.05.2007
(46) Опубликовано: 27.09.2007
(56) Список документов, цитированных в отчете о поиске:
RU 2199662 С2, 29.05.2001. SU 344210 А, 24.07.1972. SU 706637 А, 30.12.1979. FR 2713735 А, 16.06.1995.
Адрес для переписки:
450062, г.Уфа, ул. Космонавтов, 1, ГОУ ВПО “Уфимский государственный нефтяной технический университет”, патентный отдел
|
(72) Автор(ы):
Сафаров Рауф Рахимович (RU), Сафаров Роберт Ахатович (RU), Сафаров Ян Рауфович (RU), Сафаров Артур Рауфович (RU), Акульшин Михаил Дмитриевич (RU)
(73) Патентообладатель(и):
Сафаров Рауф Рахимович (RU)
|
(54) КЛАПАН МАГНИТОРЕГУЛИРУЕМЫЙ (ВАРИАНТЫ)
(57) Реферат:
Группа изобретений относится к арматуростроению и предназначена для использования в качестве перепускного клапана для жидкой и газообразной рабочих сред. Клапан магниторегулируемый содержит корпус, подпружиненный запорный орган со штоком, седло, шайбу из магнитного материала на штоке, два кольцевых магнита, одноступенчатый дроссель в виде дросселирующего диска. Одноступенчатый дроссель установлен в проходном сечении патрубка седла и жестко скреплен с запорным органом. Корпус состоит из основания с перегородкой, в котором закреплено седло, первой втулки с жестко закрепленным в ней магнитопроводом и ввернутой на резьбе в основание, второй втулки с жестко закрепленным в ней магнитопроводом, ввернутой на резьбе в первую втулку, стакана с винтовым устройством для регулирования предварительного усилия сжатия пружины, нагружающей запорный орган, ввернутого на резьбе во вторую втулку. Первая и вторая втулки и стакан установлены с возможностью перемещения по резьбе для регулирования осевых зазоров между шайбой, в ее крайних положениях, и магнитопроводами, при этом перемещение шайбы, жестко закрепленной на штоке, от одного крайнего положения до другого ограничено в одном направлении упором запорного органа о седло, в другом – упором буртика штока о перегородку основания корпуса. Группа изобретений позволит расширить область применения магниторегулируемого клапана, сократить наладочные и регулировочные работы, повысить точность, надежность и качество его работы. 2 н. и 5 з.п. ф-лы, 5 ил.
Изобретение относится к арматуростроению и может быть использовано в качестве перепускного клапана для жидкой или газообразной рабочих сред, в частности в устройствах для измерения дебита скважин в нефтедобывающей промышленности.
Известен магнитоуправляемый клапан, содержащий седло, якорь с золотником, размещенный в разделительной трубке, выполненный из магнитомягкого материала, и постоянный магнит, размещенный между двумя дисками из магнитомягкого материала, неподвижно установленными на разделительной трубке, и заключенный в обойму из магнитомягкого материала, выполненную с возможностью осевого перемещения (SU, авторское свидетельство №406483 от 25.02.72, F16K 31/08).
Недостатком известного магнитоуправляемого клапана является невозможность регулирования величин: усилия пружины и магнитного потока; с целью настройки магнитоуправляемого клапана на заранее заданный перепад давления рабочей среды на запорном органе клапана, что сужает область применения клапана по перепаду давления.
Известен клапан, содержащий корпус, подпружиненный запорный орган со штоком, седло, дроссель, пружину, снабженный шайбой из магнитного материала, установленной на штоке и расположенной между двумя кольцевыми магнитами, размещенными в двух магнитопроводах, жестко прикрепленных к корпусу, и поочередно взаимодействующими с шайбой в ее крайних положениях при ее перемещении со штоком, при этом одноступенчатый дроссель в виде дросселирующего диска установлен в проходном сечении патрубка седла клапана и жестко закреплен на запорном органе (RU, патент №2199662, С2 на изобретение от 29.05.2001 г., Е21В 47/10).
Недостатком известного клапана является невозможность регулирования величин: усилия пружины и удерживающей магнитной силы магнитной цепи, образованной из кольцевого магнита, магнитопровода и шайбы; с целью настройки клапана на заранее заданные величины перепада давления рабочей среды на клапане в моменты открытия и закрытия клапана, что сужает область применения клапана по перепаду давления.
Известный клапан наиболее близок к изобретению по технической сути и достигаемым техническим результатам.
Технической задачей изобретения является клапан магниторегулируемый, конструкция которого позволяет регулировать отдельно, независимо друг от друга, величины: усилия пружины и удерживающей магнитной силы; с целью настройки клапана на заранее заданные величины перепада давления рабочей среды на клапане в моменты открытия и закрытия его, увеличение пропускной способности клапана.
Техническая задача по клапану магниторегулируемому, содержащему корпус, пружину, подпружиненный запорный орган со штоком, седло, шайбу из магнитного материала на штоке, два кольцевых магнита, между которыми расположена шайба, два магнитопровода, в которых размещены по кольцевому магниту, установленные в корпусе и взаимодействующие поочередно с шайбой в крайних ее положениях при ее перемещении, одноступенчатый дроссель в виде дросселирующего диска, установленный в проходном сечении патрубка седла и жестко скрепленный с запорным органом, решается согласно изобретению тем, что корпус состоит из основания с перегородкой, в котором закреплено седло, первой втулки с жестко закрепленным в ней магнитопроводом и ввернутой на резьбе в основание, второй втулки с жестко закрепленным в ней магнитопроводом, ввернутой на резьбе в первую втулку, стакана с винтовым устройством для регулирования предварительного усилия сжатия пружины, нагружающей запорный орган, ввернутого на резьбе во вторую втулку, причем первая и вторая втулки и стакан обладают возможностью перемещения по резьбе для регулирования осевых зазоров между шайбой, в ее крайних положениях, и магнитопроводами, при этом перемещение шайбы, жестко закрепленной на штоке, от одного крайнего положения до другого, ограничено в одном направлении упором запорного органа о седло, в другом – упором буртика штока о перегородку основания корпуса.
Кроме того, задача по клапану магниторегулируемому, содержащему корпус, пружину, подпружиненный запорный орган со штоком, седло, шайбу из магнитного материала на штоке, два кольцевых магнита, между которыми расположена шайба, два магнитопровода, в которых размещены по кольцевому магниту, установленные в корпусе и взаимодействующие поочередно с шайбой в крайних ее положениях при ее перемещении, одноступенчатый дроссель в виде дросселирующего диска, установленный в проходном сечении патрубка седла и жестко скрепленный с запорным органом, решается согласно изобретению тем, что в корпусе, имеющем основание с перегородкой, в котором закреплено седло, установлен, с возможностью осевого перемещения первый магнитопровод с разрезной накидной втулкой, сопрягаемой с корпусом, упирающийся с одной стороны через разрезную накидную втулку во второй магнитопровод, ввернутый на резьбе в корпус, с другой – в пружину, нагружающую шток, с возможностью регулирования предварительного усилия сжатия, причем второй магнитопровод обладает возможностью перемещения по резьбе для регулирования осевого зазора между первым магнитопроводом и шайбой, в ее крайнем положении, закрепленной на втулке, посаженной на шток с возможностью осевого перемещения и поджатой к опорной шайбе на штоке дополнительной пружиной, опирающейся, с возможностью регулирования предварительного усилия сжатия, о шток, при этом перемещение штока ограничено в одном направлении с упором запорного органа о седло, в другом – упором запорного органа о перегородку корпуса, а перемещение шайбы ограничено в одном направлении упором самой шайбы о второй магнитопровод, в другом – упором втулки, через дополнительную пружину, шток и запорный орган, о седло, кроме того, второй магнитопровод состоит из втулки, сопрягаемой с корпусом по резьбе и в которой жестко закреплен кольцевой магнит, и являющейся наружной кольцевой частью второго магнитопровода, и пробки, ввернутой на резьбе во втулку, являющейся внутренней кольцевой и торцовой частями второго магнитопровода и наделенной возможностью перемещения по резьбе для регулирования зазора между торцом кольцевого магнита и пробкой.
К тому же, техническая задача по клапану магниторегулируемому решается тем, что шайба закреплена на штоке и перемещение ее и штока ограничено в одном направлении упором самой шайбы о второй магнитопровод, в другом – упором запорного органа о седло. Причем второй магнитопровод может быть выполнен цельным и в постоянном зазоре между торцовой частью второго магнитопровода и торцом кольцевого магнита установлен пакет постоянной суммарной толщины из двух регулировочных прокладок: из магнитного и немагнитного материалов; и расположенных в этой же последовательности от торцовой части второго магнитопровода к торцу кольцевого магнита.
Профиль же поверхности шайбы, сопрягаемой со вторым магнитопроводом и кольцевым магнитом, выполнен ступенчатым, адекватным ступенчатому сочетанию торцовых поверхностей второго магнитопровода и кольцевого магнита, а дроссель выполнен многоступенчатым и состоит из двух и более дросселирующих дисков.
Сущность изобретения поясняется чертежами:
фиг.1 – общий вид клапана по I-му варианту исполнения;
фиг.2 – общий вид клапана по II-му варианту исполнения;
фиг.3 – общий вид клапана по III-му варианту исполнения;
фиг.4 – изображение исполнения второго магнитопровода цельным с пакетом регулировочных прокладок;
фиг.5 – изображение многоступенчатого дросселя.
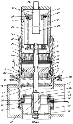
Клапан магниторегулируемый по I-му варианту исполнения содержит корпус 1, состоящий из основания 2, в котором закреплено седло 3 с перегородкой 4, первой втулки 5 с жестко закрепленным в ней магнитопроводом 6, ввернутой на резьбе в основание 2, второй втулки 7 с жестко закрепленным в ней магнитопроводом 8, ввернутой на резьбе в первую втулку 5, стакана 9, ввернутого на резьбе во вторую втулку 7, пружину 10, подпружиненный запорный орган 11 со штоком 12, жестко скрепленный с ним, шайбу 13 из магнитного материала на штоке 12, два кольцевых магнита 14, между которыми расположена шайба 13, размещенных по одному в магнитопроводах 6, 8; одноступенчатый дроссель в виде дросселирующего диска 15, установленный в проходном сечении патрубка 16 седла 3 и жестко скрепленный со штоком 12.
Клапан магнитоуправляемый устанавливается в устройство применения 17 и фиксируется в нем быстросъемным коническим фланцевым соединением 17а. Шайба 13 жестко закреплена на штоке 12 и при перемещении штока 12 поочередно взаимодействует с магнитопроводами 6, 8 в крайних ее положениях. Перемещение шайбы 13 ограничено в одну сторону упором запорного органа 11 о седло 3, в другую – упором буртика 12а штока 12 о перегородку 4. Седло 3 содержит манжету 3а из эластомера, которая закреплена с помощью прижимной втулки 3в, о которую собственно и упирается запорный орган 11, в держателе 3г, ввернутом на резьбе в основание 2 корпуса 1. Эластичность манжеты 3а при сопряжении ее с запорным органом 11 обеспечивает самоуплотнение сопряжения. Эластомерное кольцо 3д обеспечивает уплотнение седла 3 при посадке его на патрубок 16 седла 3. Магнитопроводы 6, 8, идентичные по конструкции, жестко крепятся в первой 5 и второй 7 втулках, соответственно, стопорными кольцами 18 с помощью гильз 19 и колец 20. Кольцевые магниты 14 плотно посажены во втулки 14а из немагнитного материала, запрессованные в магнитопроводы 6, 8, и законтрены от смещения клеем. Гильзы 19, кольца 20, направляющие втулки 21, втулки 14а, выполненные из немагнитного материала, и радиальные зазоры 14в служат для предотвращения рассеивания магнитного потока.
Пружина 10 установлена в стакане 9, опирается с одной стороны в опорную шайбу 22 на штоке 12, с другой – в гайку 23 винтового устройства 24 для регулирования предварительного усилия сжатия пружины 10, включающего кроме этого винт 25. Под опорные концы пружины 10 установлены втулки 26 из антифрикционного материала для исключения влияния вращения стакана 9 на сжатие пружины 10. Гайка 23 имеет усики 27, входящие в пазы 28 стакана 9, предотвращающие проворот гайки 23 при вращении винта 25. Первая 5, вторая 7 втулки и стакан 9 наделены возможностью перемещения по резьбе. Уплотнительные кольца 3д, 24а, 29, 30, 31, 32, 33, 34 из эластомера обеспечивают герметичность конструкции. Уплотнительные кольца 32, 33, 34 помимо своей основной функции обеспечения герметичности служат для предотвращения самовыворачивания из резьбового соединения первой 5, второй 7 втулок и стакана 9 за счет трения колец 32, 33, 34 об уплотняемую поверхность. Перегородка 4 закреплена в основании 2 корпуса 1 стопорным кольцом 4а. Дроссель 15 может быть выполнен многоступенчатым и состоять из двух и более дросселирующих дисков 15а и 15в.
Клапан магниторегулируемый по II-му варианту исполнения содержит корпус 1 с перегородкой 4, в котором закреплено седло 3, первый магнитопровод 35 с разрезной накидной втулкой 35а, установленный с возможностью осевого перемещения в корпусе 1 и опирающийся с одной стороны через разрезную накидную втулку 35а во второй магнитопровод 36, ввернутый на резьбе в корпус 1, с другой – в пружину 10, нагружающую шток 12, с жестко скрепленными с ним запорным органом 11, дросселем 15. Кольцевой магнит 14 в первом магнитопроводе 35, плотно посажен во втулку 35в из немагнитного материала, запрессованную в первый магнитопровод 35, и законтрен от смещения клеем. Во втором магнитопроводе 36 кольцевой магнит 14 плотно посажен в разрезную втулку 36а из немагнитного материала и вместе с ней закреплен жестко стопорным кольцом 37. Втулки 35в и 36а из немагнитного материала и радиальные зазоры 35г и 36в служат для предотвращения рассеивания магнитного потока.
Пружина 10 опирается на шток 12 через подвижную шайбу 38, застопоренную на штоке 12 штифтом 39, установленным в одно из многих регулировочных отверстий 40, расположенных на равном расстоянии друг от друга, что позволяет регулировать предварительное усилие сжатия пружины 10. Шайба 13 жестко закреплена на подвижной втулке 41, посаженной с возможностью осевого перемещения на шток 12, опирающейся с одной стороны на опорную шайбу 42, закрепленную гайками 43 на конце штока 12, с другой – в дополнительную пружину 44, опирающуюся в свою очередь на шток 12 через подвижную шайбу 45, застопоренную на штоке 12 штифтом 39, установленном в отверстие 40, что позволяет регулировать предварительное усилие сжатия дополнительной пружины 44. Таким образом, перемещение шайбы 13 ограничено в одну сторону, через пружину 44 и шток 12, упором запорного органа 11 о седло 3, в другую – упором самой шайбы 13 во второй магнитопровод 36. Разрезная накидная втулка 35а и направляющая втулка 46 также выполнены из немагнитного материала для предотвращения рассеивания магнитного потока в первом магнитопроводе 35 с целью достижения максимально возможной величины удерживающей магнитной силы магнитной цепи: шайба 13, первый магнитопровод 35, кольцевой магнит 14; что, например, способствует увеличению потенциально возможного верхнего предела задаваемого перепада давления рабочей среды на запорном органе 11 в момент открытия клапана магниторегулируемого. Это же относится и к магнитопроводам 6, 8, 36. Второй магнитопровод 36 наделен возможностью перемещения по резьбе, законтрен от самопроизвольного отворачивания уплотнительным эластомерным кольцом 47, состоит из втулки 48, сопрягаемой по резьбе с корпусом 1, и в которой жестко закреплен кольцевой магнит 14, и пробки 49, ввернутой, с возможностью перемещения по резьбе, во втулку 48. Уплотнительное эластомерное кольцо 50 контрит пробку 49 от самопроизвольного отворачивания. Втулка 48 выполняет роль наружного кольцевого участка второго магнитопровода 36, а пробка 49 – внутреннего кольцевого и торцового участков второго магнитопровода 36. Торцовые поверхности второго магнитопровода 36 и торец кольцевого магнита 14, сопрягаемые с шайбой 13, не лежат в одной плоскости, расположены ступенчато, адекватно им выполнена поверхность 13а шайбы 13, ступенчатой. Это сделано с целью снижения потерь магнитного потока путем максимального снижения переходного (контактного) сопротивления между шайбой 13 и магнитной цепью.
Клапан магниторегулируемый по III-му варианту исполнения отличается от II-го варианта исполнения тем, что шайба 13 закреплена на штоке 12 гайками 43, и перемещение шайбы 13 вместе со штоком 12 ограничено в одном направлении упором самой шайбы 13 о второй магнитопровод 36, в другом – упором запорного органа 11 о седло 3.
Имеется исполнение второго магнитопровода 36 цельным, в этом случае в постоянный зазор между торцом кольцевого магнита 14 и торцовой частью магнитопровода 36 плотно установлен пакет постоянной толщины из двух регулировочных прокладок: из магнитного 50 и немагнитного 51 материалов, расположенных в той же последовательности от торцовой части второго магнитопровода 36 к торцу кольцевого магнита 14. Во втором магнитопроводе 36 имеются отверстия 52 для демонтажа прокладок 50, 51 и кольцевого магнита 14. Клапан магниторегулируемый по II-му и по III-му вариантам исполнения также устанавливается в устройство применения 17 и фиксируется быстросъемным коническим фланцевым соединением 17а.
Клапан магниторегулируемый по I-му варианту исполнения работает следующим образом: перепад давления рабочей среды на запорном органе 11 в патрубке 16 давит снизу на запорный орган 11, посаженный на седло 3, с усилием, воспринимаемым пружиной 10 и удерживающей магнитной силой магнитной цепи: магнитопровод 6, кольцевой магнит 14 и шайба 13; действующей на шайбу 13. При превышении перепада давления рабочей среды верхнего предела, на который настроен при регулировке клапан магаиторегулируемый, происходит отрыв запорного органа 11 от седла 3, а также перемещение шайбы 13 от магнитопровода 6. Удерживающая магнитная сила падает по величине и запорный орган 11, а вместе с ним шайба 13, дроссель 15, под динамическим воздействием потока рабочей среды, вытекающей из проходного сечения патрубка 16, на дроссель 15 и запорный орган 11, преодолевая усилие предварительного усилия сжатия пружины 10, поднимается вверх до упора буртика 12а штока 12 в перегородку 4, открывая полный проход, а шайба 13 попадает под воздействие удерживающей магнитной силы и замыкает магнитную цепь: магнитопровод 8, кольцевой магнит 14, шайба 13. Суммарное усилие динамического воздействия потока рабочей среды и удерживающей магнитной силы превышает усилие сжатой пружины 10, до тех пор, пока перепад давления рабочей среды в патрубке 16 на дросселе 15 не упадет ниже нижнего предела, на который настроен при регулировке клапан магниторегулируемый. В этом случае усилие сжатия пружины 10 преодолеет суммарное усилие динамического воздействия потока рабочей среды и удерживающей магнитной силы и запорный орган 11, а вместе с ним шайба 13 и дроссель 15, под действием усилия сжатой пружины 10, переместится вниз и сядет на седло 3, закрывая проход. Шайба 13 попадет под воздействие удерживающей магнитной силы и замкнет магнитную цепь: магнитопровод 6 и кольцевой магнит 14, шайба 13. Удерживающая магнитная сила резко возрастает и запорный орган 11 удерживается на седле 3, до тех пор, пока перепад давления рабочей среды на запорном органе 11 в патрубке 16 не возрастет до верхнего предела.
Регулирование клапана магниторегулируемого на верхний предел перепада давления рабочей среды, при котором он открывается, т.е. запорный орган 11 отрывается от седла и поднимается вверх до упора буртика 12а штока 12 в перегородку 4, и на нижний предел перепада давления рабочей среды, при котором он закрывается, т.е. запорный орган 11 опускается вниз и садится на седло 3, осуществляется регулированием величины предварительного усилия сжатия пружины 10 и величины удерживающей магнитной силы магнитных цепей: магнитопроводов 6, 8 и кольцевых магнитов 14 и шайбы 13.
Величина верхнего предела перепада давления рабочей среды определяется суммой предварительного усилия сжатия пружины 10 и удерживающей магнитной силы, нижнего предела – разностью предварительного усилия сжатия пружины 10 и удерживающей магнитной силы. Величину предварительного усилия сжатия пружины 10 регулируют вращением винта 25 винтового устройства 24. Шайба 13 поочередно взаимодействует с магнитными цепями: магнитопроводы 6, 8, кольцевые магниты 14, шайба 13, в крайних фиксированных положениях, поэтому, смещая магнитопровод 6 вниз от крайнего нижнего положения шайбы 13, вворачивая по резьбе первую втулку 5 корпуса 1, и магнитопровод 8 вверх от крайнего верхнего положения шайбы 13, выворачивая по резьбе вторую втулку 7 корпуса 1, изменяют зазор Zo от нуля до максимума, то есть изменяют величину воздушного сопротивления от нуля до максимума в магнитных цепях: магнитопроводы 6, 8, кольцевые магниты 14, шайба 13 (замыкающий элемент) и тем самым изменяют величину магнитного потока в магнитных цепях от максимума до нуля, что выражается в изменении величин удерживающей магнитной силы, действующей на шайбу 13 от максимума до нуля.
Вначале производят регулирование верхнего предела перепада давления рабочей среды вращением винта 25 и первой втулки 5, причем одновременно вращают в обратном направлении вторую втулку 7 на тот же угол, что и первую втулку 5, для того чтобы не сбить настройку нижнего предела перепада давления. Далее регулируют нижний предел перепада давления рабочей среды вращением второй втулки 7, одновременно вращая в обратном направлении стакан 9 на тот же угол, что и вторую втулку 7, для того, чтобы не сбить настройку величины усилия сжатия пружины 10.
Регулирование клапана магниторегулируемого надежнее всего производить на специальном стенде, частичную подстройку можно осуществлять на устройстве применения 17 во время эксплуатации.
Применение многоступенчатого дросселя 15, состоящего из двух и более дросселирующих дисков 15а, 15в, расположенных в проходном сечении патрубка 16, по сравнению с одноступенчатым дросселем 15, при одинаковых величинах: площади Fo проходного сечения патрубка 16 седла 3 и перепада давления рабочей среды на дросселе 15; обеспечивает увеличение возможного расхода рабочей среды через дроссель 15 в патрубке 16. Это объясняется следующим образом: общий суммарный перепад давления рабочей среды на многоступенчатом дросселе 15 в патрубке 16 делится на ряд отдельных перепадов давлений рабочей среды по ступеням-дросселирующим дискам 15а, 15в – многократно меньшим, чем суммарный перепад давления рабочей среды. Скорость истечения рабочей среды через кольцевую щель, площадью Fк, ступеней – кольцевой зазор между внешним диаметром дисков 15а, 15в и диаметром патрубка 16, падает, что вызывает необходимость роста величины Fк, а следовательно, роста отношения Fк/Fo, и ведет к снижению коэффициента гидравлических потерь потока рабочей среды и росту коэффициента расхода потока через кольцевую щель Fк ступеней. Это известно из гидравлики (см. И.Е.Идельчик, «Справочник по гидравлическим сопротивлениям», Москва, Машиностроение, 1975 г; на стр.125, рис.4-9; стр.137, диаграмма 4-11; стр.140, диаграмма 4-15; стр.351, рис.9-2 приведены случаи, аналогичные рассматриваемому). В итоге это дает возможность увеличить возможный расход потока рабочей среды через многоступенчатый дроссель 15 в патрубке 16 при одинаковом заданном перепаде давления рабочей среды на нем.
Клапан магниторегулируемый по II-му варианту исполнения работает и регулируется аналогично I-му варианту со следующими отличиями: максимальное перемещение штока 12 ограничивается в одном направлении упором запорного органа 11 о седло 3, в другом – упором запорного органа 11 о перегородку 4 корпуса 1 и превышает перемещение шайбы 13, ограничиваемое в одном направлении посредством пружины 44 и штока 12 упором запорного органа 11 о седло 3, в другом – упором шайбы 13 о второй магнитопровод 36. При нормальном режиме работы клапана магниторегулируемого, во время его открытия, шток 12 усилием дополнительной пружины 44, которое заведомо превышает удерживающую магнитную силу первого магнитопровода 35, перемещает шайбу 13 от первого магнитопровода 35 до упора во второй 36 магнитопровод. Дальнейшее перемещение штока 13 останавливается, поскольку разница между усилием динамического воздействия потока рабочей среды на дроссель 15 и запорный орган 11 и усилием сжатия пружины 10 не превышает усилия сжатия дополнительной пружины 44, запорный орган 11 открывает седло 3 на номинальную величину прохода. При аварийном случае роста давления рабочей среды, что возможно, например, при выбросе газового пузыря в жидкую рабочую среду, разница усилий намного превышает усилие сжатия дополнительной пружины 44 и шток 12, преодолевая усилие сжатия дополнительной пружины 44, перемещается далее до упора запорного органа 11 в перегородку 4, тем самым дополнительно, до максимума, отрывая запорный орган 11 от седла 3 и увеличивая пропускную способность клапана магниторегулируемого до максимума.
Регулирование клапана магниторегулируемого должно осуществляться на стенде, регулирование величин усилий: предварительного сжатия пружины 10 и дополнительной пружины 44 осуществляется перемещением подвижных шайб 38 и 45 и фиксацией их штифтами 39, установкой последних в соответствующие регулировочные отверстия 40. Регулирование величины удерживающей магнитной силы магнитной цепи: первый магнитопровод 35, кольцевой магнит 14, шайба 13 от максимума до нуля осуществляется смещением первого магнитопровода 35 от нижнего крайнего положения шайбы 13, увеличением зазора Z1 от нуля до максимума, путем вращения в резьбе корпуса 1 второго магнитопровода 36. Регулирование величины удерживающей магнитной силы магнитной цепи: второй магнитопровод 36, кольцевой магнит 14, шайба 13 от максимума до нуля осуществляется увеличением от нуля до максимума зазора Z2 между торцом кольцевого магнита 14 и торцовой частью второго магнитопровода 36 и зазора Z3 между торцом внутренней кольцевой части второго магнитопровода 36 и сопрягаемой с ним поверхностью шайбы 13, путем вращения в резьбе втулки 48 пробки 49, то есть увеличением сопротивления (воздушного зазора) в магнитной цепи: второй магнитопровод 36, кольцевой магнит 14, шайба 13, что приводит к снижению от максимума до нуля величины магнитного потока в магнитной цепи.
В случае исполнения (см. фиг.3) второго магнитопровода 36 цельным, зазор Z4 регулируется подбором регулировочных прокладок 50, 51, собранных в пакет постоянной толщины. Подбирая толщину прокладки 51 из немагнитного материала от нуля до максимума, т.е. Z4 и, соответственно, толщину прокладки 50 из магнитного материала от максимума до нуля, меняют величину сопротивления в магнитной цепи и величину магнитного потока от максимума до нуля.
Работа и регулирование клапана магниторегулируемого по III-му варианту исполнения осуществляется аналогично работе и регулированию клапана магниторегулируемого по II-му варианту исполнения при нормальном режиме работы со следующим отличием: из описания работы и процесса регулирования исключено все, что относится к дополнительной пружине 44. Перемещение штока 12 в сторону второго магнитопровода 36 ограничено упором шайбы 13 о второй магнитопровод 36.
Регулирование клапана магнитоуправляемого по II-му и III-му вариантам исполнения возможно только на стенде и допускается только частичная подстройка удерживающей магнитной силы в эксплуатации на устройстве применения 17 при регулировании нижнего предела перепада давления на клапане.
Применение изобретения позволит расширить область применения клапана магниторегулируемого, сократить наладочные и регулировочные работы, повысить точность, надежность и качество его работы. Конструкция клапана магниторегулируемого обеспечивает полное открытие или полное закрытие его без промежуточных положений, что увеличивает его пропускную способность и сокращает время перепуска рабочей среды через клапан магниторегулируемый.
Формула изобретения
1. Клапан магниторегулируемый, содержащий корпус, подпружиненный запорный орган со штоком, седло, шайбу из магнитного материала на штоке, два кольцевых магнита, между которыми расположена шайба, два магнитопровода, в которых размещено по кольцевому магниту, установленных в корпусе и взаимодействующих поочередно с шайбой в крайних ее положениях при ее перемещении, одноступенчатый дроссель в виде дросселирующего диска, установленный в проходном сечении патрубка седла и жестко скрепленный с запорным органом, отличающийся тем, что корпус состоит из основания с перегородкой, в котором закреплено седло, первой втулки с жестко закрепленным в ней магнитопроводом и ввернутой на резьбе в основание, второй втулки с жестко закрепленным в ней магнитопроводом, ввернутой на резьбе в первую втулку, стакана с винтовым устройством для регулирования предварительного усилия сжатия пружины, нагружающей запорный орган, ввернутого на резьбе во вторую втулку, причем первая и вторая втулки и стакан установлены с возможностью перемещения по резьбе для регулирования осевых зазоров между шайбой, в ее крайних положениях, и магнитопроводами, при этом перемещение шайбы, жестко закрепленной на штоке, от одного крайнего положения до другого ограничено в одном направлении упором запорного органа о седло, в другом – упором буртика штока о перегородку основания корпуса.
2. Клапан магниторегулируемый по п.1, отличающийся тем, что дроссель выполнен многоступенчатым и состоит из двух и более дросселирующих дисков.
3. Клапан магниторегулируемый, содержащий корпус, пружину, подпружиненный запорный орган со штоком, седло, шайбу из магнитного материала на штоке, два кольцевых магнита, между которыми расположена шайба, два магнитопровода, в которых размещено по кольцевому магниту, установленных в корпусе и взаимодействующих поочередно с шайбой в крайних ее положениях при ее перемещении, одноступенчатый дроссель в виде дросселирующего диска, установленный в проходном сечении седла и жестко скрепленный с запорным органом, отличающийся тем, что в корпусе с перегородкой, в котором закреплено седло, установлен с возможностью осевого перемещения первый магнитопровод с разрезной накидной втулкой, сопрягаемой с корпусом, упирающийся с одной стороны через разрезную накидную втулку во второй магнитопровод, ввернутый на резьбе в корпус, с другой – в пружину, нагружающую шток с возможностью регулирования предварительного усилия сжатия, причем второй магнитопровод установлен с возможностью перемещения по резьбе для регулирования осевого зазора между первым магнитопроводом и шайбой в ее крайнем положении, закрепленной на втулке, посаженной на шток с возможностью осевого перемещения и поджатой к опорной шайбе на штоке дополнительной пружиной, опирающейся с возможностью регулирования предварительного усилия сжатия о шток, при этом перемещение штока ограничено в одном направлении упором запорного органа о седло, в другом – упором запорного органа о перегородку корпуса, а перемещение шайбы ограничено в одном направлении упором самой шайбы о второй магнитопровод, в другом – упором втулки, через дополнительную пружину, шток и запорный орган о седло, кроме того, второй магнитопровод состоит из втулки, сопрягаемой с корпусом по резьбе и в которой жестко закреплен кольцевой магнит, являющейся наружной кольцевой частью второго магнитопровода, и пробки, ввернутой на резьбе во втулку, являющейся внутренней кольцевой и торцовой частями второго магнитопровода и наделенной возможностью перемещения по резьбе для регулирования зазора между торцом кольцевого магнита и пробкой.
4. Клапан магниторегулируемый по п.3, отличающийся тем, что шайба закреплена на штоке и перемещение ее и штока ограничено в одном направлении упором самой шайбы о второй магнитопровод, в другом – упором запорного органа о седло.
5. Клапан магниторегулируемый по п.3, отличающийся тем, что второй магнитопровод выполнен цельным и в постоянном зазоре между торцовой частью второго магнитопровода и торцом кольцевого магнита установлен пакет постоянной суммарной толщины из двух регулировочных прокладок из магнитного и немагнитного материалов, расположенных в этой же последовательности от торцовой части второго магнитопровода к торцу кольцевого магнита.
6. Клапан магниторегулируемый по п.3, отличающийся тем, что профиль поверхности шайбы, сопрягаемой со вторым магнитопроводом и кольцевым магнитом, выполнен ступенчатым, адекватным ступенчатому сочетанию торцовых поверхностей второго магнитопровода и кольцевого магнита.
7. Клапан магниторегулируемый по п.3 или 4, отличающийся тем, что дроссель выполнен многоступенчатым и состоит из двух и более дросселирующих дисков.
РИСУНКИ
QB4A – Регистрация лицензионного договора на использование изобретения
Лицензиар(ы): Сафаров Рауф Рахимович
Вид лицензии*: НИЛ
Лицензиат(ы): Общество с ограниченной ответственностью ИПП “Новые технологии”
Договор № РД0032170 зарегистрирован 04.02.2008
Извещение опубликовано: 20.03.2008 БИ: 08/2008
* ИЛ – исключительная лицензия НИЛ – неисключительная лицензия
|
|