|
|
(21), (22) Заявка: 2006115885/09, 11.05.2006
(24) Дата начала отсчета срока действия патента:
11.05.2006
(46) Опубликовано: 27.09.2007
(56) Список документов, цитированных в отчете о поиске:
RU 2190144 C1, 27.09.2002. RU 22214 U1, 10.03.2002. SU 1747790 A1, 15.07.1992. RU 2108513 C1, 10.04.1998. RU 2258168 C1, 10.08.2005. US 4896562 А, 30.01.1990. JP 5505774 A1, 28.04.1980. DE 3912464 A1, 18.10.1990. WO 83/00368 A1, 03.02.1983. Планетарные передачи. Справочник./ Под ред. В.Н.Кудрявцева и Ю.Н.Кирдяшева. Ленинградское отделение: Машиностроение, 1977, с.12-14, табл.1.1, вар. 6, 5.
Адрес для переписки:
300001, г.Тула, ул. Плеханова, 45А, кв.26, Л.Ф. Новиковой
|
(72) Автор(ы):
Сидоров Петр Григорьевич (RU), Александров Евгений Васильевич (RU), Лагун Вячеслав Владимирович (RU), Климов Геннадий Георгиевич (RU), Пашин Александр Александрович (RU), Плясов Алексей Валентинович (RU)
(73) Патентообладатель(и):
Общество с ограниченной ответственностью “Инт-КЛАСС” (RU), Сидоров Петр Григорьевич (RU), Александров Евгений Васильевич (RU)
|
(54) УПРАВЛЯЕМЫЙ ЭЛЕКТРОПРИВОД (ВАРИАНТЫ)
(57) Реферат:
Изобретение относится к области электротехники и машиностроения и касается особенностей конструктивного выполнения управляемых электроприводов, а именно – регулируемых многооборотных электроприводов с асинхронным электродвигателем. Технический результат, достигаемый при использовании настоящего изобретения, состоит в упрощении конструкции силовой трансмиссии управляемого электропривода и обеспечении универсальности ее сборки, в улучшении массогабаритных характеристик управляемого электропривода в одном его типоразмере при одновременном увеличении нагрузочной способности и надежности управляемого электропривода, обеспечении высоких значений его выходных параметров по моменту и скорости при сохранении высоких значений к.п.д. Сущность изобретения по первому и второму вариантам его осуществления состоит в том, что предлагаемый электропривод содержит фланцевый асинхронный электродвигатель, блок управления асинхронным электродвигателем и размещенную в едином корпусе силовую зубчатую трансмиссию, выполненную на базе планетарной передачи с односателлитным или с многосателлитным исполнением. Силовая трансмиссия включает входной вал-водило, связанный кинематически с выходным валом ротора электродвигателя, неподвижное центральное колесо, закрепленное в корпусе, выходное подвижное центральное колесо, установленное в корпусе и жестко связанное с выходным валом, один, или два, или три, или четыре двухвенцовых сателлита, установленные на подшипниках на вале-водиле. Приведены конкретные параметрические параметры зубчатых передач. 2 н. и 10 з.п. ф-лы, 3 ил.
Изобретение относится к области машиностроения, а именно к регулируемым многооборотным электроприводам с асинхронным электродвигателем. Области применения изобретения – водо- и теплоснабжение, системы вентиляции и кондиционирования воздуха, компрессорные установки, подъемно-транспортное оборудование, конвейерные линии различных производств, машины и агрегаты общепромышленного и специального назначения и т.п., т.е. там, где требуется плавная регулировка скорости вращения силовых установок.
Известны односателлитные и многосателлитные планетарные передачи, включающие входной вал-водило, который может быть кинематически связан с выходным валом ротора электродвигателя, в том числе асинхронного, неподвижное центральное колесо с внутренними эвольвентными зубьями, закрепленное в корпусе, выходное подвижное центральное колесо с внутренними эвольвентными зубьями, установленное на подшипниках в корпусе и жестко связанное с выходным валом, двухвенцовый сателлит или группа сателлитов с внешними эвольвентными зубьями, установленные на подшипниках на вале-водиле, зубья первых венцов которых зацеплены с зубьями неподвижного центрального колеса, а зубья вторых венцов – зацеплены с зубьями выходного подвижного центрального колеса, образуя две рабочих группы эвольвентных зацеплений (Планетарные передачи. Справочник. Под ред. докторов наук В.Н.Кудрявцева и Ю.Н.Кирдяшева. Л.: Машиностроение, Ленинградское отделение, 1977, стр.12-14, таблица 1.1., варианты, соответственно 6 и 5).
Известен привод поворотного органа трубопроводной арматуры по патенту РФ №2190144, МПК7 F16K 31/05, опубл. 27.09.2002 г., который выбран в качестве ближайшего аналога для заявляемого изобретения. Привод содержит корпус с присоединительным фланцем, размещенный в корпусе базовый модуль, выполненный на базе плюсового планетарного редуктора, содержащего входной вал-водило, установленный на нем двухвенцовый блок сателлита, закрепленное в корпусе неподвижное входное центральное зубчатое колесо с внутренними зубьями и подвижное выходное центральное зубчатое колесо с внутренними зубьями, соединенное с выходным валом. Привод также снабжен двумя съемными комплектами приставок, каждая из которых размещена в своем корпусе с присоединительным фланцем, аналогичным присоединительному фланцу корпуса базового модуля. Причем первая приставка для электромеханического исполнения привода содержит рядовую двухпоточную зубчатую передачу с паразитными колесами, вал входного центрального зубчатого колеса которой соединен с двигателем, например асинхронным, а выходное зубчатое колесо с внутренними зубьями закреплено на эксцентриковом входном валу-водиле базового модуля. Вторая приставка для ручного исполнения привода содержит двухступенчатую передачу, выходная ступень которой аналогична передаче первой приставки, а входная ступень выполнена конической. Коническая ступень содержит входное коническое зубчатое колесо, которое установлено на валу маховика, и выходное коническое зубчатое колесо, установленное на валу входного центрального зубчатого колеса выходной ступени.
Основные параметры базового модуля имеют следующие характеристики: разность между числами зубьев неподвижного входного центрального зубчатого колеса и подвижного выходного центрального зубчатого колеса выбирается из диапазона, равного 8…10, при числе зубьев выходного центрального колеса, выбираемого из диапазона 40…50. Разность между числами зубьев неподвижного входного центрального зубчатого колеса и находящегося с ним в зацеплении венца сателлита равна разности между числами зубьев подвижного выходного центрального зубчатого колеса и находящегося с ним в зацеплении венца сателлита и выбирается из диапазона 3…4.
Недостатком как аналогов, так и прототипа является то, что венцы двухвенцовых сателлитов имеют разное число зубьев и их геометрию. Это, в свою очередь, существенно усложняет технологию их изготовления и сборку силовой трансмиссии и, как следствие, приводит к ухудшению качественных показателей силовой трансмиссии, как по передаточному числу, так и по к.п.д.
Настоящее изобретение решает следующие задач: повышения нагрузочной способности, улучшения габаритно-массовых характеристик и конструктивного упрощения силовой трансмиссии управляемого электропривода, универсальности ее сборки, а также обеспечения в одном типоразмере габаритно-массовых характеристик его конструктивного исполнения широкого параметрического ряда выходных параметров по моменту и скорости с сохранением высоких значений к.п.д.
Поставленная задача решается двумя вариантами исполнения управляемого электропривода в зависимости от установленной мощности двигателя Рдв. и воспроизводимой передаточной функции , в которых используется только выпукло-вогнутого контакта зубьев в зацеплениях силовой трансмиссии.
По первому варианту исполнения управляемого электропривода, когда мощность двигателя выбирается из диапазона 0,25 кВт Рдв. 5 кВт, а воспроизводимая передаточная функция выбирается из диапазона , он содержит фланцевый асинхронный электродвигатель, блок управления асинхронным электродвигателем и размещенную в едином корпусе силовую зубчатую трансмиссию на базе планетарной передачи с односателлитным исполнением. Силовая трансмиссия включает входной вал-водило, кинематически связанный с выходным валом ротора электродвигателя, неподвижное центральное колесо с внутренними эвольвентными зубьями zb, закрепленное в корпусе, выходное подвижное центральное колесо с внутренними эвольвентными зубьями za, установленное на подшипниках в корпусе и жестко связанное с выходным валом, один двухвенцовый сателлит с внешними эвольвентными зубьями, установленный на подшипниках на вале-водиле. Зубья zf первого венца, которого зацеплены с зубьями zb неподвижного центрального колеса, а зубья zg второго венца зацеплены с зубьями za выходного подвижного центрального колеса, образуя два рабочих эвольвентных зацепления. Новым в данном электроприводе является то, что зубчатые венцы двухвенцового сателлита выполнены полностью идентичными по числу зубьев и по их геометрическим параметрам. Причем число зубьев za выходного подвижного центрального колеса выбирается из диапазона 40 za 120, число зубьев zb неподвижного центрального колеса на 1, 2, 3 или 4 меньше числа зубьев za выходного подвижного центрального колеса, а число зубьев каждого венца сателлита zf и zg равно ближайшему целому числу, определяемому из выражения . При этом угол рабочего зацепления выходное подвижное центральное колесо – второй венец сателлита назначается из диапазона 15° ga 20°, а угол рабочего зацепления неподвижное центральное колесо – первый венец сателлита определяется из выражения:

Для увеличения параметрического ряда выходных параметров по скорости и моменту в одном типоразмере электропривода у него неподвижное центральное колесо целесообразно выполнять сменным, и он комплектуется комплектом сменных неподвижных центральных колес с числом зубьев zb соответственно меньше на 1, или 2, или 3, или 4, числа зубьев za выходного подвижного центрального колеса.
Для улучшения динамических характеристик электропривода его вал-водило целесообразно снабдить противовесом сателлита для динамического его уравновешивания.
По второму варианту исполнения управляемого электропривода когда мощность двигателя выбирается из диапазона 2,5 кВт Рдв. 100 (160) кВт, а воспроизводимая передаточная функция выбирается из диапазона , он содержит фланцевый асинхронный электродвигатель, блок управления асинхронным электродвигателем и размещенную в едином корпусе силовую зубчатую трансмиссию на базе планетарной передачи с многосателлитным исполнением. Силовая трансмиссия включает входной вал-водило, кинематически связанный с выходным валом ротора электродвигателя, неподвижное центральное колесо с внутренними эвольвентными зубьями zb, закрепленное в корпусе, выходное подвижное центральное колесо с внутренними эвольвентными зубьями za, установленное на подшипниках в корпусе и жестко связанное с выходным валом, установленный на подшипниках на вале-водиле n двухвенцовых сателлитов, где 2 n 4. Двухвенцовые сателлиты выполнены с внешними эвольвентными зубьями, зубья zfn первых венцов которых зацеплены с зубьями неподвижного центрального колеса, а зубья zgn вторых венцов зацеплены с зубьями выходного подвижного центрального колеса, образуя две рабочие группы эвольвентных зацеплений. Новым в данном электроприводе является то, что зубчатые венцы всех двухвенцовых сателлитов выполнены полностью идентичными по числу зубьев и по их геометрическим параметрам. Причем число зубьев zg выходного подвижного центрального колеса выбирается из диапазона 40 za 120 и кратно числу сателлитов n. Число зубьев zb неподвижного центрального колеса меньше числа зубьев za выходного подвижного центрального колеса на величину равную числу сателлитов n, а число зубьев каждого венца всех сателлитов zfn и zgn равно ближайшему целому числу, выбираемому из выражения zfn=zgn=(0,5za-n). При этом угол рабочего зацепления выходное подвижное центральное колесо – второй венец каждого сателлита выбирается из диапазона 15° gan 20°, а угол рабочего зацепления неподвижное центральное колесо – первый венец каждого сателлита определяется из выражения:

Как по первому, так и по второму вариантам исполнения электропривода ряд его конструктивных признаков может быть одинаков. Так вал-ротор электродвигателя может быть связан с входным валом-водилом силовой зубчатой трансмиссии посредством компенсирующей муфты.
Силовая трансмиссия может быть снабжена ручным приводом, установленным в ее корпусе и выполненным в виде силовой конической передачи, зубчатое ведомое колесо которой жестко закреплено на вале-водиле, а ведущая вал-шестерня снабжена штурвалом. Для обеспечения зацепления и расцепления зубьев вала-шестерни и зубчатого ведомого колеса ведущая вал-шестерня установлена на подшипниках в цилиндрическом затворе включения и отключения ручного привода, который снабжен рычагом, проходящим через фигурный паз корпуса, и установлен в корпусе с возможностью его осевого перемещения, поворота вокруг оси и фиксации крайних положений с помощью, например, гайки.
Электроприводы по первому и второму вариантам могут быть снабжены также датчиком угловых перемещений и угловых скоростей ротора асинхронного электродвигателя, который размещен в корпусе силовой зубчатой трансмиссии. Вал-ротор датчика перпендикулярен оси входного вала-водила и кинематически связан с ним посредством ускоряющей не силовой конической передачи, входная шестерня которой закреплена на вале-водиле, а электрический выход датчика угловых перемещений и угловых скоростей ротора асинхронного электродвигателя связан с блоком управления асинхронным электродвигателем.
Электроприводы по первому и второму вариантам могут быть снабжены одновременно и ручным приводом и датчиком угловых перемещений и угловых скоростей ротора асинхронного электродвигателя. При этом ручной привод установлен в корпусе трансмиссии на диаметрально расположенной стороне относительно датчика угловых перемещений и угловых скоростей ротора асинхронного электродвигателя, и выполнен в виде силовой конической передачи, зубчатое ведомое колесо которой жестко закреплено на вале-водиле и является одновременно входной шестерней привода датчика.
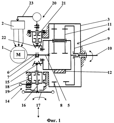
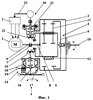
На фиг.1 представлена кинематическая схемы управляемого электропривода по первому варианту, а на фиг.2 – по второму варианту; на фиг.3 представлен продольный разрез силовой трансмиссии электропривода в односателлитном исполнении с ручным приводом и приводом датчика угловых перемещений и угловых скоростей ротора асинхронного электродвигателя.
Управляемый электропривод содержит фланцевый асинхронный электродвигатель 1, блок управления 2 асинхронным электродвигателем 1 и размещенную в едином корпусе 3 силовую зубчатую трансмиссию 4 на базе планетарной передачи. Силовая трансмиссия 4 включает входной вал-водило 5, кинематически связанный с выходным валом 6 ротора асинхронного электродвигателя 2 посредством компенсирующей муфты 7. В корпусе 3 силовой трансмиссии закреплено неподвижное центральное колесо 8, выходное подвижное центральное колесо 9, жестко связанное с выходным валом 10 электропривода.
В односателлитном исполнении электропривода (Фиг.1) планетарная передача содержит один двухвенцовый сателлит 11 с внешними идентичными у двух венцов эвольвентными зубьями, установленный на подшипниках на вале-водиле 5. Для увеличения параметрического ряда электропривода у него неподвижное центральное колесо 8 выполнено сменным. При этом силовая трансмиссия 4 снабжена комплектом 4-х сменных неподвижных центральных колес (на чертеже не показаны). Неподвижные центральные колеса 8 комплекта тождественны по посадочному диаметру и креплению с соблюдением условия их соосности со вторым центральным подвижным колесом 9 и сохранением рабочих эвольвентных зацеплений с первым венцом сателлита 8. Для этого геометрические параметры зубьев сменных центральных неподвижных колес 8, такие как диаметр впадин и диаметр выступов зубьев, выполняют сходными, а число зубьев задают различное. Причем число зубьев zb каждого сменного центрального неподвижного колеса 8 меньше, соответственно на 1, или на 2, или на 3, или на 4, числа зубьев za выходного подвижного центрального колеса 9. На вале-водиле 5 закрепляют противовес 12 сателлита 11.
В многосателлитном исполнении электропривода (Фиг.2) планетарная передача содержит 2, или 3, или 4 двухвенцовых сателлита 13. При этом неподвижное центральное колесо 8 выполнено несменным.
Силовая трансмиссия электропривода снабжается ручным приводом 14. Зубчатое ведомое колесо 15 ручного привода жестко закреплено на вале-водиле 5 силовой трансмиссии, а ведущая вал-шестерня 16 снабжена штурвалом 17. При этом ведущая вал-шестерня 16 установлена в цилиндрическом затворе 18 включения и отключения ручного привода 14. Цилиндрический затвор 18 снабжен рычагом 19, проходящим через фигурный паз корпуса (не показан), и установлен в корпусе с возможностью его осевого перемещения, поворота вокруг оси и фиксации его крайних положений.
Электроприводы по первому и второму вариантам могут быть снабжены также датчиком угловых перемещений и угловых скоростей 20 ротора асинхронного электродвигателя 1, который размещен в корпусе 3 силовой зубчатой трансмиссии 4. Вал-ротор датчика 21 перпендикулярен оси входного вала-водила 5 силовой трансмиссии 4 и кинематически связан с ним посредством ускоряющей несиловой конической передачи 22. Входной шестерней датчика является жестко закрепленное на вале-водиле 5 ведомое колесо 15 ручного привода. Электрический выход 23 датчика 20 связан с блоком управления 2 асинхронным электродвигателем 1.
Управляемый электропривод работает следующим образом.
При работе электропривода от асинхронного электропривода, ручной привод отключен, рычаг 19 находится в положении «о».
Вращение от управляемого асинхронного электродвигателя 2 поступает на входной вал-водило 5. При неподвижном центральном колесе 8 с внутренними эвольвентными зубьями вращение от вала-водила 5 через двухвенцовый сателлит 11 передается подвижному центральному колесу 9 с внутренними эвольвентными зубьями и далее на выходной вал 10 электропривода.
Для обеспечения на валу асинхронного электропривода заданного значения выходного момента используется блок управления 2 асинхронным электродвигателем 1, работающий, например, по способу векторного управления. Одними из управляющих компонентов управления асинхронным электродвигателем являются такие параметры, как угловые перемещения и скорость угловых перемещений ротора асинхронного электродвигателя 1. Данные параметры снимаются с помощью датчика угловых перемещений и угловых скоростей 20 с выхода асинхронного электродвигателя и передаются электрической связью 23 на вход его блока управления 2. Вращение с выхода асинхронного электродвигателя передается на вход датчика 21 посредством несиловой конической передачи 22 с ведомого колеса 15, жестко закрепленного на входном вале-водиле 5.
Работа привода в ручном исполнении.
Рычаг 19 расфиксируют, поворачивают и перемещают в осевом направлении из положения «о» в положение «в» по фигурному пазу, выполненному в корпусе силовой трансмиссии и имеющему, например, или «П»-образную, или «Z»-образную форму. При перемещении рычага 19 в осевом направлении перемещается и цилиндрический затвор 18 с ведущей вал-шестерней 16, которая входит в зацепление с зубчатым ведомым колесом 15, жестко закрепленным на вале-водиле 5. Данное положение затвора 18 с валом-шестерней 16 фиксируется посредством фиксации рычага 19, например, гайкой 24. При вращении штурвала 17 ручного привода вращение от него через вал-шестерню 16 передается ведомому колесу 15 и далее входному валу-водилу 5. При неподвижном центральном колесе 8 вращение от вала-водила 5 через сателлит 11 передается подвижному центральному колесу 9 и далее на выходной вал 10 привода.
Электропривод при многосателлитном исполнении работает аналогично, с различием в том, что вращение от вала-водила 5 передается параллельными потоками через несколько двухвенцовых сателлитов 13 подвижному центральному колесу 9.
Преимущество односателлитного исполнения силовой трансмиссии электропривода заключается в том, что воспроизводятся большие передаточные функции , и в одном типоразмере габаритно-массовых характеристик конструктивного исполнения силовой трансмиссии, при простой смене лишь одного неподвижного центрального колеса, гарантируется построение параметрического ряда выходных параметров по скорости и моменту с сохранением высоких значений к.п.д. . Поскольку коэффициент передачи силовой трансмиссии определяется по формуле:

а при za-zb=1 (или 2, или 3 или 4), соответственно, уменьшается и коэффициент передачи в 2, 3 или 4 раза.
Преимущество многопоточной схемы силовой трансмиссии состоит в том, что за счет передачи мощности со входа на выход параллельными потоками повышается энерговооруженность привода (до 2÷5 кГ массы на 1 кВт установленной мощности), что особо важно для современных высокопроизводительных технологических машин, так как решается глобальная проблема энерго- и ресурсосбережения.
Заявленный управляемый электропривод позволяет при заданном оптимальном (близком к стандартному) угле зацепления зубчатой пары: подвижное центральное колесо – второй венец двухвенцового сателлита, равном 15°÷20°, обеспечить рабочий угол второго зацепления: неподвижное центральное колесо – первый венец двухвенцового сателлита, не превышающий 35°. Заявленные соотношения числа зубьев центральных колес и числа зубьев венцов двухвенцовых сателлитов, а также идентичность зубьев венцов двухвенцовых сателлитов гарантируют полюсные зацепления зубчатых пар, обладающих большими к.п.д., при передаточных отношениях, лежащих в диапазоне от 40 до 100.
Кроме того, существенно упрощается конструкция силовой трансмиссии управляемого электропривода, повышается универсальность ее сборки, увеличивается нагрузочная способность и надежность за счет выпукло-вогнутого контакта зубьев в зацеплениях.
Выполнение зубьев двухвенцовых сателлитов полностью идентичными по числу зубьев и по их геометрическим параметрам позволяет нарезать их сразу за один проход инструмента при одной их установке, что существенно упрощает технологию и повышает точность изготовления зубьев.
Заявляемые параметры рабочих зацеплений силовой трансмиссии гарантируют ее высокую работоспособность, наилучшие условия пересопряжения зубьев в зацеплениях, исключающие все виды интерференции согласно теории зубчатых зацеплений при сохранении высоких качественных характеристик по коэффициенту перекрытия, углам зацеплений и коэффициенту полезного действия. Заявленные электроприводы хорошо компонуются в универсальные конструкции.
Формула изобретения
1. Управляемый электропривод, содержащий фланцевый асинхронный электродвигатель, блок управления асинхронным электродвигателем и размещенную в едином корпусе силовую зубчатую трансмиссию на базе планетарной передачи с двумя внутренними зацеплениями, включающую входной вал-водило, кинематически связанный с выходным валом ротора электродвигателя, неподвижное центральное колесо с внутренними эвольвентными зубьями zb, закрепленное в корпусе, выходное подвижное центральное колесо с внутренними эвольвентными зубьями za, установленное на подшипниках в корпусе и жестко связанное с выходным валом электропривода, двухвенцовый сателлит с внешними эвольвентными зубьями, установленный на подшипниках на вале-водиле, зубья zf первого венца которого зацеплены с зубьями zb неподвижного центрального колеса, а зубья zg второго венца зацеплены с зубьями Za выходного подвижного центрального колеса, образуя два рабочих эвольвентных зацепления zf-zb и zg-za, отличающийся тем, что зубчатые венцы двухвенцового сателлита выполнены полностью идентичными по числу зубьев и по их геометрическим параметрам, причем число зубьев za выходного подвижного центрального колеса выбирается из диапазона 40 za 120, число зубьев zb неподвижного центрального колеса на 1, 2, 3 или 4, меньше числа зубьев za выходного подвижного центрального колеса, а число зубьев каждого венца сателлита zf и zg равно ближайшему целому числу, определяемого из выражения , при этом угол рабочего зацепления za-zg выходное подвижное центральное колесо – второй венец сателлита назначается из диапазона 15° ga<20°, а угол рабочего зацепления zb-zf неподвижное центральное колесо – первый венец сателлита определяется из выражения

2. Электропривод по п.1, отличающийся тем, что вал-ротор электродвигателя связан с входным валом-водилом силовой зубчатой трансмиссии посредством компенсирующей муфты.
3. Электропривод по п.1, отличающийся тем, что неподвижное центральное колесо выполнено сменным, а силовая трансмиссия комплектуется комплектом сменных неподвижных центральных колес с числом зубьев zb меньше на 1, или 2, или 3, или 4 числа зубьев za выходного подвижного центрального колеса.
4. Электропривод по п.1, отличающийся тем, что вал-водило снабжен противовесом сателлита.
5. Электропривод по п.1, отличающийся тем, что силовая трансмиссия снабжена ручным приводом, установленным в ее корпусе и выполненным в виде силовой конической передачи, зубчатое ведомое колесо которой жестко закреплено на вале-водиле, а ведущая вал-шестерня снабжена штурвалом и установлена на подшипниках в цилиндрическом затворе включения и отключения ручного привода, для обеспечения зацепления и расцепления зубьев вала-шестерни и зубчатого ведомого колеса, при этом цилиндрический затвор снабжен рычагом, проходящим через фигурный паз корпуса, и установлен в корпусе с возможностью его осевого перемещения, поворота вокруг оси и фиксации крайних положений, например, с помощью гайки.
6. Электропривод по п.1, отличающийся тем, что он снабжен датчиком угловых перемещений и скоростей ротора асинхронного электродвигателя, размещенный в корпусе силовой зубчатой трансмиссии, и вал-ротор которого перпендикулярен оси входного вала-водила и кинематически связан с ним посредством ускоряющей не силовой конической передачи, входная шестерня которой закреплена на вале-водиле, а электрический выход датчика угловых перемещений и скоростей ротора асинхронного электродвигателя связан с блоком управления асинхронным электродвигателем.
7. Электропривод по п.6, отличающийся тем, что силовая трансмиссия снабжена ручным приводом, установленным в ее корпусе на диаметрально расположенной стороне относительно датчика угловых перемещений и скоростей ротора асинхронного электродвигателя, выполненным в виде силовой конической передачи, зубчатое ведомое колесо которой жестко закреплено на вале-водиле и является одновременно входной шестерней привода датчика угловых перемещений и скоростей ротора асинхронного электродвигателя, а ведущая вал-шестерня снабжена штурвалом и установлена на подшипниках в цилиндрическом затворе включения и отключения ручного привода для обеспечения зацепления и расцепления зубьев вала-шестерни и зубчатого ведомого колеса, при этом цилиндрический затвор снабжен рычагом, проходящим через фигурный паз корпуса, и установлен в корпусе с возможностью его осевого перемещения, поворота вокруг оси и фиксации крайних положений в корпусе, например, с помощью гайки.
8. Управляемый электропривод, содержащий фланцевый асинхронный электродвигатель, блок управления асинхронным электродвигателем и размещенную в едином корпусе силовую зубчатую трансмиссию на базе планетарной передачи с двумя внутренними зацеплениями, включающую входной вал-водило, кинематически связанный с выходным валом ротора электродвигателя, неподвижное центральное колесо с внутренними эвольвентными зубьями zb, закрепленное в корпусе, выходное подвижное центральное колесо с внутренними эвольвентными зубьями za, установленное на подшипниках в корпусе и жестко связанное с выходным валом электропривода, установленный на подшипниках на вале-водиле n двухвенцовых сателлитов, где 2 n 4, двухвенцовые сателлиты выполнены с внешними эвольвентными зубьями, зубья zfn первых венцов которых зацеплены с зубьями неподвижного центрального колеса, а зубья zgn вторых венцов зацеплены с зубьями выходного подвижного центрального колеса, образуя две рабочие группы эвольвентных зацепления zf-zb и zg-za, отличающийся тем, что зубчатые венцы всех двухвенцовых сателлитов выполнены полностью идентичными по числу зубьев и по их геометрическим параметрам, причем число зубьев za выходного подвижного центрального колеса выбирается из диапазона 40 za 120 и кратно числу сателлитов n, число зубьев zb неподвижного центрального колеса меньше числа зубьев za выходного подвижного центрального колеса на величину равную числу сателлитов n, а число зубьев каждого венца всех сателлитов zfn и zgn равно ближайшему целому числу, выбираемому из выражения zfn=zgn=(0,5za-n), при этом угол рабочего зацепления za-zgn выходное подвижное центральное колесо-второй венец каждого сателлита назначается из диапазона 15°< gan<20°, а угол рабочего зацепления zb-zfn неподвижное центральное колесо – первый венец каждого сателлита определяется из выражения

9. Электропривод по п.8, отличающийся тем, что вал-ротор электродвигателя связан с входным валом-водилом силовой зубчатой трансмиссии посредством компенсирующей муфты.
10. Электропривод по п.8, отличающийся тем, что силовая трансмиссия снабжена ручным приводом, установленным в ее корпусе и выполненным в виде силовой конической передачи, зубчатое ведомое колесо которой жестко закреплено на вале-водиле, а ведущая вал-шестерня снабжена штурвалом и установлена на подшипниках в цилиндрическом затворе включения и отключения ручного привода, для обеспечения зацепления и расцепления зубьев вала-шестерни и зубчатого ведомого колеса, цилиндрический затвор снабжен рычагом, проходящим через фигурный паз корпуса, и установлен в корпусе с возможностью его осевого перемещения, поворота вокруг оси и фиксации крайних положений, например, с помощью гайки.
11. Электропривод по п.8, отличающийся тем, что он снабжен датчиком угловых перемещений и скоростей ротора асинхронного электродвигателя, размещенный в корпусе силовой зубчатой трансмиссии, и вал-ротор которого перпендикулярен оси входного вала-водила и кинематически связан с ним посредством ускоряющей не силовой конической передачи, входная шестерня которой закреплена на вале-водиле, а электрический выход датчика угловых перемещений и скоростей ротора асинхронного электродвигателя связан с блоком управления асинхронным электродвигателем.
12. Электропривод по п.11, отличающийся тем, что силовая трансмиссия снабжена ручным приводом, установленным в ее корпусе на диаметрально расположенной стороне относительно датчика угловых перемещений и скоростей ротора асинхронного электродвигателя, выполненным в виде силовой конической передачи, зубчатое ведомое колесо которой жестко закреплено на вале-водиле и является одновременно входной шестерней привода датчика угловых перемещений и скоростей ротора асинхронного электродвигателя, а ведущая вал-шестерня снабжена штурвалом и установлена на подшипниках в цилиндрическом затворе включения и отключения ручного привода, для обеспечения зацепления и расцепления зубьев вала-шестерни и зубчатого ведомого колеса, при этом цилиндрический затвор снабжен рычагом, проходящим через фигурный паз корпуса, и установлен в корпусе с возможностью его осевого перемещения, поворота вокруг оси и фиксации крайних положений в корпусе, например, с помощью гайки.
РИСУНКИ
MM4A – Досрочное прекращение действия патента СССР или патента Российской Федерации на изобретение из-за неуплаты в установленный срок пошлины за поддержание патента в силе
Дата прекращения действия патента: 12.05.2008
Извещение опубликовано: 20.06.2010 БИ: 17/2010
|
|