|
(21), (22) Заявка: 2006113726/06, 21.04.2006
(24) Дата начала отсчета срока действия патента:
21.04.2006
(46) Опубликовано: 27.09.2007
(56) Список документов, цитированных в отчете о поиске:
Головинцов А.Г. и др. Ротационные компрессоры. – М.: Машиностроение, 1964, с.211-213, фиг.128. SU 383882 А, 01.01.1973. JP 9209950 А, 12.08.1997. US 4917583 А, 17.01.1990. US 6354823 B1, 12.03.2002.
Адрес для переписки:
656099, Алтайский край, г.Барнаул, Ленина, 46, АлтГТУ, ОИПС
|
(72) Автор(ы):
Кондров Александр Юрьевич (RU), Кистенев Геннадий Владимирович (RU), Лернер Евгений Ильич (RU)
(73) Патентообладатель(и):
Государственное образовательное учреждение высшего профессионального образования “Алтайский государственный технический университет им. И.И. Ползунова” (АлтГТУ) (RU), Общество с ограниченной ответственностью “Паскаль” (ООО “Паскаль”) (RU)
|
(54) ДВУХРОТОРНЫЙ КОМПРЕССОР
(57) Реферат:
Изобретение относится к компрессоростроению, в частности к двухроторным компрессорам и вакуумным насосам типа “Рут”. Двухроторный компрессор содержит алюминиевый корпус с крышками подшипников, внутри которого расположены алюминиевые роторы. На стальных валах роторов с одной стороны расположены синхронизирующие косозубые шестерни. Валы роторов снабжены с одной стороны фиксированными опорами, а с другой стороны – плавающими опорами. Одна из синхронизирующих косозубых шестерен расположена у фиксированной опоры, а другая – у плавающей опоры. Изобретение позволяет улучшить расходную характеристику двухроторного компрессора путем уменьшения предварительно назначаемых профильных зазоров между роторами при одновременном использовании алюминиевого сплава как высокотехнологичного конструкционного материала. 2 ил.
Изобретение относится к компрессоростроению и может быть использовано в качестве двухроторного компрессора или вакуумного насоса типа “Рут”.
Известен двухроторный компрессор, содержащий чугунный корпус с крышками подшипников, внутри которого расположены стальные роторы. Стальные валы роторов снабжены с одной стороны фиксированными опорами, а с противоположной – плавающими опорами. На валах роторов с одной стороны установлены синхронизирующие косозубые шестерни (Пневмотранспортное оборудование: справочник / М.П.Калинушкина и др.; под общ. ред. М.П.Калинушкина – Л.: Машиностроение, 1986. – с.223).
Недостатками этого двухроторного компрессора являются низкая технологичность вследствие использования чугунных и стальных деталей, а также большая инерционность стальных роторов.
Наиболее близким к предлагаемому изобретению по технической сущности (прототипом) является двухроторный компрессор (фиг.1), содержащий алюминиевый корпус 1 с крышками 2 подшипников, внутри которого расположены алюминиевые роторы 3, стальные валы которых имеют с одной стороны фиксированные опоры 4, а с противоположной – плавающие опоры 5. При этом на валах роторов 3 с одной стороны, у фиксированных опор 4, закреплены стальные синхронизирующие косозубые шестерни 6 (Малис А.Я. Пневматический транспорт сыпучих материалов при высоких концентрациях / А.Я.Малис. – М.: Машиностроение, 1969. – с.79).
Во время работы двухроторного компрессора все детали подвержены нагреву, причем рабочая температура роторов на 30÷40°С больше температуры остальных деталей. При нагреве крышек подшипников и синхронизирующих шестерен до рабочей температуры происходит их тепловое расширение, при этом увеличивается межцентровое расстояние А на крышках подшипников и делительный диаметр d на синхронизирующих шестернях.
Увеличение межцентрового расстояния A
А=А· t· АЛ,
где t – разница между рабочей температурой и температурой сборки компрессора;
АЛ – коэффициент линейного расширения алюминия;
АЛ=23·10-6 град-1.
Увеличение делительного диаметра d
d=d· t· СТ,
где СТ – коэффициент линейного расширения стали;
СТ=11·10-6 град-1.
Поскольку АЛ> СТ и А=d, то межцентровое расстояние А увеличивается на большую величину, чем делительный диаметр d:
( А- d)=А· t·( АЛ– СТ).
При этом между зубьями шестерен появляется дополнительный боковой зазор

где ДН – угол зацепления в нормальном сечении делительного диаметра,
ДН=20°;
– угол наклона зубьев шестерен.
При этом ведущий ротор приближается к ведомому также на величину

В связи с этим на стадии проектирования компрессора необходимо назначать увеличенные профильные зазоры между роторами.
Таким образом, основным недостатком описанного двухроторного компрессора является невысокая расходная характеристика, обусловленная необходимостью назначения больших профильных зазоров между роторами вследствие изготовления деталей компрессора из разнородных материалов с различными коэффициентами линейного расширения, что приводит к увеличению перетока газа.
Предлагаемым изобретением решается задача улучшения расходной характеристики двухроторного компрессора путем уменьшения назначенных профильных зазоров между роторами при одновременном использовании алюминиевого сплава как высокотехнологичного конструкционного материала.
Для достижения этого технического результата в двухроторном компрессоре, содержащем алюминиевый корпус с крышками подшипников, внутри которого расположены алюминиевые роторы, на стальных валах которых с одной стороны расположены синхронизирующие косозубые шестерни, в свою очередь валы снабжены с одной стороны фиксированными опорами, а с другой стороны – плавающими опорами, согласно изобретению одна из синхронизирующих косозубых шестерен расположена у фиксированной опоры, а другая – у плавающей опоры, а величина компенсации увеличения бокового зазора между рабочими сторонами зубьев этих шестерен связана с их параметрами следующим соотношением:
= L·tg ,
где – величина компенсации увеличения бокового зазора между рабочими сторонами зубьев синхронизирующих косозубых шестерен;
L – величина осевого перемещения ротора;
– угол наклона зубьев косозубой шестерни.
Таким образом, одна из шестерен зафиксирована от осевого перемещения, а другая является плавающей. Из-за разности рабочих температур корпуса tк и ротора tp, (tк-tp)=30÷40°С, происходит линейное расширение роторов по отношению к корпусу, при этом плавающая шестерня перемещается относительно зафиксированной шестерни.
Величина перемещения ротора
L=L·(tк-tp)· АЛ,
где L – длина ротора.
Поскольку шестерни косозубые, то при их взаимном перемещении зазор с рабочей стороны зуба шестерни устраняется и переходит на нерабочую сторону. Поскольку крутящий момент на ведомом роторе за полный оборот не меняет своего знака, что имеет место у винтовых компрессоров, увеличение зазора с нерабочей стороны зуба шестерни не влияет на работу компрессора. При этом в момент первоначального запуска компрессора, когда возможно неправильное направление вращения роторов, беззазорное зацепление между шестернями сохраняется ввиду того, что компрессор “холодный”.
Следовательно, в зависимости от угла наклона зубьев шестерен, который в определенных пределах можно задавать, и длины роторов возможна частичная или полная компенсация увеличения бокового зазора между рабочими сторонами зубьев шестерен.
Величина компенсации увеличения бокового зазора между рабочими сторонами зубьев синхронизирующих косозубых шестерен, определяемая из соотношения = L·tg , учитываемая при проектировании двухроторного компрессора, позволяет не назначать увеличенные профильные зазоры между роторами.
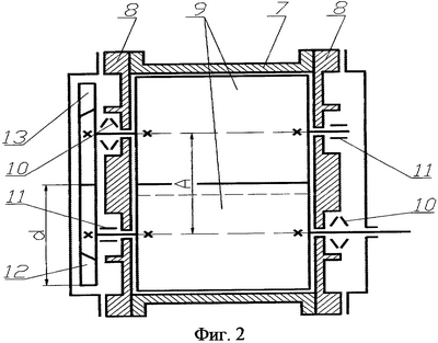
На приведенных чертежах схематично изображен двухроторный компрессор, выбранный в качестве прототипа, фиг.1, и предлагаемый двухроторный компрессор, фиг.2.
Дополнительно на чертежах показано следующее:
А – межцентровое расстояние между роторами;
d – делительный диаметр косозубой шестерни.
Предлагаемый двухроторный компрессор (фиг.2) содержит алюминиевый корпус 7 с крышками 8 подшипников, внутри которого расположены алюминиевые роторы 9. Каждый стальной вал роторов 9 снабжен с одной стороны фиксированной опорой 10, а с другой стороны – плавающей опорой 11.
На валах роторов 9 размещены с одной стороны синхронизирующие косозубые шестерни 12 и 13 такими образом, что одна из этих шестерен, плавающая, 12, закреплена у плавающей опоры 11, а другая из этих шестерен, зафиксированная, 13, закреплена у фиксированной опоры 10.
Величина компенсации увеличения бокового зазора между рабочими сторонами зубьев шестерен 12 и 13 определяется из соотношения:
= L·tg .
Работа компрессора протекает следующим образом (фиг.2).
На вал роторов 9 передается крутящий момент и роторы 9, синхронно вращаясь благодаря синхронизирующим шестерням 12 и 13, перегоняют воздух.
В процессе работы происходит нагрев роторов 9, корпуса 7 и крышек 8 подшипников, причем температура роторов 9 на 30÷40°С выше температуры корпуса 7 и крышек 8 подшипников за счет передачи части тепла от корпуса 7 и крышек 8 подшипников в атмосферу. В результате ротор 9 фиксированной опорой 10 синхронизирующей шестерни 12 расширяется в сторону плавающей опоры 11. Другой ротор 9 расширяется от фиксированной опоры 10 в сторону плавающей опоры 11 и синхронизирующей шестерни 13. В результате того, что шестерни 12, 13 косозубые, по линии контакта будет выбираться необходимый зазор, тем самым компенсируется профильный зазор.
Использование предлагаемого изобретения позволяет улучшить расходную характеристику двухроторного компрессора вследствие отсутствия необходимости предварительного назначения увеличенных профильных зазоров между роторами.
Формула изобретения
Двухроторный компрессор, содержащий алюминиевый корпус с крышками подшипников, внутри которого расположены алюминиевые роторы, на стальных валах которых с одной стороны расположены синхронизирующие косозубые шестерни, в свою очередь валы снабжены с одной стороны фиксированными опорами, а с другой стороны – плавающими опорами, отличающийся тем, что одна из синхронизирующих косозубых шестерен расположена у фиксированной опоры, а другая – у плавающей опоры, а величина компенсации увеличения бокового зазора между рабочими сторонами зубьев этих шестерен связана с их параметрами следующим соотношением:
= L·tg ,
где – величина компенсации увеличения бокового зазора между рабочими сторонами зубьев синхронизирующих косозубых шестерен;
L – величина осевого перемещения ротора;
– угол наклона зубьев косозубой шестерни.
РИСУНКИ
|