|
|
(21), (22) Заявка: 2005130288/03, 28.09.2005
(24) Дата начала отсчета срока действия патента:
28.09.2005
(43) Дата публикации заявки: 10.04.2007
(46) Опубликовано: 27.09.2007
(56) Список документов, цитированных в отчете о поиске:
SU 981678 А, 15.12.1982. SU 981678 A, 15.12.1982. RU 2054528 C1, 20.02.1996. SU 687225 A, 05.10.1979. SU 717295 A, 29.02.1980. SU 791948 A, 30.12.1980.
Адрес для переписки:
423236, Республика Татарстан, г. Бугульма, ул. М. Джалиля, 32, “ТатНИПИнефть”, сектор создания и развития промышленной собственности
|
(72) Автор(ы):
Гарифов Камиль Мансурович (RU), Фадеев Владимир Гелиевич (RU), Кадыров Альберт Хамзеевич (RU), Валовский Владимир Михайлович (RU), Ахметвалиев Рамиль Нафисович (RU), Валовский Константин Владимирович (RU), Басос Георгий Юрьевич (RU), Глуходед Александр Владимирович (RU), Рахманов Илгам Нухович (RU)
(73) Патентообладатель(и):
Открытое акционерное общество “Татнефть” им. В.Д. Шашина (RU)
|
(54) ШТАНГОВАЯ НАСОСНАЯ УСТАНОВКА
(57) Реферат:
Изобретение относится к нефтедобывающей промышленности, в частности к скважинным штанговым насосным установкам, работающим в скважинах с обводненной продукцией и осуществляющим перекачку попутной воды в другой пласт. Обеспечивает упрощение конструкции установки и повышение ее надежности. Сущность изобретения: установка включает штанговый насос, колонну лифтовых труб, пакер для разделения пластов в скважине, имеющей эксплуатационную колонну, дополнительный пакер для установки над верхним пластом, вход насоса для соединения с одним пластом, надплунжерную полость насоса для сообщения с межтрубным пространством, нижняя часть которого непосредственно над дополнительным пакером имеет возможность сообщения через канал с другим пластом. Согласно изобретению колонна лифтовых труб выполнена короткой для обеспечения подъема нефти по эксплуатационной колонне и соединена только с цилиндром насоса, при этом вход канала для сообщения с другим пластом снабжен клапаном, имеющим положительную плавучесть в воде, отрицательную в нефти, и служит для предотвращения попадания нефти в другой пласт. 3 ил.
Предложение относится к нефтедобывающей промышленности, в частности к скважинным штанговым насосным установкам, работающим в скважинах с обводненной продукцией и осуществляющим перекачку попутной воды в другой пласт.
Известна также штанговая насосная установка (а.с. №1340264, БИ №20 за 1996 г.), обеспечивающая добычу и подъем нефти на поверхность и нагнетание попутной воды в другой пласт, содержащая штанговый насос с плунжером двустороннего действия, колонну лифтовых труб, пакер, систему клапанов и автоматику.
Недостатками устройства является сложность конструкции из-за большого количества клапанов и автоматики и ненадежность работы из-за того, что нагнетание в другой пласт осуществляют за счет веса штанг, что может приводить к их зависанию.
Наиболее близким техническим решением к предлагаемому является скважинная штанговая насосная установка (а.с. №981678, F04B 47/02, опубл. 15.12.1982 г., БИ №46), включающая штанговый насос, колонну лифтовых труб, пакер для разделения пластов в скважине, имеющей эксплуатационную колонну, дополнительный пакер для установки над верхним пластом, вход насоса для соединения с одним пластом, надплунжерную полость насоса для сообщения с межтрубным пространством, нижняя часть которого непосредственно над дополнительным пакером имеет возможность сообщения через канал с другим пластом.
Техническими задачами, решаемыми предлагаемой установкой, являются упрощение ее конструкции и повышение надежности.
Указанная задача решается тем, что предлагаемая штанговая насосная установка включает штанговый насос, колонну лифтовых труб, пакер для разделения пластов в скважине, имеющей эксплуатационную колонну, дополнительный пакер для установки над верхним пластом, вход насоса для соединения с одним пластом, надплунжерную полость насоса для сообщения с межтрубным пространством, нижняя часть которого непосредственно над дополнительным пакером имеет возможность сообщения через канал с другим пластом, согласно изобретению колонна лифтовых труб выполнена короткой для обеспечения подъема нефти по эксплуатационной колонне и соединена только с цилиндром насоса, при этом вход канала для сообщения с другим пластом снабжен клапаном, имеющим положительную плавучесть в воде, отрицательную в нефти, и служит для предотвращения попадания нефти в другой пласт.
Сущность изобретения заключается в том, что насос, соединенный входом с продуктивным пластом, отгороженным пакерами, перекачивает жидкость из него в межтрубное пространство, создавая в нем избыточное давление, в котором продукция скважины разделяется под действием гравитации на нефть и воду. Далее под действием избыточного давления нефть через устьевую арматуру поступает в систему сбора, а вода – в другой пласт.
Попадание нефти в воду, закачиваемую в другой пласт, предотвращает клапан, управляемый поплавком.
Кроме того, поскольку надплунжерная полость насоса сообщена с межтрубным пространством, нефть поднимается непосредственно по эксплуатационной колонне. Это позволяет выполнить установку без лифтовой колонны или с короткой колонной, соединенной только с цилиндром насоса, что позволит сохранить технологические и эксплуатационные преимущества, обеспечиваемые предлагаемой установкой, сэкономив на лифтовых трубах.
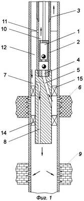
На фиг.1 показана схема установки по п.1, когда продуктивный пласт расположен выше другого.
На фиг.2 показана схема установки, когда продуктивный пласт расположен ниже другого, а установка снабжена клапаном, управляемым поплавком.
На фиг.3 показана схема установки с короткой лифтовой колонной.
Установка содержит штанговый насос 1, цилиндр 2 которого соединен с колонной лифтовых труб 3, а вход 4 каналом 5 – с продуктивным пластом 6. Нижняя часть 7 межтрубного пространства 12 сообщена каналом 8 с другим пластом 9. Надплунжерная полость насоса 10 сообщена отверстием 11 с межтрубным пространством 12. Поплавковый клапан 13 открывает и закрывает вход в канал 8. Пласты разделены пакером 14, а над верхним пластом установлен дополнительный пакер 15.
Работает установка следующим образом.
Жидкость из продуктивного пласта 6, содержащая нефть и воду, поступает через канал 5 на вход 4 насоса 1 и перекачивается им через отверстие 11 в надплунжерной полости 10 в межтрубное пространство 12 скважины и за счет гравитации разделяется на воду и нефть. Нефть по межтрубному пространству 12 уходит вверх к устью скважины и далее в систему сбора, а вода через канал 8 нагнетается в другой пласт 9. Другой пласт 9 может быть также продуктивным, и тогда закачка воды в него идет на поддержание его пластового давления, либо просто поглощающим сбрасываемую воду.
Клапан 13 при приближении к нему раздела нефти с водой перекрывает канал 8 и предотвращает попадание нефти в другой пласт.
На фиг.3 показана установка с короткой лифтовой колонной 3. Кроме того, если применить для контроля над положением уровня раздела воды и нефти и другую систему, например, спустив по межтрубному пространству датчик уровня раздела воды и нефти, закрытием-открытием выкидной задвижки регулировать положение уровня, то при верхнем расположении другого пласта относительно продуктивного установка будет работать и без дополнительного пакера.
Предлагаемая установка позволяет, сбрасывая или нагнетая отделившуюся от нефти попутную воду, поднимать на поверхность безводную нефть, без нагнетательных скважин поддерживать пластовое давление другого продуктивного пласта, а также экономить лифтовые трубы. Установка проста в изготовлении и реализации, надежна. Экономический эффект получается на экономии затрат по подъему, транспорту и отделению воды, а также за счет экономии лифтовых труб.
Формула изобретения
Штанговая насосная установка, включающая штанговый насос, колонну лифтовых труб, пакер для разделения пластов в скважине, имеющей эксплуатационную колонну, дополнительный пакер для установки над верхним пластом, вход насоса для соединения с одним пластом, надплунжерную полость насоса для сообщения с межтрубным пространством, нижняя часть которого, непосредственно над дополнительным пакером, имеет возможность сообщения через канал с другим пластом, отличающаяся тем, что колонна лифтовых труб выполнена короткой для обеспечения подъема нефти по эксплуатационной колонне и соединена только с цилиндром насоса, при этом вход канала для сообщения с другим пластом снабжен клапаном, имеющим положительную плавучесть в воде, отрицательную в нефти, и служит для предотвращения попадания нефти в другой пласт.
РИСУНКИ
|
|