|
|
(21), (22) Заявка: 2005124849/03, 04.08.2005
(24) Дата начала отсчета срока действия патента:
04.08.2005
(30) Конвенционный приоритет:
10.08.2004 (пп.1-15) EP 04 018 932.6
(43) Дата публикации заявки: 10.02.2007
(46) Опубликовано: 27.09.2007
(56) Список документов, цитированных в отчете о поиске:
SU 77589 A, 30.11.1949. JP 62-45831 А, 27.02.1987. SU 181584 А, 07.07.1966. SU 615173 А, 07.06.1978. SU 699165 А, 27.11.1979. SU 659720 А, 30.04.1979. ЕР 0496926 А1, 01.02.1991.
Адрес для переписки:
191186, Санкт-Петербург, а/я 230, “АРС-ПАТЕНТ”, пат.пов. В.М.Рыбакову, рег. № 90
|
(72) Автор(ы):
АРЦБЕРГЕР Максимилиан (DE)
(73) Патентообладатель(и):
БАУЭР МАШИНЕН ГМБХ (DE)
|
(54) ФРЕЗЕРНОЕ УСТРОЙСТВО И СПОСОБ ПРОХОДКИ СКВАЖИНЫ ФРЕЗЕРОВАНИЕМ
(57) Реферат:
Изобретение относится к области горного дела и строительства, в частности к фрезерным устройствам для проходки фрезерованием скважин в грунте. Технический результат – выполнение скважин в самых различных геологических грунтовых условиях особенно разносторонним и экономичным образом. Фрезерное устройство для проходки скважины в грунте содержит несущий элемент, на котором установлены, по меньшей мере, две дисковые фрезы с возможностью вращения вокруг соответствующей оси вращения. По меньшей мере, одно устройство привода дисковых фрез для вращательного привода дисковых фрез на несущем элементе, причем при вращении дисковых фрез вокруг соответствующей оси происходит разработка грунтового материала. Приводное устройство, выполненное с возможностью привода во вращение несущего элемента для разработки грунтового материала вместе с двумя дисковыми фрезами вокруг оси вращение несущего элемента, которая по существу параллельна направлению проходки скважины. Угол между осями вращения дисковых фрез и осью вращения несущего элемента составляет по существу 90°, а дисковые фрезы расположены так, что при вращении несущего элемента они описывают круговую траекторию, на которой они разрабатывают грунтовый материал. Ось вращения, по меньшей мере, одной дисковой фрезы расположена со смещение относительно оси несущего элемента. 2 н. и 13 з.п.ф-лы, 8 ил.
Область техники, к которой относится изобретение
Настоящее изобретение относится к фрезерному устройству для проходки скважины фрезерованием в соответствии с ограничительной частью пункта 1 формулы изобретения. Изобретение относится также к способу проходки скважины фрезерованием в соответствии с ограничительной частью пункта 13 формулы изобретения.
Уровень техники
Фрезерное устройство такого типа содержит несущий элемент, на котором установлены по меньшей мере две дисковые фрезы с возможностью вращения и по меньшей мере одно устройство привода дисковых фрез для вращательного привода дисковых фрез на несущем элементе. В способе данного типа предусмотрено, что по меньшей мере две дисковые фрезы, установленные на несущем элементе с возможностью вращения, приводят во вращение вокруг соответствующей оси вращения дисковой фрезы посредством устройства привода дисковых фрез, а несущий элемент с дисковыми фрезами принудительно подают в грунт в направлении проходки.
Для получения скважин прямоугольного поперечного сечения известны, например, фрезерные устройства для возведения стены в грунте по патентному документу ЕР 0735199 В1. Такие фрезерные устройства для возведения стены в грунте содержат две смещенные друг от друга пары дисковых фрез, вращающихся в противоположных направлениях вокруг параллельных горизонтальных осей. При этом грунт разрыхляется дисковыми фрезами и подается в промежуточное пространство между ними, откуда он транспортируется наверх с помощью всасывающего устройства.
Фрезерная головка и способ проходки фрезерованием скважины круглого поперечного сечения известны из патентного документа ЕР 0819819 В1. Описанная в этом документе фрезерная головка содержит четыре дисковые фрезы, установленные с возможностью вращения вокруг общей оси вращения, которая ориентирована радиально к направлению проходки фрезерной головки. Для образования круглого поперечного сечения фрезерования диаметр дисковых фрез уменьшается от центра фрезерной головки в осевом направлении общей оси дисковых фрез.
Раскрытие изобретения
Задача, на решение которой направлено настоящее изобретение, заключается в создании фрезерного устройства и способа проходки фрезерованием скважины в грунте, с помощью которых скважины могут выполняться в самых различных геологических грунтовых условиях особенно разносторонним и экономичным образом.
В соответствии с изобретением решение поставленной задачи достигается за счет создания фрезерного устройства, обладающего признаками по п.1 формулы изобретения, и способа проходки фрезерованием скважины в грунте, обладающего признаками по п.13 формулы изобретения. Предпочтительные примеры осуществления изложены в зависимых пунктах формулы изобретения.
Фрезерное устройство по изобретению отличается тем, что предусмотрено приводное устройство для вращательного привода несущего элемента вместе с дисковыми фрезами вокруг оси вращения несущего элемента, которая по существу параллельна направлению проходки скважины.
Первая основная идея изобретения состоит в том, что предусмотрено приводное устройство, посредством которого несущий элемент приводится во вращение по меньшей мере вместе с двумя дисковыми фрезами. С помощью приводного устройства может изменяться относительное положение дисковых фрез по отношению к грунту. В частности, за счет вращения несущего элемента вместе с дисковыми фрезами вокруг оси вращения несущего элемента может быть получена скважина круглого поперечного сечения без необходимости придания самим дисковым фрезам круглого поперечного сечения, то есть чтобы они имели уменьшающийся диаметр. Благодаря этому для достижения хорошего фрезерования могут быть выбраны особенно подходящие формы дисковых фрез, при этом может быть предусмотрено, например, по существу прямоугольное поперечное сечение дисковой фрезы.
Фрезерное устройство может быть выполнено в особенности таким образом, что при вращении несущего элемента посредством приводного устройства в разработке целика грунта принимает участие по существу только одна четвертая часть общей окружной периферии дисковых фрез. Таким образом, фрезерное устройство по изобретению может быть названо фрезерным устройством частичного сечения, при котором максимальные размеры дисковых фрез меньше поперечного сечения скважины. В противоположность фрезерным устройствам полного сечения, в которых в целик грунта врезается примерно половина или большая часть окружной периферии дисковой фрезы, во фрезерном устройстве по изобретению площадь контакта с целиком грунта меньше. Поэтому для достижения того же давления подачи дисковых фрез к дну скважины требуется соответственно меньшее усилие подачи в направлении проходки. Это позволяет разрабатывать скважины при сравнительно меньшей нагрузке подачи и обеспечивает особенно простую и экономичную эксплуатацию фрезерного устройства по изобретению. При использовании фрезерного устройства по изобретению давление нагрузки подачи или принудительной подачи может по существу оставаться одинаковым также и при изменении диаметра скважины и/или диаметра дисковой фрезы.
Фрезерное устройство по изобретению особенно пригодно для возведения в грунте элементов оснований, в особенности свай, и может быть названо также свайным фрезерным устройством. Предпочтительно с помощью фрезерного устройства могут возводиться элементы оснований также в скальных грунтах.
В контексте изобретения под направлением проходки имеется в виду направление, в котором несущий элемент с дисковыми фрезами подается при проходке скважины, то есть продольное направление разрабатываемой скважины. При этом ось вращения несущего элемента проходит в этом направлении проходки и образует продольную ось скважины. Фрезерное устройство, особенно выгодное в отношении восприятия усилий при фрезеровании, создается за счет того, что дисковые фрезы и/или оси вращения дисковых фрез расположены симметрично относительно оси вращения несущего элемента. Далее, в аспекте восприятия усилий имеет преимущество то, что угол между осями вращения дисковых фрез и осью вращения несущего элемента составляет по существу 90°. Однако могут быть предусмотрены и другие углы, вплоть до 0°. В принципе оси вращения дисковых фрез могут пересекать ось вращения несущего элемента, в особенности радиально. Однако эти оси вращения дисковых фрез могут также быть расположены со смещением относительно оси вращения несущего элемента, за счет чего могут достигаться особенно большие диаметры скважины.
В предпочтительном примере выполнения фрезерного устройства предусмотрено устройство поворота, посредством которого может производиться поворот по меньшей мере одной из дисковых фрез на несущем элементе, в особенности поворот вверх. При этом под поворотом имеется в виду изменение угла между осью вращения по меньшей мере одной дисковой фрезы и осью вращения несущего элемента. За счет поворота по меньшей мере одной дисковой фрезы может быть изменена точка врезания этой дисковой фрезы в целик грунта по отношению к несущему элементу и/или к оси вращения несущего элемента и, таким образом, может быть изменен мгновенный радиус фрезерования. В частности, эта по меньшей мере одна дисковая фреза может быть повернута в зависимости от глубины, и при этом будет получена скважина переменного диаметра по глубине. Благодаря такому решению могут выполняться, например, скважины, расширенные у дна для формирования основания сваи. При необходимости посредством целенаправленного расширения скважин у основания могут изготавливаться изоляционные элементы, в особенности элементы оснований. За счет поворотного расположения по меньшей мере одной из дисковых фрез при особенно компактной конструкции фрезерного устройства может охватываться особенно большой диапазон размеров скважин.
Предпочтительно, устройство поворота содержит опорное устройство, с помощью которого по меньшей мере одна дисковая фреза установлена с возможностью поворота вокруг горизонтальной оси. Кроме того, устройство поворота содержит привод поворота, в особенности по меньшей мере с одним гидроцилиндром поворота для принудительного приводного поворота по меньшей мере одной дисковой фрезы. Для обеспечения симметричного распределения усилий на несущем элементе и за счет этого получения особенно надежного в эксплуатации фрезерного устройства в предпочтительном примере выполнения обе дисковые фрезы установлены на несущем элементе с возможностью поворота, при этом поворот производится одновременно и предпочтительно вокруг общей горизонтальной оси. Под поворотом вверх может подразумеваться, в частности, что по меньшей мере одна дисковая фреза при повороте поднимается относительно дна скважины.
В особенно эффективном примере выполнения фрезерное устройство отличается тем, что несущий элемент установлен своим концом на трубчатой буровой штанге. Эта трубчатая буровая штанга, которая может проходить к строительной машине, находящейся за пределами скважины, может служить для передачи напорных усилий на несущий элемент с дисковыми фрезами. Однако фрезерное устройство может быть, например, подвешено на несущем канате. Фрезерное устройство особенно разностороннего применения создается в том случае, когда несущий элемент имеет возможность шарнирного поворота относительно трубчатой буровой штанги посредством привода поворота.
В соответствии с изобретением увод фрезерного устройства при работе может быть особенно эффективно снижен за счет того, что на несущем элементе и/или на трубчатой буровой штанге предусмотрено направляющее устройство, в особенности направляющее кольцо для опоры несущего элемента или трубчатой буровой штанги на стенку скважины. При необходимости на несущем элементе и/или на трубчатой буровой штанге могут быть предусмотрены также несколько направляющих устройств, расположенных одно над другим и обеспечивающих направление в нескольких плоскостях. Направляющее устройство содержит направляющие башмаки, которые предназначены для контакта со стенкой скважины и связаны с несущим элементом и/или с трубчатой буровой штангой посредством распорок, проходящих радиально к оси вращения несущего элемента. Предпочтительно направляющие башмаки выполнены в виде направляющего кольца, которое может быть выполнено непрерывным. В том случае, когда проходку скважины выполняют с вводом обсадной трубы, может быть предусмотрена также опора направляющего устройства на обсадную трубу.
В особенности в тех случаях, когда фрезерное устройство предназначено для проходки скважин переменного диаметра, может быть предпочтительно, если направляющее устройство выполнено регулируемым по диаметру. Для этого может быть, например, предусмотрено регулировочное устройство для изменения длины распорок, на которых установлены направляющие башмаки. В том случае, когда предусмотрено направляющее кольцо, оно может состоять из сегментов для регулировки диаметра.
Особенно точное направление фрезерного устройства при проходке скважины может достигаться за счет того, что предусмотрено натяжное устройство для фиксации положения трубчатой буровой штанги в обсадной трубе, причем трубчатая буровая штанга выполнена удлиняемой в осевом направлении для напорной подачи несущего элемента. За счет этого трубчатая буровая штанга может быть особенно короткой, что существенно снижает увод фрезерного устройства. Для осевого удлинения трубчатой буровой штанги предусмотрен соответствующий напорный гидроцилиндр. При таком предпочтительном примере выполнения напорное усилие обеспечивается по меньшей мере частично напорным гидроцилиндром. Однако в принципе уже собственного веса фрезерного устройства достаточно для создания напорного давления.
Согласно изобретению особенно предпочтительно, чтобы приводное устройство было расположено между трубчатой буровой штангой и несущим элементом и/или в верхней области трубчатой буровой штанги. В том случае, когда приводное устройство расположено в верхней области, оно может быть выгодным образом предусмотрено снаружи скважины, в особенности на строительной машине. Приводное устройство и/или устройство привода дисковых фрез оснащены соответствующими гидромоторами. При этом приводное устройство и устройство привода дисковых фрез могут иметь один общий приводной двигатель. Устройство привода дисковых фрез может быть расположено, например, на несущем элементе, но также и в верхней области трубчатой буровой штанги.
В особенно предпочтительном примере выполнения фрезерное устройство отличается тем, что ось вращения по меньшей мере одной дисковой фрезы расположена со смещением относительно оси вращения несущего элемента и в особенности предусмотрен привод смещения дисковых фрез для изменения величины смещения. За счет смещения по меньшей мере одной дисковой фрезы ее точка врезания в целик грунтового материала смещается радиально наружу относительно оси вращения несущего элемента, и в результате этого увеличивается поперечное сечение фрезерования при том же диаметре дисковой фрезы. В аспекте симметричности усилий особенно предпочтительно, когда обе дисковые фрезы расположены с одинаковым смещением относительно оси вращения несущего элемента. При этом предпочтительно оси вращения дисковых фрез смещены относительно оси вращения несущего элемента по направлению вращения. Привод смещения дисковых фрез позволяет изменять смещение, в особенности в процессе проходки, и разрабатывать скважины переменного диаметра. Привод смещения дисковых фрез выполнен соответствующим образом для одновременного и одинакового изменения смещения всех осей дисковых фрез.
Согласно изобретению фрезерное устройство с особенно хорошим воздействием фрезерования создается за счет того, что дисковые фрезы выполнены в виде пар дисковых фрез, каждая из которых содержит две отдельные дисковые фрезы, при этом отдельные дисковые фрезы пар дисковых фрез установлены парами на опорном листе, который установлен на несущем элементе с возможностью поворота. При этом особенно простое конструктивное решение фрезерного устройства достигается за счет того, что обе отдельные дисковой фрезы каждой пары имеют одну и ту же ось вращения. Предпочтительно каждая пара дисковых фрез снабжена собственным приводным двигателем, который может быть предусмотрен на их общем опорном листе. В особенно предпочтительном примере выполнения все опорные листы установлены с возможностью поворота вокруг общей горизонтальной оси поворота.
Согласно изобретению особенно хорошее воздействие фрезерования может достигаться за счет того, что дисковые фрезы снабжены фрезерными инструментами на окружной периферии и/или на торцевой стороне. При этом фрезерные инструменты могут быть выполнены, например, в виде фрезерных зубьев или фрезерных шарошек. Торцовое расположение фрезерных инструментов имеет особенное преимущество в том случае, когда дисковые фрезы расположены на несущем элементе с возможностью поворота, поскольку дисковые фрезы при повороте во время проходки могут разрабатывать целик грунтового материала также своими торцевыми сторонами. Сами дисковые фрезы выполнены по меньшей мере по существу цилиндрическими, причем между их окружной поверхностью, которая могут быть названа также обечайкой, и торцевой поверхностью предпочтительно предусмотрена скошенная промежуточная область.
Дисковые фрезы приводятся во вращение в одном направлении или в противоположных направлениях таким образом, что разработанный грунтовый материал направляется к всасывающему отверстию насоса, расположенному на несущем элементе. Предпочтительно дисковые фрезы, в особенности отдельные дисковые фрезы, могут быть установлены на несущем элементе сменным образом. За счет этого дисковые фрезы могут быть особенно просто заменяться, например, фрезами другого диаметра для изменения диаметра разрабатываемой скважины. Дисковые фрезы могут также заменяться фрезами с другими фрезерными инструментами, когда в процессе фрезерования встречаются другие геологические грунтовые условия. Таким образом, путем замены дисковых фрез могут разрабатываться скважины особенно большого диаметра и скважины в скальных породах.
Способ по изобретению отличается тем, что несущий элемент вместе с дисковыми фрезами одновременно с помощью приводного устройства вращают вокруг оси вращения несущего элемента, которая по существу параллельна направлению проходки скважины. При осуществлении способа может использоваться в особенности фрезерное устройство по изобретению для получения указанных преимуществ.
В принципе в соответствии с изобретением можно вращать несущий элемент в одном направлении. Однако в особенно предпочтительном примере осуществления направление вращения несущего элемента вокруг оси вращения несущего элемента периодически изменяют. При этом для особенно быстрой разработки скважины предпочтительным является изменение направления вращения по достижении угла поворота около 180°, то есть каждые пол-оборота.
В особенно предпочтительном примере осуществления способ отличается тем, что по меньшей мере одну из дисковых фрез, в особенности в зависимости от угла поворота несущего элемента вокруг оси вращения несущего элемента, поворачивают на несущем элементе, в особенности поворачивают вверх. За счет поворота по меньшей мере одной дисковой фрезы создается возможность мгновенно изменять радиус разработки дисковой фрезы и, следовательно, изменять диаметр скважины в зависимости от ее глубины. Это позволяет, например, разрабатывать подрезанные скважины или скважины переменного диаметра под сваи, расширенные в области основания. Кроме того, поворот дисковой фрезы в зависимости от угла поворота при вращении позволяет разрабатывать скважины закругленного поперечного сечения, отличного от формы круга. В частности, можно выполнять скважины и возводить сваи оснований эллиптического поперечного сечения, что при больших диаметрах свай и соответствующих формах их горизонтальных проекций может давать экономию материалов. Особенно предпочтительно поворачивать обе дисковые фрезы одновременно и симметричным образом. При этом одновременный поворот обеих дисковых фрез может быть назван их раздвижкой. В то время как посредством приводного устройства может осуществляться изменение положения дисковых фрез с поворотом вокруг вертикальной оси, посредством устройства поворота может осуществляться изменение их положения с поворотом вокруг горизонтальной оси. Посредством наложения этих двух регулировочных движений изменение поперечного сечения скважины может достигаться самым различным образом.
Далее со ссылками на прилагаемые чертежи будет подробно описаны предпочтительные примеры осуществления изобретения, представленные в схематичном виде. На чертежах:
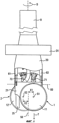
фиг.1 изображает фрезерное устройство на виде сбоку с частичным разрезом,
фиг.2 изображает фрезерное устройство по фиг.1 на виде спереди, причем дисковые фрезы показаны сплошными линиями в неповернутом положении и штрихпунктирными линиями в повернутом вверх положении,
фиг.3 изображает фрезерное устройство по фиг.1 на виде в перспективе с неповернутыми дисковыми фрезами,
фиг.4 изображает фрезерное устройство по фиг.1 на виде в перспективе с повернутыми вверх дисковыми фрезами,
фиг.5 изображает фрезерное устройство по фиг.1 на виде сверху, причем дисковые фрезы показаны сплошными линиями в не повернутом положении и штрихпунктирными линиями в повернутом вверх положении,
фиг.6 изображает на виде сверху фрезерное устройство во втором примере выполнения с горизонтально повернутыми дисковыми фрезами,
фиг.7 изображает дисковые фрезы на виде в разрезе А-А на фиг.6,
фиг.8 изображает на виде в перспективе дисковые фрезы фрезерного устройства по фиг.6.
Осуществление изобретения
Фрезерное устройство по изобретению показано на фиг.1-5. Фрезерное устройство содержит выполненный в виде рамы несущий элемент 20, на котором со стороны грунта расположены две дисковые фрезы 1, 2, установленные с возможностью вращения вокруг осей 51, 52 вращения. Дисковые фрезы 1, 2 выполнены в виде пар фрез, так что дисковая фреза 1 содержит две отдельные дисковые фрезы 11, 11′, а дисковая фреза 2 содержит две отдельные дисковые фрезы 12, 12′. Отдельные дисковые фрезы 11, 11′ установлены с двух сторон на опорном листе 21, а отдельные дисковые фрезы 12, 12′ установлены с двух сторон на опорном листе 22. Для вращательного привода дисковых фрез 1, 2 предусмотрено устройство привода дисковых фрез с двумя гидромоторами 71, 72, которые расположены сверху, соответственно, на опорных листах 21 и 22. Кроме того, на несущем элементе 20 предусмотрен приводной блок, выполненный в виде насосного устройства 75.
Несущий элемент 20 жестко прикреплен к нижнему концу трубчатой буровой штанги 8. С помощью не показанного на чертежах приводного устройства трубчатая буровая штанга с несущим элементом могут приводиться во вращение вокруг оси 56 несущего элемента в направлении D. При этом дисковые фрезы 1, 2, приводимые во вращение вокруг своих осей 51, 52 вращения, описывают круговую траекторию, на которой они разрабатывают грунтовый материал. Одновременно с вращательным движением вокруг оси 56 несущего элемента этот несущий элемент 20 перемещается в направлении Т проходки. Эта напорная подача может производиться только за счет собственного веса фрезерного устройства или за счет привода подачи, который передает напорное усилие на трубчатую буровую штангу 8. Через подающее отверстие 25, которое предусмотрено на раме 20 между дисковыми фрезами 1, 2, во время процесса фрезерования в скважину может подаваться или отводиться из нее жидкость для создания опорного элемента или охлаждающая эмульсия.
Ось 56 вращения несущего элемента проходит по центральной оси трубчатой буровой штанги 8 в направлении Т проходки. Она образует продольную ось скважины круглого поперечного сечения, создаваемой при вращении несущего элемента 20.
Дисковые фрезы 1, 2 расположены симметрично относительно оси 56 вращения. В неповернутом (развернутом) положении дисковых фрез 1, 2 их оси 51, 52 вращения проходят параллельно друг другу и образуют с осью 56 вращения несущего элемента угол, равный по существу 90°. Дисковые фрезы 1, 2 расположены таким образом, что их оси 51, 52 вращения расположены с опережением по отношению к оси 56 несущего элемента по направлению D вращения. Это опережение составляет смещение Х1 оси 51 относительно оси 56 несущего элемента и смещение Х2 оси 52 относительно оси 56 несущего элемента, причем смещение Х1 равно смещению Х2. Это особенно ясно видно на фиг.1 и 5.
Для увеличения поперечного сечения фрезерного устройства дисковые фрезы 1, 2 установлены на несущем элементе 20 с возможностью поворота вокруг общей горизонтальной оси 60 поворота. Для этого опорные листы 21, 22 шарнирно соединены с несущим элементом 20 посредством боковых L-образных рычагов 65. Для принудительного приводного поворота дисковых фрез 1, 2 предусмотрено устройство поворота с двумя гидроцилиндрами 61, 62. Каждый гидроцилиндр 61, 62 шарнирно соединен своим одним концом с несущим элементом 20 и другим концом с соответствующим опорным листом 21 или 22. При втягивании штоков этих гидроцилиндров 61, 62 рычаги 65 вместе с опорными листами 21, 22 и отдельными дисковыми фрезами 11, 11′, 12, 12′ поворачиваются вверх вокруг общей оси 60 поворота. В этом повернутом положении, которое представлено штрихпунктирными линиями на фиг.4, 2 и 5, оси 51′, 52′ вращения дисковых фрез образуют с осью 56 вращения несущего элемента угол, отличный от 90°. Поворот дисковых фрез 1, 2, который в принципе может производиться бесступенчато, может производиться до тех пор, пока оси 51′, 52′ вращения дисковых фрез не дойдут до положения, параллельного оси 56 вращения несущего элемента.
Для направления несущего элемента 20 в скважине на нем расположено направляющее кольцо 31, укрепленное с помощью четырех распорок 32, проходящих радиально к оси 56 вращения несущего элемента. Посредством этого направляющего кольца 31, коаксиального оси 56 вращения несущего элемента, несущий элемент может опираться на стенку скважины.
На фиг.6-8 показана схема разработки фрезерованием при проходке скважины фрезерным устройством с частично повернутыми вверх дисковыми фрезами 1, 2. Между обеими дисковыми фрезами 1, 2 образуется конусный выступ 80 грунтового материала, который разрабатывается торцовыми сторонами внутренних дисковых фрез 11′, 12′.
Формула изобретения
1. Фрезерное устройство для проходки фрезерованием скважины в грунте, содержащее несущий элемента (20), на котором установлены, по меньшей мере, две дисковые фрезы (1, 2) с возможностью вращения вокруг соответствующей оси (51, 52) вращения дисковой фрезы, по меньшей мере одно устройство привода дисковых фрез для вращательного привода дисковых фрез (1, 2) на несущем элементе (20), причем при вращении дисковых фрез (1, 2) вокруг соответствующей оси (51, 52) происходит разработка грунтового материала, приводное устройство, выполненное с возможностью привода во вращение несущего элемента (20) для разработки грунтового материала вместе с двумя дисковыми фрезами (1, 2) вокруг оси (56) вращения несущего элемента, которая по существу параллельна направлению проходки скважины, причем угол между осями вращения дисковых фрез и осью вращения несущего элемента составляет по существу 90°, а дисковые фрезы (1, 2) расположены так, что при вращении несущего элемента (20) они описывают круговую траекторию, на которой они разрабатывают грунтовый материал, отличающееся тем, что ось (51, 52) вращения, по меньшей мере одной дисковой фрезы (1, 2) расположена со смещением (X1, Х2) относительно оси (56) несущего элемента.
2. Фрезерное устройство по п.1, отличающееся тем, что предусмотрено устройство поворота для осуществления поворота, по меньшей мере одной из дисковых фрез (1, 2) на несущем элементе (20), в особенности поворота вверх.
3. Фрезерное устройство по п.1 или 2, отличающееся тем, что несущий элемент (20) установлен своим концом на трубчатой буровой штанге (8).
4. Фрезерное устройство по п.1 или 2, отличающееся тем, что на несущем элементе (20) предусмотрено направляющее устройство, в особенности направляющее кольцо (31) для опоры несущего элемента (20) на стенку скважины.
5. Фрезерное устройство по п.4, отличающееся тем, что направляющее устройство выполнено регулируемым по диаметру.
6. Фрезерное устройство по п.1 или 2, отличающееся тем, что на трубчатой буровой штанге (8) предусмотрено направляющее устройство, в особенности направляющее кольцо (31) для опоры трубчатой буровой штанги (8) на стенку скважины.
7. Фрезерное устройство по п.6, отличающееся тем, что направляющее устройство выполнено регулируемым по диаметру.
8. Фрезерное устройство по п.3, отличающееся тем, что предусмотрено натяжное устройство для фиксации трубчатой буровой штанги (8) в обсадной трубе, причем трубчатая буровая штанга (8) выполнена удлиняемой в осевом направлении для напорной подачи несущего элемента (20).
9. Фрезерное устройство по п.3 или 8, отличающееся тем, что приводное устройство расположено между трубчатой буровой штангой (8) и несущим элементом (20) и/или в верхней области трубчатой буровой штанги (8).
10. Фрезерное устройство по любому из пп.1, 2, 5, 7, 8, отличающееся тем, что предусмотрен привод смещения дисковых фрез (1, 2) для изменения смещения относительно оси (56) вращения несущего элемента.
11. Фрезерное устройство по любому из пп.1, 2, 5, 7, 8, отличающееся тем, что дисковые фрезы (1, 2) выполнены в виде пар дисковых фрез, каждая из которых содержит две отдельные дисковые фрезы (11, 11′, 12, 12′), при этом отдельные дисковые фрезы (11, 11′, 12, 12′) пар дисковых фрез установлены парами на опорном листе (21, 22), который установлен на несущем элементе (20) с возможностью поворота.
12. Фрезерное устройство по любому из пп.1, 2, 5, 7, 8, отличающееся тем, что дисковые фрезы (1, 2) снабжены фрезерными инструментами на окружной периферии и/или на торцевой стороне.
13. Способ проходки фрезерованием скважины в грунте, в особенности посредством фрезерного устройства, заявленного в любом из пп.1-12, при котором по меньшей мере две дисковые фрезы (1, 2), установленные на несущем элементе (20) с возможностью вращения, приводят во вращение вокруг соответствующей оси (51, 52) вращения дисковой фрезы посредством устройства привода дисковых фрез, несущий элемента (20) с дисковыми фрезами (1, 2) принудительно подают в грунт в направлении (Т) проходки, а несущий элемент (20) приводят одновременно во вращение посредством приводного устройства вместе с двумя дисковыми фрезами (1, 2) вокруг оси (56) вращения несущего элемента (20), которая по существу параллельна направлению (Т) проходки скважины, и по отношению к которой оси (51, 52) вращения дисковых фрез расположены перпендикулярно, причем дисковые фрезы (1, 2) описывают круговую траекторию, на которой они разрабатывают грунтовый материал, отличающийся тем, что ось (51, 52) вращения по меньшей мере одной дисковой фрезы (1, 2) смещают на величину (X1, Х2) относительно оси (56) несущего элемента.
14. Способ по п.13, отличающийся тем, что направление вращения несущего элемента (20) вокруг оси (56) вращения несущего элемента периодически изменяют.
15. Способ по п.13 или 14, отличающийся тем, что по меньшей мере одну из дисковых фрез (1, 2), в особенности в зависимости от угла поворота несущего элемента (20) вокруг оси (56) вращения несущего элемента, поворачивают на несущем элементе (20), в особенности поворачивают вверх.
РИСУНКИ
MM4A – Досрочное прекращение действия патента СССР или патента Российской Федерации на изобретение из-за неуплаты в установленный срок пошлины за поддержание патента в силе
Дата прекращения действия патента: 05.08.2008
Извещение опубликовано: 20.11.2010 БИ: 32/2010
|
|