|
|
(21), (22) Заявка: 2005121465/03, 07.07.2005
(24) Дата начала отсчета срока действия патента:
07.07.2005
(43) Дата публикации заявки: 20.01.2007
(46) Опубликовано: 27.09.2007
(56) Список документов, цитированных в отчете о поиске:
ИЛЬИЧЕВ В.А. и др. Основания, фундаменты и подземные сооружения. – М.: Стройиздат, 1985, п.12.2. SU 540970 А, 30.12.1976. SU 1030497 А, 23.07.1983. SU 962558 А, 30.09.1982. SU 375348 А, 23.08.1973. US 2004115008 A, 17.06.2004.
Адрес для переписки:
355012, г.Ставрополь, ул. Волжская, 33, В.Г. Столярову
|
(72) Автор(ы):
Столяров Виктор Гаврилович (RU)
(73) Патентообладатель(и):
Столяров Виктор Гаврилович (RU)
|
(54) СВАЙНЫЙ ФУНДАМЕНТ ДЛЯ ВЫСОКОСЕЙСМИЧНЫХ РАЙОНОВ
(57) Реферат:
Изобретение относится к области строительства и может быть использовано для возведения свайного фундамента в высокосейсмичных районов с интенсивностью землетрясений 9 или 10 баллов. Технический результат – уменьшение горизонтальных сейсмических воздействий на надземную часть здания. Свайный фундамент выполнен с промежуточной подушкой, верх которой совмещен с отметкой спланированной поверхности грунта. При возведении фундамента выполняют два или три ряда свай, расположенных непосредственно под ростверком. Также выполняют один или два ряда свай законтурного армирования основания в каждую сторону от центра фундамента. По подошве ростверка использован скользящий элемент с низким значением коэффициента трения. Скользящий элемент закрыт слоем бетонной подготовки. Арматура монолитного ростверка отдельно стоящего фундамента под колонну может быть выполнена в виде армокаркаса. Армокаркас включает поперечную арматуру и выпуска рабочей арматуры. 1 з.п. ф-лы, 3 ил.
Изобретение относится к области строительства и может быть использовано при возведении сейсмостойких свайных фундаментов зданий и сооружений в высокосейсмичных районах с интенсивностью землетрясений 9 и 10 баллов с учетом больших – до 1,6 м – остаточных смещений грунта.
Известна конструкция свайного фундамента (Основания, фундаменты и подземные сооружения. М., 1985. Рис.8.14), состоящего из группы свай, монолитного железобетонного ростверка, жестко соединенного с головами свай, расположенной выше ростверка части фундамента (подколонник – в случае отдельно стоящего фундамента или стена ленточного фундамента), на которую передается нагрузка от здания. Такая конструкция фундамента имеет следующие недостатки. На сваи, монолитный ростверк и подземную часть фундамента передается горизонтальное сейсмическое воздействие от окружающего их грунта, который при прохождении сейсмических волн совершает колебания и получает остаточные сейсмические смещения. Сваи, обладающие малой массой, потенциально могли бы колебаться и перемещаться вместе с грунтом. Но из-за жесткого соединения с ростверком и всей массой здания, обладающей огромной инерцией, в них возникают срезающие усилия. Действующие нормы (СНиП 2.02.03-85*. Свайные фундаменты) определяют снижение несущей способности таких свай при расчете на особое сочетание усилий примерно на 25÷30%. Из работы выключается боковая поверхность свай длиной hd ниже соединения свай с ростверком, длина этого участка может достигать 5,3 м (Основания, фундаменты и подземные сооружения: Справочник проектировщика. М.: Стройиздат, 1985. С.289). Снижается расчетное сопротивление грунта под нижним концом свай – Req=R eq1. Коэффициент условий работы eq1 при заглублении свай в полутвердые и тугопластичные глинистые грунты с увеличением расчетной сейсмичности здания с 7 до 9 баллов уменьшается с 0,95 до 0,7.
Наиболее близким по технической сущности к заявляемой конструкции фундамента является выбранный в качестве прототипа свайный фундамент с промежуточной подушкой (Основания, фундаменты и подземные сооружения. М., 1985. П.12.3.; Ильичев В.А., Монголов Ю.В., Шаевич В.М. Свайные фундаменты в сейсмических районах. М., 1983). Он состоит из свай с оголовками, промежуточной подушки из сыпучих материалов (щебня, гравия, песка крупного и средней крупности) толщиной 40…60 см выше оголовков, уплотненных до максимально возможного значения плотности. На промежуточную подушку опираются монолитный ростверк, выше которого в ленточном фундаменте расположены стены фундамента, а в отдельно стоящем фундаменте – подколонник стаканного типа, составляющий с плитой ростверка единое целое. При расположении между подошвой ростверка и головами свай промежуточной подушки сваи, будучи не связаны с монолитным ростверком и всей массой здания, получают возможность при землетрясении колебаться и перемещаться вместе с окружающим грунтом. В них не возникает срезающих усилий, в свою очередь при горизонтальных остаточных смещениях грунта дополнительное горизонтальное усилие не передается от свай на ростверк. В результате увеличилась несущая способность свай (в соответствии с действующим СНиП 2.02.03-85*. Свайные фундаменты): расчетное сопротивление грунта по боковой поверхности feq действует по всей длине сваи (то есть hd=0), а расчетное сопротивление грунта под нижним концом сваи Req не только не уменьшается (см. ранее, eq1=0,7…0,95), а увеличилось – eq1=1,2 (СНиП 2.02.03-85*, п.11.14). Но такая конструкция фундамента имеет следующие недостатки. На вертикальные поверхности ростверка и подземных частей фундамента, заглубленного в грунт, будут действовать горизонтальные сейсмические нагрузки, которые будут передаваться и на надземную часть здания. При остаточных сейсмических смещениях грунта U0a – коэффициент трения сыпучего материала промежуточной подушки по бетону – 0,4 (Основания, фундаменты и подземные сооружения. 1985, п.12.3). Затруднено проектирование здания, а именно расчет устойчивости (несмещаемости) всего здания. Обычно при действии на объект горизонтальных сил его смещению препятствуют силы трения по подошве фундамента, направленные в противоположном этим горизонтальным силам направлении. Но во время смещения грунта силы трения будут иметь одинаковое направление с силами, воздействующими на вертикальные поверхности подземной части фундамента.
Кроме того, в высокосейсмичных районах резко увеличиваются остаточные смещения грунта U0(I), мм. Если в 6-, 7-, 8-балльных районах они составят 1,2; 7,24 и 43,7 мм соответственно, то в 9-ти- и 10-балльных районах они возрастают до 263 и 1585 мм. Здесь две опасности: если не происходит среза подземной части здания относительно надземной части, обладающей, как правило, значительной массой, а следовательно, и инерцией, то сваи просто «уедут» из-под фундамента (например, на 1585 мм) и ростверк будет вдавлен в основание, что приведет к разрушению фундамента, а затем и здания.
Техническим результатом изобретения является уменьшение горизонтальных сейсмических воздействий на здание.
Указанный технический результат достигается следующим образом. Верх промежуточной подушки располагают на отметке спланированной поверхности грунта у здания DL и выравнивают тонким – 3÷5 см – слоем цементного раствора, на нем располагают скользящий элемент из двух слоев материала с низким значением коэффициента трения и закрывают его слоем бетонной подготовки, непосредственно под ростверком располагают в рассматриваемом направлении nR рядов свай – два или три, что определяется из сопоставления нагрузки на фундамент и несущей способности свай, ширину ростверка BR принимают равной

где Аb – шаг свай в рассматриваемом направлении,
кроме nR рядов свай, располагаемых непосредственно под ростверком, устраивают nзак рядов свай законтурного армирования основания в каждую сторону от центра фундамента с шагом свай Аb: в 9-балльной зоне не менее одного ряда, а в 10-балльной зоне – не менее двух рядов, при этом расстояние между крайними рядами свай, располагаемых под ростверком, и крайними рядами свай законтурного армирования принимают не менее величины остаточных сейсмических смещений грунта U0(Imax), мм при возможном землетрясении максимальной интенсивности Imax для данного объекта:

а расстояние между сваями в ряду и между рядами свай принимают с учетом возможного дополнительного сейсмического момента:

где Na – вертикальная составляющая сейсмической нагрузки, eeq, max – возможное максимальное расстояние между центром ростверка и центром группы свай, расположенных под ростверком, определяемое уравнением

где Aог – ширина оголовка;
ширина промежуточной подушки, тонкого слоя цементного раствора по ее верху, скользящего элемента из двух слоев материала с низким значением коэффициента трения принимается такой, чтобы они выходили за ось крайнего ряда свай законтурного армирования в каждую сторону от центра фундамента на величину В, определяемую уравнением:

В сейсмостойком свайном фундаменте для высокосейсмичных районов арматура монолитного ростверка отдельно стоящего фундамента под колонну выполнена в виде армокаркаса, включающего поперечную арматуру и выпуска рабочей арматуры для соединения с рабочей арматурой колонны.
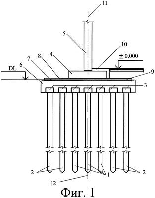
Особенности предлагаемой конструкции фундамента показаны на примере свайного ленточного фундамента. На фиг.1 и фиг.2 изображены поперечный разрез и фрагмент плана свайного ленточного фундамента на момент окончания его возведения. На фиг.3 изображен этот же фундамент после землетрясения; сваи получили смещение на величину U0 (I) вправо от центра опоры надземной части.
Свайный фундамент для высокосейсмичных районов (см. фиг.1) состоит из нескольких рядов свай 1 и 2 с оголовками 3. Непосредственно под ростверком 4, на который опирается наружная стена 5 надземной части здания, расположено не менее двух рядов свай 1. В данном варианте показано три ряда свай 1; количество рядов свай 1 – как правило два или три – зависит от соотношения несущей способности свай и передаваемой на фундамент нагрузки. Применены также сваи законтурного армирования 2; количество рядов свай 2 в каждую сторону от центра фундамента – не менее одного ряда на объектах с интенсивностью землетрясений 9 баллов и не менее двух рядов – в 10-балльной зоне. Между ростверком 4 и оголовками свай 3 расположена промежуточная подушка 6, верх которой для уменьшения горизонтальных сейсмических воздействий, передаваемых на надземную часть здания, поднят и совмещен с отметкой спланированной поверхности грунта DL у здания. Силы трения по подошве ростверка могут достигать во время сейсмических смещений грунта 40% от вертикальной составляющей нагрузки. Для уменьшения их верх промежуточной подушки 6 выравнивают тонким – 3÷5 см – слоем цементного раствора 7, на нем располагают скользящий элемент 8 из двух слоев материала с низким значением коэффициента трения (например, из двух слоев фторопласта) и закрывают его слоем бетонной подготовки 9 толщиной, например, 100 мм. Так как у наружной стены здания 5 железобетонный ростверк 4 будет являться в холодное время мостиком холода, то с внутренней стороны здания боковую и верхнюю горизонтальную поверхность ростверка отделяют от окружающей среды слоем теплоизоляции 10, например слоем легкого бетона, верх которого совмещают с отметкой пола здания – отметкой ±0,000. При проектировании и устройстве свайного фундамента для высокосейсмичных районов совмещают положение оси 11 стены 5 надземной части здания и ростверка 4 с осью 12 – центром nR свай 1, располагаемых непосредственно под ростверком 4. Расстояние от крайнего ряда свай 1, расположенных непосредственно под ростверком, до крайнего ряда свай 2 законтурного армирования основания в каждом из направлений от центра фундамента должно быть не менее остаточных сейсмических смещений грунта и свай 1 и 2 во время землетрясения максимальной интенсивности Imax, возможного на этом объекте. Например, при расстоянии между рядами свай 0,8 м (см. фиг.1 и фиг.2) указанное расстояние равно 0,8*2=1,6 м, что больше максимального сейсмического смещения грунта и свай в 10-балльной зоне – 1,585 м.
На фиг.2 показан фрагмент плана свайного фундамента с промежуточной подушкой 6 на момент окончания возведения. Как показано выше, фундамент можно сооружать в 10-балльной зоне. Сваи 1 и 2 расположены в шахматном порядке, у них все параметры (сечение и длина свай, отметки головы свай, шаг свай) принимаются одинаковыми. В том числе принимается одинаковый шаг свай в рядах свай 1 и 2: при остаточных сейсмических смещениях грунта вместе со сваями ряды свай законтурного армирования 2 становятся сваями 1, расположенными непосредственно под ростверком 4. Во время остаточного сейсмического смещения грунта вместе со сваями 1 и 2 могут возникать благоприятные и неблагоприятные комбинации расположения свай под ростверком 4. Во время, когда сваи сместятся (вправо или влево) на величину Аb/2, под ростверком будет находиться четыре ряда свай. Это благоприятное расположение свай: в данном примере несущая способность фундамента должна быть обеспечена тремя рядами свай, которые на момент их возведения расположены симметрично относительно геометрической оси стены 5.
На фиг.3 показан свайный фундамент после максимального остаточного сейсмического смещения грунта и свай вправо. Два ряда свай, которые были до смещения сваями законтурного армирования 2, расположились под ростверком и воспринимают нагрузку, передаваемую ростверком 4, то есть они стали сваями 1. Это положение свай, когда наружная грань оголовка третьей слева сваи 1 совпадает с наружной гранью ростверка 4, характерно тем, что эксцентриситет – расстояние между геометрической осью 11 стены и ростверка и геометрической осью 12 свай 1, расположенных под ростверком, будет максимальным – e=emax и определяется уравнением (4).
При возведении фундамента (см. фиг.1) ширина промежуточной подушки 6, тонкого слоя цементного раствора 7 по ее верху, скользящего элемент 8 из двух слоев материала с низким значением коэффициента трения принимается такой, чтобы они выходили за ось крайнего ряда свай законтурного армирования в каждую сторону от центра фундамента на величину В, определяемую уравнением (5). Этот размер определен из условия, что даже при критической величине остаточных сейсмических смещений, когда сваи займут положение, показанное на фиг.3, под всем ростверком 4 находился скользящего элемент 8 и на ростверк 4 и надземную часть здания 5 горизонтальные сейсмические воздействия передавались в минимальном объеме.
Формула изобретения
1. Свайный фундамент для высокосейсмичных районов, состоящий из располагающихся рядами свай с оголовками, промежуточной подушки из гранулированных материалов, монолитного ростверка, отличающийся тем, что верх промежуточной подушки располагают на отметке спланированной поверхности грунта у здания DL и выравнивают тонким – 3÷5 см – слоем цементного раствора, на нем располагают скользящий элемент из двух слоев материала с низким значением коэффициента трения и закрывают его слоем бетонной подготовки, непосредственно под ростверком располагают в рассматриваемом направлении nR рядов свай – два или три, что определяется из сопоставления нагрузки на фундамент и несущей способности свай, ширину ростверка BR принимают равной

где Ab – шаг свай в рассматриваемом направлении, кроме nR рядов свай, располагаемых непосредственно под ростверком, устраивают nзак рядов свай законтурного армирования основания в каждую сторону от центра фундамента с шагом свай Аb: в 9-балльной зоне не менее одного ряда, а в 10-балльной зоне – не менее двух рядов, при этом расстояние между крайними рядами свай, располагаемых под ростверком, и крайними рядами свай законтурного армирования принимают не менее величины остаточных сейсмических смещений грунта Uo (Imax), мм при возможном землетрясении максимальной интенсивности Imax для данного объекта

а расстояние между сваями в ряду и между рядами свай принимают с учетом возможного дополнительного сейсмического момента

где Na – вертикальная составляющая сейсмической нагрузки, eeq,max – возможное максимальное расстояние между центром ростверка и центром группы свай, расположенных под ростверком, определяемое уравнением

где Aог – ширина оголовка;
ширина промежуточной подушки, тонкого слоя цементного раствора по ее верху, скользящего элемента из двух слоев материала с низким значением коэффициента трения принимаются такими, чтобы они выходили за ось крайнего ряда свай законтурного армирования в каждую сторону от центра фундамента на величину В, определяемую уравнением

2. Сейсмостойкий свайный фундамент для высокосейсмичных районов по п.1, отличающийся тем, что арматура монолитного ростверка отдельно стоящего фундамента под колонну выполнена в виде армокаркаса, включающего поперечную арматуру и выпуска рабочей арматуры для соединения с рабочей арматурой колонны.
РИСУНКИ
|
|