|
|
(21), (22) Заявка: 2005127717/14, 05.09.2005
(24) Дата начала отсчета срока действия патента:
05.09.2005
(43) Дата публикации заявки: 10.03.2007
(46) Опубликовано: 27.09.2007
(56) Список документов, цитированных в отчете о поиске:
RU 26742 U1, 20.12.2002. RU 28824 U1, 20.04.2003. SU 1688875 A1, 07.11.1991. RU 2202315 C1, 20.04.2003. GB 1291011 A, 27.09.1972. US 5416931 A, 23.05.1995.
Адрес для переписки:
656066, г.Барнаул, Павловский тракт, 112-57, В.Ф. Карбушеву
|
(72) Автор(ы):
Аксинин Николай Александрович (RU)
(73) Патентообладатель(и):
Аксинин Николай Александрович (RU)
|
(54) МИНИ-САУНА
(57) Реферат:
Изобретение относится к санитарно-профилактическим устройствам, в частности к парильням, баням и саунам, которые могут быть использованы в лечебных учреждениях, косметических салонах и физиокабинетах для осуществления различных лечебно-профилактических процедур. Мини-сауна включает корпус, выполненный из древесины, преимущественно кедра, парообразователь, соединяющий их паропровод, нагревательные элементы, средство для подачи воздуха в парообразователь, средства контроля и управления температурой среды в корпусе. Парообразователь выполнен в виде емкости с технологическим концентратом и связан со средством для подачи воздуха посредством трех самостоятельных контуров воздуховода, два из которых смонтированы в воздушной полости парообразователя и связаны с ней, а третий – в объеме технологического концентрата и связан с нижней частью технологического концентрата, находящегося в парообразователе. Использование изобретения позволяет создать условия для равномерного и более эффективного воздействия приготовленного технологического концентрата и тепла древесины на организм человека. 10 з.п. ф-лы, 1 ил.
Изобретение относится к области бань, в частности к конструкции малогабаритной разборной и транспортабельной сауны, которая может быть использована в лечебных учреждениях, косметических салонах, физиокабинетах для осуществления различных профилактических процедур, а также в частном порядке.
Широко известны русские бани, включающие помещения для мытья, отдыха, парилку и печь – источник прогрева бани. Профилактическое влияние русской бани хорошо изучено и позволяет кроме наружной очистки тела от различных загрязнений и пота более глубоко и многосторонне воздействовать на весь организм человека. Однако не всегда у людей есть возможность посещать русскую баню, тем более натопленную по черному или по белому, с ароматом древесины и присущим ей колоритом запахов. К тому же достаточно большие размеры русских бань не позволяют любителям, например, в городских условиях насладиться всеми особенностями и достоинствами русской бани, что можно отнести к ее недостаткам.
Известно устройство, при котором можно достичь желаемого результата использования бани в городских условиях, – мини-сауна. См. свидетельство на полезную модель №26742.
Рабочая часть мини-сауны выполнена из древесины – в основном кедра, коробчатого типа с открывающейся и закрепленной шарнирно с корпусом сауны частью. В центре сауны на определенной высоте смонтировано сиденье, а в верхней части выполнено отверстие для головы.
Нагретый воздух из специального генератора подается в сауну при помощи воздуховода. В нижней части лицевой стороны сауны выполнены вентиляционные отверстия. В процессе использования сауны посетитель садится на сиденье, шарнирная часть – дверца закрывается и в полость мини-сауны подается нагретый ароматизированный специальными фитодобавками или травами воздух. Известная сауна позволяет использовать и лечебные средства для оздоровления организма человека.
Однако известная мини-сауна обладает рядом недостатков, заключающихся в неравномерном излучении и воздействии паров фитосборов и лечебных препаратов, а также недостаточно эффективное и равномерное воздействие энергии тепла древесины сауны на отдельные участки тела человека.
Известно «Устройство для профилактики и лечения с помощью фитопаротерапии нарушений обменных процессов различной этиологии» (см. свидетельство на полезную модель 10572 М. кл. 6 А61К 35/78 от 17.02.99 г.). Устройство содержит камеру-корпус для размещения пациентов, образователь пара, сообщающийся с камерой, причем в качестве камеры для размещения пациента применена кедровая бочка, снабженная крышкой, выполненной в виде металлического каркаса-горловины, обтянутого эластичным герметизирующим чехлом с отверстием для головы, при этом бочка снабжена распределителем пара с не менее чем тремя вентилями, который установлен в нижней части наружной поверхности бочки и соединен шлангом с образователем пара, а образователь пара выполнен герметичным и подогревается на газовой плите.
К недостаткам прототипа можно отнести низкую эффективность воздействия на организм человека различными, в том числе биологически активными препаратами (концентратами препаратов), которые размещаются в парообразователе и подвержены воздействию высокой температуры в 100 градусов и выше. При этом в приготовленном технологическом концентрате снижается количество биологически активных веществ, трав или лечебных препаратов, а также снижается или уничтожается полностью доля витаминов и других полезных веществ.
Наиболее близким аналогом – прототипом является «Мини-сауна профилактическая» (см. патент на полезную модель №26742 7 А61Н 33/06, опубл. 20.12.2002 года). Мини-сауна профилактическая содержит кабину, предназначенную для заполнения воздействующей средой и размещения в ней пациента, воздуховод, воздухораспределитель, нагреватель и блок подачи воздействующей среды, причем кабина выполнена в виде герметичного, раскрывающегося ларя, в котором размещается пациент таким образом, что его голова располагается снаружи, воздуховод и воздухораспределитель выполнены в виде блока тепловентилятора, состоящего из электронагревателя и электровентилятора, нагреватель представляет собой блок парогенератора конфорочный, состоящий из электроконфорки и емкости парообразующей, выполненной в виде проточенной многоканальной, герметичной плиты, в которой поступающая дистиллированная вода преобразуется в пар, блок подачи воздействующей среды, который состоит из компрессора, подающего воздух через шланги на форсунки, капельниц и воздействующей среды.
К недостаткам прототипа можно отнести то, что после каждого впрыскивания воздействующей среды температура в мини-сауне резко снижается, а последующая очередная подача в полость мини-сауны перегретого до температуры в 100 и более градусов пара создает колебания температуры в мини-сауне, при этом происходит разбавление воздействующей среды (снижение концентрации) и ее смывание с тела пациента. Периодическое распыление воздействующей среды и одновременно быстрое ее смывание или в крайнем случае за счет увеличения в ней влаги снижение концентрации, ведет к неэффективному проведению процедуры профилактического оздоровления в целом. К тому же расположение практически всех конструктивных элементов мини-сауны прототипа под ногами, под полом пациента во время проведения процедуры является процессом не безопасным, так как влажная среда в полости мини-сауны является еще и проводником электрического тока и подвод электричества к нагревателю электроконфорки, компрессору и к электровентилятору может привести к несчастному случаю – поражению пациента электрическим током. Получение пара за счет прохождения воды через емкость со специальными герметичными каналами несмотря на то, что авторы предлагают применять дистиллированную воду, рано или поздно приведет к засорению каналов и разрыву парообразующей емкости, находящейся под ногами пациента.
Работа компрессора практически всегда создает шум и определенную вибрацию, поэтому проведение профилактической процедуры в известной мини-сауне при некомфортных условиях (шум компрессора, вибрация, опасность поражения током, периодическое воздействие горячим паром и менее нагретой воздействующей средой при постоянном разбавлении и смывании воздействующей среды с тела пациента) приводит к неравномерному воздействию средой и к существенному снижению эффективности осуществляемой процедуры. Указанные недостатки и явились технической задачей предлагаемого в качестве изобретения технического решения.
Задачей настоящего изобретения является устранение недостатков прототипа, в частности создание условий равномерного, более полного и эффективного воздействия приготовленного технологического концентрата (лечебные и фитопрепараты с биологически активными веществами, витаминами и без), а также энергии и тепла древесины на организм человека.
Поставленная задача достигается тем, что дополнительно содержит средства контроля и управления температурой среды в корпусе, парообразователь выполнен в виде емкости с технологическим концентратом и связан со средством для подачи воздуха посредством трех самостоятельных контуров воздуховода, два из которых смонтированы в воздушной полости парообразователя и связаны с ней, а третий – в объеме технологического концентрата и связан с нижней частью технологического концентрата, находящегося в парообразователе.
Один из двух контуров воздуховода, смонтированных в воздушной полости парообразователя, и третий контур, смонтированный в полости парообразователя в объеме технологического концентрата, выполнены в виде спирали.
Третий контур воздуховода снабжен рассеивателем воздушного потока.
Внутренняя поверхность древесины корпуса мини-сауны выполнена с распространенной поверхностью, например волнистой в виде выемок-углублений в древесине с несовпадающими по высоте началом и окончанием этих выемок-углублений.
Волнистая внутренняя поверхность мини-сауны выполнена в виде гофр треугольной формы.
Форма корпуса мини-сауны выполнена по высоте полости мини-сауны в соответствии с геометрией поперечного сечения тела человека.
Средство для подачи воздуха в парообразователь выполнено в виде нагнетающего вентилятора или компрессора.
Внутренняя поверхность корпуса мини-сауны выполнена волнистой в виде продольных совпадающих по высоте корпуса мини-сауны выемок-углублений в древесине.
Корпус мини-сауны выполнен из древесины колотого кедра.
Паропровод парообразователя соединен с корпусом мини-сауны, по крайней мере, при помощи двух патрубков.
Средство контроля температуры и управления температурой среды в корпусе выполнено в виде двух датчиков температуры, соединенных с блоком управления, связанным с клапанами, соединяющими контуры воздуховода со средством для подачи воздуха в парообразователь, при этом датчики температуры смонтированы, соответственно, в корпусе мини-сауны и в корпусе парообразователя по высоте заполняемого парообразователь технологического концентрата.
Новизной предлагаемого технического решения является то, что мини-сауна дополнительно содержит средства контроля и управления температурой среды в корпусе, парообразователь выполнен в виде емкости с технологическим концентратом и связан со средством для подачи воздуха посредством трех самостоятельных контуров воздуховода, два из которых смонтированы в воздушной полости парообразователя и связаны с ней, а третий – в объеме технологического концентрата и связан с нижней частью технологического концентрата, находящегося в парообразователе.
Указанные признаки являются новыми, промышленно выполнимыми, неочевидными и направлены на достижение поставленной изобретением технической задачи – равномерного, более полного и эффективного воздействия технологического концентрата с биологически активными веществами, витаминами, фитопрепаратами и др. на организм человека.
Признаки выполнения одного из двух контуров воздуховода, смонтированных в воздушной полости парообразователя, и третьего контура, смонтированного в полости парообразователя в объеме технологического концентрата, в виде спирали, третьего контура воздуховода с рассеивателем воздушного потока, выполнение внутренней поверхности древесины корпуса мини-сауны с распространенной поверхностью, например волнистой в виде выемок-углублений в древесине с несовпадающими по высоте началом и окончанием этих выемок-углублений или в виде гофр треугольной формы, а также выполнение формы корпуса мини-сауны по высоте полости мини-сауны в соответствии с геометрией поперечного сечения тела человека и выполнение средства для подачи воздуха в парообразователь в виде нагнетающего вентилятора или компрессора – являются признаками дополнительными, раскрывающими конкретное исполнение каждого из основных признаков.
Выполнение внутренней поверхности корпуса мини-сауны волнистой в виде продольных совпадающих по высоте корпуса мини-сауны выемок-углублений в древесине позволяет максимально использовать фитосвойства древесины для воздействия на организм человека и его оздоровления.
Так, при количестве воздуховодов-контуров, соединяющих компрессор с парообразователем, равном трем, достигается оптимальный результат по поддержанию температуры в полости мини-сауны, при этом остается возможным вариант с двумя контурами-воздуховодами или одним, о чем свидетельствует признак основного пункта формулы «…при помощи, по крайней мере, одного воздуховода с компрессором… ». Предварительный прогрев корпуса мини-сауны горячим воздухом через первый или второй воздушный контур-воздуховод позволяет снизить расход приготовленного технологического концентрата, который поступает в мини-сауну непосредственно тогда, когда пациент находится в мини-сауне.
Выполнение корпуса мини-сауны из древесины колотого кедра, с выполненной внутренней поверхностью древесины с распространенной поверхностью, например волнистой в виде выемок-углублений в древесине с совпадающими и несовпадающими по высоте началом и окончанием этих выемок-углублений, гофр треугольной формы, а также выполнение корпуса мини-сауны в поперечном сечении в виде эллипса или в соответствии с геометрией поперечного сечения тела человека, выполнение средства для подачи воздуха в парообразователь в виде нагнетающего вентилятора или компрессора, соединение воздухопаропровода парообразователя с корпусом мини-сауны, по крайней мере, при помощи двух патрубков и наличие средств контроля и управления также являются дополнительными признаками, направленными на более полное и более эффективное воздействие на человека лечебно-оздоровительных технологических растворов. Корпус мини-сауны выполнен из древесины колотого кедра.
Средство контроля температуры и управления температурой среды в корпусе выполнено в виде двух датчиков температуры, соединенных с блоком управления, связанным с клапанами, соединяющими контуры воздуховода со средством для подачи воздуха в парообразователь, при этом датчики температуры смонтированы, соответственно, в корпусе мини-сауны и в корпусе парообразователя по высоте заполняемого парообразователь технологического концентрата.
Выполнение второго и третьего воздуховодов-контуров, смонтированных в полости парообразователя в виде спирали, позволяет снизить время и осуществить более интенсивное прогревание поступающего в парообразователь воздуха и в нагретом виде использовать его в дальнейшем.
Наличие рассеивателя воздушного потока на третьем воздуховоде-контуре средства для подачи воздуха в нижнюю часть технологического концентрата парообразователя позволяет превратить в парообразное состояние необходимое количество концентрата и достичь необходимой концентрации паров технологического концентрата (приготовленные лечебные и фитопрепараты с биологически активными веществами и без них) и обеспечить этим самым более эффективное воздействие препарата на организм человека.
Ввод парообразного концентрата в полость мини-сауны при помощи паропровода, соединяющего парообразователь с корпусом мини-сауны, по крайней мере, при помощи двух патрубков, обеспечивает направленную, равномерно распределенную подачу парообразного концентрата, чем повышает эффективность их воздействия на организм человека.
Дополнительно следует сказать, что на повышение эффективности воздействия технологических концентратов оказывает комплексное влияние ряд факторов, таких как температура в мини-сауне, концентрация и дисперсность взвешенных частиц парообразного технологического концентрата, отсутствие металлических элементов конструкции корпуса мини-сауны, величина поверхности древесины, воздействующей на тело человека, вид древесины (кедр, береза, бук и др.), объем мини-сауны, в котором осуществляется воздействие и время воздействия, наличие легкоуправляемого источника нагрева технологического концентрата. Все эти необходимые конструктивные элементы для эффективного осуществления лечебно-оздоровительной процедуры имеются в предлагаемой мини-сауне.
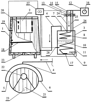
На чертеже схематично представлена предлагаемая мини-сауна. Мини-сауна состоит, например, из конусообразного усеченного корпуса 1, выполненного из колотых кедровых дощечек. Дверца 2 шарнирно закреплена на корпусе 1 и обеспечивает при закрывании плотное ее соединение с боковой и верхней торцевой поверхностями корпуса 1. Парообразователь 3 соединен с корпусом 1 сауны при помощи паропровода 4, обеспечивающего подачу парообразного технологического концентрата или подогретого в полости парообразователя воздуха в полость мини-сауны и распределение его по внутренней полости корпуса 1 при помощи, по крайней мере, двух патрубков 5 и 6. В полости парообразователя 3 в верхней воздушной его части смонтированы воздушный воздуховод-контур 7 и воздушный спиралеобразный воздуховод-контур 8, а в нижней части парообразователя смонтированы нагревательные элементы – ТЭНы 9 для приготовления и поддержания заданной температуры технологического концентрата 10 и спиралеобразный воздушный воздуховод-контур 11. Все три воздушные воздуховоды-контуры при помощи клапанов связаны посредством одного воздуховода со средством 12 для подачи воздуха в парообразователь 3. Спиралеобразный воздушный воздуховод-контур 8 и спиралеобразный воздушный воздуховод-контур 11 предназначены для прогрева поступающего воздуха. Воздушные воздуховоды-контуры 7, 8, 11 соединены со средством 12 для подачи воздуха в парообразователь при помощи клапанов 13, 14, 15. Средство 12 для подачи воздуха в парообразователь 3 выполнено в виде, например, компрессора или нагнетающего вентилятора 16.
В нижней части второго спиралеобразного воздуховода-контура 11 установлен рассеиватель воздуха 17. В корпусе мини-сауны установлено регулируемое по высоте сиденье 18 и термометр 19. Дверца 2 имеет двухстороннюю защелку 20, позволяющую закрывать и открывать дверцу как изнутри, так и снаружи. В верхней части корпуса мини-сауны выполнена крышка 21 с отверстием 22 для шеи человека. В нижней части корпуса мини-сауны выполнено отверстие 23 для слива конденсата, пота и для удаления моющего или дезинфицирующего раствора. Средство 12 для подачи воздуха в парообразователь, выполненное, например, в виде вентилятора или компрессора 16, смонтировано с наружной стороны парообразователя 3 и связано с ним при помощи воздуховодов 24 и 25, 26 связанных с воздуховодом. Блок управления 27 температурой в корпусе 1 мини-сауны и концентрата парообразователя 3 связан с клапанами 13, 14, 15 и термометрами 19 и 28.
Предлагаемая мини-сауна работает следующим образом.
Перед началом работы в парообразователе 3 готовят технологический концентрат для последующего его преобразования в парообразное состояние. Для этого вместе с расчетным количеством воды в полости парообразователя 3 размещают требуемое количество либо лечебного средства, либо фитопрепарата, либо любого другого средства лечебного или профилактического характера. Затем включают ТЭНы 9 парообразователя 3 для нагрева жидкости до заданной температуры. Затем делают выдержку при этой температуре заданное время и получают технологический концентрат 10, который в дальнейшем используется для соответствующего лечебного или профилактического воздействия. Далее приступают к прогреву корпуса мини-сауны путем включения средства 12 для подачи воздуха в парообразователь 3 и прохождения нагретого воздуха через первый воздушный воздуховод-контур 7. Затем в мини-сауне на сиденье размещается пациент. Дверца 2 и крышка 21 мини-сауны закрываются. Зазор между шеей пациента и отверстием 22 в крышке 21 мини-сауны прикрывается тканью, например полотенцем. Включается нижний воздушный воздуховод-контур 11 воздуховода парообразователя 3 и воздух, распыляясь при помощи рассеивателя 17 воздуха, захватывает часть подготовленного технологического концентрата и в мелкодисперсном парообразном состоянии подает его в корпус мини-сауны при помощи, по крайней мере, двух патрубков 5 и 6. При необходимости воздействия травяных сборов и других растворов профилактического или лечебного направления, или ароматизации воздуха в парообразователь 3 укладывают необходимые для этого составляющие. В зависимости от рекомендованного режима воздействия на человека в мини-сауне можно создавать либо насыщенную паровую влажную, либо ненасыщенную влажную атмосферу, предварительно включая соответствующий контур воздухопровода при помощи клапанов 14 и 15.
Конкретный пример проведения профилактического оздоровления пантовым концентратом при помощи предлагаемой мини-сауны.
Перед началом проведения, например, десяти процедур оздоровления пациентов в парообразователь залили 4 литра чистой отстоянной воды, разместили в ней 80 граммов измельченного свежемороженого панта и включили ТЭНы 9 для приготовления технологического концентрата. При температуре 92°С сделали выдержку в течение 80 минут – пантовый концентрат после выдержки был готов к использованию. В зависимости от вида лечебного или профилактического препарата концентрат готовят при температуре от 50 до 98°С. Затем включением компрессора 16 начали подавать через первый воздушный контур-воздуховод 7 нагретый в парообразователе воздух и прогрели корпус мини-сауны и находящийся в ней воздух до температуры 40°С. Рабочая температура прогретого воздуха в мини-сауне может быть от 30 до 70°С в зависимости от вида процедуры и от индивидуальных особенностей организма человека. Далее приступили к проведению лечебной пантовой процедуры. После того, как пациент вошел в мини-сауну, сел на сиденье 18, крышку 21 и дверцу 2 закрыли и накрыли полотенцем зазор между шеей пациента и крышкой 21 мини-сауны. Включением компрессора 16 для подачи воздуха в парообразователь 3 через третий воздушный воздуховод-контур 11 воздухопровода и рассеиватель воздуха 17 начали подавать воздух в нижнюю часть технологического концентрата. Воздух, распыляясь в пантовом концентрате и поднимаясь вверх парообразователя, захватывал мелкодисперсные частички пантового концентрата и насыщенный парообразный пантовый концентрат поступал в полость мини-сауны, где распределялся при помощи патрубков 5 и 6. При этом для поддержания температуры в полости мини-сауны в 40°С в мини-сауну периодически подавали новую порцию парообразного пантового концентрата. В зависимости от индивидуальных особенностей пациентов первую лечебную пантовую процедуру проводили в течение 10 минут, в последующих время процедуры увеличили до 12-15 минут. Общее время проведения процедуры составляет от 5 до 25 минут. Во время процедуры на пациента оказывалось присущее древесине кедра оздоровительное воздействие, тепло прогретой колотой древесины кедра при помощи его распространенной поверхности, которая была выполнена с внутренней стороны полости корпуса мини-сауны в виде углублений-выемок в древесине с несовпадающими по высоте началом и окончанием этих выемок-углублений. Датчики температуры при помощи блока управления температурой и клапанами обеспечивали автоматический режим поддержания температуры в полости мини-сауны и в корпусе парообразователя.
Все известные преимущества русской бани при использовании предлагаемого изобретения существенно усиливаются, дополняются новыми, обеспечивается возможность использования мини-сауны в лечебных учреждениях, санаториях, домах отдыха, на даче и т.д. К тому же использование нового более совершенного способа лечения пантовым концентратом существенно расширяет технологические возможности мини-сауны. Отсутствие внутри сауны металлических частей (гвоздей, шурупов и других элементов крепления) создает более благоприятные, более эффективные условия для проведения процедур и более эстетичные условия для профилактики и оздоровления организма человека. Так, распространенная внутренняя поверхность корпуса мини-сауны позволяет более эффективно воздействовать целебными свойствами древесины кедра на организм человека, а подача парообразного лечебного, например, пантового концентрата или профилактического концентрата (травяного) при температуре 50-98°С, не достигшего температуры кипения, позволяет максимально сохранить полезные биологически активные вещества в концентрате, а его воздействие через раскрывшиеся поры кожи человека является более эффективным.
Автором в настоящее время изготовлено несколько опытных образцов мини-саун, которые переданы на испытания в различные организации. После получения результатов испытаний предполагается организовать производство предлагаемых мини-саун.
Предварительные испытания предлагаемой сауны показали хорошие лечебно-профилактические результаты.
Формула изобретения
1. Мини-сауна, содержащая корпус, выполненный из древесины, преимущественно кедра, парообразователь, соединяющий их паропровод, нагревательные элементы и средство для подачи воздуха в парообразователь, отличающаяся тем, что дополнительно содержит средства контроля и управления температурой среды в корпусе, парообразователь выполнен в виде емкости с технологическим концентратом и связан со средством для подачи воздуха посредством трех самостоятельных контуров воздуховода, два из которых смонтированы в воздушной полости парообразователя и связаны с ней, а третий – в объеме технологического концентрата и связан с нижней частью технологического концентрата, находящегося в парообразователе.
2. Мини-сауна по п.1, отличающаяся тем, что один из двух контуров воздуховода, смонтированных в воздушной полости парообразователя, и третий контур, смонтированный в полости парообразователя в объеме технологического концентрата выполнены в виде спирали.
3. Мини-сауна по п.2, отличающаяся тем, что третий контур воздуховода снабжен рассеивателем воздушного потока.
4. Мини-сауна по п.1, отличающаяся тем, что внутренняя поверхность древесины корпуса мини-сауны выполнена с распространенной поверхностью, например – волнистой в виде выемок-углублений в древесине с несовпадающими по высоте началом и окончанием этих выемок-углублений.
5. Мини-сауна по п.4, отличающаяся тем, что волнистая внутренняя поверхность корпуса мини-сауны выполнена в виде гофр треугольной формы.
6. Мини-сауна по п.1, отличающаяся тем, что форма корпуса мини-сауны, выполнена по высоте полости мини-сауны в соответствии с геометрией поперечного сечения тела человека.
7. Мини-сауна по п.1, отличающаяся тем, что средство для подачи воздуха в парообразователь выполнено в виде нагнетающего вентилятора или компрессора.
8. Мини-сауна по п.1, отличающаяся тем, что внутренняя поверхность корпуса мини-сауны выполнена волнистой в виде продольных совпадающих по высоте корпуса мини сауны выемок-углублений в древесине.
9. Мини-сауна по п.1, отличающаяся тем, что корпус мини-сауны выполнен из древесины колотого кедра.
10. Мини-сауна по п.1, отличающаяся тем, что паропровод парообразователя соединен с корпусом мини-сауны, по крайней мере, при помощи двух патрубков.
11. Мини-сауна по п.1, отличающаяся тем, что средство контроля и управления температурой среды в корпусе выполнено в виде двух датчиков температуры, соединенных с блоком управления, связанным, с клапанами, соединяющими контуры воздуховода со средством для подачи воздуха в парообразователь, при этом датчики температуры смонтированы соответственно в корпусе мини-сауны и в корпусе парообразователя по высоте заполняемого парообразователь технологического концентрата.
РИСУНКИ
|
|