|
|
(21), (22) Заявка: 2005126603/14, 22.08.2005
(24) Дата начала отсчета срока действия патента:
22.08.2005
(43) Дата публикации заявки: 27.02.2007
(46) Опубликовано: 27.09.2007
(56) Список документов, цитированных в отчете о поиске:
SU 227517 А, 03.02.1969. SU 1153898 А, 07.05.1985. SU 76729 A, 31.12.1949. US 4724838 А, 16.02.1988. КАТАЛОГ ФИРМЫ V.MUELLER. THE SURGICAL ARMAMENTARIUM FOR OPHTALMOLOGY, 1974, p.26, OP-3421.
Адрес для переписки:
440060, г.Пенза, Стасова, 8а, Пензенский институт усовершенствования врачей, кафедра оториноларингологии, С.С. Лиманскому
|
(72) Автор(ы):
Лиманский Станислав Степанович (RU), Кондрашова Ольга Викторовна (RU)
(73) Патентообладатель(и):
Лиманский Станислав Степанович (RU), Кондрашова Ольга Викторовна (RU)
|
(54) ПИНЦЕТ ДЛЯ ОПРЕДЕЛЕНИЯ ПРОЕКЦИИ СЛЕЗНОГО МЕШКА
(57) Реферат:
Изобретение относится к медицинской технике и может быть использовано при выполнении операции по поводу воспаления слезного мешка и нарушения слезооттока. Пинцет содержит две изогнутые по ребру бранши с рабочими концами и с основанием. Бранши вблизи основания соединены между собой регулировочным винтом и дополнительно изогнуты по плоскости. Бранши имеют параллельные рабочие концы. Рабочие концы снабжены на периферии полусферическими напайками. Напайки выполнены для погружения в слезную ямку и для расположения напротив слезной ямки. В результате создан инструмент, который облегчает определение проекции слезного мешка со стороны полости носа перед его вскрытием. 1 з.п. ф-лы, 2 ил.
Операция по поводу воспаления слезного мешка и нарушения слезооттока все более осваивается ринологами, которые выполняют ее внутриносовым подходом [1, 2, 3, 4].
При определении топографии слезного мешка со стороны полости носа имеются определенные трудности, о чем имеются сообщения [2.4]. Авторы этих сообщений прибегают для этого к контрастированию слезных путей, зондированию их, к рентгенографии и компьютерной томографии и даже к просвечиванию слезного мешка с помощью световода.
Цель данного изобретения – создание инструмента, облегчающего определение проекции слезного мешка со стороны полости носа перед его вскрытием.
Прототипом предлагаемого инструмента является известный из SU 227517 А, 03.02.1969.
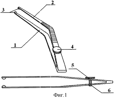
Предлагаемый нами пинцет (фиг.1) состоит из бранш 1 и 2, на рабочих концах которых со стороны внутренних поверхностей имеются полусферические напайки 3 обращенные друг к другу. Обе бранши в рабочих отделах расположены параллельно друг к другу, а в периферических отделах одна бранша имеет свободое отверстие 5, а другая – отверстие с резьбой 6. Через свободное отверстие 5 в отверстие с резьбой 6 введен регулировочный винт, позволяющий менять положение бранш относительно друг друга.
Применение инструмента показано на фиг.2. В раскрытом состоянии пинцета внутренняя бранша пинцета вводится в полость носа, наружная бранша 2 продвигается к слезной ямке 3, находящейся во внутренне-нижней периферии орбиты 4 и полусферическая напайка (3 на фиг.1) наружной бранши 2 помещается в слезную ямку и плотно удерживается в ней. После этого регулировочным винтом (4 на фиг.1) бранши сжимаются между собой. При этом полусферическая напайка наружной бранши 2 будет погружена через кожу в слезную ямку 3, а полусферическая напайка на внутренней бранше 1 окажется строго напротив слезной ямки, а следовательно, напротив слезного мешка, который в ней помещается. Причем в сжатом состоянии бранш 1 и 2 пинцет будет фиксирован в заданном положении, так как полусферическая напайка наружной бранши 2, находясь в углублении слезной ямки, не сможет сместиться, пока не будет ослаблен регулировочный винт (4 на фиг.1). После того как определено место расположения слезного мешка, производится маркировка этого участка, пинцет удаляется и приступают к этапам операции. Во время операции пинцет может вводиться вновь (в частности перед удалением кости над слезным мешком).
Литература
1. Козлов B.C. Бобров Д.А., Слезкина И.Г. Микроэндоскопическая эндоназальая дакриориноцистостомия. Рос. ринология, 1998, №2, с.63.
2. Лонский В.В. Опыт применения эндоскопической хирургии при хроничских дакриоциститах. Рос. ринология, 2002, №2, с.37.
3. Максимов В.Ю., Леонов А.В.. Новиков С.Е. Применение микроринохирургии при хронических дакриоциститах. Рос. рин., 1998, 2.63-64.
4. Пискунов С.З., Завьялов Ф.Н. Эндоскопическая эндоназальная дакриоцисториностомия. РР, 2002, 2, 36-37.
5. Патент SU 227517 A, 03.02.1969.
Формула изобретения
1. Пинцет, содержащий две изогнутые по ребру бранши с рабочими концами и с основанием, отличающийся тем, что бранши вблизи основания соединены между собой регулировочным винтом и дополнительно изогнуты по плоскости, при этом бранши имеют параллельные рабочие концы, которые снабжены на периферии полусферческими напайками, выполненными для погружения в слезную ямку и для расположения напротив слезной ямки.
2. Пинцет по п.1, отличающийся тем, что регулировочный винт установлен в отверстии, расположенном в одной бранше, и выполнен с возможностью введения в отверстие с резьбой, размещенное на другой бранше.
РИСУНКИ
|
|