|
|
(21), (22) Заявка: 2003136639/14, 19.12.2003
(24) Дата начала отсчета срока действия патента:
19.12.2003
(43) Дата публикации заявки: 20.05.2005
(46) Опубликовано: 27.09.2007
(56) Список документов, цитированных в отчете о поиске:
RU 20831886 C1, 10.07.1997. RU 2119307 C1, 27.09.1998. SU 827058 A1, 07.05.1981. SU 457240 A1, 30.07.1979. US 2002/0095215 A1, 18.07.2002. FR 2825263 A1, 06.12.2002. JP 2000197651 A, 18.07.2001.
Адрес для переписки:
129626, Москва, ул. Староалексеевская, 25, для ООО “Эндосервис”
|
(72) Автор(ы):
Горохов Всеволод Юрьевич (RU), Шатерников Борис Николаевич (RU)
(73) Патентообладатель(и):
Общество с ограниченной ответственностью “Эндосервис” (RU)
|
(54) ЭНДОПРОТЕЗ ПЛЕЧЕВОГО СУСТАВА
(57) Реферат:
Изобретение относится к медицине, в частности к травматологии и ортопедии. Изобретение обеспечивает фиксацию плечевой ножки в кости с предотвращением ее ротации выемками на ножке при возможности заклинивания конической поверхностью. Плечевая ножка и головка для эндопротезирования плечевого сустава, выполненные: плечевая ножка – с дистальной частью в виде стержня и проксимальной частью, имеющей воротничок с шейкой и ребра с отверстиями, а головка – с посадочным отверстием под ножку. Дистальная часть стержня выполнена конической, переходящей в цилиндр. Длина конической части выполнена не менее 4/7 полной длины ножки. Вентральная и дорсальная стороны стержня выполнены с выемками для антиротации, имеющими длину не менее длины конической части. Длина ребер выполнена одинаковой, а посадочное отверстие под ножку выполнено в головке с эксцентриситетом. 4 ил.
Изобретение относится к медицине, в частности травматологии и ортопедии, и может быть использовано для оперативного лечения плечевого сустава при различного рода повреждениях преимущественно травматического характера и заболеваниях.
Известен плечевой компонент эндопротеза плечевого сустава (Патент США №4 619 670 кл. 623-19, МПК А61F 2/40). Согласно патенту ножка плечевого сустава в дистальной части выполнена цилиндрической, в проксимальной части дугообразно изогнута с медиальной стороны, снабжена воротничком и шейкой с головкой, а с латеральной стороны имеет выступающее ребро с отверстиями.
Недостатком данной конструкции является цилиндрическая форма ножки, приводящая к ротационному и поршневому эффекту.
Известен плечевой компонент эндопротеза плечевого сустава (Патент США №4 865 605 кл. 623-19, МПК А61F 2/40). Согласно патенту ножка плечевого сустава в дистальной части выполнена конической, в проксимальной части дугообразно изогнута с медиальной стороны и снабжена воротничком, а с латеральной стороны снабжена выступающим ребром с отверстиями, головка снабжена шейкой, а ножка – соответствующим отверстием для ее установки.
Недостатки этой конструкции практически такие же, как и в предыдущем варианте.
Наиболее близким по технической сущности и достигаемому результату является эндопротез плечевого сустава (Патент RU №2083186, МПК А61F 2/40 1997 г.). Согласно патенту ножка представляет собой оребренный цилиндр с воротничком в верхней части, снабженный шейкой для стыковки с головкой. Одно из ребер плечевой части имеет два отверстия для подсоединения внешних ротаторов плеча.
Недостатком этого эндопротеза является цилиндрическая форма ножки, которая при введении ее в интрамедуллярный канал при наличии в нем костного цемента не обеспечивает его прессурации и формирования полноценной цементной мантии, что снижает надежность ее крепления.
Технический результат изобретения заключается в повышении надежности первичной фиксации ножки, надежности ее крепления в плечевой кости и увеличении срока эксплуатации эндопротеза.
Для достижения указанного технического результата в эндопротезе плечевого сустава плечевая ножка и головка для эндопротезирования плечевого сустава выполнены: плечевая ножка – с дистальной частью в виде стержня и проксимальной частью, имеющей воротничок с шейкой и ребра с отверстиями, а головка – с посадочным отверстием под ножку, дистальная часть стержня выполнена конической, переходящей в цилиндр, причем длина конической части не менее 4/7 полной длины ножки, вентральная и дорсальная стороны стержня выполнены с выемками для антиротации, имеющими длину не менее длины конической части, длина ребер одинакова, а посадочное отверстие под ножку выполнено в головке с эксцентриситетом.
Отличительный признак – длина конической части не менее 4/7 полной длины ножки – связан с анатомическими особенностями строения плечевой кости (в районе головки плечевой кости она имеет воронкообразную форму) и обеспечивает оптимальное заклинивание ножки в костномозговом канале. Наличие длины выемок не менее длины конической части обеспечивает максимально возможную антиротационную стабильность ножки на всем протяжении зоны заклинивания. Как правило, эндопротезирование плечевого сустава производится при многооскольчатых переломах головки плечевой кости, при этом наличие отверстий с латеральной стороны ребер позволяет осуществлять серкляж фрагментов костных обломков вокруг ребер ножки и содействует сохранению костной ткани и скорейшей реабилитации пациента. Выполнение посадочного отверстие в головке с эксцентриситетом позволяет регулировать смещение плечевой кости относительно лопатки», что также повышает надежность функционирования эндопротеза.
Изобретение поясняется чертежами.
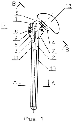
На фиг.1 изображена фронтальная проекция эндопротеза плечевого сустава, на фиг.2 сечение А-А на фиг.1, на фиг.3 вид Б на фиг.1, на фиг.4 сечение В-В на фиг.1.
Эндопротез плечевого сустава (фиг.1) представляет собой ножку 1, дистальная часть 2, которой выполнена в виде стержня. Проксимальная часть 3 плечевой ножки 1 имеет воротничок 4 с шейкой 5 и снабжена ребрами 6, 7 и 8. Во всех ребрах выполнены отверстия 9 для подсоединения ротаторов плеча. Дистальная часть ножки 2 выполнена в виде усеченного конуса 10 переходящего в цилиндр 11. Длина конической части составляет не менее 4/7 полной длины ножки. С вентральной и дорсальной сторон ножки выполнены выемки 12 (фиг.2) для увеличения антиротационной устойчивости. На шейку 5 устанавливается головка 13, причем посадочное отверстие 14 эксцентрично относительно наружной поверхности 15 (фиг.4).
Эндопротез плечевого сустава устанавливается следующим образом.
Производят дельтовидно-грудной разрез от верхушки клювовидного отростка вдоль передней границы дельтовидной мышцы до места ее прикрепления к диафизу плечевой кости. При необходимости разрез продлевают до ключицы. Отодвигают латеральный кожный лоскут и иссекают фасцию поверх латеральной подкожной вены. Выполняют вертикальный разрез подкрыльцовой фасции. Сухожилие клювоплечевой мышцы отодвигают медиально. Для идентификации малого и большого бугорков используют длинное сухожилие бицепса. Идентифицируют и иссекают фрагменты головки плечевой кости и прикрепленные фрагменты ротационной манжеты. Обнажают диафизарную часть плечевой кости и интрамедуллярной разверткой формируют канал для ножки. В костномозговой канал вводят костный цемент и плечевую ножка 1 соответствующего размера, ориентируя ее соответствующим образом. Для фиксации бугорков используют нерассасывающийся шовный материал, пропуская его через отверстия 9 в ребрах. Далее на шейку ножки 5 устанавливается соответствующая головка 13, обеспечивающая достаточное натяжение мышц и функционирование сустава, производится вправление вывиха. Вводится дренаж и рана зашивается.
Формула изобретения
Плечевая ножка и головка для эндопротезирования плечевого сустава, выполненные: плечевая ножка – с дистальной частью в виде стержня и проксимальной частью, имеющей воротничок с шейкой и ребра с отверстиями, а головка с посадочным отверстием под ножку, отличающиеся тем, что дистальная часть стержня выполнена конической переходящей в цилиндр, причем длина конической части не менее 4/7 полной длины ножки, вентральная и дорсальная стороны стержня выполнены с выемками для антиротации, имеющими длину не менее длины конической части, длина ребер одинакова, а посадочное отверстие под ножку выполнено в головке с эксцентриситетом.
РИСУНКИ
|
|