|
|
(21), (22) Заявка: 2005115335/14, 20.05.2005
(24) Дата начала отсчета срока действия патента:
20.05.2005
(43) Дата публикации заявки: 20.11.2006
(46) Опубликовано: 27.09.2007
(56) Список документов, цитированных в отчете о поиске:
US 6344042 B1, 05.02.2002. SU 1225556 A, 23.04.1998. SU 1806666 A1, 07.04.1993. US 2004/0097937 A1, 20.05.2004. WO 2004/096067 A, 11.11.2004. АНКИН Л.Н. и др. Травматология. – М.: МЕДпресс-информ, 2005, с.76-91.
Адрес для переписки:
127299, Москва, 2-й Новоподмосковный пер., 3, кв.89, Б.М. Клименко
|
(72) Автор(ы):
Кавалерский Геннадий Михайлович (RU), Зорохович Олег Леонидович (RU), Калинский Борис Маркович (RU), Новиков Юрий Владимирович (RU), Орлюк Мария Анатольевна (RU)
(73) Патентообладатель(и):
Кавалерский Геннадий Михайлович (RU), Зорохович Олег Леонидович (RU), Калинский Борис Маркович (RU), Новиков Юрий Владимирович (RU), Орлюк Мария Анатольевна (RU)
|
(54) УСТРОЙСТВО ДЛЯ НАКОСТНОГО ОСТЕОСИНТЕЗА
(57) Реферат:
Изобретение относится к медицине, а именно к травматологии и ортопедии, и может быть применено при лечении переломов длинных трубчатых костей. Устройство содержит шурупы и пластину с отверстиями под шурупы. Края отверстий под шурупы, прилегающие к кости, выполнены с закруглениями радиуса R=0,05…0,25 диаметра шурупа. 3 ил.
Изобретение относится к медицине, а именно к травматологии и ортопедии, и может использоваться при лечении переломов длинных трубчатых костей (особенно нижних конечностей).
Известна и широко применяется в практике лечения диафизарных переломов диафизарная накладка классического типа (см., например, Ткаченко С.С. Остеосинтез. – Л.: Медицина, 1987 г., с.36), представляющая собой плоскую продолговатую пластину с отверстиями, устанавливаемую своей средней частью в месте перелома и прикрепляемую шурупами к проксимальному и дистальному отломкам. Эта пластина принята за ближайший аналог.
Для избежания так называемых болезней перелома (контрактуры суставов, атрофия мышц и т.п.) в настоящее время применяется возможно более ранняя активизация больных – одно из основных средств резкого уменьшения неблагоприятных исходов лечения. Однако ранняя активизация предъявляет высокие требования к прочности и надежности конструкций имплантатов, так как исследования показали, например, что при ходьбе кратковременные нагрузки на имплантат, несущий в начале реабилитации основную нагрузку, могут на порядок превосходить вес больного (п/ред. Образцова И.Ф. Проблемы прочности в биомеханике. – М.: Высшая школа 1988 г., стр.100).
В этих условиях сравнительно часто наблюдаются случаи разрушения имплантатов. В числе таких случаев отмечается срезание головок шурупов в месте контакта пластины с костью.
Задачей изобретения является создание пластины для накостного остеосинтеза, лишенной недостатков пластины, принятой за ближайший аналог.
Решение достигается созданием галтели определенного радиуса в отверстиях пластины в месте выхода их в сторону кости. Передача усилий с отломка на имплантат происходит следующим образом. Кость сначала передает усилие на шуруп. Так как модуль упругости кости существенно ниже, чем у металла, контактные напряжения за счет этого выравниваются (с высоконагруженных участков кость передает на менее нагруженные и пиков напряжения не возникает). Совсем другая картина наблюдается там, где шуруп передает воспринятые усилия на пластину. Здесь имеется равенство модулей упругости, и они очень высоки (у хирургической стали 2.106 Кгс/см2). В свою очередь, это приводит к тому, что даже при очень высоких нагрузках площадь контакта с краем отверстия остается практически точечной. В этом месте возникает пик напряжения. Эту картину дополнительно усиливает очень малый, но ненулевой поворот шурупа в кости под нагрузкой (за счет меньшего модуля упругости кости). Шуруп попадает в условия, которые возникают, например, при резке металла на гильотинных ножницах, которыми легко удается разрезать пластины даже из 10-миллиметровой стали, при этом края пластины практически не сминаются – напряжения локализуются в зоне непосредственно места реза. С другой стороны, все знают, как трудно разрезать даже тонкую жесть тупыми ножницами. Здесь напряжения распределяются на большую площадь, и пик напряжения отсутствует.
В нашем случае делу может помочь галтель (закругление) определенного радиуса на внутренних (к кости) краях отверстия. Этот радиус должен лежать в достаточно узких пределах, так как существенно увеличивать его нельзя – место контакта будет лежать в глубине пластины, что приведет к появлению дополнительной нагрузки – к срезывающему усилию добавятся напряжения от изгибающего момента. Поэтому радиус закругления галтели должен быть минимальным, но в то же время достаточным для существенного снижения пиковых нагрузок. Наши расчеты показывают, что он зависит от диаметра используемых шурупов и должен лежать в пределах от 0,05 до 0,25 диаметра шурупа. Эпюры напряжений, возникающих в шурупах в первом и втором (при наличии галтели) случаях, показаны на фиг.1 и фиг.2. Для пластины описанные усилия не страшны, так как распределяются на большую площадь.
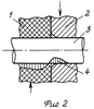
На фиг.1 и фиг.2
1 – прилегающий к пластине 2 кортикальный слой кости, пластину с кистью соединяет шуруп 3, на нижней образующей которого построена эпюра 4 срезающих сил, обозначенных стрелками.
Техническим результатом от применения предложенного решения задачи является повышение надежности остеосинтеза в условиях ранней функциональной нагрузки.
Устройство содержит пластину с отверстиями под шурупы. Края отверстий со стороны пластины, прилегающей к кости, имеют галтели (закругления) с радиусом, лежащим в пределах 0,05…0,25 диаметра шурупа.
На фиг.3 представлена конструкция устройства. Устройство представляет собой пластину 1, прикрепленную шурупами 2 к кости 3 (показан верхний кортикальный слой). Буквой R обозначен радиус закругления отверстия.
Применяют пластину обычным образом.
Рассекают мягкие ткани над областью перелома и проводят репозицию отломков. Накладывают на место перелома пластину средней частью, просверливают кортикальные слои. В отверстия вводят все шурупы, затем рану послойно ушивают.
После консолидации перелома пластину и шурупы удаляют.
Таким образом, применение галтелей позволяет избежать пиковых нагрузок и предотвратить разрушение шурупов.
Формула изобретения
Устройство для накостного остеосинтеза, содержащее пластину с отверстиями под шурупы и шурупы, отличающееся тем, что края отверстий под шурупы, прилегающие к кости, выполнены с закруглениями радиуса R=0,05-0,25 диаметра шурупа.
РИСУНКИ
MM4A – Досрочное прекращение действия патента СССР или патента Российской Федерации на изобретение из-за неуплаты в установленный срок пошлины за поддержание патента в силе
Дата прекращения действия патента: 21.05.2008
Извещение опубликовано: 20.06.2010 БИ: 17/2010
|
|