|
|
(21), (22) Заявка: 2005129215/14, 19.09.2005
(24) Дата начала отсчета срока действия патента:
19.09.2005
(43) Дата публикации заявки: 27.03.2007
(46) Опубликовано: 27.09.2007
(56) Список документов, цитированных в отчете о поиске:
RU 2171643 C1, 10.08.2001. US 2005228502, 13.10.2005. МОВШОВИЧ И.А. Оперативная ортопедия. – М.: Медицина, 1994, с.243, 251. BADER R. Differences between the wear couples metal-on-polyethylene and ceramic-on-ceramic in the stability against dislocation of total hip replacement. J Mater Sci Mater Med. 2004 Jun; 15(6):711-8 (Abstract).
Адрес для переписки:
690001, г.Владивосток, ул. Пушкинская, 37, ДВГТУ, патентный отдел, М.И. Звонареву
|
(72) Автор(ы):
Кузьмин Игорь Иванович (RU), Кузьмин Олег Иванович (RU)
(73) Патентообладатель(и):
Кузьмин Игорь Иванович (RU), Кузьмин Олег Иванович (RU)
|
(54) СПОСОБ ПРОФИЛАКТИКИ ВЫВИХА ТАЗОБЕДРЕННОГО СУСТАВА
(57) Реферат:
Изобретение относится к ортопедии и травматологии и может быть применимо для профилактики вывиха эндопротеза тазобедренного сустава. Выполняют проксимальную опорную базу аппарата внешней фиксации в виде жесткой повязки, которую фиксируют на теле без нарушения кожного покрова как жесткий корсет. Фиксируют дистальную опорную базу чрескостно. После установки эндопротеза на опорных базах фиксируют концы дистракционных стержней. Создают механическую нагрузку вдоль нижней конечности с восстановлением ее нормальной длины. Оставляют внешние несущие элементы на своих местах до формирования рубцовой псевдокапсулы вокруг эндопротеза, установленного во время операции. Способ позволяет уменьшить травматичность, увеличить операционное поле при операции на конечности, обеспечить надежность фиксации. 1 з.п. ф-лы, 4 ил.
Изобретение относится к области медицины, в частности к эндопротезированию тазобедренного сустава, и может быть использовано для профилактики вывиха эндопротеза в послеоперационный период.
Известен способ профилактики вывиха эндопротеза тазобедренного сустава, включающий проведение мероприятий по усилению связей опорных элементов эндопротеза со скелетом, для чего операцию проводят в два этапа, при этом на первом этапе в вертлужную впадину имплантируют укрепляющее кольцо, а установку эндопротеза производят через интервал, достаточный для плотной фиксации кольца регенерирующей костной тканью (см. пат. РФ №2204350, А61В 17/56, 2003).
Однако данный способ отличается повышенной продолжительностью и требует ограничений подвижности пациента на длительный период.
Известен способ профилактики вывиха эндопротеза тазобедренного сустава, включающий внутреннее усиление закрепления эндопротеза за счет использования эндопротеза, головке которого придана особая форма, обеспечивающая разницу значений в углах не только приведения, но и разницу значений в углах ротации во время и после операции (см. а.с. СССР №1071299, А61F 1/00, 1984).
Однако данный способ не исключает возможности вывиха, особенно в ранний период после операции, что требует ограничения подвижности пациента в этот период.
Наиболее близким по своей технической сущности к заявляемому является способ профилактики вывиха тазобедренного сустава, включающий его разгрузку в аппарате внешней фиксации, содержащем дистракционные стержни, фиксируемые в проксимальной и дистальной опорных базах (см. патент РФ №2076649, А61В 17/56, 1998).
Известный способ предусматривает использование чрескостных элементов для закрепления аппарата внешней фиксации и потому сопровождается высокой повреждаемостью мягких тканей, при этом чрескостные элементы проксимальной базы размещаются фактически в зоне оперативного вмешательства (в области тазобедренного сустава), что не исключает прорезывание и инфицирование мягких тканей вблизи установленного эндопротеза тазобедренного сустава, а также сужает оперативное поле и осложняет манипуляции с конечностью, кроме того, в случае выполнения работ по закреплению аппарата внешней фиксации после операции эндопротезирования надежность фиксации проксимальной опорной базы вообще может быть сомнительна, особенно при необходимости резекции тканей на большой площади.
Задача, на решение которой направлено заявленное решение, заключается в снижении повреждаемости мягких тканей в области тазобедренного сустава при исключении возможности вывиха тазобедренного сустава.
Технический результат, достигаемый при решении поставленной задачи, выражается в исключении прорезывания и инфицирования мягких тканей при установке аппарата внешней фиксации, что особенно существенно при малых объемах неповреждаемой мышечной ткани (когда операционное поле должно быть большим), кроме того, операционное поле не загромождено чрескостными элементами, создается возможность за счет предоперационной фиксации опорных баз сократить продолжительность операции эндопротезирования и упростить работу по удалению аппарата внешней фиксации. При этом объем повреждения мягких тканей определяется только задачами и тактикой оперативного вмешательства.
Поставленная задача решается тем, что способ профилактики вывиха тазобедренного сустава, включающий его разгрузку в аппарате внешней фиксации, содержащем дистракционные стержни, фиксируемые в проксимальной и дистальной опорных базах, отличается тем, что проксимальную и дистальную опорные базы формируют выше и ниже сустава, вне операционной зоны, необходимой для эндопротезирования, при этом проксимальную опорную базу выполняют в виде жесткой повязки, которую фиксируют на теле без нарушения кожного покрова как жесткий корсет, причем после установки эндопротеза на опорных базах фиксируют концы дистракционных стержней, после чего посредством их создают механическую нагрузку вдоль нижней конечности с восстановлением ее нормальной длины, при этом внешние несущие элементы оставляют на своих местах до формирования рубцовой псевдокапсулы вокруг эндопротеза, установленного во время операции. Кроме того, опорные базы формируют до начала операции эндопротезирования.
Сопоставительный анализ признаков заявленного решения с признаками прототипа и аналогов свидетельствует о соответствии заявленного решения критерию “новизна”.
Признаки отличительной части формулы изобретения обеспечивают решение комплекса функциональных задач:
Признаки «проксимальную и дистальную опорные базы формируют выше и ниже сустава, вне операционной зоны, необходимой для эндопротезирования» освобождают оперативную зону – зону тазобедренного сустава, от инородных элементов, исключают травмирование мышечной ткани в оперативной зоне элементами крепления опорной базы.
Признаки «проксимальную опорную базу выполняют в виде жесткой повязки, которую фиксируют на теле без нарушения кожного покрова, как жесткий корсет» обеспечивают возможность ее использования в качестве силового каркасного элемента, воспринимающего нагрузку при формировании механического усилия между опорными базами. Кроме того, снижается травматичность процесса фиксации проксимальной опорной базы и вероятность инфицирования организма через раны, имеющие место при использовании чрескостных элементов.
Признаки «после установки эндопротеза на опорных базах фиксируют концы дистракционных стержней, после чего посредством их создают механическую нагрузку вдоль нижней конечности с восстановлением ее нормальной длины» исключают загромождение операционной зоны дистракционными стержнями во время операции эндопротезирования и позволяют снять последствия ретракционного сокращения мышц при проведении операции или имевшие место до ее начала.
Признаки «внешние несущие элементы оставляют на своих местах до формирования рубцовой псевдокапсулы вокруг эндопротеза, установленного во время операции» обеспечивают разгрузку сустава от веса тела и предохраняют его от вывиха в послеоперационный период.
Признаки второго пункта формулы изобретения позволяют сократить общую продолжительность операции эндопротезирования за счет дооперационного выполнения опорных баз.
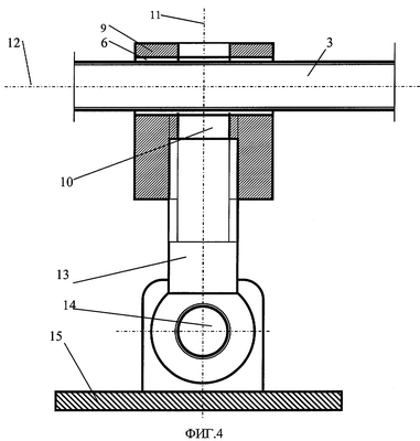
На фиг.1 показана схема реализации способа (вариант, когда проксимальная опорная база – корсет, а дистальная опорная база зафиксирована в большеберцовой кости); на фиг.2 – то же (вариант, когда проксимальная опорная база – гипсовая повязка, а дистальная опорная база зафиксирована в бедренной кости); на фиг.3 показан вид А-А; на фиг.4 показан опорный элемент.
На чертежах показаны проксимальная опорная база 1, лямки 2 (средства фиксации корсета на теле), дистракционные стержни 3, снабженные гайками 4, опорные элементы 5 с отверстиями 6, через которые пропущены концы дистракционных стержней 3, дистальная опорная база 7 и чрескостно устанавливаемые элементы 8.
В зависимости от конкретных условий проксимальная опорная база 1 может быть выполнена как жесткая повязка, в виде корсета (разового – гипсомарлиевого, формируемого по известной схеме или, многоразового – сформированного из термопластичного пластика, включающего спинную и нагрудную часть, соединяемые по стыкуемым кромкам лямками, ремнями или «липучками»). Во втором случае стенки корсета могут иметь отверстия, что снижает дискомфорт пациента. Кроме того, ширина жесткой повязки может варьировать по периметру – от максимума – со стороны оперируемого бедра до минимума – с противоположного бока.
Лямки 2, пропускаемые в районе промежности, позволяют уменьшить нагрузку на грудную клетку и подмышечную зону, особенно при высокой полноте пациента.
Каждый опорный элемент 5 выполнен в виде втулки 9, в стенке которой выполнено снабженное резьбой отверстие 10, ось 11 которого перпендикулярна оси 12 отверстия 6. В этом отверстии зафиксирован конец стержня 13, снабженный резьбой, при этом второй конец стержня посредством шарнира 14 связан с опорной пластиной 15. Число опорных элементов определяется конкретными условиями операции.
Дистракционные стержни 3 и гайки 4 конструктивно не отличаются от известных, кроме длины и поперечных размеров, которые увеличены. На каждом конце дистракционного стержня 3 устанавливают по две гайки 4, которые располагают по обе стороны втулок 9.
Дистальная опорная база 7 предпочтительно выполнена в виде рамы, размеры внутренней полости которой позволяют с зазором (по отношению к поверхности тела), размещать ее в области коленного сустава. Дистальная опорная база 7 также может быть выполнена в виде планки, в том числе дугообразной в плане.
Опорные элементы 5 зафиксированы своими опорными пластинами 15 на проксимальной и дистальной опорной базе 7 так, чтобы продольные оси 12 их отверстий 6 могли быть сориентированы вертикально. На проксимальной опорной базе опорные элементы 5 располагают со стороны оперируемого бедра.
Чрескостно устанавливаемые элементы 8 конструктивно не отличаются от известных ни материалом, ни длиной, ни поперечными размерами, при этом, в зависимости от конкретных условий, это могут быть спицы или стержни.
Заявленный способ осуществляется в следующем порядке.
Непосредственно сама операция эндопротезирования выполняется известным образом, с соблюдением известных правил и ограничений. Целесообразно до начала такой операции сформировать опорные базы, что позволит сразу по завершении операции (после выполнения всех необходимых манипуляций с конечностью), выполнить операции и приемы заявленного способа.
Таким образом, формируют проксимальную опорную базу 1 (если будет использован разовый гипсомарлевый корсет, то его формируют по известной схеме, отличающейся только установкой и «замоноличиванием» в теле корсета опорной пластины 15, при этом целесообразно скрепить отдельные пластины гибкой металлической полосой и «замоноличивать» эту «сборку», что упрощает процедуру и повышает надежность фиксации опорных элементов 5). Проксимальную опорную базу 1 снабжают лямками 2. Далее известным образом чрескостно фиксируют в дистальной зоне бедренной кости или в проксимальной зоне большеберцовой кости дистальную опорную базу 7 с уже зафиксированными на ней опорными элементами 5 (после обработки нижней конечности раствором антисептика).
Затем фиксируют расстояние между опорными базами 1 и 7. Далее осуществляют запланированное хирургическое вмешательство в области тазобедренного сустава, которая не загромождена чрескостными элементами и не имеет дополнительных повреждений, и выполняют эндопротезирование тазобедренного сустава. По завершении операции эндопротезирования тазобедренного сустава устанавливают дистракционные стержни 3 с гайками 4. При этом шарнирность (по двум осям) соединения втулок с опорными пластинами 15 (вокруг оси 11 и оси шарнира 14) обеспечивает прямолинейность осей дистракционных стержней в процессе работы.
Затем вновь фиксируют расстояние между опорными базами 1 и 7 и, при его отличии от исходного, перемещают гайки 4 по дистракционным стержням 3 так, чтобы восстановить это расстояние (известно, что вывод головки бедра из сустава сопровождается стремлением мышц к сокращению, что и может вызвать укорачивание конечности).
При этом необходимо, чтобы дистракционные стержни 3 жестко зафиксировали это расстояние (не могли свободно перемещаться возвратно-поступательно).
С целью профилактики вывиха эндопротеза в послеоперационный период дистракционные стержни (или их часть) оставляют на месте до формирования рубцовой псевдокапсулы вокруг эндопротеза, установленного во время операции. При необходимости корректируют дистракционными стержнями длину конечности.
По завершении курса лечения опорные базы 1 и 7 демонтируют известным образом, при этом проксимальная опорная база, выполненная в виде пластикового корсета, после соответствующей стерилизации может быть использована повторно.
Формула изобретения
1. Способ профилактики вывиха эндопротеза тазобедренного сустава, включающий разгрузку в аппарате внешней фиксации, содержащем дистракционные стержни, фиксируемые в проксимальной и дистальной опорных базах, при этом проксимальную и дистальную опорные базы формируют выше и ниже сустава, вне операционной зоны, необходимой для эндопротезирования, отличающийся тем, что проксимальную опорную базу выполняют в виде жесткой повязки, которую фиксируют на теле без нарушения кожного покрова как жесткий корсет, фиксируют дистальную опорную базу чрескостно, после установки эндопротеза на опорных базах фиксируют концы дистракционных стержней, после чего их посредством создают механическую нагрузку вдоль нижней конечности, с восстановлением ее нормальной длины, при этом внешние несущие элементы оставляют на своих местах до формирования рубцовой псевдокапсулы вокруг эндопротеза, установленного во время операции.
2. Способ по п.1, отличающийся тем, что опорные базы формируют до начала операции эндопротезирования.
РИСУНКИ
MM4A – Досрочное прекращение действия патента СССР или патента Российской Федерации на изобретение из-за неуплаты в установленный срок пошлины за поддержание патента в силе
Дата прекращения действия патента: 20.09.2007
Извещение опубликовано: 20.05.2009 БИ: 14/2009
|
|