|
|
(21), (22) Заявка: 2005126944/14, 25.08.2005
(24) Дата начала отсчета срока действия патента:
25.08.2005
(43) Дата публикации заявки: 27.02.2007
(46) Опубликовано: 27.09.2007
(56) Список документов, цитированных в отчете о поиске:
ПАЛЬЧУН В.Т. и др. Болезни уха, черепа и носа. Атлас. – М.: Медицина, 1991, с.188-189. SU 1284528 А1, 23.01.1987. SU 923536 А, 03.03.1982. ФЕДОРОВ И.В. Хирургические инструменты. Функции и назначение. – Казань: АКП «АДЕЛАИДА», 2001, с.91, рис.9-20(б).
Адрес для переписки:
440060, г.Пенза, Стасова, 8а, Пензенский институт усовершенствования врачей, Кафедра оториноларингологии, С.С. Лиманскому
|
(72) Автор(ы):
Лиманский Станислав Степанович (RU), Кондрашова Ольга Викторовна (RU)
(73) Патентообладатель(и):
Лиманский Станислав Степанович (RU), Кондрашова Ольга Викторовна (RU)
|
(54) УДЛИНЕННАЯ ТРАХЕОТОМИЧЕСКАЯ ТРУБКА
(57) Реферат:
Изобретение относится к оториноларингологии и пластической хирургии и может быть использовано при лечении стенозов гортани и трахеи. Трахеотомическая трубка имеет внешнюю часть с ушками для фиксации и внутритрахеальную часть. Внешняя часть трубки имеет воронкообразную форму. Внутритрахеальная часть трубки имеет на конце косой срез и выполнена с радиусом. Радиус постепенно увеличивается по направлению к срезу. Внутритрахеальная часть выполнена из мягкого термопластичного материала и ближе к внешней части изогнута под малым радиусом. В результате несложная по конструкции трубка может быть использована для длительного ношения. 3 ил.
Данное изобретение относится к области медицины, а именно к тому разделу отоларингологии или пластической хирургии, который касается лечения стенозов гортани и трахеи.
Стандартные трахеотомические трубки (Пальчун В.Т. и др., 1991, стр.188), применяемые при острых стенозах гортани, не могут успешно применяться при хронических стенозах гортани и трахеи по ряду причин.
Во-первых, стандартные трахеотомические трубки жесткие, в своем изгибе имеют один радиус, а их длина составляет часть окружности (как правило, четверть ее), что не дает возможности оптимально адаптироваться к рельефу трахеостомы и трахеи, и такие трубки сами могут являться причиной травмирования внутренней поверхности трахеи (см.рис.2А), во-вторых, их стандартная форма и длина не позволяют дойти до уровня стенозирования трахеи, который может находиться низко, в-третьих, конец трубки, вводимый в трахеостому и трахею, “срезан” под прямым углом, что не дает возможность вклиниваться в узкие места трахеостомы или трахеи (наружное отверстие трахеостомы, вход в трахею, стенотический участок в трахее). В-четвертых, плоскость внешней части и внутритрахеальная часть соединяются друг с другом под прямым углом. В таком случае внешняя часть трахеостомы формируется при ношении такой трубки в виде отверстия с крутыми краями. Поэтому после извлечения трубки при попытке вставить ее обратно возникают трудности, так как трахеостома всегда стремится сузиться.
Существуют гибкие трахеотомические трубки, армированные, а следовательно, сложные по конструкции (Пальчун В.Т. и др., 1991, стр.189). Однако данная трубка предназначена только для интубационного наркоза и не может быть использована для длительного ношения в связи с наличием надувной манжеты и большой длиной внешней части. К тому же, конец данной трубки также заканчивается под прямым углом, и сама трубка, имеющая определенную длину, не может, при необходимости, произвольно укорачиваться по длине.
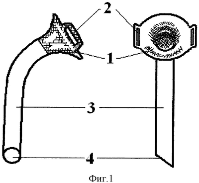
С целью преодоления указанных выше недостатков предлагается трахеотомическая трубка (фиг.1, 3), которая состоит из воронкообразной внешней части 1 и мягкой внутритрахеальной 3, выполненной из термопластического материала (силиконовой резины), изогнутой под малым радиусом ближе к внешней части 1 и постепенно увеличивающимся радиусом по направлению к концу трубки, к тому же имеющая косой срез 4 на конце трубки. Трубка изготавливается заведомо большей длины. Ее срез производится на том уровне, который диктуется уровнем стеноза трахеи.
Заявляемая удлиненная трахеотомическая трубка (фиг.1) состоит из воронкообразной внешней части 1 с ушками 2 и внутритрахеальной части 3, заканчивающейся срезом 4.
Подобные трубки незаменимы при низко расположенных хронических стенозах трахеи. При их применении требуется иметь две трубки, несколько отличающиеся по длине, и со срезами, направленными в разные стороны, что требуется для того, чтобы каждый раз при регулярной смене трубок изменялось бы место контакта конца трубки со слизистой оболочкой трахеи. Последнее необходимо во избежание травмирования слизистой оболочки трахеи, которое наиболее вероятно у конца трахеотомической (или интубационной) трубки. На фиг.2А такая конфликтная зона 5 находится в месте контакта стандартной трахеотомической трубки.
Удлиненная трахеотомическая трубка (фиг.3А) у пациентки с хроническим стенозом гортани и трахеи показана на фиг.3Б, а ее положение в трахее – на фиг.2Б, где конец трубки помещается ниже конфликтной зоны 5, где образовалось сужение трахеи вследствие травмирования ее стандартной трахеотомической трубкой (или интубационной трубкой). Такое положение удлиненной трахеотомической трубки способствует бужированию места сужения трахеи. Применение предлагаемой трубки – мера временная. Такая трубка выполняет роль бужа и воздуховода в период формирования стойкого просвета трахеи, после чего производится пластика (закрытие) трахеостомы.
Пациентка, изображенная на фотографии (фиг.3Б), в настоящее время также полностью реабилитирована. Применение же любых стандартных изготавливаемых промышленным способом трахеотомических трубок не позволило бы добиться реабилитации больной.
Литература
1. В.Т.Пальчун, B.C.Погосов, Н.Л.Вознесенский и др. (под редакцией В.Т.Пальчуна). Болезни уха, горла и носа. Атлас. М., Медицина, 1991, стр.188-189.
Формула изобретения
Трахеотомическая трубка, имеющая внешнюю часть с ушками для фиксации и внутритрахеальную часть, отличающаяся тем, что внешняя часть имеет воронкообразную форму, а внутритрахеальная часть имеет на конце косой срез и выполнена с радиусом, постепенно увеличивающимся по направлению к срезу, при этом внутритрахеальная часть выполнена из мягкого термопластичного материала и ближе к внешней части изогнута под малым радиусом.
РИСУНКИ
|
|