|
|
(21), (22) Заявка: 2005135943/14, 18.11.2005
(24) Дата начала отсчета срока действия патента:
18.11.2005
(46) Опубликовано: 27.09.2007
(56) Список документов, цитированных в отчете о поиске:
RU 93002977 A, 20.05.1995. ЕР 0045914 А1, 17.02.1982. RU 2190352 C1, 10.10.2002. RU 2265396 C1, 10.12.2005.
Адрес для переписки:
456318, Челябинская обл., г. Миасс, пр-кт Октября, 21, ЗАО “СОНДА Технолоджи”
|
(72) Автор(ы):
Гудков Владимир Юльевич (RU), Боков Анатолий Семенович (RU)
(73) Патентообладатель(и):
Закрытое акционерное общество “СОНДА Технолоджи” (RU)
|
(54) УСТРОЙСТВО ДЛЯ РЕГИСТРАЦИИ ПАПИЛЛЯРНОГО УЗОРА
(57) Реферат:
Изобретение относится к области оптического формирования дактилоскопического изображения с использованием вычислительной техники, используемого правоохранительными органами. Устройство содержит источник излучения, призму, имеющую входную, выходную и воспринимающую поверхности, систему фотоприемных элементов, электрически соединенную с блоком обработки изображения, и эластичный оптически прозрачный материал, образующий с призмой зазор, заполненный иммерсионной жидкостью. Может быть использована высокомолекулярная иммерсионная жидкость. Устройство позволяет получить изображение отпечатка пальца повышенного качества за счет повышения точности изобретения. 1 з.п. ф-лы, 1 ил.
Изобретение относится к области оптического формирования изображения с помощью вычислительной техники, в частности к устройствам для получения дактилокарт, используемых правоохранительными органами.
Известно устройство, содержащее воспринимающую отпечатки пальцев поверхность, оптически связанные между собой проекционную оптическую систему, источник света, систему фотоприемных элементов и отклоняющую оптическую систему, погруженную в иммерсионную жидкость, заполняющую кювету, в которой возможно перемещение отклоняющей оптической системы, синхронное с перемещением источника света и системы фотоприемных элементов, с которой электрически связан блок обработки изображения (патент РФ №2190352, МПК7 А61В 5/117, опубл. 2002).
Недостатком устройства является наличие подвижной механической части, которая затрудняет изготовление герметичной и долговечной кюветы.
Известно устройство, содержащее блок обработки изображения, соединенный электрически с системой фотоприемных элементов, оптически связанной с проекционной оптической системой, источником света и призмой с четырьмя гранями, причем воспринимающая отпечатки пальцев грань находится под острым углом к отражающей грани, входная и выходная грани образуют тупой угол, кроме того, входная грань расположена под углом 80-100 градусов к воспринимающей отпечатки пальцев грани (патент РФ №2185096, МПК7 А61В 5/117, опубл.2002).
Недостатком устройства является относительная сложность изготовления многогранной призмы со строго определенным расположением граней.
Известно устройство регистрации отпечатков пальцев, содержащее призму, одна из граней которой освещена под углом полного внутреннего отражения источником света, проекционную оптическую систему в виде телескопической системы, фотоприемник, выполненный в виде прямоугольной матрицы фотоэлементов, и блок обработки изображения (заявка РФ №93002977/14, МПК6 А61В 5/117). Данное устройство выбрано в качестве прототипа.
Недостатком прототипа является то, что воспринимающая отпечатки пальцев поверхность (гипотенузная грань призмы) является поверхностью жесткого материала (стекла). Такое устройство обладает рядом недостатков:
– при прокатке пальца по жесткой поверхности легко произвести передавливание папиллярных линий и тем самым исказить рисунок кожного узора;
– при съеме контактных отпечатков пальцев папиллярные линии считываются только в небольшой области контакта пальца и грани призмы, что уменьшает количество дактилоскопических признаков узора, необходимых для надежной идентификации личности;
– на краях контактной области кожи пальца и воспринимающей поверхности папиллярные линии эластично растягиваются и искажают обычный рисунок кожного узора.
Задачей, решаемой настоящим изобретением, является повышение качества зарегистрированного фотоприемником изображения. Достигается это тем, что
– над гранью призмы (гипотенузной), воспринимающей отпечатки пальцев, натягивается эластичный оптически прозрачный материал;
– зазор между эластичным оптически прозрачным материалом и призмой заполняется иммерсионной жидкостью, устанавливающей оптический контакт эластичного оптически прозрачного материала и призмы;
– эластичный оптически прозрачный материал освещается излучением под углом, близким к углу полного внутреннего отражения. Кроме того:
– применяется высокомолекулярная иммерсионная жидкость, предотвращающая нарушение оптического контакта при вытеснении иммерсионной жидкости из зазора между эластичным оптически прозрачным материалом и призмой.
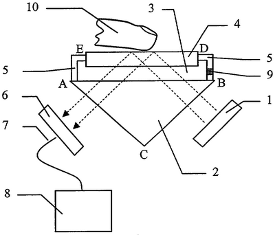
Сущность предлагаемого устройства схематично иллюстрируется чертежом, где представлен общий вид устройства.
Устройство для регистрации папиллярного узора содержит последовательно расположенные источник излучения 1, призму 2 (призма АВС), имеющую входную поверхность ВС, выходную поверхность АС и поверхность АВ, которая оптически контактирует с иммерсионной жидкостью 3 и эластичным оптически прозрачным материалом 4, герметично натянутым на отверстие кюветы 5, герметично установленной на призму 2, систему фотоприемных элементов 6, электрически соединенную кабелем 7 с блоком обработки изображения 8. К эластичному материалу 4, наружная поверхность которого является воспринимающей поверхностью ED, прикладывается палец 10. Другой эластичный материал 9 герметично прикрывает дополнительный паз кюветы 5. Излучение (показано пунктирными стрелками) от источника излучения 1 падает на воспринимающую поверхность ED под углом, близким к углу полного внутреннего отражения.
Устройство работает следующим образом.
Излучение от источника 1 входит в призму 2 через входную поверхность ВС под углом, обеспечивающим минимальные потери (обычно перпендикулярно), проникает через иммерсионную жидкость 3 к эластичному оптически прозрачному материалу 4 и отражается от его наружной поверхности ED, контактирующей с воздухом, после чего возвращается через иммерсионную жидкость 3 в призму 2 и выходит через выходную поверхность призмы АС под углом, обеспечивающим минимальные потери, попадая на систему фотоприемных элементов 6. Показатель преломления иммерсионной жидкости 3 близок к показателям преломления материала призмы 2 и эластичного оптически прозрачного материала 4. Поэтому отражение и преломление на поверхностях, контактирующих с иммерсионной жидкостью 3, пренебрежимо малы, и излучение без потерь доходит до воспринимающей поверхности ED и претерпевает на ней полное внутреннее отражение. В тех точках воспринимающей поверхности ED, которые имеют контакт с папиллярными линиями пальца 10, полное внутреннее отражение нарушается, так как излучение поглощается кожей, что приводит к возникновению в плоскости фотоприемных устройств светотеневой картины, копирующей папиллярные линии пальца 10. Электрический сигнал с системы фотоприемных элементов 6 через кабель 7 вводится в блок обработки изображений 8 (компьютер) для последующей обработки.
Под давлением пальца 10 поверхность ED эластичного оптически прозрачного материала 4 слегка прогибается, деформируется и слегка охватывает палец, а иммерсионная жидкость 3 из кюветы 5 вытесняется (частично) в дополнительный паз, герметично прикрытый другим эластичным материалом 9. При удалении пальца с поверхности ED эластичный оптически прозрачный материал 4 восстанавливается в прежнюю форму.
При сильном надавливании иммерсионная жидкость 3 может вытесниться из-под эластичного оптически прозрачного материала 4. Если эластичный оптически прозрачный материал 4 соприкоснется с поверхностью призмы 2, оптический контакт может быть нарушен. Воспрепятствовать этому явлению может высокомолекулярная иммерсионная жидкость, которая за счет большой длины молекул не выдавливается из-под эластичного оптически прозрачного материала 4 даже при сильном надавливании.
Степень эластичности оптически прозрачного материала 4 выбирается такой, чтобы перспективные искажения изображения узора пальца были допустимы. Величину перспективных искажений можно ограничить малой величиной зазора между эластичным оптически прозрачным материалом 4 и призмой 2.
В качестве эластичного оптически прозрачного материала 4 может быть использована прозрачная силиконовая резина толщиной 0,1-0,3 мм. В качестве другого эластичного материала 9 может быть использована обычная резина толщиной 0,1-0,2 мм. Величина зазора между эластичным материалом 4 и призмой 2 выбирается из условия отсутствия механического контакта между материалом 4 и призмой 2 при надавливании пальца. Как показали конструкторские проработки на опытном образце устройства, величина зазора должна составлять 14-18 мм, т.е. соответствовать диаметру дистальной фаланги среднестатистического пальца взрослого человека.
Отметим преимущества предлагаемого устройства по сравнению с прототипом.
Так как воспринимающая поверхность эластичная и гибкая, вероятность передавливания папиллярных линий значительно уменьшается и качество вводимого в компьютер изображения повышается. За счет той же эластичности воспринимающей поверхности папиллярные линии на краях контактной области пальца и поверхности ED деформируются меньше, что тоже способствует повышению качества изображения. Кроме того, за счет небольшого охвата поверхности пальца эластичным материалом увеличивается площадь контакта пальца с этим материалом, что позволяет увеличить количество дактилоскопических признаков, обрабатываемых в компьютере.
Таким образом, предложено сравнительно простое устройство, позволяющее получить высококачественные отпечатки пальцев, используемые в криминалистике, в системах предотвращения несанкционированного доступа в охраняемые помещения.
Предприятием-заявителем начинается разработка технической документации для создания опытного образца устройства со сроком внедрения в 2006 году. В качестве эластичного оптически прозрачного материала предлагается полиуретан или другие оптически прозрачные и эластичные синтетические полимеры.
Формула изобретения
1. Устройство для регистрации папиллярного узора, содержащее последовательно расположенные и оптически связанные между собой источник излучения, призму, имеющую входную, выходную и воспринимающую поверхности, и систему фотоприемных элементов, электрически соединенную с блоком обработки изображения, отличающееся тем, что над воспринимающей поверхностью призмы герметично установлена кювета с иммерсионной жидкостью с натянутым на ее отверстие эластичным оптически прозрачным материалом с возможностью его освещения источником излучения под углом, близким к углу полного внутреннего отражения.
2. Устройство по п.1, отличающееся тем, что в качестве иммерсионной жидкости используют высокомолекулярную иммерсионную жидкость.
РИСУНКИ
|
|