|
|
(21), (22) Заявка: 2004117537/12, 30.10.2002
(24) Дата начала отсчета срока действия патента:
30.10.2002
(30) Конвенционный приоритет:
09.11.2001 (пп.1-16) EP 01126726.7
(43) Дата публикации заявки: 10.03.2005
(46) Опубликовано: 27.09.2007
(56) Список документов, цитированных в отчете о поиске:
ЕР 1089240 А2, 04.04.2001. ЕР 1002490 A1, 24.05.2000. US 4934257 A, 19.06.1990. RU 2032371 C1, 10.04.1995.
(85) Дата перевода заявки PCT на национальную фазу:
09.06.2004
(86) Заявка PCT:
EP 02/12174 (30.10.2002)
(87) Публикация PCT:
WO 03/039309 (15.05.2003)
Адрес для переписки:
103735, Москва, ул. Ильинка, 5/2, ООО “Союзпатент”, пат.пов. Ю.В.Пинчуку, рег.№ 656
|
(72) Автор(ы):
ЦУРХЕР Ален (CH), ПИЙО Пьер (CH)
(73) Патентообладатель(и):
СОСЬЕТЕ ДЕ ПРОДЮИ НЕСТЛЕ С.А. (CH)
|
(54) УСТРОЙСТВО И СПОСОБ ОТБОРА И ОПОРОЖНЕНИЯ КАПСУЛЫ ДЛЯ ПРИГОТОВЛЕНИЯ НАПИТКА
(57) Реферат:
Настоящее изобретение касается устройства для приготовления напитков из капсулы, содержащей вещество, подлежащее вытяжке в вытяжной системе (7) приготовления напитков, а также способа отбора и обработки капсулы в таком устройстве. Конструкция данного устройства обеспечивает надежное и простое использование системы подачи и разлива жидкой вытяжки. Устройство содержит систему кассетной загрузки (2), содержащую капсулы, заказываемые в виде нескольких наборов (20-23), средство (4), выполненное с возможностью перемещения между системой кассетной загрузки (2) и вытяжной системой (7). Захватное средство (4) выполнено с возможностью вращения и перемещения и предназначено для захвата индивидуальной капсулы из одного набора и высвобождения этой капсулы в вытяжной системе (7). Захватное средство (4) выполнено с возможностью принимать, по меньшей мере, два положения, первое из которых является положением захвата, в котором капсула удерживается индивидуально и переносится захватным средством (4), а второе – положением высвобождения, в котором захватное средство (4) раздвигается для высвобождения капсулы из захватного средства в вытяжной системе (7), которая выполнена с возможностью закрытия с капсулой внутри него. 2 н. и 14 з.п. ф-лы, 15 ил.
Область техники, к которой относится изобретение
Настоящее изобретение относится к устройству для приготовления напитка из капсул, содержащих вещество, извлекаемое в вытяжной системе устройства. Настоящее изобретение касается, в частности, отбора и обработки капсулы в таком устройстве.
Уровень техники
Из предшествующего уровня техники известно приготовление напитков, таких как кофе, с использованием капсул, содержащих заранее определенную дозу жареного молотого кофе. Применение капсул позволяет облегчить операции приготовления напитка, обеспечивает чистоту приготовления без бросающейся в глаза гущи и идеально контролировать воспроизводимое дозирование и качество приготовленного продукта.
Обычно принцип процесса вытяжки из капсулы заключается в том, что (i) капсулу помещают в камеру, выдерживающую высокое давление, (ii) одну из сторон капсулы прокалывают, как правило, при помощи острия или лезвия(й), находящегося(ихся) в части устройства, содержащей впуск воды, обычно называемый «душем», (iii) определенное количество горячей воды подают в капсулу, создавая среду, находящуюся под давлением порядка нескольких бар, внутри элемента для получения жидкой вытяжки кофе, затем (iv) жидкую кофейную вытяжку выпускают через противоположную сторону капсулы, которая, соприкасаясь с выступающими частями, открывается под действием внутреннего давления, созданного в капсуле. Преимуществом такого принципа вытяжки из капсул является то, что он позволяет контролировать условия вытяжки (в частности, температуру, давление, время) благодаря тому, что капсулы являются исключительно откалиброванными как по содержимому, так и по упаковке.
В большинстве известных вытяжных устройств загрузку капсул осуществляют в вытяжной капсулодержатель вручную и индивидуально, который обычно является составной частью основания, откуда впоследствии вытекает жидкая вытяжка. Капсулодержатель может быть выполнен в различных видах, как правило, его выполняют в виде ложки с байонетным замком типа ложек, применяемых в традиционных экспресс-машинах, или в виде подвижных зажимов, запирающихся под действием коленчато-рычажного механизма. Существуют также системы загрузки капсул типа выдвижного ящика, которые обеспечивают подачу капсулы при помощи упрощенного загрузочного движения, горизонтально-линейного или другого, в вытяжную систему. Такая система описана в параллельной европейской заявке №00110102.1, поданной на имя заявителя. Однако такие системы позволяют обрабатывать ограниченное количество капсул, к тому же загружаемых в систему самим пользователем.
Вместе с тем существует потребность в обеспечении подачи капсул из запаса капсул, не прибегая к непосредственной ручной манипуляции с капсулой, а, наоборот, – в более автоматизированной доставке и разгрузке капсул в вытяжной системе. Существует также потребность в создании запасов капсул одного вида продукта или, наоборот, разных видов продуктов при обеспечении простоты их загрузки. Некоторые системы уже описаны в патентных публикациях. Например, швейцарская патентная заявка №471570 относится к автоматическим кофеварочным машинам, содержащим механизм нагрева и дозирования воды, взаимодействующий с диском, принимающим и транспортирующим упаковки для из размещения перед патрубком подачи горячей воды и для удаления упаковок после вытяжки; все эти механизмы приводятся в действие от синхронизированных двигателей. Упаковки доставляются индивидуально из расходного контейнера на перфорированном диске до патрубка подачи воды под давлением. Такое устройство является упрощенным и не предусмотрено для питания современных вытяжных систем, камера которых полностью обхватывает капсулу для осуществления вытяжки в управляемых и воспроизводимых условиях давления, времени и температуры. С другой стороны, для удаления упаковки за пределы диска необходимо ее приподнять и снять с диска, что может создать проблемы заедания упаковки и усложнить ее удаление.
Европейская патентная заявка №1046366 касается устройства для подачи порций молотого кофе в вытяжную установку, содержащую кассетный контейнер, обеспечивающий загрузку нескольких порций кофе, и средства подачи индивидуальных порций в питающее устройство. Система подачи капсул является относительно сложной и содержит несколько пар спусковых рычагов, приводимых в действие парами приводных элементов, которые сами управляются от электромагнита. Каждый набор или труба порций кофе содержит свои собственные средства разгрузки, наличие которых относительно усложняет систему, которая по этой причине является малорациональной и дорогостоящей. С другой стороны, такая система требует высокой точности и синхронизации движений разгрузочных элементов, которые должны работать синхронно, чтобы избежать застревания порций кофе в системе. По мере часто повторяющихся операций и износа деталей, надежность такой системы снижается, и в ней часто происходят более или менее серьезные поломки. Другой недостаток заключается в том, что вытяжная камера, в которую загружается порция, должна поворачиваться в сторону, чтобы подойти на линию вытяжного держателя, затем подняться, чтобы приблизиться к этому держателю при помощи линейного движения. Повторяющаяся комбинация сложных движений вдоль разных осей может нарушить точность вытяжной системы, изменить условия вытяжки с течением времени, привести к преждевременному износу механических деталей и, как следствие, снизить надежность и сократить срок службы устройства. Другим недостатком является то, что вытяжка происходит снизу вверх с выходом жидкой вытяжки через верхнюю часть вытяжного держателя; по этой причине необходимо предусмотреть наличие подводящей трубки в месте заполнения чашки. Такая конфигурация создает проблемы слива жидкости.
Раскрытие изобретения
Одной из задач настоящего изобретения является создание устройства для приготовления напитков, в котором устраняются недостатки известных из предшествующего уровня техники устройств.
Объектом настоящего изобретения является устройство для приготовления напитков, в котором реализуется функция отбора капсул и которое содержит систему опорожнения капсул для обеспечения вытяжки в оптимальных условиях.
Другой задачей настоящего изобретения является улучшение надежной, быстрой и автоматизированной обработки капсулы после ее отбора, в частности, ее подача и опорожнение и, в случае необходимости, ее удаление.
Другой задачей настоящего изобретения является более надежное и простое использование системы подачи и розлива жидкой вытяжки.
Все эти задачи решаются путем создания устройства для приготовления напитков из капсул, содержащих вещество, извлекаемое в вытяжной системе для приготовления напитков, при этом указанное устройство содержит систему кассетной загрузки капсул, заказываемых в виде наборов, захватное средство для индивидуального захвата капсулы из набора и ее доставки в вытяжную систему и отличается тем, что захватное средство выполнено подвижным с возможностью перемещения между системой кассетной загрузки и вытяжной системой и может занимать, по меньшей мере, два положения, из которых первое является положением приема, в котором капсула удерживается и переносится захватным средством, а второе является положением высвобождения, в котором захватное средство открывается приводным средством для высвобождения капсулы.
Предпочтительно захватное средство раздвигается приводным средством для высвобождения капсулы в вытяжной системе, которая выполнена с возможностью обхвата капсулы. После высвобождения капсула принимается вытяжной системой без какого-либо значительного механического взаимодействия с захватным средством. Такая независимость от захватного средства обеспечивает вытяжной системе автономность, и, как следствие, возможность обеспечения контроля за условиями вытяжки и их воспроизводимостью.
В предпочтительном варианте выполнения захватное средство высвобождает капсулу в вытяжной системе строго координировано в ответ на обхват капсулы вытяжной системой. Таким образом, значительно сокращается время загрузки капсулы и закрытия вытяжной системы.
Кроме того, в предпочтительном варианте предусмотрены приводные средства открытия захватного средства, которые сначала обеспечивают первое открытие захватного средства для выгрузки капсулы в вытяжную систему, а затем второе открытие для высвобождения капсулы в зоне удаления после того, как захватное средство подбирает использованную капсулу в вытяжной системе. Таким образом, используется одно и то же средство для обеспечения замены капсулы и ее удаления из системы.
В предпочтительном варианте захватное средство содержит пару подвижных зажимов, двигающихся между закрытым положением, обеспечивающим удержание капсулы, и открытым положением, при котором капсула высвобождается. Пара подвижных зажимов предпочтительно приводится в действие от упругого усилия относительным перемещением конусного штифта по отношению к зоне раскрытия зажимов. Предпочтительно подвижные зажимы содержат опорные поверхности, на которые укладывается капсула, по меньшей мере частично, для ее последующего безопасного переноса. В предпочтительном варианте выполнения пара подвижных зажимов установлена с возможностью вращения для обеспечения их перемещения между системой кассетной загрузки и вытяжной системой.
Для обеспечения координации взаимодействия между захватным средством и вытяжной системой пара подвижных зажимов выполнена с возможностью перемещения относительно конусного штифта для высвобождения капсулы толкающим усилием, обеспечиваемым толкательным органом, перемещающимся синхронно с вытяжной системой во время обхвата капсулы вытяжным средством.
В предпочтительном варианте выполнения использованная капсула удаляется после вытяжки при помощи того же захватного средства, которое применяется для доставки капсулы в вытяжную систему. Для этого подвижные зажимы открываются в зоне удаления после опорожнения капсулы и перемещения захватного средства в промежуточную зону между вытяжной зоной и зоной загрузки. Раскрытие подвижных зажимов в зоне удаления для высвобождения использованной капсулы предпочтительно осуществляется при помощи кулачкового средства, перемещающего конусный штифт. Такое кулачковое средство приводится в действие циклично в зависимости от перемещения захватного средства и его положения, что упрощает управление раскрытием и закрытием подвижных зажимов.
Настоящее изобретение касается также способа селекции и загрузки капсулы для приготовления напитка в вытяжной системе из зоны кассетной загрузки, содержащей несколько наборов капсул, включающего в себя селекцию и захват капсулы из одного из наборов капсул, доставку капсулы в вытяжную систему, опорожнение капсулы в вытяжной системе, отличающегося тем, что капсула сначала захватывается, а затем высвобождается в вытяжной системе, выполненной с возможностью обхвата капсулы.
В предпочтительном варианте реализации капсула высвобождается в вытяжной системе при помощи захватного средства, осуществляющего движение высвобождения, не требующее механического взаимодействия между вытяжной системой и захватным средством. Предпочтительно капсула высвобождается захватным средством путем ее укладки на приемную часть вытяжной системы после вертикального движения сближения и бокового высвобождающего движения захватного средства. Таким образом, достигается точное позиционирование капсулы в вытяжной системе, обеспечивающее обхват капсулы автономной вытяжной системой.
В предпочтительном варианте реализации использованная капсула подбирается и затем доставляется в зону удаления, где она снова высвобождается. Кроме того, доставка капсулы в вытяжную систему координирована с обхватным движением системы, а извлечение использованной капсулы из вытяжной системы координировано с повторным открытием вытяжной системы.
Краткое описание чертежей
Вышеуказанные и другие возможные преимущества и отличительные признаки настоящего изобретения будут более очевидны из нижеследующего описания и прилагаемых чертежей, на которых:
Фиг.1 – общее перспективное изображение вытяжного устройства с автоматической системой загрузки капсул в соответствии с настоящим изобретением в собранном виде.
Фиг.2 – общее перспективное изображение с одной стороны того же устройства с иллюстрацией механических элементов устройства без внешнего кожуха и без средств управления устройством.
Фиг.3 – общее изображение, аналогичное фиг.2, но с другой стороны устройства.
Фиг.4 – вид сверху устройства.
Фиг.5 – изображение в разрезе по линии А-А фиг 4.
Фиг.6 – схема взаимодействия между захватной системой и системой кассетной загрузки устройства.
Фиг.7 – перспективное изображение системы захвата и управления.
Фиг.8 – детализированное изображение показанного на фиг.7 устройства без картера.
Фиг.9 – вид спереди устройства, показанного на фиг.7.
Фиг.10 – частичное перспективное изображение устройства в закрытой конфигурации вытяжной системы.
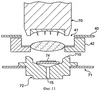
Фиг.11 – схематическое изображение в разрезе по линии В-В фиг.10 в открытой конфигурации вытяжной системы.
Фиг.12 – схематическое изображение в разрезе по линии В-В фиг.10 в закрытой конфигурации вытяжной системы.
Фиг.13 – перспективной изображение устройства в конфигурации удаления капсулы.
Фиг.14 – перспективное изображение части захватной системы.
Фиг.15 – изображение, аналогичное фиг.14, под другим углом перспективы.
Осуществление изобретения
Вытяжное устройство в соответствии с настоящим изобретением, показанное на фиг.1, является машиной для раздачи кофе и/или других напитков, предназначенной для приготовления напитков путем вытяжки пищевого вещества, содержащегося в заранее дозированных капсулах. Устройство содержит шкаф 10, форма которого отвечает как эстетическим, так и функциональным требованиям и который заключает в себе основные элементы системы вытяжки, отбора и управления устройством. В задней части шкафа находится система кассетной загрузки 2, оборудованная несколькими трубами 20, 21, 22 и 23, содержащими наборы подлежащих опорожнению капсул. В передней части шкафа оборудована зона обслуживания 11, содержащая стационарную подставку 12 для одной или нескольких емкостей, в которые разливают напиток. Пульт управления 13 выполнен в передней части шкафа и оснащен клавишами, обеспечивающими выбор напитка, соответствующий различным вариантам капсул, находящихся в устройстве кассетной загрузки. Некоторые клавиши могут также соответствовать возможным смесям напитков, получаемым из нескольких выбранных капсул. Электропитание устройства обеспечивается по электропроводу 15, а вода подается по водопроводу 16.
Как показано на фиг.2-5, устройство в соответствии с настоящим изобретением содержит главный стояк 30, на котором смонтирована система кассетной загрузки 2 карусельного типа, содержащая несколько загрузочных труб 20-23, расположенных вертикально и собранных вместе в закрытую орбитальную конструкцию. Каждая труба образует внутреннее вертикально ориентированное пространство, предназначенное для загрузки набора капсул, загружаемых свободно одна на другую в загрузочную трубу. Загрузочные трубы могут быть жестко соединены друг с другом, образуя относительно жесткий узел во время вращения карусельного стояка. Для этого каждая труба продольно соединена с двух сторон с соседними трубами при помощи соединительных перемычек 24. Как показано на фиг.5, загрузочные трубы соединены между собой в нижнем основании при помощи центрального соединительного средства 25, установленного в нижнем направлении по центральному осевому стержню 26, вращающемуся вместе со стояком 30. Для вращения центральной оси 26 предусмотрены приводные средства 27. Как показано на фиг.5, эти средства могут содержать зубчатые шестерни 270, 271 и электрический двигатель 272, соединенный со стояком 30. В возможном варианте выполнения приводные средства могут содержать кулачок типа «мальтийского креста», обеспечивающего точный поворот разгрузочных труб на четверть оборота.
Для обеспечения устойчивости устройства, а также удержания капсул в трубах в положении хранения предусмотрено средство удержания труб 28, на которое опирается центральное соединительное средство 25. Средство удержания труб 28 выполнено в виде неподвижной опорной плиты, жестко соединенной с главным стояком 30 при помощи распорных средств (не показаны). Через опорную плиту 28 проходит с возможностью скольжения центральная ось 26 карусели, обеспечивающая вращение карусели, то есть всему комплексу, образованному загрузочными трубами 20-23 и их соединительными средствами 25, 26, вокруг центральной вертикальной оси О по отношению к опорной плите 28, которая остается неподвижной по отношению к стояку 30. Таким образом, загрузочные трубы 20-23 могут перемещаться по круговой траектории I вокруг оси О, как схематически показано на фиг.6. Благодаря этому трубы могут перемещаться между положением удержания капсул опорной плитой 28 и положением селекции, соответствующим проходу 29, выполненному в опорной плите 28, при этом указанный проход находится на пересечении с определенной дугой орбитальной траектории I. Таким образом, проход 29 является нижним отверстием в опорной плите 28 для загрузочной трубы с определенным набором, в данном случае на фиг.6 это труба 22.
На фиг.5-8 показано захватное средство 4, предназначенное для захвата капсулы, заранее выбранной в системе кассетной загрузки 2. Под заранее выбранной капсулой следует понимать капсулу 90, находящуюся в самом низу трубы, расположенной напротив прохода 29. Захватное средство 4 содержит запорную пластину 40, содержащую отверстие 41, достаточное для свободного прохождения находящейся напротив него капсулы. Под этой пластиной 40 установлен шарнирный элемент, который может принимать, по меньшей мере, два положения, одно из которых является положением удержания, обеспечивающим удержание капсулы, а второе – положением высвобождения, обеспечивающим высвобождение капсулы. Такой элемент предпочтительно выполнен в виде пары подвижных зажимов 42, которая перемещается будучи жестко соединенной с запорной пластиной вокруг центральной оси вращения О’, параллельной и смещенной относительно оси О карусели. Для этой цели подвижные зажимы 42 и пластина 40 установлены на центральном стержне 46. Запорная пластина и подвижные зажимы приводятся во вращение при помощи приводного узла, содержащего двигатель 43, вращающий при помощи ремня 44 шестерню 45, жестко соединенную со стержнем 46, как показано на фиг.3.
Понятно, что захватное средство 4, схематически показанное на фиг.6, перемещается по второй круговой траектории I’, пересекающей первую круговую траекторию I системы кассетной загрузки 2. Точнее, основные захватные элементы, которыми являются отверстие 41 и подвижные зажимы 42 взаимосвязано перемещаются по траектории I’ таким образом, чтобы в момент захвата оказаться напротив перехода 29 опорной плиты 28 труб. Для этого запорная пластина 40 расположена таким образом, чтобы перекрывать переход 29 и удерживать при этом стопку капсул в трубе, находящейся перед переходом 29, до момента, когда ее дискретное отверстие 41 оказывается непосредственно перед заранее выбранной трубой, то есть на пересечении орбитальных траекторий I-I’.
Далее следует подробное описание захватной системы 4. Как показано на фиг.8, подвижные зажимы 42 этой системы удерживаются в закрытом положении пружиной 47. Пружина действует упругим усилием на противоположные части 420, 421 захватных элементов 422, 423 подвижных зажимов таким образом, чтобы приближать их друг к другу и формировать тем самым опорную зону 48 для капсулы 90. Под подвижными зажимами 42 находятся средства управления 5 открытием и закрытием зажимов. Средства управления установлены с возможностью скольжения в картере 54, жестко соединенным со стояком 30 (показанным на фиг.5 и 7). Стержень 46 установлен с возможностью вращения в основании картера, с одной стороны, он продолжен кверху для участия в приведении в движение вытяжного устройства, что будет описано ниже. Подвижные зажимы 42 удерживаются в положении упора в нижнюю поверхность запорной пластины 40 при помощи прижимной пружины 59, установленной в картере. Под действием пружины и в отсутствие обратного толкающего усилия подвижные зажимы 42 остаются практически в контакте с запорной пластиной 40. Как будет изложено ниже, толкающее усилие, действующее на подвижные зажимы 42, предусмотрено для управления открытием зажимов в определенных конкретных условиях.
Средства управления 5 системой захвата капсул содержат трубчатый элемент или цилиндр 50, направляемый в поступательном движении вдоль цилиндрического основания 49 подвижных зажимов при помощи направляющих типа нервюр/пазов 51. Таким образом цилиндр 50 выполнен с возможностью перемещения снизу вверх и наоборот вдоль нижнего основания 49 подвижных зажимов, но не может относительно него поворачиваться. Верхний конец цилиндра заканчивается конусным штифтом 52, установленным в положении между подвижными зажимами 42, как показано на фиг.9. Конусный штифт 52 действует на зону раскрытия 424 зажимов в их основании. На своем противоположном конце цилиндр взаимодействует с картером при помощи кулачкового механизма 55, обеспечивающего цикличное перемещение цилиндра 50 снизу вверх и наоборот при каждом обороте захватных средств 4 вокруг стержня 46 с осью О’. Механизм 55 содержит кулачковую поверхность 56 в трубчатом сечении цилиндра, взаимодействующую с неподвижным радиальным штифтом 57, жестко установленном в картере 54. Как видно из фиг.8, кулачковая поверхность 56 содержит открытую часть 580, на которую штифт 57 не действует никаким опорным усилием, и рельефную часть 581, расположенную противоположно открытой части 580 и подвергающуюся опорному действию штифта 57. Когда цилиндр расположен таким образом, что открытая часть 580 находится над штифтом 57, то цилиндр находится в нижнем положении, и его конусный штифт 52 не оказывает никакого раздвигающего усилия на подвижные зажимы, и они остаются закрытыми. Это положение соответствует положению захвата капсулы, показанному на фиг.7 и 8, а также положению доставки. Если цилиндр ориентирован таким образом, что его рельефная часть вступает в контакт со штифтом 57, цилиндр принудительно перемещается вверх опорным усилием штифта, действующим на рельефную часть, его конусный штифт действует раздвигающим усилием на подвижные зажимы. Это положение соответствует положению удаления капсулы после ее опорожнения, что будет более подробнее пояснено ниже.
Как показано на фиг.3-5, устройство содержит вытяжную систему 7, которая расположена на другом конце системы кассетной загрузки 2 по отношению к стержню вращения 46 с осью О’ захватных средств. Вытяжная система содержит вытяжной узел, состоящий из вытяжной головки или подвижного блока 70. Подвижный блок 70 представляет собой открытую полость 79, в обиходе называемую «душем» и содержащую иглы, обеспечивающие прокалывание капсулы, а также впуск горячей воды (не показан). Вытяжная система 7 содержит также неподвижный вытяжной блок 71, содержащий узел 72 слива вытяжки. Этот узел 72, как известно из предшествующего уровня техники, установлен непосредственно на стояке 30. Он содержит пластину распределения давления 74, предназначенную для вскрытия капсулы, и канал 75 слива жидкой вытяжки. Блок 70 установлен с возможностью поступательного движения вдоль стержня 46, с одной стороны, и вдоль дополнительного стержня 86, с другой стороны. Центральный двигатель 76, установленный на станине 78, соединяет между собой стержни 46, 86, управляет открытием-закрытием блока 70 относительно неподвижного вытяжного узла 72 через шестеренчатый узел 77, предназначенный для распределения приводных усилий двигателя в обе стороны на стержни 46, 86.
Наконец, вытяжное устройство 7 содержит толкающие узлы 790, 791, соединенные с нижней частью подвижной станины 78 и предназначенные для управления раскрытием подвижных зажимов 42, когда они перемещаются с капсулой в положение напротив вытяжного устройства, для высвобождения капсулы. В этой связи конструкция стержней толкающих узлов 790, 791 выполнена таким образом, чтобы каждый из них опирался на один из подвижных зажимов во время опускания верхнего вытяжного блока 70 для обхвата капсулы. Необходимо заметить, что запорная пластина 40 содержит отверстия 401, 402, показанные на фиг.2, обеспечивающие прохождение через нее толкающих узлов 790, 791. Толкающие узлы 790, 791 воздействуют на подвижные зажимы для синхронизации их раскрытия с закрытием вытяжного устройства, происходящим при опускании подвижного вытяжного блока 70. На опорном конце каждого толкающего узла 790, 791 предпочтительно установлено колесико, направленное в сторону движения раскрытия-закрытия подвижных зажимов, чтобы не мешать движению зажимов.
Для того чтобы лучше понять функцию каждого элемента и их взаимодействие, далее следует описание настоящего изобретения в процессе его работы.
1. Выбор напитка и отбор соответствующей капсулы
Потребитель осуществляет выбор напитка, нажимая на кнопки, находящиеся на пульте управления 13 главного шкафа устройства (фиг.1). Соответствующий выбору сигнал поступает на центральную систему управления (не показана) устройства, которая обрабатывает этот сигнал и подает команду на перемещение системы кассетной загрузки 2. Идентификация трубы, соответствующей выбору, может быть реализована различными способами. В предпочтительном варианте выполнения эта идентификация обеспечивается электронным кодом, нанесенным на каждую трубу с возможностью его считывания считывающим устройством вытяжного устройства. Это код может быть штрихкодом, кодом радиочастоты («RFID») или любым другим эквивалентным средством кодирования, содержащим информацию для идентификации содержащихся в трубе капсул. Другим, более простым идентификационным средством является разметка труб и их перемещение путем отсчитывания при помощи счетчика. Идентификационное средство может также содержать микропрерыватели или электромагниты, обеспечивающие управление остановкой двигателя.
Карусельный механизм поворачивается под действием двигателя 272, управляемого контрольным блоком, до момента, когда выбранная и идентифицированная труба приходит в точку пересечения I-I’. Контрольный блок останавливает двигатель, и выбранная труба оказывается в положении предварительного выбора. Если выбор соответствует капсуле, которая соответствует трубе, находящейся в положении предварительной селекции, контрольный блок производит распознавание, и двигатель 272 дальше не работает.
2. Захват капсулы и ее доставка в вытяжную систему
На следующем этапе захватная система 4 перемещается после командного сигнала контрольного блока, начиная с положения удаления, которое будет подробнее описано ниже, до положения захвата капсулы, находящейся в предварительно выбранной трубе. Для этого контрольный блок подает команду на запуск двигателя 43, который приводит в движение запорную пластину 40 вместе с подвижными зажимами и перемещает их в положение захвата. Положение захвата соответствует положению, в котором дискретное отверстие 41 запорной пластины 40 совпадает по вертикальному направлению с нижним отверстием предварительно выбранной трубы. С приходом в это положение контрольный блок останавливает двигатель 43. Самая нижняя капсула 90, находящаяся в трубе, падает под действием собственной тяжести через отверстие и удерживается в опорном положении на опорных краях 48 находящейся внизу пары подвижных зажимов 42. Зажим в данном случае находится в закрытом положении. Цилиндр 50 находится в нижнем положении, как показано на фиг.8, открытая часть 580 кулачковой поверхности направлена в сторону неподвижного штифта 57 в картере. Следует отметить, что пространство между подвижными зажимами и запорной пластиной 40 точно соответствует толщине капсулы. Поэтому все другие капсулы, находящиеся в трубе, удерживаются стопкой на захваченной капсуле. Запорная пластина 40 выполняет роль разделительного элемента после поворота между захваченной капсулой и остальной частью стопки капсул, содержащихся в трубе. Можно предусмотреть дополнительный разделительный элемент, чтобы капсула могла сразу опуститься через запорную пластину, не испытывая силы тяжести всей стопки. Это позволяет облегчить опускание и избежать возможного заедания.
Следующий этап заключается в доставке захваченной капсулы подвижным зажимом к вытяжной системе. Для этого захватная система 4 снова приводится во вращение двигателем 43 по команде контрольного блока.
3. Высвобождение капсулы в вытяжном устройстве
На фиг.10-12 показан этап высвобождения капсулы в вытяжной системе. Капсула доставляется подвижными зажимами 42 в положение напротив нижнего неподвижного вытяжного блока 71. Двигатель 43 выключается. Остановка двигателя может осуществляться по команде микропрерывателей или любого другого аналогичного средства, известного специалисту. После этого контрольный блок подает команду на опускание верхнего подвижного вытяжного блока 70, запуская двигатель 76. Вращение вала двигателя приводит в движение шестеренчатый узел 77, перемещающий блок 70 вдоль стержней 46, 86, по меньшей мере один из участков которых содержит резьбу для взаимодействия с шагом резьбы отверстий боковых шестерен. Опускание подвижного блока 70 заставляет толкающие стержни 790, 791 проходить через отверстия 401, 402 запорной пластины, что приводит к раскрытию подвижных зажимов 42.
Когда на подвижные зажимы действуют опорные усилия от опорных узлов 790, 791, то они опускаются относительно опорной плиты 40 и снова входят в контакт с конусным штифтом 52 средств управления 5. Подвижные зажимы под действием толкающего усилия перемещаются вниз и сжимают находящуюся в картере пружину 59. В результате контакта между конусным штифтом и подвижными зажимами происходит их раскрытие и, следовательно, высвобождение капсулы в вытяжном устройстве, как схематически показано на фиг.11 и 12. Высвобождение происходит в тот момент, когда подвижные зажимы 42 приближаются в вертикальном направлении к опорным поверхностям 710 нижнего неподвижного вытяжного блока 71. Таким образом, подвижные зажимы 42 одновременно осуществляют движения опускания А и раскрытия В, обеспечивающие их раскрытие по отношению к вытяжному блоку, как показано на фиг.12. Закрытие вытяжной системы блоком 70 происходит одновременно с движением подвижных зажимов.
Необходимо отметить, что подвижный блок 70 имеет размеры, обеспечивающие его беспрепятственное прохождение через отверстие 41 запорной пластины.
Следует также заметить, что подвижные зажимы 42 перемещаются под действием толкающего усилия в направлении А до момента, когда их опорная поверхность 48 оказывается под опорной плоскостью Р капсулы, соответствующей приемной поверхности 710 нижнего блока. После этого подвижные зажимы остаются в положении выжидания вплоть до конца вытяжки.
В данном случае капсула оказывается в положении обхвата между подвижным верхним блоком 70 и неподвижным нижним блоком 71. Предпочтительно капсула содержит боковые края, которые защемляются между двумя вытяжными блоками. Таким образом, капсула оказывается полностью загруженной в вытяжную систему без какого-либо значительного механического взаимодействия между капсулой и захватными средствами на этом этапе. Герметизация вытяжной системы обеспечивается уплотнительными средствами типа тороидальных прокладок или других аналогичных средств (не показаны).
Процесс вытяжки управляется контрольным блоком.
4. Опорожнение капсулы
Вытяжка из капсулы является известным процессом. Он не нуждается в подробном описании. Описание принципа вытяжки можно найти в патентах US 5,826,492; US 5,649,472 и US 5,762,987 в качестве предпочтительных примеров. В настоящей заявке приводится ссылка на эти патенты в связи с упоминанием способа вытяжки.
5. Повторный захват капсулы в вытяжной системе, перенос и удаление
После завершения процесса вытяжки использованная капсула попадает в подвижные зажимы 42 при открытии подвижного вытяжного блока 70. Контрольный блок подает команду на запуск двигателя в режиме реверса для обратного вращения шестерен 77, вследствие чего подвижный блок 70 поднимается. В отличие от закрытия перемещение блока 70 приводит в движение толкающие стержни 790, 791 в верхнем направлении, вследствие чего опорное действие на подвижные зажимы прекращается. Подвижные зажимы возвращаются на место под запорную пластину под действием прижимной пружины 59. Подъем подвижных зажимов в направлении, противоположном направлению А, в сочетании с их сближением в направлении, противоположном направлению В, как показано на фиг.12, возобновляет действие контакта на края капсулы, приводит к ее захвату и отрыву от нижнего вытяжного блока 71.
Следующий этап состоит в доставке использованной капсулы в зону удаления. Удаление капсулы показано на фиг.13-15. Для этого контрольный блок подает команду на запуск двигателя 43, который приводит во вращение захватную систему 4 для перемещения из зоны вытяжки 7 в зону удаления 8 системы. Когда отверстие 41 запорной пластины оказывается над этой зоной, изображенной в представленном примере в виде отверстия 80, выполненного в основном стояке 30, двигатель 43 останавливается. Во время операции доставки в эту зону вращение вокруг оси О’ заставляет цилиндр 50 подниматься под действием опорного усилия, создаваемого между неподвижным штифтом 57 и рельефным участком кулачковой поверхности 581, как показано на фиг.14. Во время подъема конусный штифт 52 цилиндра заставляет раздвигаться подвижные зажимы, в результате чего происходит падение капсулы 20. Устройство предпочтительно содержит сборный бак под зоной удаления. Таким образом, после процесса вытяжки капсула удаляется, при этом не возникает необходимости извлекать ее из вытяжной системы ни вручную, ни при помощи системы удаления, интегрированной в вытяжную систему. В этой конфигурации захватная система опять готова к новому циклу отбора.
Настоящее изобретение, описанное со ссылкой на предпочтительный вариант реализации, может включать в себя многочисленные варианты и модификации, доступные специалисту, не выходя при этом за рамки нижеследующей формулы изобретения.
Формула изобретения
1. Устройство для приготовления напитков из капсул, содержащих вещество, подвергаемое вытяжке в вытяжной системе (7), содержащее
систему кассетной загрузки (2), содержащую капсулы, заказываемые в виде нескольких наборов (20-23);
средство (4), выполненное с возможностью перемещения между системой кассетной загрузки (2) и вытяжной системой (7),
отличающееся тем, что указанное средство (4) является
захватным средством (4), которое выполнено с возможностью вращения и перемещения и предназначено для захвата индивидуальной капсулы из одного набора и высвобождения этой капсулы в вытяжной системе (7), а также тем, что захватное средство (4) выполнено с возможностью принимать, по меньшей мере, два положения, первое из которых является положением захвата, в котором капсула удерживается индивидуально и переносится захватным средством (4), а второе положение является положением высвобождения, в котором захватное средство (4) раздвигается для высвобождения капсулы из захватного средства в вытяжной системе (7), которая выполнена с возможностью закрытия с капсулой внутри него.
2. Устройство по п.1, отличающееся тем, что капсула высвобождается захватным средством (4) путем ее укладки на приемную часть (71) вытяжной системы в результате движения вертикального сближения и бокового движения раскрытия захватного средства.
3. Устройство по п.2, отличающееся тем, что захватное средство (4) высвобождает капсулу в вытяжной системе (7) синхронно с движением обхвата капсулы вытяжной системой.
4. Устройство по п.1, отличающееся тем, что содержит приводные средства раскрытия (5) захватного средства (4), заставляющие захватное средство (4) раздвигаться первый раз для высвобождения капсулы в вытяжной системе (7), затем раздвигаться второй раз для высвобождения капсулы в зоне удаления (8) после того, как захватное средство извлекает использованную капсулу из вытяжной системы (7).
5. Устройство по п.1, отличающееся тем, что захватное средство (4) содержит пару подвижных зажимов (42), выполненных с возможностью перемещения между закрытым положением, достаточным для удержания капсулы, и раскрытым положением для высвобождения капсулы, при этом пара подвижных зажимов (42) приводится в положение раскрытия путем раздвигания при помощи конусного штифта (52), воздействующего на указанные подвижные зажимы (42) при относительном перемещении указанного конусного штифта по отношению к зоне раскрытия (424) указанных подвижных зажимов.
6. Устройство по п.5, отличающееся тем, что пара подвижных зажимов (42) выполнена подвижной относительно конусного штифта для высвобождения капсулы под действием толкающего усилия, создаваемого, по меньшей мере, одним толкающим узлом (790, 791), перемещающимся синхронно с подвижной частью (70) вытяжной системы во время обхвата капсулы вытяжным средством (7).
7. Устройство по п.5, отличающееся тем, что подвижные зажимы (42) приводятся в положение раскрытия в зоне удаления (8) после завершения процесса опорожнения капсулы, соответствующее положению захватного средства (4), промежуточному между опорожнением капсулы в вытяжной зоне и захватом капсулы в загрузочной зоне.
8. Устройство по п.5, отличающееся тем, что раскрытие подвижных зажимов (42) в зоне удаления для высвобождения использованной капсулы осуществляется при помощи кулачкового средства (55), перемещающего конусный штифт.
9. Устройство по любому из пп.1-8, отличающееся тем, что система кассетной загрузки (2) выполнена подвижной с возможностью перемещения по первой траектории (I), а захватное средство (4) выполнено с возможностью перемещения по второй траектории (I ), пересекающейся с первой траекторией (I) для обеспечения захвата капсулы из выбранного набора в точке пересечения двух траекторий (I, I ).
10. Способ отбора и загрузки капсулы для приготовления напитка в вытяжной системе (7) из зоны кассетной загрузки (2), содержащей несколько наборов капсул (20-23), включающий отбор и захват капсулы из одного из наборов капсул, доставку этой капсулы в вытяжную систему (7), опорожнение капсулы в вытяжной системе (7), отличающийся тем, что капсула захватывается захватным средством (4), которое выполнено с возможностью вращения и перемещения, а также с возможностью принимать, по меньшей мере, два положения, первое из которых является положением захвата, в котором капсула удерживается индивидуально и переносится захватным средством (4), а второе положение является положением высвобождения, в котором захватное средство (4) раздвигается для высвобождения капсулы из захватного средства в вытяжной системе (7), которая выполнена с возможностью закрытия с капсулой внутри него.
11. Способ по п.10, отличающийся тем, что капсула высвобождается в вытяжной системе (7) захватным средством (4) во время движения раскрытия, не требующего механического взаимодействия между вытяжной системой и захватным средством.
12. Способ по п.11, отличающийся тем, что капсула высвобождается захватным средством (4) путем ее укладки на приемную часть (71) вытяжной системы в результате вертикального движения сближения и бокового движения раскрытия захватного средства.
13. Способ по п.11, отличающийся тем, что использованная капсула извлекается и затем доставляется в зону удаления (8) для ее последующего высвобождения.
14. Способ по п.11, отличающийся тем, что капсула доставляется в зоны или системы (2, 7, 8) по круговой траектории (I ).
15. Способ по п.14, отличающийся тем, что зона кассетной загрузки содержит карусельный механизм, содержащий несколько загрузочных труб и перемещающийся по круговой траектории (I), пересекающей круговую траекторию (I ).
16. Способ по пп.11-15, отличающийся тем, что высвобождение капсулы в вытяжной системе (7) координировано с закрытием системы и, наоборот, извлечение использованной капсулы из вытяжной системы (7) координировано с повторным открытием вытяжной системы.
РИСУНКИ
|
|