|
(21), (22) Заявка: 2005137194/13, 30.11.2005
(24) Дата начала отсчета срока действия патента:
30.11.2005
(30) Конвенционный приоритет:
27.12.2004 UA 20041210744
(46) Опубликовано: 27.09.2007
(56) Список документов, цитированных в отчете о поиске:
RU 2132277 С1, 27.06.1999. RU 2137369 С1, 20.09.1999. SU 269079 А1, 01.01.1970.
Адрес для переписки:
49044, г. Днепропетровск, ул. К. Цеткин, 3, а/я 2738, Т.П. Егоровой
|
(72) Автор(ы):
Кобзев Василий Семенович (UA)
(73) Патентообладатель(и):
Кобзев Василий Семенович (UA)
|
(54) УСТРОЙСТВО ДЛЯ ИЗГОТОВЛЕНИЯ ПИЩЕВОГО ЭКСТРУДИРОВАННОГО ПРОДУКТА С НАПОЛНИТЕЛЕМ
(57) Реферат:
Изобретение относится к пищевой промышленности, а именно к оборудованию для экструзионного формования вспученных зерновых продуктов в виде трубочек, подушечек и других изделий с наполнителем методом коэкструзии. Устройство содержит выпускную матрицу, выполненную с накопительной камерой и фильерой для выпрессовывания экструдата, разделительную матрицу, установленную перед выпускной матрицей и сопряженную с последней посредством посадочных поверхностей, инъектор, закрепленный в разделительной матрице с радиальным смещением относительно оси устройства, и питающий канал для подачи наполнителя, сообщенный с инъектором. Разделительная матрица в передней части выполнена с осевым посадочным стержнем, пропущенным через осевое отверстие, выполненное в выпускной матрице. Накопительная камера и фильера выполнены по оси инъектора. Питающий канал выполнен в посадочном стержне выпускной матрицы и сообщен с инъектором радиальным перепускным каналом, выполненным в разделительной матрице. На задней торцовой части выпускной матрицы выполнены обводной паз, расположенный по дуге окружности, и соединительный паз, расположенный по хорде, проходящей перпендикулярно оси накопительной камеры и фильеры. Обводной и соединительный пазы сообщены между собой, с накопительной камерой и фильерой. Изобретение позволяет повысить прочность стенки трубочки и исключить выдавливание через нее наполнителя. 7 з.п. ф-лы, 3 ил.
Изобретение относится к пищевой промышленности, а именно к оборудованию для экструзионного формования вспученных зерновых продуктов в виде трубочек, подушечек и других изделий с наполнителем методом коэкструзии из кукурузы, риса или других злаков, и может быть использовано в экструзионных головках экструдинг-прессов.
Из уровня техники известно устройство для изготовления пищевого экструдированного продукта с наполнителем, содержащее выпускную матрицу, выполненную с осевой фильерой для выпрессовывания экструдата, а также инъектор, выполненный в виде трубки, пропущенной через фильеру выпускной матрицы и снабженной коленом для подачи наполнителя, представляющим собой питающий канал (“Устройство для изготовления пищевого экструдированного продукта с начинкой”. Патент RU №2137369 С1, 6МПК А23С 9/06, 11/16, 3/04, А23Р 1/12, дата подачи заявки 28.07.1997, дата публикации патента 20.09.1999, аналог).
Недостатком этого устройства является несовершенство его конструкции, вызванное тем, что колено инъектора для подачи наполнителя расположено в фильере выпускной матрицы радиально и частично перекрывает ее.
В результате такой компоновки колена инъектора нарушается сплошность потока пластифицированного трубчатого экструдата, выпрессовываемого через фильеру.
Это приводит к плохому смыканию пластифицированного экструдата в этом месте, снижению прочности стенки получаемой трубочки, выдавливанию через нее наполнителя и ухудшению потребительских свойств пищевого экструдированного продукта с наполнителем.
Из уровня техники известно наиболее близкое к изобретению по назначению, количеству общих признаков и достигаемому результату устройство для изготовления пищевого экструдированного продукта с наполнителем, содержащее выпускную матрицу, выполненную с накопительной камерой и фильерой для выпрессовывания экструдата, разделительную матрицу, установленную перед выпускной матрицей и сопряженную с последней посредством посадочных поверхностей, инъектор, закрепленный в разделительной матрице с радиальным смещением относительно оси устройства, и питающий канал для подачи наполнителя, сообщенный с инъектором (“Формующий узел пресса-экструдера”. Патент RU №2132277 С1, 6МПК В29С 47/12, В30В 11/12, дата подачи заявки 26.03.1996, дата публикации патента 27.06.1999, наиболее близкий аналог-прототип).
Разделительная матрица имеет продольные перепускные каналы, выполненные в виде отверстий, расположенных параллельно ее оси.
Накопительная камера выпускной матрицы имеет цилиндрическую форму.
Питающий канал для подачи наполнителя расположен между продольными перепускными каналами, через которые происходит экструзия пластифицированного экструдата.
Это устройство имеет усовершенствованную конструкцию и компоновку по сравнению с аналогом, так как питающий канал для подачи наполнителя не пересекает потоки экструдата, выпрессовываемого через продольные перепускные каналы разделительной матрицы.
Однако и это устройство имеет существенные недостатки конструкции.
Так, выполнение продольных перепускных каналов в виде отверстий, расположенных параллельно оси разделительной матрицы, не обеспечивает концентрацию автономно поступающих в накопительную камеру параллельных отдельных потоков (жгутов) пластифицированного продукта и затрудняет надежное их смыкание в трубчатую оболочку при выпрессовывании через фильеру выпускной матрицы.
При этом сама накопительная камера имеет цилиндрическую форму, что также не способствует концентрации автономно поступающих в накопительную камеру параллельных отдельных потоков пластифицированного продукта и созданию на входе в фильеру выпускной матрицы однородной массы.
Из-за этого стенки готовой трубочки в местах смыкания упомянутых отдельных потоков пластифицированного продукта имеют рыхлую не прочную структуру, что приводит к выдавливанию через нее наполнителя и ухудшению потребительских свойств пищевого экструдированного продукта с наполнителем.
Технической задачей, на решение которой направлено изобретение, является, путем усовершенствования конструкции разделительной и выпускной матриц, улучшения компоновки накопительной камеры, фильеры и питающего канала, обеспечить подачу пластифицированного продукта к накопительной камере и фильере, а наполнителя к инъектору сходящимися потоками для образования на выходе фильеры выпускной матрицы однородной массы пластифицированного продукта с наполнителем внутри.
Техническим результатом, который достигается при использовании изобретения, является повышение прочности стенки самой трубочки и исключение выдавливания через нее наполнителя, что существенно повышает потребительские свойства пищевого экструдированного продукта с наполнителем.
Поставленная техническая задача решается, а технический результат достигается тем, что в устройстве для изготовления пищевого экструдированного продукта с наполнителем, содержащем выпускную матрицу, выполненную с накопительной камерой и фильерой для выпрессовывания экструдата, разделительную матрицу, установленную перед выпускной матрицей и сопряженную с последней посредством посадочных поверхностей, инъектор, закрепленный в разделительной матрице с радиальным смещением относительно оси устройства, и питающий канал для подачи наполнителя, сообщенный с инъектором, согласно изобретению разделительная матрица в передней части выполнена с осевым посадочным стержнем, пропущенным через осевое отверстие, выполненное в выпускной матрице, накопительная камера и фильера выполнены по оси инъектора, питающий канал выполнен в посадочном стержне выпускной матрицы и сообщен с инъектором радиальным перепускным каналом, выполненным в разделительной матрице, а на задней торцовой части выпускной матрицы выполнены обводной паз, расположенный по дуге окружности, и соединительный паз, расположенный по хорде, проходящей перпендикулярно оси накопительной камеры и фильеры, при этом обводной и соединительный пазы сообщены между собой, с накопительной камерой и фильерой.
Приведенные признаки изобретения являются существенными, так как в совокупности достаточны для решения технической задачи и достижения технического результата, а каждый в отдельности необходим для идентификации заявляемого устройства.
Эта совокупность общих и отличительных от прототипа существенных признаков, которыми характеризуется усовершенствованное устройство, неизвестна из уровня техники, является новой и достаточной для всех случаев, на которые распространяется объем правовой защиты.
Причинно-следственная связь между совокупностью существенных признаков устройства, в том числе отличительных при их взаимодействии с общими признаками, в решении поставленной технической задачи и достижении технического результата, заключается в следующем.
Выполнение разделительной матрицы в передней части с осевым посадочным стержнем, пропущенным через осевое отверстие, выполненное в выпускной матрице, обеспечивает улучшенную компоновку и надежное центрирование выпускной и разделительной матриц по оси устройства.
Выполнение накопительной камеры и фильеры по оси инъектора обеспечивает подачу пластифицированного продукта в зону инъектора сходящимся в накопительной камере к фильере кольцевым потоком.
Выполнение питающего канала в посадочном стержне выпускной матрицы и его связь с инъектором посредством радиального перепускного канала, выполненного в разделительной матрице, обеспечивают подачу наполнителя в доступном месте через осевой питающий канал в посадочном стержне выпускной матрицы, радиальный перепускной канал разделительной матрицы в инъектор, то есть непосредственно внутрь сходящегося в накопительной камере кольцевого потока пластифицированного продукта.
А выполнение на задней торцовой части выпускной матрицы сообщенных между собой обводного паза, расположенного по дуге окружности, и соединительного паза, расположенного по хорде, проходящей перпендикулярно оси накопительной камеры и фильеры, обеспечивает подачу нагнетаемого пластифицированного продукта от рабочего органа – шнека по обводному и соединительному пазам двумя сходящимися потоками в накопительную камеру выпускной матрицы.
При этом сходящиеся в накопительной камере выпускной матрицы потоки равномерно распределяются по всей ее внутренней поверхности, образуют сплошной сходящийся в накопительной камере кольцевой поток пластифицированного продукта, который под давлением вытесняется через фильеру в виде трубочки, внутренняя полость которой заполнена наполнителем, подаваемым из инъектора.
За счет упомянутого усовершенствования конструкции разделительной и выпускной матриц, улучшения компоновки накопительной камеры, фильеры и питающего канала достигается концентрация перед фильерой выпускной матрицы однородной массы пластифицированного продукта с наполнителем внутри, образование прочной структуры экструдируемой трубочки, способной не пропускать наружу подаваемый через инъектор наполнитель, что существенно улучшает потребительские свойства пищевого экструдированного продукта с наполнителем.
Устройство имеет и другие отличительные признаки, которые дополняют и характеризуют изобретение в отдельных случаях его выполнения и используются для улучшения его технических свойств.
В устройстве для изготовления пищевого экструдированного продукта с наполнителем, согласно изобретению, посадочный стержень разделительной матрицы выполнен с наружной резьбой и скреплен с выпускной матрицей с помощью гайки.
За счет этого обеспечивается надежное крепление разделительной и выпускной матриц между собой.
В устройстве для изготовления пищевого экструдированного продукта с наполнителем, согласно изобретению, обводной паз выпускной матрицы выполнен с направляющим выступом трапециевидной формы, симметрично расположенным в плоскости, проходящей через ось устройства и ось накопительной камеры, меньшее основание которого примыкает к накопительной камере снизу.
Направляющий выступ обеспечивает подачу пластифицированного продукта по соединительному пазу с двух сторон с наименьшими гидродинамическими потерями непосредственно в накопительную камеру и фильеру выпускной матрицы двумя сходящимися потоками.
Это способствует формированию перед фильерой выпускной матрицы однородной массы упомянутого пластифицированного продукта.
В устройстве для изготовления пищевого экструдированного продукта с наполнителем, согласно изобретению, в питающем канале, а также в перепускном канале разделительной матрицы установлены трубки, выполненные из дерева дуба, бука или вишни.
Установка деревянных трубок препятствует пригоранию пластифицированного продукта к их внутренним стенкам, что предотвращает образование пробок в питающем, а также перепускном каналах разделительной матрицы и повышает надежность работы устройства.
В устройстве для изготовления пищевого экструдированного продукта с наполнителем, согласно изобретению, в выходном конце перепускного канала разделительной матрицы установлена заглушка, закрепленная в нем с помощью резьбового соединения.
Установка заглушки обеспечивает технологичность выполнения перепускного канала разделительной матрицы, возможность его чистки при засорении и герметичность при эксплуатации.
В устройстве для изготовления пищевого экструдированного продукта с наполнителем, согласно изобретению, инъектор выполнен в виде втулки с трубкой в передней части, при этом втулка выполнена конусообразной формы и закреплена в разделительной матрице по оси фильеры с помощью резьбового соединения.
Такое выполнение инъектора обеспечивает соосность его трубки и фильеры выпускной матрицы, а также возможность быстрого его демонтажа в случае чистки или замены.
В устройстве для изготовления пищевого экструдированного продукта с наполнителем, согласно изобретению, концевая часть трубки инъектора пропущена через фильеру выпускной матрицы наружу, а расстояние от торца концевой части трубки инъектора до выхода фильеры выпускной матрицы составляет 2-5 мм, причем трубка в передней части выполнена с перепускными отверстиями в стенке и наклонной торцовой поверхностью, расположенной под острым углом к продольной оси.
Такая компоновка трубки инъектора позволяет получать трубочку экструдированного продукта с расширенным внутренним каналом для размещения наполнителя.
Это обеспечивается за счет перепада давлений между внутренним давлением пластифицированного продукта на выходе из фильеры выпускной матрицы и атмосферным давлением.
Поэтому диаметр внутреннего канала трубочки экструдированного продукта существенно увеличивается по сравнению с диаметром трубки инъектора.
Выбранный диапазон значений расстояния от торца концевой части трубки инъектора до фильеры выпускной матрицы является оптимальным и определен опытным путем.
Выбор этого значения меньше нижнего предела нецелесообразен, так как при этом уменьшается диаметр внутреннего канала трубочки экструдированного продукта.
Выбор этого значения больше верхнего предела также нецелесообразен, так при этом повышается опасность случайного повреждения трубки инъектора и образования участка канала трубочки экструдированного продукта, не заполненного наполнителем.
Выполнение трубки инъектора в концевой части с перепускными отверстиями в стенке и наклонной торцовой поверхностью, расположенной под острым углом к продольной оси, обеспечивает надежное как радиальное, так и осевое выпрессовывание наполнителя в канал трубочки экструдированного продукта на выходе из фильеры выпускной матрицы.
В устройстве для изготовления пищевого экструдированного продукта с наполнителем, согласно изобретению, накопительная камера выполнена конусообразной формы.
Это позволяет дополнительно концентрировать пластифицированный продукт в накопительной камере и формировать его в однородную массу на входе в фильеру, что улучшает формирование стенки трубочки экструдированного продукта.
Из уровня техники заявителем не выявлены решения, имеющие признаки, совпадающие с упомянутыми отличительными признаками предлагаемого изобретения.
В дальнейшем изобретение поясняется подробным описанием его конструкции со ссылками на прилагаемые чертежи.
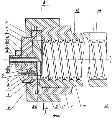
На фиг.1 изображено устройство для изготовления пищевого экструдированного продукта с наполнителем, общий вид, продольный разрез.
На фиг.2 изображен разрез А-А на фиг.1.
На фиг.3 изображен выносной элемент Б на фиг.1.
Устройство для изготовления пищевого экструдированного продукта с наполнителем содержит (фиг.1-3) выпускную матрицу 1 (фиг.1), выполненную с накопительной камерой 2 и фильерой 3 для выпрессовывания экструдата, разделительную матрицу 4, установленную перед выпускной матрицей 1 и сопряженную с последней посредством посадочных поверхностей 5, 6, инъектор 7, закрепленный в разделительной матрице 4 с радиальным смещением относительно оси устройства, и питающий канал 8 для подачи наполнителя, сообщенный с инъектором 7.
Выпускная матрица 1 присоединена к корпусу 9 и цилиндру 10 с помощью накидной гайки 11.
Внутри цилиндра 10 с небольшим кольцевым зазором установлен приводной многоходовой прессующий шнек 12 так, что между его торцом и тыльной частью разделительной матрицы 4 образован зазор.
Цилиндр 10 имеет внутреннюю винтовую канавку 13 и загрузочное окно 14 для подачи зернового сырья.
Разделительная матрица 4 в передней части выполнена с осевым посадочным стержнем 15, пропущенным через осевое отверстие 16, выполненное в выпускной матрице 1.
Накопительная камера 2 и фильера 3 выполнены по оси инъектора 7.
Питающий канал 8 выполнен в посадочном стержне 15 выпускной матрицы 1 и сообщен с инъектором 3 радиальным перепускным каналом 17, выполненным в разделительной матрице 4.
На задней торцовой части выпускной матрицы 1 выполнены обводной паз 18 (фиг.2), расположенный по дуге окружности, и соединительный паз 19, расположенный по хорде, проходящей перпендикулярно оси накопительной камеры 2 и фильеры 3.
Обводной и соединительный пазы 18, 19 сообщены между собой, с накопительной камерой 2 и фильерой 3.
Посадочный стержень 15 разделительной матрицы 4 выполнен с наружной резьбой и скреплен с выпускной матрицей 1 с помощью гайки 20.
Обводной паз 18 выпускной матрицы 1 выполнен с направляющим выступом 21 трапециевидной формы, симметрично расположенным в плоскости, проходящей через ось устройства и ось накопительной камеры 2, меньшее основание которого примыкает к накопительной камере 2 снизу.
В питающем канале 8, а также в перепускном канале 17 разделительной матрицы 4 установлены трубки 22, 23, выполненные из дерева дуба, бука или вишни.
В выходном конце перепускного канала 17 разделительной матрицы 4 установлена заглушка 24, закрепленная в нем с помощью резьбового соединения.
Инъектор 7 выполнен в виде втулки 25 с трубкой 26 в передней части, при этом втулка 25 выполнена конусообразной формы и закреплена в разделительной матрице 4 по оси фильеры 3 с помощью резьбового соединения (фиг.3).
Концевая часть трубки 26 инъектора 7 пропущена через фильеру 3 выпускной матрицы 1 наружу, а расстояние t от конца трубки 26 инъектора 7 до выхода фильеры 3 выпускной матрицы 1 составляет 2-5 мм.
Трубка 26 в передней части выполнена с перепускными отверстиями 27 в стенке и наклонной торцовой поверхностью 28, расположенной под острым углом к продольной оси.
Накопительная камера 2 выпускной матрицы 1 выполнена конусообразной формы.
Устройство работает следующим образом.
Перед запуском устройства производится предварительный нагрев цилиндра 10 и шнека 12 до температуры 120-150°.
Зерновое сырье из загрузочного бункера (не показан), например крупа кукурузы или риса, с влажностью 15,0-17,0% поступает через загрузочное окно 14 в рабочую камеру цилиндра 10 на шнек 12 (фиг.1).
В рабочей камере цилиндра 10 зерновое сырье захватывается шнеком 12 и транспортируется в сторону разделительной матрицы 4.
Вследствие малого кольцевого зазора между цилиндром 10 и шнеком 12 и возникающих сил трения происходит сжатие, измельчение и разогрев зернового сырья до температуры 160-170°.
Нагревание зернового сырья в момент запуска устройства происходит за счет теплопередачи от предварительно нагретых цилиндра 10 и шнека 12, а в дальнейшем при вхождении устройства в устойчивый режим работы – в результате выделения тепла, вызываемого силами трения между продуктом, цилиндром 10 и шнеком 12.
Под воздействием высокой температуры, влаги и давления крупа зернового сырья превращается в пластифицированную массу, которая шнеком 12 подается к периферии разделительной матрицы 4.
Под действием высокого давления, создаваемого шнеком 12, пластифицированная масса впрессовывается и по обводному пазу 18, соединительному пазу 19 и боковым наклонным поверхностям направляющего выступа 21 двумя потоками поступает к накопительной камере 2 и равномерно распределяется по всей ее внутренней поверхности.
При этом в накопительной камере 2 образуется сплошной кольцевой поток пластифицированного продукта, который ограничивается изнутри конусообразной втулкой 25 и трубкой 26 инъектора 7.
За счет этого достигается концентрация перед фильерой 3 выпускной матрицы 1 однородной пластифицированной массы зернового продукта.
В дальнейшем пластифицированная масса зернового продукта выпрессовывается через фильеру 3 выпускной матрицы 1 в виде трубочки, “взрывается” от перепада давлений и приобретает пористую структуру.
Одновременно через питающий канал 8 и перепускной канал 17 подают разогретый до температуры 50-60° наполнитель – начинку (например, шоколадную или кондитерскую глазурь) в инъектор 7, который через втулку 25 и осевое отверстие, а также перепускные отверстия 27 трубки 26 поступает внутрь трубочки зернового продукта, в результате чего происходит получение пищевого экструдированного продукта с наполнителем.
Такое выполнение трубки 26 инъектора 7 позволяет получать трубочку экструдированного продукта с расширенным внутренним каналом для размещения наполнителя.
Это обеспечивается за счет перепада давлений между внутренним давлением пластифицированного продукта на выходе из фильеры 3 выпускной матрицы 1 и атмосферным давлением.
Поэтому диаметр внутреннего канала трубочки экструдированного продукта существенно увеличивается по сравнению с диаметром трубки 26 инъектора 7.
Выполнение трубки 26 инъектора 7 в концевой части с перепускными отверстиями 27 в стенке и наклонной торцовой поверхностью 28, расположенной под острым углом к продольной оси, обеспечивает осевое и радиальное выпрессовывание наполнителя в канал трубочки экструдированного продукта на выходе из фильеры 3 выпускной матрицы 1.
В дальнейшем пищевой экструдированный продукт с наполнителем с помощью механизма резки (не показан) расплющивается в местах резки и разрезается на товарные трубочки или подушечки с одновременным сдавливанием их концов для предотвращения вытекания наполнителя, упаковывается в тару и поступает потребителю.
Таким образом, путем усовершенствования конструкции разделительной и выпускной матриц 4, 1, улучшения компоновки накопительной камеры 2, фильеры 3 и питающего канала 8 обеспечивается надежная подача пластифицированного продукта к накопительной камере 2 и фильере 3, а наполнителя к инъектору 7 сходящимися потоками для образования на выходе фильеры 3 выпускной матрицы 1 однородной массы пластифицированного продукта с наполнителем внутри, что и является поставленной технической задачей, на решение которой направлено изобретение.
За счет решения поставленной технической задачи достигается повышение прочности стенки самой трубочки и исключается выдавливание через нее наполнителя, что существенно повышает потребительские свойства пищевого экструдированного продукта с наполнителем и является тем техническим результатом, который достигается при использовании изобретения.
Устройство имеет промышленную применимость и может быть многократно изготовлено промышленным способом на любом машиностроительном предприятии с использованием универсального оборудования, современной технологии, а также существующих материалов и комплектующих изделий.
Перечень обозначений
| Обозначение |
Наименование |
Обозначение |
Наименование |
| 1 |
Выпускная матрица |
16 |
Отверстие |
| 2 |
Накопительная камера |
17 |
Перепускной канал |
| 3 |
Фильера |
18 |
Обводной паз |
| 4 |
Разделительная матрица |
19 |
Соединительный паз |
| 5 |
Посадочная поверхность |
20 |
Гайка |
| 6 |
Посадочная поверхность |
21 |
Направляющий выступ |
| 7 |
Инъектор |
22 |
Трубка |
| 8 |
Питающий канал для подачи наполнителя |
23 |
Трубка |
| 24 |
Заглушка |
| 9 |
Корпус |
25 |
Втулка инъектора |
| 10 |
Цилиндр |
26 |
Трубка инъектора |
| 11 |
Накидная гайка |
27 |
Перепускное отверстие |
| 12 |
Шнек |
|
трубки инъектора |
| 13 |
Винтовая канавка цилиндра |
28 |
Наклонная торцовая |
| 14 |
Загрузочное окно для подачи зернового сырья |
|
поверхность трубки инъектора |
| 15 |
Посадочный стержень |
|
|
Формула изобретения
1. Устройство для изготовления пищевого экструдированного продукта с наполнителем, содержащее выпускную матрицу, выполненную с накопительной камерой и фильерой для выпрессовывания экструдата, разделительную матрицу, установленную перед выпускной матрицей и сопряженную с последней посредством посадочных поверхностей, инъектор, закрепленный в разделительной матрице с радиальным смещением относительно оси устройства, и питающий канал для подачи наполнителя, сообщенный с инъектором, отличающееся тем, что разделительная матрица в передней части выполнена с осевым посадочным стержнем, пропущенным через осевое отверстие, выполненное в выпускной матрице, накопительная камера и фильера выполнены по оси инъектора, питающий канал выполнен в посадочном стержне выпускной матрицы и сообщен с инъектором радиальным перепускным каналом, выполненным в разделительной матрице, а на задней торцовой части выпускной матрицы выполнены обводной паз, расположенный по дуге окружности, и соединительный паз, расположенный по хорде, проходящей перпендикулярно оси накопительной камеры и фильеры, при этом обводной и соединительный пазы сообщены между собой, с накопительной камерой и фильерой.
2. Устройство для изготовления пищевого экструдированного продукта с наполнителем по п.1, отличающееся тем, что посадочный стержень разделительной матрицы выполнен с наружной резьбой и скреплен с выпускной матрицей с помощью гайки.
3. Устройство для изготовления пищевого экструдированного продукта с наполнителем по п.1, отличающееся тем, что обводной паз выпускной матрицы выполнен с направляющим выступом трапециевидной формы, симметрично расположенным в плоскости, проходящей через ось устройства и ось накопительной камеры, меньшее основание которого примыкает к накопительной камере снизу.
4. Устройство для изготовления пищевого экструдированного продукта с наполнителем по п.1, отличающееся тем, что в питающем канале, а также в перепускном канале разделительной матрицы установлены трубки, выполненные из дерева – дуба, бука или вишни.
5. Устройство для изготовления пищевого экструдированного продукта с наполнителем по п.1, отличающееся тем, что в выходном конце перепускного канала разделительной матрицы установлена заглушка, закрепленная в нем с помощью резьбового соединения.
6. Устройство для изготовления пищевого экструдированного продукта с наполнителем по п.1, отличающееся тем, что инъектор выполнен в виде втулки с трубкой в передней части, при этом втулка выполнена конусообразной формы и закреплена в разделительной матрице по оси фильеры с помощью резьбового соединения.
7. Устройство для изготовления пищевого экструдированного продукта с наполнителем по п.1 или 6, отличающееся тем, что концевая часть трубки инъектора пропущена через фильеру выпускной матрицы наружу, а расстояние от торца концевой части трубки инъектора до выхода фильеры выпускной матрицы составляет 2-5 мм, причем трубка в передней части выполнена с перепускными отверстиями в стенке и наклонной торцовой поверхностью, расположенной под острым углом к продольной оси.
8. Устройство для изготовления пищевого экструдированного продукта с наполнителем по п.1, отличающееся тем, что накопительная камера выполнена конусообразной формы.
РИСУНКИ
MM4A – Досрочное прекращение действия патента СССР или патента Российской Федерации на изобретение из-за неуплаты в установленный срок пошлины за поддержание патента в силе
Дата прекращения действия патента: 01.12.2007
Извещение опубликовано: 27.07.2009 БИ: 21/2009
|