|
|
(21), (22) Заявка: 2006112172/13, 12.04.2006
(24) Дата начала отсчета срока действия патента:
12.04.2006
(46) Опубликовано: 27.09.2007
(56) Список документов, цитированных в отчете о поиске:
Технологическое оборудование хлебопекарных и макаронных предприятий. Под ред. МАЧИХИНА С.А., с.194. RU 2225145 С2, 10.03.2004. RU 2156097 С1, 20.09.2000.
Адрес для переписки:
460018, г.Оренбург, пр-кт Победы, 13, ГОУ ОГУ, патентный отдел
|
(72) Автор(ы):
Коротков Владислав Георгиевич (RU), Рогулин Александр Юрьевич (RU), Попов Валерий Павлович (RU), Ханин Виктор Петрович (RU), Шрейдер Марина Юрьевна (RU)
(73) Патентообладатель(и):
Государственное образовательное учреждение высшего профессионального образования “Оренбургский государственный университет” (RU)
|
(54) ШНЕКОВЫЙ ЭКСТРУДЕР
(57) Реферат:
Изобретение относится к экструзионной технике и предназначено для производства пищевых и кормовых продуктов с применением экструзии (кондитерские изделия, макаронные изделия, полуфабрикаты вспученных экструдатов). Шнековый экструдер включает шнековый корпус, на внутренней поверхности которого выполнены направляющие канавки, внутри которого установлен шнек с винтовой нарезкой, а также загрузочное устройство и головку в виде патрубка для установки матрицы на конце шнекового корпуса. На конце шнека со стороны матрицы выполнены направляющие канавки, а на внутренней поверхности корпуса выполнена винтовая нарезка, причем направление винтовой нарезки на корпусе противоположно направлению винтовой нарезки на шнеке. Изобретение позволяет снизить утечки экструдируемого продукта в зазоре между шнеком и шнековым корпусом. 1 ил.
Изобретение относится к экструзионной технике и предназначено для производства пищевых и кормовых продуктов с применением экструзии (кондитерские изделия, макаронные изделия, полуфабрикаты вспученных экструдатов).
За прототип принят экструдер [Азаров Б.М. и др. Технологическое оборудование хлебопекарных и макаронных предприятий. – М: Агропромиздат. 1986. – С.194], включающий шнековый корпус с направляющими канавками, внутри которого установлен шнек с винтовой нарезкой. На конце шнекового корпуса закреплена головка в виде патрубка для установки матрицы.
Недостатком такой конструкции экструдера являются большие утечки экструдируемого продукта в зазоре между шнеком и шнековым корпусом.
Техническим результатом изобретения является снижение утечек экструдируемого продукта в зазоре между шнеком и шнековым корпусом.
Указанный технический результат достигается тем, что в шнековом экструдере, включающем шнековый корпус, на внутренней поверхности которого выполнены направляющие канавки, внутри которого установлен шнек с винтовой нарезкой, а также загрузочное устройство и головку в виде патрубка для установки матрицы, на конце шнека со стороны матрицы выполнены направляющие канавки, а на внутренней поверхности корпуса выполнена винтовая нарезка, причем направление винтовой нарезки на корпусе противоположно направлению винтовой нарезки на шнеке.
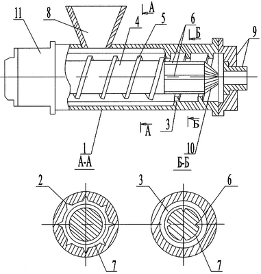
Изобретение поясняется чертежом, на котором представлено поперечное сечение экструдера предлагаемой конструкции.
Шнековый экструдер содержит: шнековый корпус 1 с направляющими канавками 2 и винтовой нарезкой 3, шнек 4 с винтовой нарезкой 5 и направляющими канавками 6, кольцевой зазор между шнеком и корпусом 7, загрузочное устройство 8, головку с матрицей 9, разрыхляющую насадку 10, привод 11.
Экструдер работает следующим образом: продукт, предварительно смешанный с водой, через загрузочное устройство 8 поступает в шнековый корпус 1, где шнек 4 транспортирует его в сторону матрицы 9, при этом продукт уплотняется, заполняет все свободное пространство, разогревается за счет сил трения, гомогенизируется при помощи насадки 10 и выпрессовывается через фильеры матрицы 9.
При этом перед матрицей возникает высокое противодавление, под действием которого часть продукта возвращается через кольцевой зазор между шнеком и корпусом 7. Замена винтовой нарезки на шнеке 5 на канавки 6, а канавок на корпусе 2 на винтовую нарезку 3 позволяет уменьшить площадь поперечного сечения кольцевого зазора 7.
Предлагаемая конструкция позволяет более эффективно экструдировать пищевые и кормовые продукты, при этом наблюдается снижение утечек в кольцевом зазоре между шнеком и корпусом за счет уменьшения площади поперечного сечения кольцевого зазора, которое вызвано уменьшением длинны внешней окружности зазора. Снижение утечек в кольцевом зазоре наблюдается также за счет меньшего противодавления со стороны матрицы в зоне, близкой к валу шнека по сравнению с зоной, близкой к поверхности корпуса. Различное противодавление со стороны матрицы в вышеуказанных зонах вызвано различным давлением в данных зонах со стороны шнека на матрицу, что в свою очередь вызвано разницей в центробежных силах, развиваемых шнеком (чем дальше от центра вала, тем больше центробежная сила).
Формула изобретения
Шнековый экструдер, включающий шнековый корпус, на внутренней поверхности которого выполнены направляющие канавки, внутри которого установлен шнек с винтовой нарезкой, загрузочное устройство и головку в виде патрубка для установки матрицы на конце шнекового корпуса, отличающийся тем, что на конце шнека со стороны матрицы выполнены направляющие канавки, а на конце внутренней поверхности корпуса со стороны матрицы выполнена винтовая нарезка, причем направление винтовой нарезки на внутренней поверхности корпуса противоположно направлению винтовой нарезки на шнеке.
РИСУНКИ
MM4A – Досрочное прекращение действия патента СССР или патента Российской Федерации на изобретение из-за неуплаты в установленный срок пошлины за поддержание патента в силе
Дата прекращения действия патента: 13.04.2008
Извещение опубликовано: 20.04.2010 БИ: 11/2010
|
|