|
|
(21), (22) Заявка: 2006108613/09, 07.03.2006
(24) Дата начала отсчета срока действия патента:
07.03.2006
(46) Опубликовано: 20.09.2007
(56) Список документов, цитированных в отчете о поиске:
GB 2303465, 19.02.1997. RU 2262215 C1, 10.10.2005. RU 2043222 C1, 10.09.1995. RU 22643 U1, 20.04.2002. RU 2248681 C2, 20.03.2005. FR 2695789, 18.03.1994. WO 9962303, 02.12.1999.
Адрес для переписки:
420015, Республика Татарстан, г.Казань, ул. К. Маркса, 68, ГОУ ВПО “Казанский государственный технологический университет”, патентный отдел
|
(72) Автор(ы):
Галяутдинов Рафаэль Тагирович (RU), Кашапов Наиль Фаикович (RU), Лучкин Григорий Сергеевич (RU)
(73) Патентообладатель(и):
Государственное образовательное учреждение высшего профессионального образования “Казанский государственный технологический университет” (RU)
|
(54) ЗЕРКАЛО С ОБОГРЕВОМ
(57) Реферат:
Изобретение относится к конструкции зеркал с обогревом, применяемых в качестве автомобильных зеркал, обеспечивающих безопасность эксплуатации транспортных средств, и может быть использовано на всех видах транспорта, а также в качестве зеркальных нагревательных панелей для обогрева помещений. Техническим результатом является создание зеркала с обогревом с большим значением коэффициента отражения. Сущность изобретения состоит в том, что в зеркале с обогревом, содержащем стеклянную подложку, с тыльной ее стороны отражающий слой из алюминия и электрические контакты, отражающий слой выполнен из алюминия толщиной 100-300 нм, на отражающем слое дополнительно расположен барьерный слой из оксида алюминия толщиной 2-3 нм, а на барьерном слое расположен токопроводящий слой из оксида олова толщиной 150-250 нм, на котором расположены контакты. 2 ил.
Изобретение относится к конструкции зеркал с обогревом, применяемых в качестве автомобильных зеркал, обеспечивающих безопасность эксплуатации транспортных средств, и может быть использовано на всех видах транспорта, а также в качестве зеркальных нагревательных панелей для обогрева помещений.
Обогрев внешнего автомобильного зеркала актуален для территорий с влажным и холодным климатом, поскольку является эффективным и универсальным средством, позволяющим удалять с поверхности зеркала не только капли воды, но и иней, снег и лед, а также препятствует обмерзанию зеркала при движении автомобиля в холодное время года.
Известно зеркало с обогревом, содержащее непроводящую подложку с отражающим слоем, нанесенным на ее тыльной стороне, причем отражающий слой выполнен из чистого хрома и оксида хрома, соотношение хрома и оксида хрома выбрано так, чтобы сопротивление слоя рассеивало приложенную внешним источником электрическую энергию требуемым образом, см. патент FR 2695789, МПК Н05В 3/84, 1994.
Недостатками известного зеркала являются невысокий коэффициент отражения, который в области спектра 0,4÷0,7 мкм не превышает 50%, необходимость соблюдения заданной пропорции содержания чистого хрома и оксида хрома.
Известно зеркало с обогревом, содержащее стеклянную подложку с отражающим проводящим слоем из нержавеющей стали на ее тыльной стороне, отражающий слой выполнен в вакуумной камере магнетронным напылением нержавеющей стали, см. патент RU 2248681, МПК Н05В 3/84, 2003.
Недостатком представленного зеркала является недостаточно высокий коэффициент отражения, составляющий 50-65% в области спектра 0,4÷0,7 мкм.
Известно зеркало с обогревом, содержащее стеклянную подложку, отражающий слой и электрические контакты, расположенные на внешней стороне подложки, причем отражающий слой, одновременно являющийся токопроводящим, выполнен из нержавеющей стали, и на ее поверхности расположено двухслойное покрытие, которое выполнено из оксида алюминия и оксида титана, см. патент RU 2262215, МПК Н05В 3/84, 2004.
Недостатком известного зеркала является недостаточно высокий коэффициент отражения, составляющий 70-80% в области спектра 0,4÷0,7 мкм.
Наиболее близким по технической сущности является зеркало с обогревом, содержащее стеклянную подложку и отражающий алюминиевый слой толщиной 10 мкм на ее тыльной поверхности. Алюминиевый слой разделен серией параллельных диэлектрических линий, образуя лабиринтообразную полосу шириной 1 мм. С двух сторон полосы алюминиевого слоя расположены электрические контакты, см. патент GB 2303465, МПК Н05В 3/84, 1995.
Недостатком известного зеркала является, во-первых, отражающий слой разделен линиями, что ухудшает качество отражаемого изображения и уменьшает величину коэффициента отражения, величина которого не превышает 80%, во-вторых, невысокая механическая прочность отражающего алюминиевого слоя.
Технической задачей изобретения является создание зеркала с обогревом с большим значением коэффициента отражения.
Техническая задача решается тем, что в зеркале с обогревом, содержащем стеклянную подложку, с тыльной ее стороны отражающий слой из алюминия и электрические контакты, отражающий слой выполнен из алюминия толщиной 100-300 нм, на отражающем слое дополнительно расположен барьерный слой из оксида алюминия толщиной 2-3 нм, а на барьерном слое расположен токопроводящий слой из оксида олова толщиной 150-250 нм, на котором расположены контакты.
Решение технической задачи позволяет увеличить коэффициент отражения зеркала с обогревом до 85%.
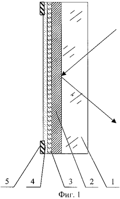
На фиг.1 схематически представлено в разрезе заявляемое зеркало. Оно состоит из стеклянной подложки 1, отражающего слоя из алюминия 2, барьерного слоя из оксида алюминия 3, токопроводящего слоя из оксида олова 4 и двух электрических контактов 5, причем рассеиваемая мощность на зеркале составляет от 2 до 20 Вт. Наличие барьерного слоя оксида алюминия обеспечивает надежную электрическую изоляцию токопроводящего слоя от отражающего. Заявляемое зеркало с обогревом нагревается за 3-7 секунд до 20°С, обеспечивая быстрое удаление влаги с поверхности зеркала, его коэффициент отражения составляет 83-85% в видимой области спектра 0,4÷0,7 мкм.
Изготовление зеркала ведут в вакуумной камере магнетронным распылением. Подложку предварительно обезжиривают и помещают в вакуумную камеру, из которой откачивают воздух до давления Pост=2,6·10-3 Па. Затем осуществляют напуск аргона до давления Р=0,2-0,3 Па. Подложку закрывают заслонкой и зажигают разряд на магнетроне с мишенью из алюминия. Происходит удаление оксидной пленки с поверхности мишени в течение 5 минут горения разряда, после чего заслонку убирают и напыляют на подложку с тыльной ее стороны отражающий слой из алюминия толщиной 100-300 нм. По окончании напыления алюминия в вакуумную камеру подают кислород до давления Р=0,1-0,3 Па. В атмосфере кислорода на поверхности металлического алюминия формируют сплошную, непроводящую электрический ток, беспористую пленку оксида алюминия толщиной 2-3 нм, играющую роль барьерного слоя между алюминиевым и токопроводящим слоями. Через три минуты подачу кислорода прекращают и из вакуумной камеры откачивают воздух до давления Рост=2,6·10-3 Па. В вакуумную камеру подают смесь газов аргона и кислорода. При давлении Р=0,2-0,3 Па на поверхность барьерного слоя проводят напыление токопроводящего слоя из оксида олова толщиной 150-250 нм.
Заявляемое зеркало с обогревом имеет коэффициент отражения R до 85% в видимой области спектра 0,4÷0,7 мкм. Спектральная зависимость отражения заявляемого зеркала представлена на фиг.2.
Данное изобретение иллюстрируется следующими примерами конкретного исполнения.
Пример 1. Зеркало размером 100 мм на 190 мм, подключенное к источнику тока напряжением 12 В, потребляет около 2 Вт, толщина слоя алюминия составляет 300 нм, оксида алюминия составляет 3 нм, толщина слоя оксида олова составляет 250 нм, коэффициент отражения такого зеркала составляет 85%.
Пример 2. Зеркало размером 100 мм на 360 мм, подключенное к источнику тока напряжением 12 В, потребляет около 20 Вт, толщина слоя алюминия составляет 100 нм, оксида алюминия составляет 2 нм, толщина слоя оксида олова составляет 150 нм, коэффициент отражения такого зеркала составляет 83%.
Заявляемое техническое решение просто в изготовлении и удобно при использовании его на транспортных средствах, т.к. позволяет быстро удалять конденсат при сохранении высокого коэффициента отражения. Наличие барьерного слоя оксида алюминия обеспечивает надежную электрическую изоляцию токопроводящего слоя от отражающего слоя и обеспечивает стабильность выделения рассеиваемой мощности на зеркале. Расположение слоев на тыльной стороне подложки обеспечивает высокую устойчивость к механическим и климатическим воздействиям в жестких условиях эксплуатации транспортных средств.
Заявляемое техническое решение может быть использовано в качестве зеркальных нагревательных панелей для обогрева помещений.
Решение технической задачи позволяет увеличить коэффициент отражения зеркала с обогревом до 85% в видимой области спектра 0,4÷0,7 мкм. Рассеиваемая мощность на зеркале составляет от 2 до 20 Вт при источнике напряжением 12 В.
Формула изобретения
Зеркало с обогревом, содержащее стеклянную подложку, с тыльной ее стороны отражающий слой из алюминия и электрические контакты, отличающееся тем, что отражающий слой выполнен из алюминия толщиной 100-300 нм, на отражающем слое дополнительно расположен барьерный слой из оксида алюминия толщиной 2-3 нм, а на барьерном слое расположен токопроводящий слой из оксида олова толщиной 150-250 нм, на котором расположены контакты.
РИСУНКИ
|
|