|
| На основании пункта 3 статьи 13 Патентного закона Российской Федерации от 23 сентября 1992 г. № 3517-I патентообладатель обязуется передать исключительное право на изобретение (уступить патент) на условиях, соответствующих установившейся практике, лицу, первому изъявившему такое желание и уведомившему об этом патентообладателя и федеральный орган исполнительной власти по интеллектуальной собственности, – гражданину РФ или российскому юридическому лицу. |
|
(21), (22) Заявка: 2006104777/09, 15.02.2006
(24) Дата начала отсчета срока действия патента:
15.02.2006
(46) Опубликовано: 20.09.2007
(56) Список документов, цитированных в отчете о поиске:
RU 2112323 C1, 27.05.1998. RU 2030842 C1, 10.03.1995. RU 2097940 С1, 27.07.2001. RU 2093970 С1, 20.10.1997. SU 964665, 07.11.1982. RU 2191407 С2, 20.10.2002. SU 995377, 07.02.1983. US 4979030 А, 18.12.1990. US 2003/0011751 А1, 16.01.2003. WO 01/33866 А1, 10.05.2001.
Адрес для переписки:
215100, Смоленская обл., г. Вязьма, ул. Пушкина, 22, кв.38, Б.И. Волкову
|
(72) Автор(ы):
Волков Борис Иванович (RU)
(73) Патентообладатель(и):
Волков Борис Иванович (RU)
|
(54) ЦИФРОВОЙ МОНИТОР
(57) Реферат:
Изобретение относится к аппаратным средствам персонального компьютера и может быть использовано как монитор в персональном компьютере. Технический результат – увеличение усредненной яркости изображения на экране в 49920 раз, достигаемое одновременной разверткой половиной активной части строк кадра с повтором их за кадр 130 раз – достигается тем, что в цифровой монитор вводятся второй триггер три накопителя кодов нечетного кадра, три накопителя кодов четного кадра, блок модуляции излучений выполняется из соответствующего числа каналов, каждые из которых содержат последовательно расположенные излучатель трех основных цветов, микрообъектив и фокусирующий конус световода. 7 ил., 2 табл.
Изобретение относится к аппаратным средствам персонального компьютера и может быть использовано как монитор в персональном компьютере (ПК).
Прототипом принят цифровой монитор [1], содержащий элемент И, с первого по десятый ключи, делитель частоты, триггер, с первого по шестой накопители кодов строки сигналов R, G, В, три блока импульсных усилителя, блок модуляции излучения, первые усилитель и первый пьезодефлектор с отражателем на торце, второй усилитель и втором пьезодефлектор с отражателем на торце, четыре источника опорных напряжения, проекционный объектив, матовый экран, блоки строчной и кадровой разверток. Недостатком прототипа является развертка кадра одной строкой, а так как луч безинерционен и матовый экран не имеет излучающего покрытия, то яркость изображения на экране явно будет недостаточной.
Цель изобретения – увеличить яркость воспроизводимого изображения. Техническим результатом является увеличение усредненной яркости изображения на экране в 49920 раз, которая достигается разверткой кадра одновременно 384 строками с повтором их развертки за кадр 130 раз (384×130). Воспроизведение цветного изображения выполняется на экране монитора 384 строками при 70 кадрах в секунду. С соответствующих выходов видеоадаптера ПК рабочая частота, строчные и кадровые синхроимпульсы и последовательные коды сигналов R, G, В поступают на 1-3 управляющие входы и с первого по третий информационные входы цифрового монитора.
Изображение на экране воспроизводится электронно-оптической разверткой промодулированными по яркости излучениями 384 излучателей трех основных цветов R, G, В. Сущность заявляемого изобретения в том, что в цифровой монитор, содержащий элемент И, соответствующее число ключей, делитель частоты, три блока импульсных усилителей, блок модуляции излучений, блок строчной развертки, первый усилитель и пьезодефлектор с отражателем на торце, второй усилитель и второй пьезодефлектор с отражателем на торце, проекционный объектив и матовый экран, введены второй триггер, три накопителя кодов нечетного кадра и три накопителя кодов четного кадра, блок модуляции излучений выполнен из соответствующего числа каналов, каждый из которых содержит последовательно расположенные излучатель трех основных цветов, микрообъектив и фокусирующий конус световода (фокон).
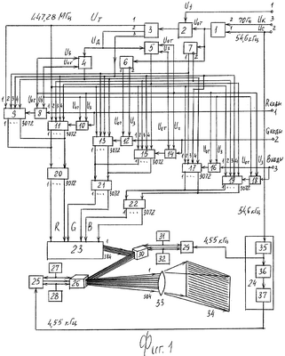
Функциональная схема цифрового монитора показана на фиг.1, развертка растра на экране и формы управляющих напряжений – на фиг.2, накопитель кодов нечетного (четного) кадра – на фиг.3, блок регистров – на фиг.4 и 5, блок модуляции излучений – на фиг.6, конструкция пьезодефлектора – на фиг.7.
Цифровой монитор включает (фиг.1) последовательно соединенные элемент И, первый ключ 2, делитель 3 частоты и второй ключ 4, третий ключ 5, первый триггер 6, второй триггер 7, последовательно соединенные соответственно четвертый ключ 8 и первый накопитель 9 кодов нечетного кадра R, пятый ключ 10 и первый накопитель 11 кодов четного кадра R, шестой ключ 12 и второй накопитель 13 кодов нечетного кадра G, седьмой ключ 14 и второй накопитель 15 кодов четного кадра G, восьмой ключ 16 и третий накопитель 17 кодов нечетного кадра В, девятый ключ 18 и третий накопитель 19 кодов четного кадра В, первый 20, втором 21, третий 22 блоки импульсных усилителей, блок 23 модуляции излучений, последовательно соединенные блок 24 строчной развертки, первый усилитель 25 и первый пьезодефлектор 26 с отражателем на торце, первый источник 27 положительного опорного напряжения, второй источник 28 отрицательного опорного напряжения, последовательно соединенные второй усилитель 29 и второй пьезодефлектор 30 с отражателем на торце, третий источник 31 положительного опорного напряжения, четвертый источник 32 отрицательного опорного напряжения, проекционный объектив 33, во внешней фокальной плоскости которого расположен матовый экран 34. Блок 24 строчной развертки включает последовательно соединенные делитель 35 частоты (12:1), задающий генератор 36 и выходной каскад 37, подключенный к входу первого усилителя 25. Первый вход второго усилителя 29 подключен к выходу делителя 35 частоты. Входы четвертого 8 ключа и пятого 10 ключа объединены и являются первым информационным входом цифрового монитора (R коды), входы шестого 12 и седьмого 14 ключей объединены и являются вторым информационным входом цифрового монитора (G коды), входы восьмого 16 и девятого 18 ключей объединены и являются третьим информационным входом цифрового монитора (В коды), первый-третий информационные входы монитора подключены к соответствующим выходам видеоадаптера в системном блоке ПК, первым вторым, третьим управляющими входами цифрового монитора являются соответственно сигнальный вход первого ключа 2, первый и второй входы элемента И 1, также подключенные к соответствующим выходам видеоадаптера ПК. Накопители 9, 13, 17 кодов нечетного кадра и накопители 11, 15, 19 кодов четного кадра идентичны (фиг.3), каждый включает входной регистр 38 и по числу половины активных строк (768:2=384) блоки 391-384 регистров. Первым управляющим входом во всех накопителях кодов являются первые (тактовые) управляющие входы их входных регистров 38, подключенные к первому выходу делителя 3 частоты, третьим и четвертым управляющими входами накопителей кодов 9, 11, 13, 15, 17, 19 являются объединенные вторые и третьи управляющие входы блоков регистров 39, подключенные соответственно к третьему и второму выходам делителя 3 частоты. Вторыми управляющими входами накопителей 9, 13, 17 кодов нечетного кадра являются первые управляющие входы первого блока 39 регистров, подключенные к первому выходу второго триггера 7, вторыми управляющим входами накопителей 11, 15, 19 кодов четного кадра являются первые управляющие входы первого блока 39 регистров, подключенные к второму выходу второго триггера 7. Выходами первых накопителей 9, 11 кодов кадра R являются выходы блоков 391-384, объединенные соответствующим образом и подключенные к соответствующим входам первого блока 20 импульсных усилителей, аналогично выходы вторых накопителей 13, 15 кодов кадра G подключены к соответствующим входам второго блока 21 импульсных усилителей и выходы третьих накопителей 17, 19 кодов кадра В – к соответствующим входам третьего блока 22 импульсных усилителей. Блоки 391-384 регистров идентичны (фиг.4 и 5), каждый включает первый 40, второй 41, третий 42, четвертый 43 ключи, с первого 44 по четвертый 47 распределители импульсов, первые восемь регистров 481-8, последовательно соединенные первый счетчик 49 импульсов и первый дешифратор 50, вторые восемь регистров 511-8, последовательно соединенные второй счетчик 52 импульсов и второй дешифратор 53. Информационными с первого по восьмой входами блока 39 регистров являются поразрядно объединенные информационные (четвертые) входы разрядов первых восьми 48 и вторых восьми 51 регистров, подключенные к 1-8 выходам входного регистра 38. Выходы разрядов в каждом регистре объединены и являются 1-8 выходами блока 39 регистров, подключенные к входам своего блока импульсных усилителей. Управляющих входов четыре: первым является первый управляющий вход первого ключа 40, подключенный к первому выходу триггера 7 (фиг.1), вторым – являются объединенные сигнальные входы второго и четвертого ключей 41 и 43, подключенный к третьему выходу делителя 3 частоты, третьим являются объединенные сигнальные входы первого 40 и третьего 42 ключей, подключенный к второму выходу делителя 3 частоты, четвертым является первый управляющий вход второго ключа 41, подключенный через диод к первому управляющему выходу в последнем блоке 39384. Блок 23 модуляции излучений (фиг.6) выполнен из 384-х каналов, каждый из которых включает последовательно расположенные излучатель 54 трех основных цветов (R, G, В), микрообъектив 55 и фокусирующий конус световода 56 (фокон) [2, с.77]. Входами блока 23 являются входы излучателей 541-384, подключенные к выходам блоков 20, 21, 22 импульсных усилителей. Микрообъективы 551-384 вводят излучения излучателей 54 во входные окна фоконов 561-384. Выходные торцы фоконов 56 образуют вертикальную линейку и проецируют на отражатель пьезодефлектора 30 (фиг.1) 384 цветовых круга, каждый диаметром 0,02 мм. Выходные окна фоконов расположены по вертикали с шагом в 0,02 мм, проекции на отражателе также располагаются с шагом в 0,02 мм. Длина отражателя пьезодефлектора 30 составляет 15,36 мм (768×0,02 мм). Излучающие плоскости излучателей 54 находятся в задних фокальных плоскостях микрообъективов 55, в передних фокальных плоскостях которых расположены входные окна фоконов 56. Излучающие стороны излучателем 54 через объективы 55, фоконы 56 и отражатель пьезодефлектора 30 оптически соединены с отражателем пьезодефлектора 26, расположенным в задней фокальной плоскости проекционного объектива 33, во внешней фокальной плоскости которого расположен матовый экран 34. Каждый излучатель 54 является матрицей из 24 светодиодов. В составе матрицы 8 светодиодов красного излучения, 8 – зеленого и 8 – синего. Свободный торец с отражателем 30 совершает колебания с амплитудой 0,02 мм относительно плоскости отражателя пьезодефлектора 26 по управляющему сигналу с второго усилителя 29, формирующего стравляющие импульсы соответствующей амплитуды и длительности, частота их 4,55 кГц, длительность соответствует периоду строки 109,89 мкс (фиг.2), форма сигналов меандр. Пьезодефлектор 26 выполняет строчную развертку растра. Пьезодефлекторы 26 и 30 выполнены одинаково (фиг.7) из первой 57 и второй 58 пьезопластин, внутреннего электрода 59, первого 60 и второго 61 внешних электродов. Один конец пьезопластин закреплен в держателе 62, на свободном торце расположен световой отражатель 63. Частота колебаний пьезодефлектора 26: 54,6 кГц:12=4,55 кГц, 12 – коэффициент деления частоты 54,6 кГц делителем 35. Делитель 3 частоты выдает с первого выхода тактовые импульсы частотой 447,2832 МГц для заполнения входных регистров 38 последовательными кодами с информационных 1-3 входов монитора:
fТ=780×70 Гц×1024×8разр=447,2832 МГц,
где: 780 – число строк в кадре, 70 – частота кадров,
1024 – число отсчетов в строке, 8 – число разрядов в коде.
С второго выхода делителя 3 частоты идут импульсы дискретизации Uд кодов 55,9104 МГц, с третьего выхода импульсы 9,3184 МГц, являющиеся сигналами Uвых выдачи кодов из регистров 48, 51 блоков 39 регистров.
fд=780×70 Гц×1024=55,9104 МГц. Частота строчное развертки, поступающая с видеоадаптера ПК на втором управляющий вход монитора, 54,6 кГц (780×70 Гц). Длительность, поступающего с видеоадаптера ПК, кадра 14,286 мс . Длительность строки: 14286 мкс:780строк=18,315 мкс.
Длительность кадра, воспроизводимого на экране 34, также 14,286 мс. Частота строк на экране 34 fc=54,6 кГц:6=9,1 кГц, длительность строки в кадре на экране 34:18,315 мкс×6=109,89 мкс. Число повторов развертки строк за длительность кадра на экране: 14268 мкс:109,89 мкс=130 раз. Делитель 35 частоты выполняет деление частоты 54,6 кГц 12:1. Импульсы частотой 4,55 кГц идут на вход задающего генератора 36, из которых генератор 36 формирует прямоугольные импульсы с периодом следования двух строк 219,78 мкс (109,89×2), поступающие в выходной каскад 37, формирующий управляющее напряжение треугольной формы (фиг.2) с периодом 219,78 мкс, поступающее на вход усилителя 25. Усилитель 25 усиливает управляющее напряжение до необходимой величины, которое поступает на внутренний электрод 59 пьезодефлектора 26. На внешние электроды 60, 61 поступают соответствующие напряжения с источников 27, 28 опорных напряжений. Торец пьезодефлектора 26 приходит в колебательное движение с частотой 4,55 кГц и производит развертку одновременно 384 сначала нечетных строк при движении слева направо, при движении справа налево развертку 384 строк четных (фиг.2). После развертки нечетных строк торец с отражателем пьезодефлектора 30 по управляющему сигналу с усилителя 29 смещается по вертикали вниз так, что проекции лучей четных строк попадают между нечетными строками (фиг.6). За период кадра 14,286 мс пьезодефлектор 26 выполняет 65 повторов разверток 384 нечетных строк и 65 повторов разверток 384 четных строк. С приходом на входы элемента И 1 строчного и кадрового синхроимпульсов сигнал с элемента И 1 открывает первый ключ 2, остающийся открытым на все время работы монитора. Через открытый ключ 2 рабочая частота fр с соответствующего выхода ПК поступает на вход делителя 3 частоты, импульсы 70 Гц с выхода элемента И 1 поступают в триггер 7 и 6, сигнал с первого выхода которого открывает четвертый ключ 8, шестой ключ 12, восьмой ключ 16, через которые последовательные коды R, G, В с 1-3 информационных входов монитора поступают во входные регистры 38 (фиг.3) накопителей 9, 13, 17 кодов нечетных кадров, в которых за период первого кадра первые 48 и вторые 51 регистры блоков 391-384 регистров заполняются кодами первого кадра. С приходом второго кадрового синхроимпульса в триггер 7 сигнал со второго его выхода закрывает ключи 8, 12, 16 и открывает ключи 10, 14, 18, через которые коды R, G, В поступают во входные регистры 38 накопителей 11, 15, 19 кодов четного кадра, заполняя в них блоки 391-384 кодами второго (четного) кадра. Одновременно и параллельно в период второго кадра коды первого кадра выдаются с накопителей 9, 13, 17 в блоки 20, 21, 22 импульсных усилителей. Сигналы разрядов кодов, усиленные импульсными усилителями, поступают в соответствующие излучатели 541-384 и запитывают свои светодиоды. Микрообъективы вводят излучения излучателей в фоконы 56, проецирующие излучения на отражатель пьезодефлектора 30, с которого они отражаются на отражатель пьезодефлектора 26, выполняющего строчную развертку без обратных ходов (фиг.2): при повороте слева направо 384 нечетные строки, при повороте справа налево 384 четные строки. Частота строк на экране 9,1 кГц (4,55×2), длительность строки 109,89 мкс, частота повторов разверток строк за кадр 130 раз (65+65). С приходом третьего кадрового синхроимпульса в триггер 7 сигнал с его первого выхода закрывает ключи 10, 14, 18 и открывает ключи 8, 12, 16 и процессы повторяются. Каждый из блоков 20, 21, 22 содержит импульсных усилителей соответственно числу блоков 391-384 регистров и числу разрядов в коде (числу светодиодов одного цвета излучения) 384×8=3072 шт. В трех блоках их 9216 шт. Период следования кодов на входы блоков импульсных усилителя составляет 107 нс . Применяемые импульсные усилители должны иметь время срабатывания менее 107 нс, например, в микросхемах усилителей формирователей 533АП6 время срабатывания 18 нс [4, c.128]. Современные микроэлектронные технологии позволяют реализовать 9216 импульсных усилителем с нужным временем срабатывания в одном микросхеме. В излучателях 54 можно применить светодиоды фирмы “Хьюлетт-паккард” [3, c.71]. Для излучения красного цвета светодиоды HLMP-AL00 с силой света 0,4 кд [3, c.71], длиной волны 0,56 мкм при токе 0,02 А, для зеленого цвета светодиоды HLMP-AМ00 с силой света 0,8 кд, длиной волны 0,526 мкм при токе 0,02 А, для синего излучения светодиоды HLMP-АВ00 с силой света 0,3 кд, длиной волны 0,475 мкм при токе 0,02 А. Яркостная модуляция выполняется включением на излучение светодиодов соответственно весам разрядов в коде по таблице 1.
| Таблица 1 |
| № разряда в коде |
1 старший разряд |
2 |
3 |
4 |
5 |
6 |
7 |
8 младш. разряд |
| Светодиодов в разряде |
1 |
1 |
1 |
1 |
1 |
1 |
1 |
1 |
| Кратность светофильтра |
– |
2х |
4х |
8х |
16х |
32х |
64х |
128х |
| Вес разряда в коде, в % |
50% |
25 |
12,5 |
6,25 |
3,1 |
1,57 |
0,78 |
0,39% |
Яркость, насыщенность и цветовой тон результирующего цвета на экране 34 (фиг.1) определяется суммарной энергией и взаимным соотношением составляющих трех цветов R, G, В. Суммарное излучение трех цветов излучателя 54 смешивается при фокусировке микрообъективом 55 и вводится во входное окно фокона 56, который проепирует излучение на отражатель пъезодефлектора 30. Суммарная сила света одного излучателя 54 с учетом, что светодиоды всех цветов имеют силу света 0,3 кд (синего светодиода) составляет:
3×0,3 кд(1+0,5+0,25+0,125+0,0625+0,03125+0,0156+0,0078)=0,9 кд×1,992=1,7928 кд,
где: 3 – число цветов в излучателе, 0,3 кд – сила излучения синего светодиода,
1-0,0078 – коэффициенты двоичных разрядов с 1-го по 8-й.
Суммарная сила света от 384 излучателей:
384×1,7928 кд=688,4 кд.
При 130 повторах развертки строк за кадр усредненная сила света составит: 688,4 кд×130=89492 кд.
С учетом потерь на проекцию до экрана 34 в 10 раз сила излучения составит: 89492 кд:10=8949,2 кд. Разрешающим элемент на отражателе пьезодефлектора 30 принят 0,02 мм, на отражателе пьезодефлектора 26 принимается 0,03 мм. Длина отражателя пьезодефлектора составляет 23,04 мм (768×0,03 мм). Принимая кратность увеличения проекционным объективом 33 в 20 раз, размеры экрана 34 составят: по горизонтали 20×(0,03 мм×1024)=614,4 мм,
по вертикали 20×(0,03 мм×768)=460,8 мм,
по диагонали 767 мм, или 31 дюйм.
Работа накопителей 9, 11, 13, 15, 17, 19 кодов (фиг.4, 5).
Кадровый синхроимпульс с элемента И 1 открывает ключ 2, которым пропускает импульсы соответствующем рабочей частоты с системного блока персонального компьютера в делитель 3 частоты. С второго выхода делителя 3 частоты первым импульс Uд (55,9104 МГц) обнуляет разряды входного регистра 38 в накопителях 9, 13, 17. Регистры 38 заполняются первым кодом первой строки первого кадра. Следующий импульс Uд выдает код из входного регистра 38 в параллельном виде на входы блоков 391-384 регистров, а в них на четвертые (информационные) входы разрядов регистров 481-8. Импульс с первого выхода триггера 7 открывает первый ключ 40, который пропускает импульсы Uд в распределитель 44 импульсов, с 1024-й выходов которого импульсы последовательно с первого по 1024-й поступают на первые управляющие входы разрядов первый восьми регистров 481-8, и коды первой строки сигнала R заполняют регистры 481-8, причем сигналы первых разрядов кодов поступают в регистр 481 сигналы вторых разрядов кодов поступают в разряды регистра 482 и т.д., сигналы восьмых разрядов кодов поступают в разряды регистра 488. Сигнал с 1024-го выхода распределителя 44 импульсов закрывает ключ 40 и открывает ключ 42, пропускающий импульсы Uд на вход третьего распределителя 46 импульсов, выходы которого последовательно с первого по 1024-й подключены к первым управляющим входам разрядов вторых восьми регистров 511-8. Регистры 51 заполняются кодами сигналов R вторые строки первого кадра. По заполнении регистров 511-8 сигнал с 1024-го выхода распределителя 46 импульсов закрывает ключ 42 и является первым управляющим выходным сигналом во второй блок 392 регистров. В блоке 392 этот сигнал открывает первый ключ 40, и идет процесс заполнения кодами сигнала R третьей и 4-й строк первого кадра в регистрах 481-8 и 511-8. Аналогичные процессы заполнения кодами сигнала R 5 и 6, 7 и 8…767 и 768 строк идут и в блоках 393-384 регистров. Параллельно эти же процессы идут в накопителях 13 и 17 кодов нечетных кадров кодами сигналов G и В.
По заполнении кодами первого кадра накопителей 9, 13, 17 кодов нечетного кадра следует заполнение кодами накопителей 11, 15, 19 кодов второго (четного) кадра. А коды с накопителей 9, 13, 17 со всех блоков 391-384 параллельно выдаются в блоки 20, 21, 22 импульсных усилителей. Для этого управляющий сигнал с первого управляющего выхода блока 39384 поступает параллельно на четвертые управляющие входы всех 384-х блоков 39 регистров блоков 9, 13, 17, открывает второй ключ 41, который пропускает импульсы 9,3184 МГц во второй распределитель 45 импульсов, выдающий с 1-го по 1024 выходов коды первой строки с регистров 481-8 с 1-го по 1024 разряды в блок 20. По окончании выдачи кодов первой строки сигнал с 1024-го выхода распределителя 45 импульсов закрывает ключ 41, поступает счетным импульсом в счетчик 49 импульсов и открывает ключ 43, пропускающий сигналы Uвыд 9,3184 МГц в 4-й распределитель 47 импульсов, который выдает коды второй (четной) строки в последовательности от последнего 1024-го кода к первому коду из регистров 511-8. Для этого выходы распределителя 47 импульсов подключены к вторым управляющим входам разрядов регистров в обратном порядке: первый выход подключен к вторым управляющим входам в 1024-х разрядов регистров 51, а последний выход (1024-й) подключен к первым разрядам регистров 511-8. Выдача кодов всех нечетных строк с регистров 48 всех блоков 391-384 идет параллельно. Развертка 384 нечетных строк производится пьезодефлектором 26 на экране 34. Затем идет развертка 384 четных строк пьезодефлектором 26. Чередуясь, развертки повторяются по 65 раз. При поступлении 65-го счетного импульса в счетчики 49 и 52, они формируют двоичный код числа (1000001), который дешифрируется дешифраторами 50 и 53, и выдаются ими сигналы Uо на третьи управляющие входы разрядов регистров 48, 51, которые обнуляют разряды регистров 48, 51 всех блоков 391-384 накопителей 9, 13, 17 кодов нечетных кадров. Следует новый процесс накопления кодов накопителями 9, 13, 17 кодов нечетного третьего кадра, и параллельно идет процесс выдачи кодов второго кадра из накопителей 11, 15, 19 кодов четного кадра в блоки 20, 21, 22. Чередуясь, процессы накопления и выдачи кодов кадров из накопителей 9, 13, 17 кодов нечетного кадра и из накопителей 11, 15, 19 кодов четного кадра идут до выключения монитора.
Работа цифрового монитора.
В исходном состоянии все ключи находятся в закрытом состоянии. С приходом на вход элемента И 1 кадрового и строчного синхроимпульсов выходной сигнал с элемента И 1 открывает ключ 2, пропускающий рабочую частоту с системного блока ПК в делитель 3 частоты, и поступает на входы триггеров 6, 7. Импульс с первого выхода триггера 6 открывает ключи 8, 12, 16, накопители 9, 13, 17 кодов нечетного кадра заполняются кодами первого кадра соответственно сигналов R, G, В. С приходом второго сигнала 70 Гц в триггер 6 импульс с второго его выхода закрывает ключи 8, 12, 16 и открывает ключи 10, 14, 18. Следует выдача кодов первого кадра из накопителей 9, 13, 17 в блоки 20, 21, 22 импульсных усилителей и накопление кодов R, G, В второго кадра накопителями 11, 15, 19. При третьем кадре идет накопление кодов накопителями 9, 13, 17 и выдача кодов второго кадра из накопителей 11, 15, 19. Чередуясь, процессы повторяются. Усиленные импульсными усилителями блоков 20, 21, 22 сигналы разрядов кодов запитывают соответствующие светодиоды в излучателях 54, излучение которых проецируется на отражатель пьезодефлектора 30, с него на отражатель пьезодефлектора 26, выполняющего строчную развертки при повороте слева направо всех нечетных строк растра, при повороте справа налево всех четных строк растра, с повтором за кадр и тех и других по 65 раз. Проекционный объектив 33 проецирует цветное изображение на матовый экран 34 с увеличением его в 20 раз (вариант). Настройкой проекционного объектива можно уменьшать или увеличивать размеры изображения на экране. Разверткой кадра 384 строками одновременно и повтором их за кадр 130 раз выполняется цель по увеличению яркости изображения на экране. Технические характеристики цифрового монитора на таблице 2.
| Таблица 2 |
| Технические характеристики |
Значения |
| Сигналы, принимаемые с системного блока компьютера. |
|
| Частота кадров/частота строк |
70 Гц/54,6 кГц |
| Строк в кадре/активных строк в кадре |
780/768 |
| Развертка строк |
построчная |
| Развертка кадра |
с обратным ходом 0,22 мс /12 строк/ |
| Длительность кадра |
14,286 мс  |
| Длительность строки |
18,315 мкс  |
| Кодируемых отсчетов в строке |
1024 |
| Частота дискретизации видеосигналов |
55,9104 МГц /780×70×1024/ |
| Кодирование видеосигналов |
8 разрядов |
| Период следования кодов |
17,88 нс  |
| Разрешение кадра |
786432 элем /768×1024/ |
| Воспроизведение монитором |
|
| Длительность кадра |
14,286 мс |
| Тактовая частота |
447,28 МГц /780×70×1024×8/ |
| Частота кадров/активных строк в кадре |
70 Гц/768 |
| Развертка кадра |
Одновременно 384-я строками |
| Дискретизация видеосигналов |
55,9104 МГц |
| Отсчетов в строк |
1024 |
| Длительность строки |
109,89 мкс  |
| Повторы развертки строк за кадр |
130 раз |
| Частота строк за кадр |
9,1 кГц |
| Длительность следования кодов |
107 нс |
| Максимальная сила излучения от отражателя пьезодефлектора 26 |
8949 кд |
| Разрешение в кадре |
786432 /768×1024/ |
Источники информации
1. Патент №2265286, кл. Н04N 9/18, бюл.33 от 27.11.05 г. прототип.
2. Л.М.Кучекян. Световоды, М., 1973, с.77.
3. “Радио” №7, 1998, c.71.
4. М.И.Богданович, И.Н.Грель, В.А.Прохоренко. Цифровые интегральные микросхемы. Справочник, Минск, 1991, с.128.
Формула изобретения
Цифровой монитор, содержащий последовательно соединенные элемент И, первый ключ, делитель частоты и второй ключ, третий ключ, вход которого подключен к входу второго ключа, первый триггер, первым, вторым и третьим управляющими входами цифрового монитора являются соответственно сигнальный вход первого ключа, первый и второй входы элемента И, первым, вторым и третьим информационными входами являются соответственно объединенные входы четвертого и пятого ключей, шестого и седьмого ключей, восьмого и девятого ключей, первый выход первого триггера подключен к первым управляющим входам третьего, четвертого, шестого и восьмого ключей, к вторым управляющим входам второго, пятого, седьмого и девятого ключей, второй выход первого триггера подключен к вторым управляющим входам третьего, четвертого, шестого и восьмого ключей и к первым управляющим входам второго, пятого, седьмого и девятого ключей, содержащий первый, второй, третий блоки импульсных усилителей, последовательно соединенные блок строчной развертки, вход которого подключен к первому входу элемента И, первый усилитель и первый пьезодефлектор с отражателем на торце, первый источник положительного опорного напряжения, выход которого подключен к вторым входам первого усилителя и первого пьедефлектора, второй источник отрицательного опорного напряжения, выход которого подключен к третьим входам первого усилителя и первого пъезодефлектора, блок строчной развертки содержит последовательно соединенные делитель частоты, задающий генератор и выходной каскад, последовательно соединенные второй усилитель, первый вход которого подключен к выходу делителя частоты в блоке строчной развертки, и второй пьезодефлектор с отражателем на торце, третий источник положительного опорного напряжения, выход которого подключен к вторым входам второго усилителя и второго пъезодефлектора, четвертый источник отрицательного опорного напряжения, выход которого подключен к третьим входам второго усилителя и второго пьезодефлектора, проекционный объектив, в задней фокальной плоскости которого расположен отражатель первого пьезодефлектора, оптически соединенный с отражателем второго пьезодефлектора, и во внешней фокальной плоскости проекционного объектива расположен матовый экран, отличающийся тем, что в него введены второй триггер, вход которого подключен к выходу элемента И, первый, второй и третий накопители кодов нечетного кадра, первый, второй и третий накопители кодов четного кадра, первый выход делителя частоты подключен параллельно к первым /тактовым/ входам первого, второго, третьего накопителей кодов нечетного кадра и первого, второго, третьего накопителей кодов четного кадра, первый выход второго триггера подключен параллельно к вторым управляющим входам с первого по третий накопителей кодов нечетного кадра, второй выход второго триггера подключен параллельно к вторым управляющим входам с первого по третий накопителей кодов четного кадра, третьи управляющие входы накопителей кодов нечетного кадра и накопителей кодов четного кадра объединены и подключены к третьему выходу делителя частоты, четвертые управляющие входы первого, второго, третьего накопителей кодов нечетного кадра объединены и подключены к выходу второго ключа, четвертые управляющие входы первого, второго, третьего накопителей кодов четного кадра объединены и подключены к выходу третьего ключа, информационный вход первого накопителя кодов нечетного кадра подключен к выходу четвертого ключа, информационный вход первого накопителя кодов четного кадра подключен к выходу пятого ключа, выходы первого накопителя кодов нечетного кадра и выходы первого накопителя кодов четного кадра соответствующим образом объединены и подключены к входам первого блока импульсных усилителей, информационный вход второго накопителя кодов нечетного кадра подключен к выходу шестого ключа, информационный вход второго накопителя кодов четного кадра подключен к выходу седьмого ключа, выходы второго накопителя кодов нечетного кадра и выходы второго накопителя кодов четного кадра соответствующим образом объединены и подключены к входам второго блока импульсных усилителей, информационный вход третьего накопителя кодов нечетного кадра подключен к выходу восьмого ключа, информационный вход третьего накопителя кодов четного кадра подключен к выходу девятого ключа, выходы третьего накопителя кодов нечетного кадра и выходы третьего накопителя кодов четного кадра соответствующим образом объединены и подключены к входам третьего блока импульсных усилителей, блок модуляции излучений выполнен из соответствующего числа каналов, каждый из которых включает последовательно расположенные излучатель трех основных цветов, включающий соответствующее число светодиодов R, G, В, микрообъектив и фокусирующий конус световода /фокон/, входами блока являются входы излучателей трех основных цветов, подключенные к соответствующим выходам блоков импульсных усилителей, излучающие плоскости излучателей трех основных цветов находятся в задних фокальных плоскостях микрообъективов, в передних фокальных плоскостях которых находятся входные окна фокусирующих конусов световодов, выходные окна которых через отражатель второго пьезодефлектора, отражатель первого пьезодефлектора и проекционный объектив оптически соединены с матовым экраном, первый, второй, третий накопители кодов нечетного кадра и первый, второй, третий накопители кодов четного кадра идентичны, каждый содержит входной регистр, вход которого является информационным входом накопителя кодов нечетного /четного/ кадра, и блоки регистров по числу половины активных строк кадра, первым управляющим /тактовым/ входом накопителя кодов нечетного кадра и накопителя кодов четного кадра является первый управляющий вход входного регистра, вторым управляющим входом является первый управляющий вход первого блока регистров, третьим – объединенные вторые управляющие входы всех блоков регистров, четвертым – объединенные третьи управляющие входы всех блоков регистров и второй управляющий вход входного регистра, выходами каждого накопителя кодов нечетного кадра и каждого накопителя кодов четного кадра являются с первого по восьмой выходы блоков регистров, блоки регистров идентичны, каждый включает с первого по четвертый ключи, с первого по четвертый распределители импульсов, первые восемь регистров, последовательно соединенные первый счетчик импульсов и первый дешифратор, вторые восемь регистров, последовательно соединенные второй счетчик импульсов и второй дешифратор, информационными входами блока регистров являются поразрядно объединенные четвертые /информационные/ входы разрядов первых и вторых восьми регистров, подключенные к выходам с первого по восьмой входного регистра, выходы разрядов в каждом регистре объединены и являются с первого по восьмой выходами блока регистров, подключенные к соответствующим входам соответствующего блока импульсных усилителей, управляющих входов четыре: первый – первый управляющий вход первого ключа в первом блоке регистров, подключенный к первому выходу второго триггера, в остальных блоках регистров первый управляющий вход первого ключа каждого последующего блока регистров подключен к первому управляющему выходу каждого предыдущего блока регистров, в последнем блоке регистров первый отравляющий выход подключен параллельно к четвертым отправляющим входам всех блоков регистров, вторым управляющим входом являются объединенные сигнальные входы второго и четвертого ключей, подключенные к третьему выходу делителя частоты цифрового монитора, третьим управляющим входом являются объединенные сигнальные входы первого и третьего ключей, подключенные к второму выходу делителя частоты, четвертым является первый управляющий вход второго ключа, через диод подключенный к первому управляющему выходу в последнем блоке регистров, выход первого ключа подключен к входу первого распределителя импульсов, выходы которого последовательно с первого по 1024-й подключены к первым управляющим входам разрядов первых восьми регистров, последний его выход /1024/ подключен к второму управляющему входу первого ключа и к первому управляющему входу третьего ключа, выход второго ключа подключен к входу второго распределителя импульсов, выходы которого последовательно с первого по 1024-й подключены к вторым управляющим входам разрядов первых восьми регистров, последний его выход /1024/ подключен к входу первого счетчика импульсов и через диод – к второму управляющему входу второго ключа и к первому управляющему входу четвертого ключа, выход первого дешифратора подключен к третьим управляющим входам разрядов первых восьми регистров и через диод – к второму управляющему входу второго ключа, выход третьего ключа подключен к входу третьего распределителя импульсов, выходы которого последовательно с первого по 1024-й подключены к первым управляющим входам разрядов вторых восьми регистров, последний его выход /1024/ подключен к второму управляющему входу третьего ключа и является первым управляющим выходом блока регистров, подключенный к первому управляющему входу первого ключа в следующем блоке регистров, выход четвертого ключа подключен к входу четвертого распределителя импульсов, выходы которого с первого по 1024-й подключены к вторым управляющим входам разрядов в последовательности с последнего разряда /1024/ вторых восьми регистров к их первому разряду, последний выход /1024/ четвертого распределителя импульсов подключен к входу второго счетчика импульсов, через диод – к второму управляющему входу четвертого ключа, и через диод к первому управляющему входу второго ключа, выход второго дешифратора подключен к третьим управляющим входам разрядов вторых восьми регистров и через диод – к второму управляющему входу четвертого ключа, каждый блок импульсных усилителей содержит импульсных усилителей по числу блоков регистров в накопителе кодов нечетного /четного/ кадра и числу разрядов в коде.
РИСУНКИ
|
|