|
(21), (22) Заявка: 2006114417/09, 28.04.2006
(24) Дата начала отсчета срока действия патента:
28.04.2006
(46) Опубликовано: 20.09.2007
(56) Список документов, цитированных в отчете о поиске:
RU 2160962 C2, 20.12.2000. RU 2119253 С1, 20.09.1998. GB 2378106 A, 29.01.2003.
Адрес для переписки:
109377, Москва, ул. 1-я Новокузьминская, 20, корп.3, кв.106, К.И.Гутину
|
(72) Автор(ы):
Гутин Клавдий Иосифович (RU), Цагарейшвили Северьян Александрович (RU), Литвин Юрий Аркадьевич (RU), Новиков Владимир Андреевич (RU), Козин Николай Константинович (RU), Цагарейшвили Александр Северянович (RU), Цагарейшвили Нико Северянович (RU), Антия Джумбер Александрович (RU)
(73) Патентообладатель(и):
Гутин Клавдий Иосифович (RU)
|
(54) ПЕРЕДАТЧИК ГУТИНА К.И. ВВОДА ТОКОВ СИГНАЛОВ В ТРЕХФАЗНУЮ ЭЛЕКТРИЧЕСКУЮ СЕТЬ
(57) Реферат:
Изобретение относится к области электротехники и может быть использовано для преобразования напряжения 220 В, 50 Гц в ток заданной амплитуды и частоты, который вводят в фазы В и С трехфазной линии электропередачи без ее обработки высокочастотными заградителями. Достигаемый технический результат: снижение потребляемой мощности генератором в 3,5 раза; устранение «паразитных» токов на частотах f0±300 Гц; f0±600 Гц; изъят из схемы генератора воздушный трансформатор; вместо трансформатора используют воздушную катушку индуктивности; элементы ключа генератора находятся не под выпрямленным линейным напряжением 380 В, а под выпрямленным фазным напряжением 220 В. 2 ил.
Изобретение относится к электротехнике и может найти применение при организации каналов связи с использованием трехфазных линий электропередачи. Достигаемый технический результат:
1. Снижение потребляемой мощности передатчиком в 3,5 раза по сравнению с прототипом при одних и тех же основных параметрах.
2. Устранены «паразитные» токи на частотах f0±300 Гц и f0±600 Гц.
3. Изъят из схемы воздушный трансформатор, в котором трудно получить коэффициент связи, близкий к единице. Вместо него используют воздушную катушку индуктивности, что значительно упрощает передатчик при изготовлении.
4. Элементы ключа находятся не под линейным напряжением 380 В, а под фазным напряжением 220 В, что удешевляет стоимость элементов передатчика.
Известен генератор с пассивно-активным способом ввода токов сигналов в трехфазную электрическую сеть (Патент РФ №2224363 С2
В данном техническом предложении генерируют два тока и , что является недостатком, т.к. требует применять двухканальный прием сигналов, что экономически нецелесообразно. Также следует отметить, что применять транзистор в данном устройстве нельзя из-за больших бросков тока в момент открытия ключа.
Известен также «Генератор Гутина К.И. ввода токов сигналов в трехфазную линию электропередачи», который принят за ПРОТОТИП (Патент РФ №2224366 С20, поэтому на приеме требуется один узкополосный фильтр, но остались недостатки:
1) большая потребляемая мощность;
2) наличие «паразитных» токов на частотах f0±300 Гц и f0±600 Гц;
3) применение воздушного трансформатора в схеме передатчика;
4) элементы ключа находятся под линейным напряжением, амплитуда которого равна 380 В· =536 В.
Сравним технические характеристики генератора, который принят за ПРОТОТИП, с техническими характеристиками генератора, который реализует заявленный способ. Принципиальная схема генератора ПРОТОТИПА приведена на фиг.1, где
1 – трансформатор 10/0,4 кВ (трансформатор);
2 – трехфазная линия электропередачи 10 кВ;
3 – трехфазная линия электропередачи 0,38 кВ (линия);
4 – трехфазный двухполупериодный выпрямительный мост (мост);
5 – катушка индуктивности (катушка), ее индуктивность – L5;
6 – конденсатор, его емкость – С6;
7 – катушка, ее индуктивность – L7;
8 – конденсатор, его емкость – C8;
9 – резистор, его сопротивление – R;
10 – управляемый ключ;
11 – блок управления.
Блок управления 11 вырабатывает импульсы для управления ключом 10, который коммутируют с частотой f0. Ключ 10 находится в замкнутом положении в промежутке времени t, где 0 t 0,25 То и в разомкнутом положении в промежутке t, где 0,25 Т0 t T0.
Параллельный контур, образованный катушкой 5 и конденсатором 6, настраивают в резонанс на частоту f0:

где L5=6,5·10-3 Гн; С6=4·10-6 Ф.
Ток сигнала вводят в две фазы линии 0,38 кВ В и С, который равен:

где Im – амплитуда тока сигнала.
В интервале времени t, где 0 t 0,25 Т0, ключ 10 замкнут и через катушку 5 протекает ток (считаем, что потенциал фазы А выше потенциала фазы В, при этом открыты затемненные диоды моста 4) по цепи:
фаза А – мост 4 – катушка 5 – резистор 9 – ключ 10 – мост 4 – фаза В.
В момент времени t, где t=0,25 Т0, катушка 5 накопила электромагнитную энергию W, которая равна:

За счет накопленной энергии W в катушке 5 в параллельном колебательном контуре L5-С6 возникнут свободные колебания на частоте f0 в интервале времени t, где 0,25 Т0 t Т0, при этом ключ 10 разомкнут.
В последовательном колебательном контуре, который образован фазой С – конденсатором 8 – катушкой 7 – фазой В, так же возникнут колебания с частотой f0, т.к. катушки 5 и 7 магнитосвязаны.
Для простоты изложения индуктивностями обмоток трансформатора 1 пренебрегаем в связи с их малостью по сравнению с индуктивностями катушек 5 и 7. Активными сопротивлениями катушек 5 и 7, а также активными сопротивлениями обмоток трансформатора 1 пренебрегаем в связи с их малостью по сравнению с активным сопротивлением резистора 9.
При вводе тока сигнала i0(t) в две фазы В и С трехфазной линии 0,38 кВ в ней будут образованы два тока симметричных составляющих на частоте f0 прямой и обратной последовательностей.
ИСХОДНЫЕ ДАННЫЕ ПАРАМЕТРОВ ПРОТОТИПА:
1) f0=1000 Гц – частота сигнала (коммутации ключа 10);
2) L=L5=L7=6,5·10-3 Гн – индуктивность катушек 5 и 7;
3) С=С6=C8=4·10-6 Ф – емкость конденсаторов 6 и 8;
4) Sтр=(400-1000) кВ А – мощность трансформатора 10/0,4 кВ;
5) R=10 Ом – сопротивление резистора 9;
6) =0,25 T0 – интервал времени замкнутого положения ключа.
Разложим в ряд Фурье трехфазное выпрямленное напряжение на выходе моста при разомкнутом ключе, между точками Т1 и Т2 (фиг.1):

В связи с тем, что амплитуда каждого последующего члена разложения в ряд Фурье (4) резко уменьшается, ограничимся тремя членами разложения:

где Um=380 =536 В – амплитуда линейного напряжения;
– постоянная составляющая выпрямленного напряжения в аналоге (индекс а);
=2 F – круговая частота;
F=50 Гц – частота промышленного напряжения;
6 =6·2 F=2 300 – шестая гармоника частоты 50 Гц;
12 =12·2 F=2 600 – двенадцатая гармоника частоты 50 Гц;
– амплитуда напряжения шестой гармоники частоты 50 Гц;
– амплитуда напряжения двенадцатой гармоники частоты 50 Гц.
Наличие в выпрямленном напряжении U(t)1-2 шестой и двенадцатой гармоник частоты 50 Гц, при работе генератора на частоте f0 вызывает образование «паразитных» токов на частотах f0±300 Гц и f0±300 Гц, которые являются помехами.
Определим амплитуду тока через ключ в момент времени t, где t=0,25T0, используя данные параметров ПРОТОТИПА:

где Una=Е0=512 В – постоянная составляющая выпрямленного трехфазного напряжения в аналоге;
R=10 Ом – сопротивление резистора 9;
L=6,5·10-3 Гн – индуктивность катушек 5 и 7;
=0,25 Т0 – время замкнутого положения ключа.
Определим потребляемую мощность при протекании тока через ключ, с учетом выражения (6)

где Im cp – средняя амплитуда тока, проходящего через ключ.
Считаем, что ток через ключ нарастает линейно, т.к. величина

В выражении (7) числитель умножается на 0,25. Это связано с тем, что ключ находится в замкнутом состоянии 025Т0, когда протекает через него ток, создавая потери мощности. Когда ключ разомкнут, потерь мощности из сети нет.
АНАЛИЗ НЕДОСТАТКОВ ПРОТОТИПА
1. Большая мощность потерь согласно выражению (7) Р=90 Вт.
2. Наличие «паразитных» токов на частотах f0±300 Гц и f0±600 Гц, которые являются помехами для работы соседних каналов связи.
3. Наличие воздушного трансформатора. Для изготовления воздушного трансформатора требуется более сложный технологический процесс по сравнению с изготовлением воздушной катушки индуктивности. Следует отметить, что трудно получить коэффициент связи между обмотками воздушного трансформатора, который бы приближался к единице.
4. В аналоге элементы ключа находятся под линейным напряжением 380 В, т.е. требуют высоковольтных элементов, что удорожает передатчик.
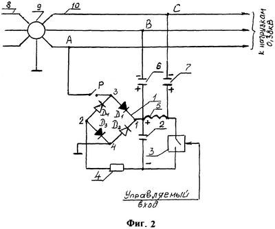
На фиг.2 приведена принципиальная схема заявленного передатчика, реализующего заявленное техническое предложение,
где Р – рубильник для подключения передатчика сети 220 В, 50 Гц;
1 – двухполупериодный выпрямительный мост на диодах Д1, Д2, Д3, Д4;
2 – электролитический конденсатор, который имеет емкость – С2;
3 – управляемый ключ;
4 – резистор, который имеет сопротивление – R;
5 – катушка индуктивности, которая имеет индуктивность – L;
6 – конденсатор, который имеет емкость – С6;
7 – конденсатор, который имеет емкость – С7
– нейтраль трансформатора 10/0,4 кВ, которая заземлена.
РАБОТА ЗАЯВЛЕННОГО ПЕРЕДАТЧИКА
Подключим рубильник к Фазе А сети 220 В, 50 Гц, в момент времени t, где t<0, при этом считаем, что в момент включения потенциал Фазы А выше, чем потенциал , при этом затемненные диоды будут открыты, ключ 3 разомкнут.
– Конденсатор 2 будет заряжаться по цепи: фаза А – диод Д1 – «плюс» конденсатора 2 – «минус» конденсатора 2 – резистор 4 – диод Д3 – .
Конденсатор 6 будет заряжаться по цепи: фаза А – диод Д1 -«плюс» конденсатора 6 – «минус» конденсатора 6 – фаза В – .
Конденсатор 7 будет заряжаться по цепи: фаза А – диод Д1 – катушка индуктивности 5 – «плюс» конденсатора 7 – «минус» конденсатора 7 – фаза С – .
После заряда конденсаторов 2, 6, 7 схема будет находиться в устойчивом состоянии, при этом напряжение на обкладках конденсаторов 2, 6, 7 равно амплитуде напряжения 220 В – Е0, где 
Управляемый ключ (ключ) начинают коммутировать с частотой f0, при этом в интервале времени t, где

ключ замкнут.
Конденсатор 2 начнет разряжаться по цепи: «плюс» конденсатора 2 – катушка индуктивности 5 – ключ – «минус» конденсатора 2.
Конденсатор 6 начнет разряжаться по цепи: «плюс» конденсатора 6 – катушка индуктивности 5 – ключ – резистор – диод Д3 – – фаза В -«минус» конденсатора 6.
Конденсатор 7 начнет разряжаться по цепи: «плюс» конденсатора 7 – ключ – резистор – диод Д3 – – фаза С – «минус» конденсатора 7;
При прохождении тока разряда конденсатора 2 катушка индуктивности 5 будет накапливать электромагнитную энергию, которая в момент времени t, где t = , будет равна:

где Im – максимальная амплитуда тока заряда, протекающего через ключ, в момент времени t= ;
L – индуктивность катушки индуктивности 5.
Значением энергии, накопленной катушкой индуктивности 5, за счет протекания тока разряда конденсатора 6 пренебрегаем, т.к. имеем:

где R – сопротивление резистора 4;
RL – активное сопротивление катушки индуктивности 5.
Величину Im определяют из выражения:

В дальнейшем мы покажем, что величина

При выполнении условия (14) имеем:

С учетом (15) выражение (13) примет вид:

где E0=220× =310 В;
– интервал замкнутого положения ключа.
В момент времени t= ключ переходит в разомкнутое положение.
За счет запасенной электромагнитной энергии в катушке индуктивности 5 в колебательном контуре возникнут свободные колебания с частотой f0 по цепи: «плюс» конденсатора 7 – «минус» конденсатора 7 – фаза С – фаза В – «минус» конденсатора 6 – «плюс» 2 конденсатора 6.
Колебательный контур настраивают в резонанс на частоту f0, где

L – индуктивность катушки 5;
C – сумма двух емкостей С6 и С7, которые включены последовательно.
Принимаем С=С6=C7, тогда имеем:

С учетом (18) выражение (17) примет вид:

Таким образом, в колебательном контуре протекает ток

РАСЧЕТ ЭЛЕМЕНТОВ СХЕМЫ ЗАЯВЛЕННОГО ПЕРЕДАТЧИКА
При расчете принимаем основные параметры
1) f0=1000 Гц – частота сигнала;
2) Е0=220 =310 В – амплитуда выпрямленного напряжения 220 В, частоты 50 Гц на обкладках конденсаторов 2, 6, 7;
3) добротность катушки индуктивности Q=10;
4) промежуток времени замкнутого состояния ключа =0,25 Т0;
5) амплитуда тока сигнала Im=17 А.
Из выражения (16) определим индуктивность катушки 5

Из (18) определим емкость конденсаторов 6 и 7

Определим активное сопротивление катушки 5 с учетом (21)

Определим величину выражения (14) с учетом (21) и (23)

При определении выражения (16) мы считали, что величина . Приняв во внимание значение (24), делаем вывод, что выражение (16) принято правильно.
Определим потребляемую мощность при протекании тока через ключ:

где Im cp=Im·0,5.
Принимаем, что амплитуда тока через ключ нарастает линейно согласно (16)
Определим коэффициент затухания е– t в выражении (20), где


С учетом (26) и (27) вычисляем:

Определим среднюю амплитуду тока за период Т0-Im ср.п

Таким образом, средний ток в колебательном контуре за период Т0-Im cp.п составит 88%, что вполне допустимо.
Резистор 4 установлен для ограничения тока разряда конденсаторов 6 и 7 через ключ, при его открытии. Принимаем сопротивление резистора 4 равным 100 Ом.
Величину емкости конденсатора 2 принимаем равной 100·10-6 Ф.
ВЫВОДЫ
1. Потребляемая мощность в новом передатчике, учитывая выражения (7) и (25), меньше в раз.
2. Устранены «паразитные» токи на частотах f0±300 Гц, f0±600 Гц.
3. Изъят из схемы передатчика воздушный трансформатор. Вместо трансформатора используют воздушную катушку индуктивности.
4. Элементы ключа находятся не под линейным напряжением 380 В, а под фазным напряжением 220 В.
Формула изобретения
Передатчик ввода токов сигналов в трехфазную линию электропередачи, содержащий трансформатор 10/0,4 кВ с заземленной нейтралью («земля» – ), двухполупериодный выпрямительный мост, собранный на диодах D1, D2, D3, D4, при этом катоды диодов D1 и D2 подключены к узлу 1, первой обкладке первого конденсатора и к первому выводу катушки индуктивности, аноды диодов D3 и D4 подключены к узлу 2, катод диода D3, и анод диода D2 подключены к узлу 4, катод диода D4 и анод диода D1 подключены к узлу 3, второй конденсатор, резистор, ключ, второй вход которого является управляемым, отличающийся тем, что в него введены рубильник, третий конденсатор, первая обкладка которого подключена к второму выводу катушки индуктивности и к первому входу ключа, выход которого подключен к второй обкладке первого конденсатора и первому выводу резистора, второй вывод которого подключен к узлу 2, первая обкладка второго конденсатора подключена к узлу 1, вторые обкладки второго и третьего конденсаторов подключены соответственно к фазам В и С линии 0,38 кВ, узел 3 подключен к входу рубильника, выход которого подключен к фазе А, узел 4 подключен к «земле».
РИСУНКИ
MM4A – Досрочное прекращение действия патента СССР или патента Российской Федерации на изобретение из-за неуплаты в установленный срок пошлины за поддержание патента в силе
Дата прекращения действия патента: 29.04.2008
Извещение опубликовано: 20.06.2010 БИ: 17/2010
|