|
|
(21), (22) Заявка: 2004125651/28, 23.01.2003
(24) Дата начала отсчета срока действия патента:
23.01.2003
(30) Конвенционный приоритет:
24.01.2002 FI 20020133
(43) Дата публикации заявки: 10.04.2005
(46) Опубликовано: 20.09.2007
(56) Список документов, цитированных в отчете о поиске:
US 5010374 A, 23.04.1991. US 6285697 A, 04.09.2001. US 5298762 A, 29.03.1994. SU 1820806 A1, 20.02.1997.
(85) Дата перевода заявки PCT на национальную фазу:
24.08.2004
(86) Заявка PCT:
FI 03/00057 (23.01.2003)
(87) Публикация PCT:
WO 03/063311 (31.07.2003)
Адрес для переписки:
129010, Москва, ул. Б.Спасская, 25, стр.3, ООО “Юридическая фирма Городисский и Партнеры”, пат.пов. Г.Б. Егоровой, рег.№ 513
|
(72) Автор(ы):
ВАЙНШТЕЙН Сергей Наумович (FI), КОСТАМОВААРА Юха (FI), ШЕСТАК Лариса Ивановна (RU), СВЕРДЛОВ Михаил Ильич (RU)
(73) Патентообладатель(и):
ОУЛУН ИЛИОПИСТО (FI)
|
(54) СПОСОБ ГЕНЕРАЦИИ ОПТИЧЕСКОГО ИЗЛУЧЕНИЯ И ИСТОЧНИК ОПТИЧЕСКОГО ИЗЛУЧЕНИЯ
(57) Реферат:
Изобретение предусматривает устройство и способ генерации оптических импульсов с использованием импульсов тока. Устройство представляет собой полупроводниковую структуру, в которой инжектор носителей отделен от оптически активной области потенциальным барьером для инжектированных носителей и для носителей с малой подвижностью в полупроводниковом элементе. Они способствуют образованию сильного электрического поля при протекании тока в оптически активной области при умеренной плотности тока до момента достижения положительного усиления. Электрическое поле расширяет спектр усиления в активном слое, тем самым подавляя положительное усиление и способствуя накоплению носителей в активном слое. Когда импульс тока прекращается, достигается положительное усиление, что создает оптическое излучение из активного слоя. Технический результат – структура, использованная в изобретении, может быть реализована на основе различных полупроводниковых материалов, что дает возможность управления длиной волны. 2 н. и 24 з.п. ф-лы, 8 ил.
Область, к которой относится изобретение
Целью настоящего изобретения является способ генерации оптического излучения и источник оптического излучения.
Описание уровня техники
В ряде современных применений, в том числе в современных радарах с высокой разрешающей способностью, при точном воспроизведении 3-мерного изображения, лазерной томографии, спектроскопии и т.д. требуются недорогие компактные и надежные источники, генерирующие мощные (10-103 Вт) одиночные оптические импульсы длительностью в несколько пикосекунд. Эти импульсы могут вырабатываться оптическими источниками на основе лазеров, например твердотельными лазерами, лазерами на красителях и полупроводниковыми (п/п) лазерными диодами. Однако во многих случаях применение твердотельных лазеров и лазеров на красителях ограничено их высокой стоимостью и габаритными размерами по сравнению с п/п лазерными диодами.
Генерация пикосекундных импульсов высокой мощности п/п лазерными диодами может быть основана на нескольких режимах работы. В режиме переключения усиления пикосекундный оптический импульс получается благодаря значительному усилению, превышающему оптические потери, что является результатом достаточно короткого переднего фронта импульса тока накачки. В этом режиме типичная величина мощности одиночного оптического импульса порядка 0,1 Вт для лазерного чипа 10×400 мкм, что удовлетворяет потребностям в некоторых областях применения. Однако этот режим предъявляет высокие требования к источникам тока, а именно: время нарастания импульса тока должно быть меньше, чем характеристическая величина задержки генерации лазера. Такие источники тока коммерчески не надежны, особенно для лазерных диодов высокой мощности.
В отличие от описанного выше режима, оптическая мощность в пикосекундном импульсе может быть существенно увеличена, если использовать лазерный диод на основе одинарной гетероструктуры (ОГС), способный работать в режиме Q-switching. Этот способ обеспечивает мощность порядка 10 Вт для лазера с размером чипа 10×400 мкм. Однако процесс работы такого лазерного диода очень сложен. Хорошо известный метод для генерации мощных пикосекундных импульсов с использованием диодных лазеров является методом ионной имплантации. Ионная имплантация может быть использована для любого типа диодных лазеров для формирования областей поглощения, которые работают как оптические затворы.
Максимально достижимая оптическая мощность в таких лазерах той же величины, что и в лазерных диодах на ОГС. Однако технология имплантации ионов достаточно сложная и дорогая, а надежность лазерных диодов находится под вопросом.
Сущность изобретения
Предмет изобретения представляет собой улучшенный способ генерации оптических импульсов и применяемый для этого способа источник оптической энергии.
Устройство состоит из источника оптического излучения для генерации оптических импульсов, который состоит из нескольких функциональных п/п элементов, а именно: первый и второй контактные слои, на которые подается электрический импульс для подвода энергии к п/п слоям между контактными слоями; активный слой и р-n переход, который инжектирует носители в направлении активного слоя, как результат воздействия электрического импульса, носители накачивают энергию в активный слой, который должен генерировать оптические импульсы в результате электрических импульсов, поданных в контактные слои; запорный слой, который расположен между активным слоем и р-n переходом; активный слой, который расположен между первым контактным слоем и запорным слоем, слои образуют потенциальные барьеры на обеих сторонах активного слоя; запорный слой предназначен для ограничения передачи неосновных носителей к активному слою с тем, чтобы во время прохождения переднего края импульса плотность носителей в активном слое была ниже уровня, необходимого для генерации оптического импульса; чистое усиление в активном слое должно быть отрицательным во время прохождения переднего фронта импульса для предотвращения генерации оптического импульса; и во время прохождения заднего фронта импульса чистое усиление в активном слое должно стать положительным и вызвать стимулированное излучение, а активный слой должен излучать оптический импульс.
Данное изобретение относится также к способу генерации оптического излучения в п/п элементах, составляющих несколько функциональных взаимосвязанных п/п структур, способ состоит из нескольких шагов: подача электрического импульса на первый и второй контактные слои для передачи энергии на п/п слои между контактными слоями; инжекция носителей с помощью электрического импульса из р-n перехода в активный слой, заряженные носители увеличивают энергию активного слоя, испуская оптический импульс из активного слоя путем накачки его энергией; п/п составляющие при этом образуют запорный слой, который расположен между активным слоем и р-n переходом; активный слой расположен между первым контактным слоем и запорным слоем, эти слои образуют потенциальные барьеры на обеих сторонах активного слоя; ограничение переноса носителей в активный слой запорным слоем таково, что во время переднего фронта импульса плотность носителей в активном слое ниже уровня, необходимого для генерации оптического импульса; предотвращение генерации оптического импульса за счет отрицательного общего усиления во время переднего фронта импульса; излучение оптического импульса в активном слое в результате положительного общего усиления в активном слое во время прохождения заднего фронта импульса.
Предпочтительные варианты реализации изобретения описаны в формуле изобретения.
В данном изобретении электрический импульс используется для накачки, а оптический импульс генерируется около заднего фронта электрического импульса. Изобретение использует специальную п/п структуру, в которой инжектор носителей отделен от оптически активной области потенциальным барьером для носителей. Эта особенность позволяет сформировать с помощью тока сильное электрическое поле в оптически активной области, исключая лазерную генерацию. Чем ниже подвижность носителей в активной области, тем меньше плотность тока, необходимая для эффективного управления усилением с помощью поля, что определяет мощную коротко импульсную генерацию излучения.
Способ, описанный в изобретении, обладает несколькими преимуществами. В соответствии с изобретением короткий оптический импульс генерируется без высоких требований к управляющей электронике, такой как драйвер тока, п/п структурой, которая может быть получена путем согласования запрещенных зон и с использованием технологии легирования. Или, другими словами, п/п структура, использованная в изобретении, может быть реализована на основе различных п/п материалов, что дает возможность управления длиной волны.
Список чертежей
Изобретение будет описано подробнее в связи с предполагаемой реализацией и со ссылкой на прилагаемые фигуры.
На фиг.1А представлена зонная диаграмма п/п элемента в соответствии с вариантом реализации изобретения.
На фиг.1В представлена зонная диаграмма п/п элемента вариантом реализации устройства в соответствии с другим вариантом реализации изобретения.
На фиг.2 представлены кривые усиления.
На фиг.3 представлен электрический импульс, подаваемый на п/п элемент устройства.
На фиг.4 показана запрещенная зона п/п элементов при прохождении переднего фронта импульса.
На фиг.5 показана запрещенная зона п/п элементов при прохождении заднего фронта импульса.
На фиг.6 показана структура п/п элементов при прохождении заднего фронта импульса.
На фиг.7А показана запрещенная зона активного слоя при наличии электрического поля в активном слое в соответствии с вариантом реализации устройства.
На фиг.7В показана запрещенная зона активного слоя в соответствии с вариантом реализации устройства.
На фиг.7С показана диаграмма зон буферного слоя в соответствии с другим вариантом реализации устройства.
На фиг.8 показана схема технологического процесса.
Описание предпочтительного варианта реализации устройства
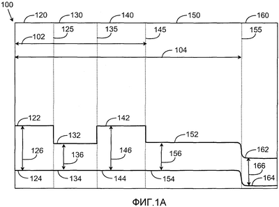
На фиг.1А показана структура п/п элемента 100 согласно варианту реализации изобретения, состоящая из нескольких легированных п/п слоев: 120 – первый контактный слой, 160 – второй контактный слой, 130 – активный слой, 140 – запорный слой.
В устройстве п/п элемент содержит буферный слой 150, расположенный между активным слоем 130 и вторым контактным слоем 160. По вертикальной оси фиг.1А отложена энергия, а по горизонтальной оси – расстояние в поперечном направлении п/п элемента, все в произвольных единицах. Энергетическая структура каждого из слоев 120, 130, 140, 150, 160 представлена дном 122, 132, 142, 152, 162 зоны проводимости и верхом 124, 134, 144, 154, 164 валентной зоны.
В каждом из слоев 120, 130, 140, 150, 160 цифрами 126, 136, 146, 156, 166 обозначена соответственно запрещенная зона или расстояние между вершинами 124, 134, 144, 154, 164 валентной зоны и дном 122, 132, 142, 152, 162 зоны проводимости.
В устройстве контактный слой 120, активный слой 130 и запорный слой 140 являются слоями с примесью р-типа, а второй контактный слой 160 является слоем n-типа. Это означает, что р-n переход 155 образован между слоем р-типа 104 и слоем n-типа 160. Электроны инжектируются в р-слой п/п элемента 100, когда этот элемент находится в прямом смещении. В этом случае электроны являются неосновными носителями в р-слое 104. Узкие потенциальные барьеры в валентной зоне внутри гетеропереходов 125, 135 и 145 не показаны на фиг.1А, т.к. эти переходы прозрачны для туннелирования носителей при плотности акцепторов порядка 1019 см-3.
Р-слой 104, показанный на фиг.1А, включает в себя контактный слой 120, активный слой 130, запорный слой 140 и буферный слой 150. Контактный слой 120, активный слой 130 и запорный слой 140 образуют структуру 102, типа двойного, гетероструктуры (ДГС), где запрещенная зона 136 активного слоя 130, образованная между контактным слоем 120 и запорным слоем 140, уже, чем запрещенная зона 126 контактного слоя 120 и запрещенная зона 146 запорного слоя 140, окружающих активный слой 130.
Однако структура 102, типа ДГС, в данном изобретении отличается от обычной структуры с двойным гетеропереходом, в которой р-n переход совпадает с одним из гетеробарьеров, а активная область специально не содержит примеси.
Электрические контакты находятся на контактных слоях 120 и 160 п/п элемента 100, и электрические импульсы могут подаваться на п/п слои или на слои другого материала, не показанного на фиг.1А. В данном изобретении существенно, что оптическое усиление в активном слое 130 может управляться электрическим полем , наведенным током, плотностью j.
Управление может осуществляться на достаточно большой плотности тока, которая, в основном, определяется его дрейфовой составляющей.

где q – заряд электрона, n и p – концентрация электронов и дырок соответственно, n, p – подвижность электронов и дырок соответственно.
В изобретении подвижность носителей составляет n1200 см2/В·с и p60 см2/В·с в сильно легированном GaAs и AlxGa1-xAs.
На фиг.2 кривые 202 и 204 характеризуют зависимость чистого усиления от энергии фотона в активном слое 130. Оно получено путем интегрирования оптического усиления по активному слою 130. Кривые 202 и 204 представляют чистое усиление. Чистое усиление учитывает полное усиление плюс оптические потери. Полное усиление получается из локального усиления, интегрированного по поперечному сечению активного слоя 130 по кривой оптической моды. Т.е. для каждой поперечной координаты значение локального усиления умножается на амплитуду оптического поля, что в дальнейшем интегрируется по пространственным координатам. Локальное оптическое усиление является коэффициентом роста плотности фотонов на единицу фотонов, проходящих в заданную точку усиливающей среды.
На вертикальной оси 212 на фиг.2 отложено чистое усиление, а по горизонтальной оси 214 – энергия фотона, все в произвольных единицах.
Горизонтальная линия 206 показывает нулевой уровень чистого усиления, выше которого активный слой 130 способен производить стимулированное индуцированное излучение, необходимое для импульсной оптической генерации. Кривая 202 показывает чистое усиление активного слоя 130, к которому приложено сильное электрическое поле. В этом случае спектр усиления очень широкий, а амплитуда усиления низкая, таким образом подавляется преждевременная генерация лазера и осуществляется накопление носителей а активном слое 130. В таком случае амплитуда усиления 208 в активном слое 130 находится ниже уровня 206, необходимого для генерации оптического импульса. Кривая 204 показывает чистое усиление во время прохождения заднего фронта импульса тока. При этом спектр усиления узкий, амплитуда усиления 210 находится выше предельного уровня 206, необходимого для генерации оптического импульса.
Согласно варианту реализации изобретения контактный слой 120 и запорный слой 140, структура 102 типа двойного гетероперехода имеют толщину примерно 12 мкм. Толщина активного слоя 130 изменяется от 2 до 10 мкм. В данном устройстве буферный слой толщиной около 5 мкм сформирован между структурой 102 типа двойного гетероперехода и р-n переходом 155 таким образом, что запрещенная зона 156 буферного слоя 150 уже, чем запрещенная зона 146 запорного слоя 140. В изобретении буферный слой имеет примеси, аналогичные активному слою 130. Запорный слой 140, т.о. образует потенциальный барьер между активным слоем 130 и буферным слоем 150, ограничивая перенос носителей к активному слою 130 и вызывая накопление носителей 153 в буферном слое 150 около перехода 145. Перенос носителей осуществляется, в основном, механизмами диффузии и дрейфа. Другая задача буферного слоя 150 состоит в формировании р-n перехода 155 с контактным слоем 160.
В изобретении перенос носителей в буферном слое 150 зависит от силы электрического импульса 300, поданного на слои 120 и 160.
В изобретении контактный слой 120, активный слой 130 и запорный слой 140 образованы на материале AlxGa1-xAs (арсенид галлия алюминия) с примесями. В изобретении активный слой 130, контактный слой 120 и запорный слой 140 легированы атомами цинка. Достаточная плотность акцепторов, однако, должна в любом случае достигать концентрации прозрачности в активном слое 130. Концентрация прозрачности составляет порядка 5·1017 см-3 в арсениде галлия. В изобретении плотность акцепторов в слоях 120, 130 и 140 составляет 1019 см-3.
В изобретении содержание алюминия “х” в контактном слое 120 и в запорном слое 140 составляет примерно 0,3, а в активном слое – примерно 0. В другом варианте “х” компонента изменяется в поперечном сечении активного слоя 130. В изобретении контактный n-слой 160 сформирован на основе материала арсенид галлия, который может иметь примесь теллура. Плотность доноров может находиться в пределах 2·1018-4·1018 см-3.
П/п структура 100 может быть выращена, например при температуре 800-850°С методом ЖФЭ (жидкофазная эпитаксия). В изобретении в слой 104 примеси вводятся во время роста, а расположение р-n перехода определяется по диффузии цинка из структуры 102 в период роста.
В данном устройстве п/п элемент 100 предназначен для ограничения подвижности носителей в соответствии с напряжением, подведенным к нему. Это может быть достигнуто путем введения примесей в п/п слои элемента 100. Точнее, путем введения примесей в слой 104, подвижность носителей ограничивается с уменьшением пиковой плотности тока и с поддержанием механизма управления усиления полем.
П/п элементы могут быть сформированы любым технологическим способом, например методом ЖФЭ, когда можно получить относительно толстые п/п слои с большим содержанием примеси.
Зонная диаграмма на фиг.1А иллюстрирует разрывы в зоне проводимости, тогда как потенциальный барьер практически отсутствует в валентной зоне для слоев 120, 130, 140 и 160.
На фиг.1В слой 104 формирует р-слой, а слой 160 формирует n-слой. Работа п/п компонент, показанная на фиг.1В, соответствует ситуации, показанной на фиг.1А. Профиль запрещенной зоны, показанный на фиг.1В, может быть получен методом зонных расчетов.
П/п элемент, сходный с теми, что показаны на фиг.1А и 2 В, может быть получен так, что слой 104 формирует n-слой, а слой 160 формирует р-слой.
Рассмотрим ситуацию, когда электрический импульс 300 в соответствии с фиг.3 подается на контактные слои 120, 160 п/п элемента 100. Горизонтальная ось 310 показывает время, а вертикальная ось 308 дает количественную оценку электрического сигнала, например, напряжение или импульс тока. Ради простоты предположим, что электрический импульс 300 является импульсом тока, и на вертикальной оси 308 показан ток в произвольных единицах.
В соответствии с вариантом реализации изобретения импульс тока 300 имеет куполообразную форму, и продолжительность импульса 300 находится в наносекундном диапазоне. Однако допустима любая форма импульса, если длительности импульса достаточно и задний фронт импульса достаточно обрывистый.
В соответствии с вариантом реализации изобретения импульс тока 300 предполагает отрицательные колебания тока после прохождения заднего фронта импульса 300. Пиковое значение плотности тока через п/п элемент 100 может колебаться в пределах от 105 до 106 А/см2 в зависимости от подвижности носителей n и p в активном слое 130 и в буферном слое 150. Например, для кристалла п/п элемента 100 размерами 400 мкм в длину и 75 мкм в ширину и с акцепторными примесями порядка 1019 см-3 в области 104, пиковое значение тока 312 порядка 50 А может оказаться достаточным для реализации управления усиления полем.
Согласно изобретению время нарастания 304 и время спада 306 электрического импульса составляют примерно 2 нсек, а полная ширина на половине от максимума импульса (FWHM) 302 составляет 5 нсек.
Между моментами времени t0 и t1 на фиг.3 ток через области 120, 130 и 140 в основном соответствует току дрейфа дырок, а в областях 150 и 160 соответственно, – току дрейфа-диффузии дырок и электронов. Средняя концентрация электронов в активном слое 130 существенно ниже концентрации прозрачности, даже локальное оптическое усиление отрицательное в каждой точке области. В момент времени t1 ток достигает значения порядка 105 А/см2, что создает электрическое поле в поперечном сечении слоев 120, 130, 140 и слева от буферного слоя 150 с достижением значения порядка 103 В/см.
На фиг.4 показана запрещенная зона п/п элемента 100 в соответствии с фиг.1А, когда ток большого значения подается на п/п элемент 100. Сильное электрическое поле вызывает накопление электронов в буферной области 150 около высокого потенциального барьера 145 до концентрации порядка 1018-1019 см-3, а концентрация дырок около барьера достигает равновесия по плотности такого же значения. Результирующая излучательная рекомбинация электронов и дырок около барьера производит фотоны 147, соответствующие величине запрещенной зоны 156 буферного слоя 150, значительная часть которых будет поглощена активным слоем 130, создавая таким образом электроны в потенциальной яме.
В соответствии с вариантом реализации изобретения буферный слой 150 обеспечивает генерирование оптического излучения 147 для оптической накачки активного слоя 130, а барьерный слой 140 является пропускающим для оптического излучения 147, генерируемого буферным слоем 150.
В изобретении контактный слой 160 существует для генерации оптического излучения 147 для оптической накачки активного слоя 130.
В соответствии с вариантом реализации изобретения запрещенные зоны 136 оптически активного слоя 130 и 156 буферного слоя 150 примерно одинаковы по величине для того, чтобы провести оптическую накачку активного слоя 130 буферным слоем 150. Запрещенные зоны 136 и 156 могут быть примерно одинаковыми при определенных примесях в активном слое 130 и в буферном слое 150. Дополнительный вклад в процесс оптической накачки активного слоя 130 внесут фотоны, которые генерируются вблизи р-n перехода 155 в областях 150 и 160. И как результат, сравнительно эффективное накопление носителей начнется в активной области 130 в момент времени t1. Однако это не вызовет излучения лазера в течение длительности импульса из-за механизма управления усиления полем. Фактически, при наличии сильного электрического поля в активном слое 130 чистое усиление 202 не будет положительным даже, если средняя плотность электронов в активном слое 130 достигнет пороговой концентрации, которая является суммой концентрации прозрачности и оптических потерь. Положительное общее усиление 204 и стимулированное излучение произойдет после того, как электрическое поле в активной области 130 значительно уменьшится в интервале времени t2 или t3.
Преимуществом данного изобретения является то, что электрический импульс 300, описанный выше, может быть генерирован относительно простой электроникой, что коммерчески доступно. Конструкция источника тока и подсоединение к п/п элементу 100 хорошо известны из уровня техники.
Ограничение дрейфа носителей и, следовательно, намеренное ограничение накачки, вызванное запорным слоем 140, играет особую роль в представляемой п/п структуре. Высота барьера и толщина запорного слоя 140 должны быть выбраны таким образом, чтобы положительное усиление и результирующий нежелательный преждевременный оптический импульс не образовались прежде, чем в активном слое 130 появилось сильное электрическое поле.
В настоящем изобретении эффективность оптической накачки активного слоя 130 благодаря оптическому излучению 147 через запорный слой 140 зависит от плотности тока накачки и от размеров п/п элемента 100 в продольном и боковом направлениях. Продольное направление 612 и боковое направление 610 показаны на фиг.6. Когда концентрация электронов в буферном слое 150 около перехода 145 достигает концентрации прозрачности, стимулированное излучение в продольном направлении 612 и в боковом направлении 610 эффективно переводит фотоны из буферного слоя 150 и из всего п/п элемента 100, снижая таким образом плотность носителей в буферном слое 150. Уменьшение концентрации носителей в буферном слое 150, в свою очередь, сократит поток фотонов в поперечном направлении, ограничивая скорость генерации носителей в активном слое 130. Влияние размеров п/п элементов на эффективность оптической накачки активного слоя 130 будет более ощутимо для продольного направления 612, чем для бокового направления, поскольку п/п зеркала приспособлены для сильных потоков фотонов в продольном направлении 612.
Поглощение оптического излучения 147 в активном слое 130 также может управляться примесями в активном слое 130. В изобретении коэффициент абсорбции оптического излучения активного слоя более 5·102 см-1 и меньше 1·104 см-1, зависит от длины волны излучения 147 и уровня легирования.
В предпочтительном варианте реализации изобретения запрещенная зона оптически активного слоя 130 и запрещенная зона буферного слоя 150 примерно равны по высоте так, чтобы буферный слой 150 обеспечил оптическую накачку активного слоя 130. В результате коэффициент поглощения активного слоя увеличивается, и оптическая накачка становится более эффективной. Запрещенные зоны 136 и 156 могут быть сделаны примерно равными соответствующим легированием активного слоя 130 и буферного слоя 150.
Поглощение оптического излучения 147 в активном слое 130 можно сделать более интенсивным, например, с помощью легирования активного слоя 130. В изобретении коэффициент поглощения оптического излучения активного слоя находится в пределах 5·102 см-1  104 см-1. Коэффициент поглощения зависит от длины волны оптического излучения 147 и материала примеси. На фиг.5 показана запрещенная зона п/п элемента 100, где электрический импульс 300 распространялся до момента времени t2, расположенного на заднем фронте импульса 300. Для ясности, момент времени t2 рассматривается как точка, где импульс прекращается. Электрическое поле в активном слое 130, вызванное импульсом тока 300, подведенным через контактные слои 120 и 160 в момент времени t2, существенно ослабевает настолько, что усиление описывается кривой 204 фиг.2. В этом случае спектр усиления активного слоя 130 существенно сужается, и результирующая амплитуда усиления 210 вызывает генерацию короткого оптического импульса 137.
В результате перераспределение носителей в энергетическом и координатном пространстве сужает спектр усиления и увеличивает амплитуду усиления 210, за чем следует короткий оптический импульс 137, излученный активным слоем 130. Энергия фотона оптического импульса соответствует запрещенной зоне 136 активного слоя 130.
Запрещенная зона 136 оптически активного слоя 130 может быть использована для излучения оптического импульса 137 заданной длины волны. Заданная длина волны может определяться предполагаемым назначением излучения п/п элемента 100. Величина запрещенной зоны 136 активного слоя 130 может быть задана, например, путем подбора концентрации алюминия. В изобретении длина волны фотонов, излученных из активного слоя 130, находится в пределах 800-850 нм для систем на основе AlGaAs/GaAs, возможно также излучение других длин волн.
В данном устройстве задача п/п элемента 100 – работать, как лазерный диод, так, чтобы электрический импульс, приведенный на фиг.3 и приложенный к п/п элементу 100, обеспечивал очень короткий и мощный оптический импульс 137. Ширина оптического импульса 137 FWHM (ширина на половине от максимума) может составлять 20-25 пкс, а максимальная мощность – достигать 10-1000 Вт при ширине лазерного кристалла меньше 100 мкм.
Короткий мощный импульс 137 генерируется в результате накачки импульсом тока 300, поданным на контактные слои 120 и 160. В активном слое 130 происходит инверсия населенности, высокое оптическое усиление в нем достигается специально созданным элементом 100. Высокое пиковое значение 210 в чистом усилении 204 достигается благодаря введению механизма управления усилением полем. Накачка лазера возможна относительно длинными импульсами тока 300, которые можно получить из простого, коммерчески доступного переключателя тока. Преимущество заключается в преднамеренном снижении эффективности накачки активного слоя 130. Эффективность накачки снижается благодаря запорному слою 140, расположенному между активным слоем 130 и буферным слоем 150.
Для обеспечения оптической обратной связи, активный слой 130 может выполнять функцию оптического резонатора. Такой резонатор можно получить, например, путем обработки противоположных краев 602 и 604 активного слоя 130, или п/п элемента 100, показанного на фиг.6, в зеркальные поверхности, и чтобы расстояния 610 и 612 между противоположными зеркальными поверхностями были кратными половине длины волны излучения из активного слоя 130. В соответствии изобретением длина резонатора составляет 400 мкм. Ширина резонатора может составлять 70 мкм. В соответствии изобретением коэффициент преломления активного слоя 130 больше коэффициента отражения окружающих слоев 120, 140, т.е. активный слой 130 представляет собой оптический волновод. Это обстоятельство не допускает проникновения оптического излучения 137, которое генерируется в активном слое 130, в окружающие слои 120 и 140, и, одновременно, помогает сформировать структуру, отражающую оптическое излучение от краев 602, 604. Оптический волновод можно получить, уменьшая запрещенную зону 136 активного слоя 130 относительно зон 126 и 146 окружающих слоев 120 и 140. Это уменьшение можно обеспечить подбором содержания алюминия.
Структура п/п элемента 100, а именно наличие относительно толстого, около 5 мкм буферного слоя 150, препятствует образованию волновода типа одиночной гетероструктуры (ОГС) с оптическим ограничением между границами 145 и 155, тем самым препятствуя генерации паразитных лазерных мод, усиленных в активной среде внутри буферного слоя 150.
Относительно высокий запорный слой 140, сильное легирование слоев 120, 130, 140, 150, 160, малая эффективность накачки активного слоя 130 и управление усилением полем в активном слое 130 применяются для подавления преждевременного излучения п/п элемента 100 в активном слое 130.
Упомянутое выше уменьшение эффективности накачки, связанное с расположением запорного слоя 140 и буферного слоя 150 между р-n переходом 155 и активным слоем 130, вызывает задержку излучения лазера на несколько нс и резко снижает требования к скорости токового устройства. Задержкой излучения можно управлять, контролируя эффективность оптической накачки в активной области 130. Последнее можно получить тщательным подбором величины запрещенных зон 136 и 156 в активном слое 130 и буферном слое 150, и/или изменением длины 612 и ширины 610 оптического резонатора. Более того, дополнительно, задержкой излучения лазера можно управлять тщательным подбором запрещенной зоны в поперечном сечении слоя 130. При большом токе накачки носители аккумулируются в области 133 в активном слое 130 около перехода 125, показанного на фиг.4. Увеличение запрещенной зоны от перехода 135 к переходу 125 преследует цель увеличить локальную концентрацию прозрачности в активном слое 130 и в области перехода 125. Чем выше локальная величина запрещенной зоны, тем выше концентрация прозрачности и выше пороговая концентрация. Это означает, что задержка в излучении лазера увеличится для той же величины тока и большее количество носителей можно собрать, если в активном слое 130 около перехода 125 запрещенную зону сделать шире. В изобретении преждевременное излучение в активном слое 130 может быть подавлено увеличением запрещенной зоны 136 активного слоя 130 в области перехода 125, показанного на фиг.7А. В результате большее количество носителей может сосредоточиться в активном слое 130 без излучения, что в дальнейшем увеличит мощность оптического импульса. Предпочтительный размер области 131 от перехода 125 около 2 мкм.
Местное увеличение плотности носителей в активном слое 130 около перехода 125 вызывает рост квазиуровня Ферми и расширение спектра усиления. Справа от активного слоя 130 доминирует поглощение и общее усиление остается отрицательным. Плотность носителей может быть в пределах 1017-1018 см-3.
Если импульс тока заканчивается, носители перераспределяются в энергетическом и координатном пространстве внутри активного слоя 130, сужая спектр усиления и перемещая поглощение в правую часть активного слоя 130. Результирующее увеличение усиления вызывает генерацию мощного короткого импульса.
В изобретении мощность оптического импульса 137 увеличена за счет использования внутреннего, средней величины электрического поля, появившегося в результате постепенного уменьшения 139 запрещенной зоны 136 слева направо в центральной и правой частях активной зоны 130, показанной на фиг.7В. Эффект постепенного уменьшения 139 запрещенной зоны 136 основан на уменьшении времени, необходимого для перераспределения носителей внутри активного слоя 130, и, следовательно, потери носителей от спонтанной рекомбинации уменьшены.
В принципе, запрещенная зона 136 в поперечном сечении активного слоя 130 может быть постоянной, но в этом случае интенсивность оптического импульса 137 ожидается ниже по следующим причинам. Во-первых, предельная концентрация до окончания импульса не увеличилась за счет увеличения запрещенной зоны 136 с левой стороны активного слоя 130 и поэтому максимально достижимая плотность носителей имеет меньший предел. Перераспределение носителей поперек активного слоя 130 по прохождении импульса тока 300 происходит через механизм диффузии носителей, который протекает медленнее, чем дрейф во внутреннем электрическом поле. Т.о., рекомбинация в большей степени снизит результирующую плотность носителей, если встроенное электрическое поле равно нулю. Увеличение встроенного электрического поля уменьшает время дрейфа, при этом потери носителей от рекомбинации уменьшаются, а интенсивность пикосекундного импульса растет, что требует использования для накачки импульса тока 300 с более коротким задним фронтом. Оптимальное значение встроенного электрического поля определяется путем компромисса между высокой интенсивностью оптического импульса, с одной стороны, и ограничениями на скорость переключения тока, с другой. Оптимизированная запрещенная зона 136 активного слоя 130 может быть получена, как результат упомянутого выше согласования запрещенной зоны 136, см. фиг.7А и 7В. К тому же импульс тока 300 с отрицательными значением тока после прохождения заднего фронта импульса может спровоцировать ускорение процесса рекомбинации носителей в активном слое 130, т.к. отрицательный ток порождает поле того же знака, какой у встроенного поля на фиг.7А, В.
В соответствии с изобретением паразитные лазерные моды, генерируемые в запорном слое 140, буферном слое 150 и контактном слое 160 подавляются запрещенной зоной буферного слоя 150.
В соответствии с изобретением запрещенная зона 136 активного слоя 130 призвана ограничить стимулированную рекомбинацию в области перехода 125.
В соответствии с изобретением запрещенная зона 156 буферного слоя 150 призвана ограничить стимулированную рекомбинацию в области перехода 145 путем увеличения запрещенной зоны 156 в области перехода 145, показанного на фиг.7С. Эта область 151 может, например, составлять 2 мкм.
Со ссылкой на фиг.8 рассмотрим существо способа согласно изобретению.
Способ начинается с этапа 800. На этапе 802 электрический импульс 300 подается на первый и второй контактные слои 120 и 160. На этапе 804 носители вводятся в активный слой. На этапе 818 происходит излучение оптического импульса 137. На этапе 806 перенос носителей в активный слой 130 ограничен запорным слоем 140 так, что во время прохождения переднего фронта импульса 300 плотность носителей в активном слое 130 ниже предельно допустимого уровня, необходимого для генерации оптического импульса 137. На этапе 808 генерация оптического импульса 137 не происходит из-за отрицательного общего усиления 202 в момент прохождения переднего края электрического импульса 300. На этапе 810 происходит генерация оптического излучения 147 для накачки активного слоя 130. На этапе 812 п/п элемент управляется буферным слоем 150. На этапе 814 продолжительность рекомбинации носителей уменьшается за счет постепенного сокращения запрещенной зоны 136 поперек активного слоя 130. На этапе 816 стимулированная рекомбинация ограничена увеличением запрещенной зоны 156 буферного слоя 150 в области перехода 145 между запретным слоем 140 и буферным слоем 150. Квалифицированному специалисту из уровня техники известно, что этапы способа 804, 806, 808, 810, 812, 814, 816 могут выполняться одновременно, поэтому порядок этих этапов на фиг.8 может меняться.
Модификации запрещенной зоны, описанные выше, могут быть реализованы с помощью приемов создания запрещенной зоны и технологии легирования.
Несмотря на описанное выше изобретение со ссылкой на фигуры, очевидно, что оно не ограничивается этим описанием и может быть представлено несколькими вариантами, которые следуют из заявленной формулы.
Формула изобретения
1. Источник оптического излучения для генерации оптического импульса (137), которым является полупроводниковый (п/п) элемент (100), состоящий из нескольких взаимосвязанных полупроводниковых структур, которые состоят из первого контактного слоя (120) и второго контактного слоя (160), на которые подается электрический импульс (300) для подачи энергии на полупроводниковые слои между слоями (120) и (160), активного слоя (130) и p-n перехода (155), который инжектирует носители в активный слой (130) в результате действия электрического импульса (300), носители накачивают энергию в активный слой (130), предназначенный для излучения оптического импульса (137), получающегося в результате подачи электрического импульса (300) на контактные слои (120) и (160), отличающийся тем, что
п/п элемент (100) содержит запорный слой (140), который расположен между активным слоем (130) и р-n переходом (155),
активный слой (130) расположен между первым контактным слоем (120) и запорным слоем (140), слои (120) и (140) – запорные слои на обеих сторонах активного слоя (130),
запорный слой (140) предназначен для ограничения переноса неосновных носителей в активный слой (130) таким образом, что при прохождении переднего фронта импульса (300) плотность носителей в активном слое (130) ниже порогового уровня, необходимого для генерации оптического импульса (137), полный коэффициент усиления (202) в активном слое (130) имеет отрицательное значение при прохождении переднего фронта электрического импульса (300) для предотвращения генерации оптического импульса (137), и при прохождении заднего фронта импульса (300) полный коэффициент усиления (204) в активном слое (130) принимает положительное значение и вызывает стимулированное излучение, и активный слой (130) обеспечивает излучение оптического импульса (137).
2. Источник оптического излучения по п.1, отличающийся тем, что п/п элемент (100) содержит буферный слой (150), который расположен между активным слоем (130) и вторым контактным слоем (160), а буферный слой (150) обеспечивает образование р-n перехода (155) со вторым контактным слоем (160).
3. Источник оптического излучения по п.1, отличающийся тем, что электрический импульс (300), поданный на контактные слои (120) и (160), имеет куполообразную форму и длительность импульса в наносекундном диапазоне.
4. Источник оптического излучения по п.1, отличающийся тем, что первый контактный слой (120), активный слой (130) и запорный слой (140) являются сильно легированными слоями р-типа, а второй контактный слой (160) является слоем n-типа.
5. Источник оптического излучения по п.2, отличающийся тем, что буферный слой (150) является легированным, подобно активному слою (130).
6. Источник оптического излучения по п.2, отличающийся тем, что перенос носителей в буферный слой (150) зависит от силы электрического импульса (300), поданного на контактные слои (120) и (160).
7. Источник оптического излучения по п.2, отличающийся тем, что буферный слой (150) обеспечивает генерацию оптического излучения (147) для оптической накачки активного слоя (130), и запорный слой (140) является прозрачным для оптического излучения (147), генерируемого в буферном слое (150).
8. Источник оптического излучения по п.2, отличающийся тем, что запрещенная зона (136) оптически активного слоя (130) и запрещенная зона (156) буферного слоя (150) по меньшей мере примерно равны по величине для того, чтобы буферный слой (150) обеспечил оптическую накачку оптически активного слоя (130).
9. Источник оптического излучения по п.1, отличающийся тем, что коэффициент преломления оптически активного слоя (130) больше коэффициентов преломления окружающих слоев (120) и (140), таким образом активный слой (130) формирует оптический волновод.
10. Источник оптического излучения по п.1, отличающийся тем, что оптически активный слой (130) выполнен с возможностью функционирования в качестве оптического резонатора.
11. Источник оптического излучения по п.1, отличающийся тем, что запрещенная зона (136) оптически активного слоя (130) выполнена с возможностью излучения оптического импульса (137) заданной длины волны.
12. Источник оптического излучения по п.1, отличающийся тем, что запрещенная зона (136) оптически активного слоя (130) выполнена с возможностью ограничения стимулированной рекомбинации в области перехода (125) между активным слоем (130) и первым контактным слоем (120).
13. Источник оптического излучения по п.1, отличающийся тем, что профиль запрещенной зоны (136) по сечению активного слоя (130) таков, что уменьшает продолжительность перераспределения носителей после прохождения электрического импульса (300).
14. Источник оптического излучения по п.2, отличающийся тем, что запрещенная зона (156) буферного слоя (150) выполнена с возможностью ограничения стимулированной рекомбинации в области перехода (145) между запорным слоем (140) и буферным слоем (150).
15. Способ генерации оптического излучения в полупроводниковом элементе (100), содержащий несколько функционально связанных полупроводниковых структур, и содержащий следующие этапы: подачу (802) электрического импульса (300) к первому (120) и второму (160) контактным слоям для обеспечения энергией полупроводниковых слоев между контактными слоями (120) и (160), инжектирование (804) носителей посредством электрического импульса (300) из p-n перехода (155) к активному слою (130), накачку энергии в активный слой (130), излучение (818) оптического импульса (137) из активного слоя (130) посредством энергии накачки, отличающийся тем, что полупроводниковый элемент (100) также содержит запорный слой (140), который расположен между активным слоем (130) и р-n переходом, активный слой (130) расположен между слоями: первым контактным слоем (120) и запорным слоем (140), которые образуют потенциальные барьеры по обе стороны активного слоя (130), ограничение (806) переноса носителей к активному слою (130) запорным слоем (140) так, что при прохождении переднего фронта импульса (300) плотность носителей в активном слое (130) ниже порогового уровня, необходимого для генерации оптического импульса (137), предупреждение (808) генерации оптического импульса (137) происходит за счет отрицательной величины полного коэффициента усиления (202) при прохождении переднего фронта электрического импульса (300), и излучение (818) оптического импульса (137) в активном слое (130) происходит как результат положительного усиления в активном слое (130) при прохождении заднего фронта импульса (300).
16. Способ по п.15, отличающийся тем, что управление (812) полупроводниковым элементом (100) происходит с использованием буферного слоя (150), который расположен между активным слоем (130) и контактным слоем (160), буферный слой (150) образует р-n переход (155) с контактным слоем (160).
17. Способ по п.15, отличающийся тем, что управление (812) полупроводниковым элементом (100) происходит посредством контроля переноса носителей в буферном слое (150) с помощью электрического импульса (300), поданного на контактные слои (120) и (160).
18. Способ по п.15, отличающийся тем, что обеспечивается (802) электрический импульс (300), который имеет куполообразную форму и длительность в наносекундном диапазоне.
19. Способ по п.15, отличающийся тем, что первый контактный слой (120), активный слой (130) и барьерный слой (140) являются сильно легированными слоями р-типа, а второй контактный слой (160) является слоем n-типа.
20. Способ по п.15, отличающийся тем, что генерация оптического излучения (810) буферным слоем (150) происходит для оптической накачки активного слоя (130).
21. Способ по п.15, отличающийся тем, что коэффициент преломления оптически активного слоя (130) больше коэффициента преломления окружающих слоев (120) и (140), что активный слой (130) формирует оптический волновод.
22. Способ по п.15, отличающийся тем, что оптически активный слой (130) является оптическим резонатором.
23. Способ по п.15, отличающийся тем, что обеспечивается излучение (818) оптического импульса (137) на заданной длине волны из оптического слоя (130).
24. Способ по п.15, отличающийся тем, что ограничение (816) стимулированной рекомбинации происходит посредством расширения запрещенной зоны (136) активного слоя (130) в области перехода (125) между активным слоем (130) и первым контактным слоем (120).
25. Способ по п.15, отличающийся тем, что ограничение (816) стимулированной рекомбинации происходит посредством расширения запрещенной зоны (156) буферного слоя (150) в области перехода (145) между запорным слоем (140) и буферным слоем (150).
26. Способ по п.15, отличающийся тем, что сокращение (814) времени перераспределения носителей после прохождения электрического импульса (300) происходит за счет постепенного сужения профиля запрещенной зоны (136) в поперечном сечении активного слоя (130) в области перехода (135) между активным слоем (130) и запорным слоем (140).
РИСУНКИ
|
|