|
(21), (22) Заявка: 2005123024/09, 20.07.2005
(24) Дата начала отсчета срока действия патента:
20.07.2005
(30) Конвенционный приоритет:
20.07.2004 KR 10-2004-0056560
(43) Дата публикации заявки: 27.01.2007
(46) Опубликовано: 20.09.2007
(56) Список документов, цитированных в отчете о поиске:
KR 186458 B1, 20.03.1999. RU 2208882 С2, 20.07.2003. US 2003/045143 A1, 06.03.2003. DE 10235207 A1, 30.04.2003. US 6089886 А, 18.07.2000. US 6325646 B1, 04.12.2001.
Адрес для переписки:
115184, Москва, Средний Овчинниковский пер., 12, ЗАО “Инэврика”, пат.пов. В.К.Козырьковой, рег. № 607
|
(72) Автор(ы):
СОН Ён-Чхул (KR)
(73) Патентообладатель(и):
Эл Джи Электроникс Инк. (KR)
|
(54) УСТРОЙСТВО ДЛЯ ПОДКЛЮЧЕНИЯ К ИСТОЧНИКУ ЭЛЕКТРИЧЕСКОГО НАПРЯЖЕНИЯ
(57) Реферат:
Изобретение относится к электротехнике. Устройство для подключения источника питания к электронному прибору содержит первый корпус, имеющий монтажное отверстие и несколько пазов под контакты, отходящих от внутренней окружности монтажного отверстия. Второй корпус соединяется с первым корпусом для образования приемной полости. Поворотный элемент вставляется с возможностью вращения в монтажное отверстие и имеет прорези, выполненные, по меньшей мере, на одной поверхности для совмещения с пазами под контакты, выполненные в первом корпусе, когда поворотный элемент повернут на заданный угол в первом направлении. Штепсельная вилка в сборе установлена в поворотном элементе. В первом положении штепсельная вилка в сборе размещена практически вертикально вверх. Во втором положении штепсельная вилка в сборе убрана практически в горизонтальное положение. Технический результат – упрощение эксплуатации, повышение удобства для пользователя и надежности соединительного устройства. 2 н. и 22 з.п. ф-лы, 10 ил.
ПРЕДПОСЫЛКИ СОЗДАНИЯ ИЗОБРЕТЕНИЯ
1. Область техники, к которой относится изобретение
Настоящее изобретение относится к устройству для соединения с источниками, а именно к устройству, соединяющему источники напряжения с электрическим прибором, с улучшенной конструкцией для убирания и выдвигания штепсельной вилки.
2. Описание уровня техники
На Фиг.1 показан общий вид известного электрического соединительного устройства, такого как силовой переходник, имеющий убирающуюся двухштыревую вилку. Фиг.2 – известное электрическое соединительное устройство показано в разрезе. Известное электрическое соединительное устройство включает корпус 21 и штепсельную вилку 22, установленную на передней поверхности корпуса 21.
Штепсельная вилка 22 поворачивается на шарнире 22а. Внутри корпуса 21 схемная плата 23 соединяется со штепсельной вилкой 22. Схемная плата 23 преобразует высокое напряжение в низкое.
Штепсельная вилка 22 может быть подсоединена к блоку питания С, в частности к электрической розетке настенного крепления, для получения высокого напряжения. Выступающий из корпуса 21 выходной контакт 24, подсоединенный к схемной плате 23, обеспечивает низкое напряжение. Низкое напряжение может быть использовано для запитывания электронного прибора (не показан), такого как терминал мобильной связи. Выполненное на корпусе 21 прямоугольное приемное углубление для штепселя 25 служит для размещения штепсельной вилки 22 в убранном положении.
В известном электрическом соединительном устройстве штепсельная вилка 22 после продолжительного применения начинает свободно поворачиваться в нежелательном направлении.
Это создает для пользователя неудобство, когда штепсельная вилка вставляется в стенную розетку. Таким образом, существует необходимость в усовершенствованном электрическом соединительном устройстве, которое является более прочным и обеспечивает преимущества, а также более удобно для пользователя.
СУЩНОСТЬ ИЗОБРЕТЕНИЯ
Признаки и преимущества изобретения будут изложены в приведенном ниже описании и отчасти могут быть ясны из описания или могут быть изучены на основе практического применения устройства. Цели и другие преимущества настоящего изобретения будут реализованы с помощью конструкции, подробно указанной в составленных описании и формуле изобретения, а также на прилагаемых чертежах.
Цель настоящего изобретения заключается в создании электрического соединительного устройства, обеспечивающего упрощенное складывание и извлечение штепсельной вилки. Другая цель настоящего изобретения заключается в обеспечении упрощенного складывания и извлечения штепсельной вилки для создания большего удобства для пользователя. Еще одна цель настоящего изобретения заключается в повышении надежности электрического соединительного устройства за счет сохранения прочности штепсельной вилки после многократного складывания и извлечения.
В одном примере осуществления раскрыто устройство для подключения источника питания к электронному прибору. Устройство содержит первый корпус, имеющий монтажное отверстие и несколько пазов под контакты, проходящих наружу от внутренней окружности монтажного отверстия. Второй корпус соединен с первым корпусом для образования приемной полости. Поворотный элемент вставлен с возможностью вращения в монтажное отверстие и имеет прорези, выполненные, по меньшей мере, на одной поверхности для совмещения с пазами под контакты, выполненные в первом корпусе, когда поворотный элемент поворачивается на заданный угол в первом направлении.
Штепсельная вилка в сборе установлена в поворотном элементе. В первом положении штепсельная вилка в сборе размещена практически вертикально относительно верхней поверхности первого корпуса. Во втором положении штепсельная вилка в сборе складывается практически в горизонтальном положении относительно верхней поверхности первого корпуса, так что концы контактов штепсельной вилки в сборе размещаются в пазах под контакты, когда поворотный элемент поворачивают на заданный угол в первом направлении.
Во втором примере раскрыта убирающаяся штепсельная вилка в сборе. Сборка содержит первый корпус, имеющий монтажное отверстие и несколько пазов под контакты, проходящих от внутренней окружности монтажного отверстия. Второй корпус соединен с первым корпусом для образования приемной полости. Изнутри второго корпуса выходит выступ для совмещения с монтажным отверстием. Поворотный элемент вставлен с возможностью вращения в монтажное отверстие, имеет прорези, выполненные, по меньшей мере, на одной поверхности для совмещения с пазами под контакты, выполненными в первом корпусе, когда поворотный элемент поворачивают на заданный угол в первом направлении.
Штепсельную вилку в сборе устанавливают в поворотный элемент. В первом положении штепсельная вилка в сборе размещена практически вертикально вверх относительно верхней поверхности первого корпуса. Во втором положении штепсельная вилка в сборе складывается практически горизонтально относительно верхней поверхности первого корпуса, так что концы контактов штепсельной вилки в сборе размещаются в пазах под контакты, когда поворотный элемент поворачивают на заданный угол в первом направлении.
Дополнительные признаки и преимущества изобретения будут изложены в приведенном ниже описании и часто будут очевидны из описания или могут быть изучены при практическом применении изобретения. Следует понимать, что приведенное выше общее описание настоящего изобретения и его последующее подробное описание являются иллюстративными и пояснительными и предназначены для изобретения в том виде, как оно заявлено.
КРАТКОЕ ОПИСАНИЕ ЧЕРТЕЖЕЙ
Прилагаемые чертежи, приведенные для лучшего понимания сущности изобретения и составляющие неотъемлемую часть настоящего описания, иллюстрируют примеры осуществления настоящего изобретения и вместе с описанием поясняют основы изобретения. Признаки, элементы и аспекты изобретения, указанные одинаковыми номерами позиций на чертежах, представляют идентичные, эквивалентные или сходные признаки, элементы или аспекты согласно одному или нескольким примерам.
На фиг.1 показан общий вид известного электрического соединительного устройства.
На фиг.2 показан разрез известного электрического соединительного устройства.
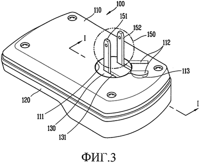
На фиг.3 показан общий вид электрического соединительного устройства согласно одному примеру осуществления настоящего изобретения.
На фиг.4 показан детальный общий вид электрического соединительного устройства согласно одному примеру осуществления настоящего изобретения, показанному на фиг.3.
На фиг.5 показан разрез по линии I-I, показанной на фиг.3.
На фиг.6 показан увеличенный общий вид штепсельной вилки в сборе электрического соединительного устройства в сложенном и извлеченном положениях согласно одному примеру осуществления настоящего изобретения.
На фиг.7 показан общий вид электрического соединительного устройства согласно другому примеру осуществления настоящего изобретения.
На фиг.8 показан детальный общий вид электрического соединительного устройства согласно другому примеру осуществления настоящего изобретения.
На фиг.9 показан разрез по линии II-II, показанной на фиг.7.
На фиг.10 приведен увеличенный общий вид в сложенном/извлеченном положениях штепсельной вилки в сборе электрического соединительного устройства согласно другому примеру осуществления настоящего изобретения.
ПОДРОБНОЕ ОПИСАНИЕ ПРЕДПОЧТИТЕЛЬНЫХ ПРИМЕРОВ ОСУЩЕСТВЛЕНИЯ ИЗОБРЕТЕНИЯ
Ниже приведено подробное описание предпочтительных примеров осуществления настоящего изобретения, примеры которых проиллюстрированы на прилагаемых чертежах.
Как показано на фиг.3 и 4, электрическое соединительное устройство 100 содержит первый корпус 110, второй корпус 120 и поворотный элемент 130. Вблизи центральной части первого корпуса 110 выполнено монтажное отверстие 111 для поворотного элемента 130. Множество пазов под контакты 112 отходят от внутренней окружности монтажного отверстия 111. Первый корпус 110 соединен со вторым корпусом 120 для образования приемной полости. Выступ 122 отходит вверх от внутренней поверхности второго корпуса 120, как показано на фиг.4.
Выступ 122 соответствует монтажному отверстию 111. Поворотный элемент 130 установлен с возможностью поворота в отверстии ввода 111 первого корпуса 110. Прорези 131, выполненные в поворотном элементе 130, предпочтительно взаимно параллельны. Когда поворотный элемент поворачивается на заданный или определенный угол в первом направлении, прорези 131 совмещаются с пазами под контакты 112.
Соединительные пластины 140, установленные на выступе 122 второго корпуса 120, соединены со схемной платой 160. Штепсельная вилка в сборе 150, содержащая, например, пару удлиненных электрических контактов, установлена с возможностью вращения в нижней части поворотного элемента 130.
В одном примере первая часть сборки 150 при установке контактирует с каждой из соединительных пластин 140. Вторая часть сборки 150 входит в монтажное отверстие 111 первого корпуса 110, чтобы штепсельная вилка в сборе 150 выступала из первого корпуса 110.
Как показано на фиг.4 и 6, паз для ввода пальца 113 предпочтительно образован в пазу для приема контакта 112, чтобы позволить пользователю удобно извлечь штепсельную вилку в сборе 150, когда она находится в сложенном положении. Глубина паза для ввода пальца 113 достаточна для того, чтобы палец пользователя вошел в контакт со штепсельной вилкой в сборе 150, находящейся в сложенном положении. В предпочтительном примере ширина паза для ввода пальца 113 составляет примерно 10 мм.
Как показано на фиг.4, фланец 133 охватывает внешний край поворотного элемента 130. При вводе в монтажное отверстие 111 фланец 133 предотвращает случайное выскальзывание поворотного элемента 130 из первого корпуса 110.
Как показано на фиг.5, внутри первого корпуса 110 вблизи монтажного отверстия 111 выполнен стопорный паз 114. Стопор 134 выполнен на внешней круговой поверхности поворотного элемента 130. Стопор 134 соответствует стопорному пазу 114. Когда пользователь вращает поворотный элемент 130, чтобы сложить или извлечь штепсельную вилку в сборе 150, угол поворота поворотного элемента 130 ограничен. Предпочтительно поворотный элемент 130 ограничен максимальным заданным углом. Штепсельная вилка в сборе 150 имеет два удлиненных электрических контакта: первый контакт 151 и второй контакт 152. Первый и второй контакты 151, 152 вводятся в прорези 131а, 131b поворотного элемента 130.
Как показано на фиг.4 и 5, ось 153, выполненная, например, из изоляционного материала, соединяет первый контакт 151 со вторым контактом 152. Ось может быть с возможностью поворота вставлена в паз для оси 132 поворотного элемента 130. Паз 154 образован в середине оси 153. Выступ 155, выполненный на поворотном элементе 130, соответствует пазу 154.
В извлеченном положении, когда выступ 155 введен в паз 154, вилка 150 надежно удерживается в извлеченном положении. Первые соединительные выступы 156 выполнены на первом конце первого и второго контактов 151, 152.
Вторые соединительные выступы 141 выполнены на каждой из соединительных пластин 140 в соответствии с первыми соединительными выступами 156.
В извлеченном положении первые соединительные выступы 156 контактируют со вторыми контактными выступами 141. Второй конец каждого из первого и второго контактов 151, 152 проходит наружу первого корпуса 110 через монтажное отверстие 111 первого корпуса 110. В сложенном положении первые соединительные выступы 156 первого и второго контактов 151,152 не контактируют со вторыми соединительными выступами 141.
Таким образом, второй конец каждого из первого и второго контактов 151, 152 вставлены в соответствующий паз для приема контакта 112. Поскольку поворотный элемент 130 вращается, каждая из прорезей 131а, 131b поворотного элемента 130 совмещается с соответствующим пазом под контакт 112, обеспечивая таким образом складывание штепсельной вилки в сборе 150.
Ниже приводится описание процедуры складывания и извлечения штепсельной вилки в сборе 150 со ссылками на фиг.4-6. Как показано на фиг.6, штепсельная вилка в сборе 150 в сложенном положении обозначена пунктирными линиями. Для извлечения штепсельной вилки в сборе 150 пользователь вставляет палец в монтажное отверстие пальца 113 и поворачивает кверху первый контакт 151. В приведенном примере, поскольку ось 153 соединена с возможностью вращения с пазом для оси 132, штепсельная вилка в сборе 150 поворачивается вокруг оси 153, так как первый, так и второй контакты 151, 152 выдвигаются практически вертикально вверх относительно внешней поверхности первого корпуса 110.
Когда штепсельная вилка в сборе 150 повернется полностью, выступ 155 вводится в паз 154, благодаря чему штепсельная вилка в сборе 150 надежно удерживается в извлеченном положении. Когда пользователь поворачивает штепсельную вилку в сборе 150, например, по часовой стрелке, поворотный элемент 130 поворачивается по часовой стрелке. Прорези 131 поворотного элемента 130 удаляются от пазов под контакты 112, в результате чего обеспечивается контакт между первыми контактными выступами 153 и вторыми контактными выступами 141. В извлеченном положении опорная часть 122 поддерживает штепсельную вилку в сборе 150, благодаря чему надежно сохраняется в извлеченном положении.
Для перевода штепсельной вилки в сборе 150 из извлеченного положения в сложенное пользователь поворачивает штепсельную вилку в сборе 150, например, против часовой стрелки.
При этом поворотный элемент 130 поворачивается против часовой стрелки. Прорези 131 поворотного элемента 130 совмещаются с пазами под контакты 112. В сложенном положении первые контактные выступы 156 не контактируют со вторыми контактными выступами 141. Следовательно, когда пользователь нажимает на первый контакт 151 или второй контакт 152, штепсельная вилка в сборе 150 поворачивается относительно оси 153, поскольку ось 153 вставлена с возможностью поворота в паз для оси 132 поворотного элемента 130. Когда штепсельная вилка в сборе 150 повернута полностью, первый контакт 151 и второй контакт 152 попадают в пазы под контакты 112.
Как показано на фиг.7, электрическое соединительное устройство 200 согласно другому примеру осуществления настоящего изобретения содержит первый корпус 210, второй корпус 220 и поворотный элемент 230. Первый корпус 210 имеет монтажное отверстие 211 вблизи центра. Кроме того, первый корпус 210 имеет множество пазов под контакты 212, отходящих от внутренней окружности монтажного отверстия 211. Первый корпус 210 соединен со вторым корпусом 220 для образования приемной полости.
Как показано на фиг.8, выступ 222 в данном варианте кольцевой формы, отходящий от внутренней поверхности второго корпуса 220, соответствует монтажному отверстию 211. Поворотный элемент 230 с возможностью вращения вставлен в монтажное отверстие 211 первого корпуса 210. Прорези 231 расположены в поворотном элементе 230 и соответствуют пазам под контакты 212. Соединительные пластины 240 установлены по обеим сторонам выступа 222 второго корпуса 220. Соединительные пластины 240 контактируют со схемной платой 260 и штепсельной вилкой в сборе 250, вставленной в поворотный элемент 230.
Один конец (нижняя часть) поворотного элемента 230 контактирует с каждой из соединительных пластин 240. Другой конец (верхняя часть) поворотного элемента 230 проходит через монтажное отверстие 211 первого корпуса 210, чтобы пройти наружу первого корпуса 210. Штепсельная вилка в сборе 250 опирается на опорный элемент для контактов 270, вставленный в выступ 222 с возможностью вращения. Предпочтительно в пазе для приема контактов 211 образован паз для ввода пальца 213, так что пользователь может удобным способом складывать и извлекать штепсельную вилку в сборе 250.
В конструкции поворотного элемента 230 фланец 233 охватывает внешнюю окружность поворотного элемента 230. Фланец 233 фиксирует поворотный элемент 230, вставленный с возможностью вращения в монтажное отверстие 211, относительно первого корпуса 210.
Внутри первого корпуса 210 вблизи монтажного отверстия 211 выполнен стопорный паз 214. Стопор 234 сформирован на внешней круговой поверхности поворотного элемента 230, чтобы соответствовать стопорному пазу 214. Когда пользователь вращает поворотный элемент 230 для перевода штепсельной вилки в сборе 250 в сложенное или извлеченное положение, угол поворота поворотного элемента 230 ограничен, т.е. поворотный элемент 230 может быть повернут только на заданный угол.
Штепсельная вилка в сборе 250 включает в себя два контакта: первый контакт 251 и второй контакт 252. Первый контакт 251 и второй контакт 252 вставляются в прорези 231 поворотного элемента 230. Ось 253, выполненная, например, из изоляционного материала, соединяет первый контакт 251 со вторым контактом 252. Соединительный выступ 256 выполнен на первом конце каждого из первого и второго контактов 251 и 252. Несколько соединительных пазов 241, выполненных на каждой соединительной пластине 240, соответствуют соединительному выступу 256. В извлеченном положении штепсельной вилки в сборе 250 соединительные выступы 256 первого и второго контактов 251 и 252 упруго контактируют с соединительными пазами 241. Вторые концы каждого из первого и второго контактов 251, 252 с возможностью извлечения вставлены в монтажное отверстие 211 для выведения наружу первого корпуса 210.
В сложенном положении штепсельной вилки в сборе 250 контактные выступы 256 первого и второго контактов 251, 252 не контактируют соединительными пазами 241. В сложенном положении концевые части первого и второго контактов 251, 252 вставляются в пазы под контакты 212, выполненные в первом корпусе 210.
Когда пользователь вращает поворотный элемент 230, каждая из прорезей 231 поворотного элемента 230 выборочно совмещается с пазами под контакты 212 первого корпуса 210, благодаря чему обеспечивается складывание штепсельной вилки в сборе 250. Ось 222а предпочтительно выполнена в центральной части выступа 222. Отверстие под ось 271, выполненное в центральной части опорного элемента для контактов 270, соответствует оси 222а. Соединительные кольца 272 выполнены по сторонам опорного элемента для контактов 270. Соединительные кольца 272 установлены по концам оси 253 штепсельной вилки в сборе 250. Опорная часть 222b выполнена на выступе 222.
Опорная часть 222b служит для поддержки штепсельной вилки в сборе 250 в извлеченном положении.
Ниже приведено описание работы электрического соединительного устройства со ссылками на фиг.9 и 10 в соответствии с одним из примеров осуществления настоящего изобретения. Как показано на фиг.10, штепсельная вилка в сборе 250 в сложенном положении обозначена пунктирной линией.
Для перемещения штепсельной вилки в сборе 250 из сложенного положения в извлеченное положение пользователь вставляет палец в монтажное отверстие пальца 213 и извлекает первый контакт 251 вверх. Поскольку ось 253 вставлена с возможностью вращения в кольца 272 опорного элемента для контактов 270, штепсельная вилка в сборе 250 поворачивается относительно оси 253.
Когда пользователь поворачивает штепсельную вилку в сборе 250, например, по часовой стрелке, поворотный элемент 230 и опорный элемент для контактов 270 поворачиваются по часовой стрелке. Затем прорези 231 поворотного элемента 230 от пазов под контакты 212 упруго контактируют с контактными выступами 256, удерживаясь при этом в контактных пазах 241. Опорная часть 222b, выполненная на выступе 222, и контактные пазы 241 служат для надежного удержания штепсельной вилки в сборе 250 в извлеченном положении.
Для перевода вилки из сложенного положения в извлеченное положение, обозначенное сплошной линией на фиг.10, пользователь поворачивает штепсельную вилку в сборе 250, например, против часовой стрелки для поворота поворотного элемента 230 против часовой стрелки. Прорези 231 поворотного элемента 230 линейно совмещаются с пазами под контакты 212. В сложенном положении контактные выступы 256 удерживаются, чтобы предотвратить контакт с пазами под контакты 212. Если пользователь нажимает на первый контакт 251 или второй контакт 252, штепсельная вилка в сборе 250 поворачивается относительно оси 253, поскольку ось 253 с возможностью вращения вставлена в кольца 271 опорного элемента для контактов 270. Когда штепсельная вилка в сборе 250 поворачивается полностью, первый контакт 251 или второй контакт 252 входит в пазы для контактов 212. Поскольку первый контакт 251 или второй контакт 252 входит в пазы для приема штепсельной вилки 212, можно простым и удобным образом эксплуатировать электрическое соединительное устройство 200.
Как следует из описания, настоящее изобретение позволяет легко осуществлять складывание и извлечение штепсельной вилки. Кроме того, настоящее изобретение позволяет надежно поддерживать штепсельную вилку в извлеченном положении. Такое усовершенствование повышает удобство и надежность при использовании штепсельной вилки.
Поскольку настоящее изобретение может быть осуществлено в различных формах исполнения без отступления от его сущности или существенных признаков, необходимо также понимать, что вышеизложенные примеры осуществления настоящего изобретения не ограничиваются любой из подробностей приведенного выше описания, если не определено иное, но должны толковаться расширительно в пределах сущности и объема, определенных в прилагаемой формуле изобретения, и, таким образом, все изменения и модификации, которые находятся в пределах настоящей формулы изобретения, или их эквиваленты, охватываются предлагаемой формулой изобретения.
Формула изобретения
1. Устройство для подключения источника питания к электронному прибору, содержащее первый корпус, имеющий монтажное отверстие и несколько пазов под контакты, проходящих наружу от внутренней окружности монтажного отверстия,
второй корпус, соединенный с первым корпусом для образования приемной полости,
поворотный элемент, вставленный с возможностью вращения в монтажное отверстие и имеющий прорези, выполненные, по меньшей мере, на одной поверхности для совмещения с пазами под контакты первого корпуса, когда поворотный элемент повернут на заданный угод в первом направлении, и штепсельную вилку в сборе, установленную в поворотном элементе таким образом, что в первом положении штепсельная вилка в сборе размещена приблизительно вертикально вверх относительно верхней поверхности первого корпуса, а во втором положении штепсельная вилка в сборе сложена приблизительно горизонтально относительно верхней поверхности первого корпуса, так, что концы контактов штепсельной вилки в сборе размещаются в пазах под контакты, когда поворотный элемент повернут на заданный угол в первом направлении.
2. Устройство по п.1, в котором штепсельная вилка в сборе имеет первый и второй концы, причем в первом положении первый конец электрически соединен с источником питания.
3. Устройство по п.1, в котором второй корпус дополнительно содержит выступ, отходящий вверх от внутренней поверхности второго корпуса во взаимосвязи с монтажным отверстием, причем выступ концентричен монтажному отверстию.
4. Устройство по п.3, дополнительно содержащее соединительные пластины, установленные на выступе.
5. Устройство по п.1, в котором вблизи, по меньшей мере, одного из пазов под контакты выполнен паз для ввода пальца.
6. Устройство по п.1, в котором штепсельная вилка в сборе содержит,
по меньшей мере, два удлиненных электрических контакта, каждый из которых имеет концевую часть, убираемую в пазы поворотного элемента во втором положении, и
ось, соединяющую, по меньшей мере, два удлиненных электрических контакта и вставленную с возможностью вращения в паз для оси, выполненный в поворотном элементе.
7. Устройство по п.6, в котором
вблизи центральной части оси выполнен паз, а
на поворотном элементе в соответствии с пазом выполнен выступ для стопорения, чтобы предотвратить дальнейшее вращение поворотного элемента.
8. Устройство по п.6, дополнительно содержащее
выступ, размещенный внутри второго корпуса,
соединительные пластины, установленные на выступе,
первый соединительный выступ, выполненный на первом конце каждого из, по меньшей мере, двух удлиненных электрических контактов противоположно их контактным концам, и
второй соединительный выступ, выполненный на каждой из соединительных пластин, в соответствии с первым соединительным выступом каждого из, по меньшей мере, двух удлиненных электрических контактов.
9. Устройство по п.8, в котором, если штепсельная вилка в сборе находится в первом положении, первый соединительный выступ каждого из, по меньшей мере, двух удлиненных электрических контактов входит в контакт со вторым соединительным выступом каждой из соединительных пластин.
10. Устройство по п.8, в котором, если штепсельная вилка в сборе находится во втором положении, каждый из, по меньшей мере, двух удлиненных электрических контактов убирается частично в монтажное отверстие первого корпуса.
11. Устройство по п.1, в котором первый корпус дополнительно содержит
стопорный паз, выполненный внутри первого корпуса вблизи монтажного отверстия,
стопор, выполненный на внешней круговой поверхности поворотного элемента, соответствующего стопорному пазу для ограничения угла поворота поворотного элемента.
12. Устройство по п.1, дополнительно содержащее фланец, охватывающий внешнюю окружность поворотного элемента.
13. Убирающийся штепсельный комплект, содержащий первый корпус, имеющий монтажное отверстие и несколько пазов под контакты, отходящих от внутренней окружности монтажного отверстия,
второй корпус, соединенный с первым корпусом для образования приемной полости,
выступ, отходящий изнутри второго корпуса в соответствии с монтажным отверстием,
поворотный элемент, установленный с возможностью вращения в монтажном отверстии и имеющий прорези, выполненные, по меньшей мере, на одной поверхности для совмещения с пазами под контакты первого корпуса, когда поворотный элемент повернут на заданный угол в первом направлении, и
штепсельную вилку в сборе, установленную в поворотном элементе таким образом, что в первом положении штепсельная вилка в сборе размещается практически вертикально относительно верхней поверхности первого корпуса, а во втором положении штепсельная вилка в сборе убрана практически в горизонтальное положение относительно верхней поверхности первого корпуса, так, что контактные концы штепсельной вилки в сборе размещаются в пазах под контакты, когда поворотный элемент повернут на заданный угол в первом направлении.
14. Устройство по п.13, в котором штепсельная вилка в сборе имеет первый и второй концы, при этом в первом положении первый конец электрически соединен с источником питания.
15. Устройство по п.13, дополнительно содержащее соединительные пластины, установленные с обеих сторон выступа и соединенные со схемной платой.
16. Устройство по п.13, в котором паз для ввода пальца выполнен вблизи, по меньшей мере, одного из пазов под контакты.
17. Устройство по п.13, дополнительно содержащее опорный элемент для контактов, расположенный внутри выступа, для поддержки штепсельной вилки в сборе с возможностью ее вращения.
18. Устройство по п.13, в котором штепсельная вилка в сборе содержит,
по меньшей мере, два удлиненных электрических контакта, каждый из которых имеет контактный конец, убирающийся в пазы поворотного элемента во втором положении, и
ось, соединяющую, по меньшей мере, два удлиненных электрических контакта и вставленную с возможностью вращения в паз для оси, выполненный в поворотном элементе.
19. Устройство по п.18, в котором вблизи центральной части оси выполнен паз, и на поворотном элементе в соответствии с пазом выполнен выступ для стопорения, чтобы предотвратить дальнейшее вращение поворотного элемента.
20. Устройство по п.18, дополнительно содержащее соединительные пластины, установленные на выступе,
первый соединительный выступ, выполненный на первом конце каждого из, по меньшей мере, двух удлиненных электрических контактов противоположно их контактным концам, и
второй соединительный выступ, выполненный на каждой из соединительных пластин в соответствии с первым соединительным выступом каждого из, по меньшей мере, двух удлиненных электрических контактов.
21. Устройство по п.20, в котором, если штепсельная вилка в сборе находится в первом положении, первый соединительный выступ каждого из, по меньшей мере, двух удлиненных электрических контактов входит в контакт со вторым соединительным выступом каждого из соединительных пластин.
22. Устройство по п.20, в котором, если штепсельная вилка в сборе находится во втором положении, каждый из, по меньшей мере, двух удлиненных электрических контактов убран в монтажное отверстие первого корпуса.
23. Устройство по п.13, дополнительно содержащее стопорный паз, выполненный внутри первого корпуса вблизи монтажного отверстия,
стопор, выполненный на внешней круговой поверхности поворотного элемента в соответствии со стопорным пазом для ограничения угла поворота поворотного элемента.
24. Устройство по п.13, дополнительно содержащее фланец, охватывающий внешнюю окружность поворотного элемента.
РИСУНКИ
|