|
(21), (22) Заявка: 2005137261/09, 30.11.2005
(24) Дата начала отсчета срока действия патента:
30.11.2005
(46) Опубликовано: 20.09.2007
(56) Список документов, цитированных в отчете о поиске:
SU 1484230 А2, 20.04.1996. SU 1353252 A1, 27.12.1995. SU 1072159 A, 07.02.1984. US 3488623 A, 06.01.1970. US 3094364 A, 18.06.1963.
Адрес для переписки:
607188, Нижегородская обл., г. Саров, пр. Мира, 37, ФГУП “РФЯЦ-ВНИИЭФ”, начальнику ОПИНТИ
|
(72) Автор(ы):
Липатов Олег Федорович (RU), Ковалдов Алексей Павлович (RU)
(73) Патентообладатель(и):
Российская Федерация в лице Федерального агентства по атомной энергии (RU), Федеральное государственное унитарное предприятие “Российский федеральный ядерный центр-Всероссийский научно-исследовательский институт экспериментальной физики ФГУП “РФЯЦ-ВНИИЭФ” (RU)
|
(54) ЭЛЕКТРИЧЕСКИЙ СОЕДИНИТЕЛЬ
(57) Реферат:
Изобретение относится к области электротехники и автоматики. Электрический соединитель состоит из розеточной и вилочной частей. Одна из них содержит основание и соединенный с ним эластичным элементом подвижный корпус. Эластичный элемент выполнен в виде ленты с несколькими рядами продольных прорезей, смещенных относительно друг друга в соседних рядах на половину их длины. На торцах подвижного корпуса и основания со сторон, обращенных друг другу, выполнены соосные кольцевые проточки, при этом лента свернута в кольцо, а торцы размещены в кольцевых проточках подвижного корпуса и основания. В подвижном корпусе и основании вилочной или розеточной части соединителя выполнены пазы. На концах обеих торцевых поверхностей эластичного элемента выполнены выступы, которые расположены в пазах подвижного корпуса и основания с возможностью перемещения в пределах пазов. Минимальный зазор «С» между краями пазов корпуса, основания и внешними торцевыми поверхностями эластичного элемента выбран из соотношения:

где G – допустимая величина радиального смещения подвижного корпуса относительно основания; R – радиус проточки в подвижном корпусе и основании; – допустимый угол поворота подвижного корпуса относительно основания вокруг номинальной оси стыковки. Технический результат – в уменьшение габаритов соединителя за счет наиболее оптимального размера зазора «С» при заданных G и , обеспечивающих стыковку ответных частей без увеличения их габаритных размеров. 3 ил.
Изобретение относится к электротехнике, в частности к электроразъемным устройствам, и может быть использовано для автоматической межблочной стыковки электрических коммуникаций различного назначения.
Известен электрический соединитель (см. патент РФ №1484230, кл. Н01R 13/62, опубликован в БИ №18,1997 г.), состоящий из розеточной и вилочной частей, одна из которых содержит основание и соединенный с ним эластичным элементом подвижный корпус, эластичный элемент выполнен в виде ленты с несколькими рядами продольных прорезей, смещенных относительно друг друга в соседних рядах на половину их длины, на торцах подвижного корпуса и основания со сторон, обращенных друг другу, выполнены соосные кольцевые проточки, при этом лента свернута в кольцо, ее концы заходят один за другой, а торцы размещены в кольцевых проточках подвижного корпуса и основания, в подвижном корпусе и основании вилочной или розеточной части соединителя выполнены пазы, а на концах обеих торцевых поверхностей эластичного элемента выполнены выступы, которые расположены в пазах подвижного корпуса и основания с возможностью перемещения в пределах пазов.
Величина пазов А подвижного корпуса и основания и величина выступов В на эластичном элементе выбраны из соотношений:
А=2В-

где G – допустимая величина радиального смещения подвижного корпуса относительно основания;
R – радиус проточки в подвижном корпусе и основании;
– допустимый угол поворота подвижного корпуса относительно основания вокруг номинальной оси стыковки;
– величина нахлеста концов эластичного элемента в исходном состоянии.
Вышеуказанное устройство является наиболее близким по технической сущности к заявляемому и поэтому выбрано в качестве прототипа.
Недостатком такого соединителя является то, что соотношение выступа В эластичного элемента и размера А паза кольцевой проточки при заданных G и приводит к увеличению зазора между выступом и пазом (свободный ход), что является причиной необоснованного увеличения габаритных размеров соединителя.
Решаемой технической задачей является уменьшение габаритов соединителя.
Техническим результатом данного изобретения является оптимизация зазора С между краями пазов корпуса, основания и внешними торцевыми поверхностями эластичного элемента при заданных G и , обеспечивающих стыковку ответных частей без увеличения их габаритных размеров.
Технический результат достигается тем, что электрический соединитель состоит из розеточной и вилочной частей, одна из которых содержит основание и соединенный с ним эластичным элементом подвижный корпус, эластичный элемент выполнен в виде ленты с несколькими рядами продольных прорезей, смещенных относительно друг друга в соседних рядах на половину их длины, на торцах подвижного корпуса и основания со сторон, обращенных друг другу, выполнены соосные кольцевые проточки, при этом лента свернута в кольцо, а торцы размещены в кольцевых проточках подвижного корпуса и основания, в подвижном корпусе и основании вилочной или розеточной части соединителя выполнены пазы, а на концах обеих торцевых поверхностей эластичного элемента выполнены выступы, которые расположены в пазах подвижного корпуса и основания с возможностью перемещения в пределах пазов. Новым является выбор минимального зазора С между краями пазов корпуса, основания и внешними торцевыми поверхностями эластичного элемента из соотношения:

где G – допустимая величина радиального смещения подвижного корпуса относительно основания;
R – радиус проточки в подвижном корпусе и основании;
– допустимый угол поворота подвижного корпуса относительно основания вокруг номинальной оси стыковки.
Выбор минимального зазора позволяет уменьшить габаритные размеры паза кольцевой проточки, в которой установлен эластичный элемент при необходимых размерах его выступов.
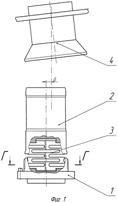
На фиг.1 показан электрический соединитель, одна из частей которого подвижна и содержит эластичный элемент для обеспечения автоматической (“слепой”) стыковки.
На фиг.2 показана конструкция эластичного элемента, выполненного в виде ленты с несколькими рядами продольных прорезей, смещенных друг относительно друга на половину их длины. На концах эластичного элемента имеются четыре выступа длиной В.
На фиг.3 показано сечение основания 1.
Подвижная часть соединителя состоит из основания 1 и корпуса 2, в которых выполнены кольцевые проточки радиусом R с пазами размера А. Выступы эластичного элемента 3, размещенного (свернутого) внутри кольцевых проточек основания и корпуса, установлены в пазах кольцевых проточек основания и корпуса.
Устройство работает следующим образом.
Из-за погрешностей установки блоков, в состав которых входят ответные части соединителей, возникает необходимость компенсаций радиальных и угловых отклонений при их стыковке. При сближении подвижный корпус 2 упирается в коническую поверхность ловителя 4. При этом происходит ориентация частей соединителя за счет перемещения подвижного корпуса 2 относительно основания 1 на величину, не превышающую G и .
При смещении подвижного корпуса на размер G и развороте на угол относительно основания уменьшается диаметр эластичного элемента, вследствие чего выступы могут перемещаться в пазах в пределах размера зазора С между краями пазов корпуса, основания и внешними торцевыми поверхностями эластичного элемента. Размер С ограничивает перемещения выступов на величину, которая позволяет переместиться подвижной части на требуемый размер G и разворот на угол .
Зазор С между краями пазов корпуса, основания и внешними торцевыми поверхностями эластичного элемента 3 выбирается из соотношения:

где – величина, определяющая линейное перемещение выступа эластичного элемента при перемещении подвижной части 2 относительно оси на размер G в любую сторону;
– величина, определяющая линейное перемещение выступа эластичного элемента при повороте подвижной части на угол в любую сторону.
Основными исходными данными при проектировании подобных электрических соединителей являются величина радиального смещения G и угол взаимного разворота .
При сравнении с прототипом при одинаковых заданных величинах радиального смещения G и угла взаимного разворота соотношение (1) позволяет реализовать эти требования при меньших диаметрах кольцевых проточек, которые определяют габариты электрического соединителя.
Рассмотрим пример для случая, когда:
G=2,8 мм;
=3°;
R=10 мм.
Используя соотношение (1) размер зазора С будет:

При размере выступов эластичного элемента В=5 мм (определяемых конструктивно, исходя из обеспечения необходимой прочности и жесткости концов эластичного элемента) размер паза А, необходимый для обеспечения указанных G и , в силу соотношения А=В+С, составит 9,92 мм.
Подставив данные G, и R в соотношение, представленное в патенте №1484230 при =0 (как крайний случай), уже получаем
больший, чем В=5 мм – достаточный для обеспечения необходимой прочности и жесткости концов эластичного элемента, а А=2В- =12,24 мм.
Представленное сравнение показывает, что для выполнения заданных требований по величине радиального смещения G и взаимного разворота соотношение (1) позволяет выбирать меньшие габариты пазов в кольцевых проточках, что сказывается на габаритах самих кольцевых проточек и, следовательно, на габаритах ответных частей соединителя.
При наличии нахлеста концов эластичного элемента будет увеличиваться размер В и соответственно размер А, который может превышать величину 2R, что является недопустимым для проектирования электрического соединителя.
Были изготовлены опытные образцы электрических соединителей с меньшими габаритными размерами с использованием соотношения (1) при проектировании.
Формула изобретения
Электрический соединитель, состоящий из розеточной и вилочной частей, одна из которых содержит основание, и соединенный с ним эластичным элементом подвижный корпус, эластичный элемент выполнен в виде ленты с несколькими рядами продольных прорезей, смещенных относительно друг друга в соседних рядах на половину их длины, на торцах подвижного корпуса и основания со сторон, обращенных друг другу, выполнены соосные кольцевые проточки, при этом лента свернута в кольцо, а торцы размещены в кольцевых проточках подвижного корпуса и основания, в подвижном корпусе и основании вилочной или розеточной части соединителя выполнены пазы, а на концах обеих торцевых поверхностей эластичного элемента выполнены выступы, которые расположены в пазах подвижного корпуса и основания с возможностью перемещения в пределах пазов, отличающийся тем, что минимальный зазор «С» между краями пазов корпуса, основания и внешними торцевыми поверхностями эластичного элемента выбран из соотношения

где G – допустимая величина радиального смещения подвижного корпуса относительно основания;
R – радиус проточки в подвижном корпусе и основании;
– допустимый угол поворота подвижного корпуса относительно основания вокруг номинальной оси стыковки.
РИСУНКИ
|