|
|
(21), (22) Заявка: 2005141011/09, 27.12.2005
(24) Дата начала отсчета срока действия патента:
27.12.2005
(46) Опубликовано: 20.09.2007
(56) Список документов, цитированных в отчете о поиске:
SU 1688291 A1, 30.10.1991. SU 1820418 A1, 07.06.1993. SU 1737526 A1, 30.05.1992. SU 792295 A, 30.12.1980. SU 980172 A, 10.12.1982. JP 57071108 A, 01.05.1982. JP 59215703 A, 05.12.1984.
Адрес для переписки:
236000, г.Калининград, Советский пр., 1, ФГОУВПО “Калининградский государственный технический университет”, патентный отдел
|
(72) Автор(ы):
Ханевич Семен Васильевич (RU), Гнатюк Виктор Иванович (RU), Луценко Дмитрий Владимирович (RU), Шейнин Александр Анатольевич (RU), Ханевич Василий Семенович (RU)
(73) Патентообладатель(и):
Федеральное государственное образовательное учреждение высшего профессионального образования “Калининградский государственный технический университет” (RU)
|
(54) ТРАНСФОРМАТОР
(57) Реферат:
Изобретение относится к электротехнике и может быть использовано в системах электроснабжения. Технический результат состоит в обеспечении автоматического плавного регулирования и поддержания напряжения на выводах вторичных обмоток трансформатора. Трансформатор состоит из Ш-образного магнитопровода, первичных и вторичных обмоток, полых стержней, заполняемых магнитной жидкостью, соединенных с помощью трубопровода через гидронасос с емкостью, содержащей магнитную жидкость. В стенке магнитопровода имеются отверстия, посредством которых внутренние полости стержней магнитопровода сообщаются с атмосферой. С выводов вторичных обмоток снимается напряжение U на устройство сравнения. Данное устройство сравнивает это напряжение с заданным номинальным Uном.зад и в зависимости от знака разности отклонения напряжения ± U подает соответствующий сигнал на реверсивный выключатель, который управляет гидронасосом, закачивая или откачивая магнитную жидкость из емкости в полости стержней. 1 ил.
Изобретение относится к электротехнике и может быть использовано в системах электроснабжения.
Известны магнитные жидкости, представляющие собой коллоидные растворы ферромагнитных частиц в связующих жидкостях, которые могут быть использованы для коммутации магнитного потока в магнитных шунтах (Розенцвейг Р. Феррогидродинамика. – М.: Мир, 1989).
Недостатком таких шунтов является отсутствие регулируемого электрического сигнала.
Известны также устройства для плавного регулирования напряжения, имеющие магнитопровод с подвижным ярмом (Авторское свидетельство СССР №1022229, МПК Н01F 29/08, опубл. 07.06.1983).
Недостатком данных устройств является невозможность регулирования в широком диапазоне напряжения на вторичной обмотке.
Наиболее близким по технической сущности к изобретению является трехфазный трехстержневой трансформатор, включающий Ш-образный магнитопровод, первичные и вторичные обмотки и переключающие устройства (Кацман М.М. Электрические машины: Учебник для средн. спец. учебн. заведений. – М.: ВШ, 1983).
Недостатком данного трансформатора является невозможность автоматического плавного регулирования и поддержания напряжения на вторичных обмотках, что приводит к ограничению функциональных возможностей трансформатора.
Изобретение решает задачу расширения функциональных возможностей трансформатора путем обеспечения автоматического плавного регулирования и поддержания напряжения на выводах вторичных обмоток.
Для достижения необходимого технического результата известный трансформатор, включающий Ш-образный магнитопровод, первичные и вторичные обмотки и переключающие устройства, снабжен емкостью с магнитной жидкостью, а стержни магнитопровода трансформатора выполнены полыми и соединены с помощью трубопровода через гидронасос с емкостью с магнитной жидкостью. Гидронасос управляется реверсивным выключателем, который регулируется устройством сравнения. В стенке магнитопровода на уровне верхней кромки полости выполнены отверстия для сообщения с атмосферой.
Средние стержни магнитопровода трансформатора выполнены полыми с целью обеспечения возможности закачки в него или откачки из него магнитной жидкости. Внутренние полости магнитопровода соединены с помощью трубопровода через гидронасос с емкостью, содержащей магнитную жидкость, и имеют отверстия в стенках магнитопровода с целью обеспечения возможности перекачки магнитной жидкости из полостей в емкость и обратно и тем самым обеспечения возможности изменения уровня магнитной жидкости во внутренних полостях магнитопровода.
Напряжение U с выводов вторичной обмотки подается на устройство сравнения. В данном устройстве напряжение U сравнивается с заданным номинальным напряжением Uном.зад и, в зависимости от знака разности напряжений ± U=U-Uном.зад, вырабатывается управляющий сигнал, подаваемый на реверсивный выключатель, управляющий гидронасосом, который изменяет уровень магнитной жидкости во внутренних полостях магнитопровода. Тем самым происходит плавное автоматическое регулирование и поддержание напряжения на выводах вторичных обмоток.
Сущность изобретения поясняется чертежом.
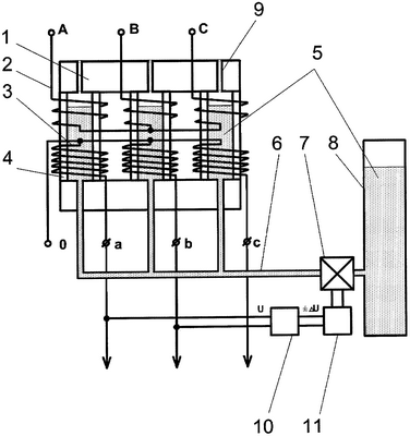
На чертеже приняты следующие обозначения: 1 – магнитопровод; 2 – первичные обмотки; 3 – вторичные обмотки; 4 – полые стержни; 5 – магнитная жидкость; 6 – трубопровод; 7 – гидронасос; 8 – емкость; 9 – отверстия; 10 – устройство сравнения; 11 – реверсивный выключатель.
Трансформатор состоит из Ш-образного магнитопровода 1, первичных 2 и вторичных 3 обмоток, полых стержней 4, заполняемых магнитной жидкостью 5, соединенных с помощью трубопровода 6 через гидронасос 7 с емкостью 8, содержащей магнитную жидкость 5. В стенке магнитопровода 1 имеются отверстия 9, посредством которых внутренние полости стержней 4 магнитопровода сообщаются с атмосферой. С выводов вторичных обмоток 3 снимается напряжение U на устройство сравнения 10. Данное устройство сравнивает это напряжение с заданным номинальным Uном.зад и в зависимости от знака разности отклонения напряжения ± U подает соответствующий сигнал на реверсивный выключатель 11, который управляет гидронасосом 7, закачивая или откачивая магнитную жидкость 5 из емкости 8 в полости стержней 4.
Трансформатор работает следующим образом.
Напряжение U с выводов вторичной обмотки 3 подается на устройство сравнения 10. При изменении напряжения U на выводах вторичной обмотки 3 от заданного номинального напряжения Uном.зад устройство сравнения 10 сравнивает это отклонение ± U=U-Uном.зад и, в зависимости от знака разности напряжения, вырабатывает управляющий сигнал, который подается на реверсивный выключатель 11.
Если напряжение на выводах вторичной обмотки возрастает (U>Uном.зад), то их разность положительна – + U. Эту разность фиксирует устройство сравнения 10 и подает соответствующих сигнал на реверсивный выключатель 11, который управляет гидронасосом 7. Гидронасос 7 откачивает магнитную жидкость 5 из полых стержней 4 через трубопровод 6 в емкость 8. По мере откачки магнитной жидкости 5 с помощью гидронасоса 7 по трубопроводу 6 в емкость 8 магнитное сопротивление магнитопровода 1 за счет снижения уровня магнитной жидкости 5 в полостях стержней 4 и заполнения их воздухом через отверстия 9 возрастает. Потокосцепление первичных 2 и вторичных 3 обмоток снижается, что, в свою очередь, приводит к снижению напряжения на выводах вторичных обмоток 3 до заданного номинального напряжения Uном.зад.
Если напряжение на выводах вторичной обмотки уменьшается (Uном.зад), то их разность отрицательна – – U. Эту разность фиксирует, аналогично первому случаю, устройство сравнения 10 и подает соответствующий сигнал на реверсивный выключатель 11, который управляет гидронасосом 7. Гидронасос 7 закачивает магнитную жидкость 5 из емкости 8 через трубопровод 6 в полые стержни 4. По мере закачки магнитной жидкости 5 магнитное сопротивление магнитопровода 1 увеличивается. Потокосцепление первичных 2 и вторичных 3 обмоток увеличивается, что, в свою очередь, приводит к увеличению напряжения U на выводах вторичных обмоток 3 до заданного номинального напряжения Uном.зад.
Свободная перекачка магнитной жидкости 5 из полостей стержней 4 магнитопровода 1 гидронасосом 7 в емкость 8 и обратно обеспечивается свободным доступом атмосферного воздуха через отверстия 9 в пространство между верхней кромкой полости и поверхностью магнитной жидкости 5 в стержни 4.
Предлагаемое решение позволяет обеспечить автоматическое плавное регулирование и поддержание напряжения на выводах вторичных обмоток трансформатора.
Формула изобретения
Трансформатор, содержащий Ш-образный магнитопровод, первичную и вторичную обмотки и переключающее устройство, отличающийся тем, что он снабжен емкостью с магнитной жидкостью, стержни магнитопровода выполнены полыми и соединены с помощью трубопровода через гидронасос, управляемый реверсивным выключателем переключающего устройства, с емкостью с магнитной жидкостью, при этом напряжение с выводов вторичной обмотки подается на устройство сравнения, сравнивающее его с заданным номинальным напряжением и вырабатывающее в зависимости от знака разности напряжений управляющий сигнал на реверсивный выключатель, а в стенках магнитопровода на уровне верхних кромок полостей выполнены отверстия для сообщения с атмосферой.
РИСУНКИ
|
|