|
|
(21), (22) Заявка: 2006108298/09, 16.03.2006
(24) Дата начала отсчета срока действия патента:
16.03.2006
(46) Опубликовано: 20.09.2007
(56) Список документов, цитированных в отчете о поиске:
RU 2174262 C1, 27.09.2001. US 4295111 А, 13.10.1981. US 6670875 А, 30.12.2003. FR 2792109 А, 28.09.1971.
Адрес для переписки:
445036, Самарская обл., г. Тольятти, ул. Юбилейная, 11, кв.184, А.Ю. Гаранину
|
(72) Автор(ы):
Гаранин Андрей Юрьевич (RU)
(73) Патентообладатель(и):
Гаранин Андрей Юрьевич (RU)
|
(54) ЭЛЕКТРОМАГНИТ
(57) Реферат:
Изобретение относится к области электротехники. Техническим результатом является повышение быстродействия электромагнита постоянного тока. Указанный технический результат достигается тем, что в электромагните, содержащем намагничивающую катушку и магнитную систему с рабочим воздушным зазором, включающую в себя постоянный магнит и выполненные из магнитно-мягкого материала корпус, сердечник, якорь, опорный и проходной фланцы, постоянный магнит охватывает часть сердечника или якоря и намагничен вдоль оси магнитной системы, а к торцевым поверхностям постоянного магнита примыкают два магнитных шунта, закрепленных, соответственно, на сердечнике или якоре и выполненных из магнитно-мягкого материала, причем направление магнитного потока, создаваемого постоянным магнитом в рабочем воздушном зазоре, совпадает с направлением магнитного потока, создаваемого катушкой. 2 ил.
Изобретение относится к электротехнике, в частности к конструкции электромагнитов постоянного тока, которые могут быть использованы в качестве исполнительных элементов в автоматизированных системах, где требуется повышенное быстродействие.
Известен электромагнит (патент США №6670876, МПК H01F 3/00), содержащий катушку и магнитную систему, включающую в себя магнитопровод и якорь, движущийся в осевом направлении. Постоянный магнит установлен между двумя частями корпуса магнитопровода.
Недостатком известной конструкции является недостаточное быстродействие электромагнита, так как магнитный поток, создаваемый катушкой и определяющий развиваемое электромагнитом усилие, проходит через постоянный магнит, магнитная проницаемость материала которого незначительна.
Известен также электромагнит (патент РФ №2174262, МПК H01F 7/13), который содержит катушку намагничивания и магнитопровод. Магнитопровод выполнен, по крайней мере, из двух частей, хотя бы часть одной из них, расположенная во внутренней полости катушки намагничивания, выполнена из магнитотвердого материала.
Такая конструкция позволяет увеличить силу магнитного притяжения, уменьшить энергопотребление и увеличить быстродействие электромагнита.
Недостатком известной конструкции является недостаточное быстродействие электромагнита, так как магнитный поток, создаваемый катушкой и определяющий развиваемое электромагнитом усилие, проходит через постоянный магнит, магнитная проницаемость материала которого незначительна.
Задачей изобретения является повышение быстродействия электромагнита постоянного тока.
Поставленная задача решается тем, что в электромагните, содержащем намагничивающую катушку и магнитную систему с рабочим воздушным зазором, включающую в себя постоянный магнит и выполненные из магнитно-мягкого материала корпус, сердечник, якорь, опорный и проходной фланцы, постоянный магнит охватывает часть сердечника или якоря и намагничен вдоль оси магнитной системы, а к торцевым поверхностям постоянного магнита примыкают два магнитных шунта, закрепленных, соответственно, на сердечнике или якоре и выполненных из магнитно-мягкого материала, причем направление магнитного потока, создаваемого постоянным магнитом в рабочем воздушном зазоре, совпадает с направлением магнитного потока, создаваемого катушкой.
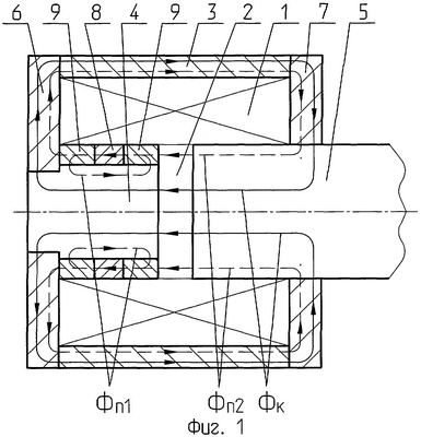
На фиг.1 изображен электромагнит, часть сердечника которого охватывает постоянный магнит, а к торцевым поверхностям постоянного магнита примыкают два магнитных шунта из магнитно-мягкого материала, закрепленных на сердечнике.
На фиг.2 изображен электромагнит, часть якоря которого охватывает постоянный магнит, а к торцевым поверхностям постоянного магнита примыкают два магнитных шунта из магнитно-мягкого материала, закрепленных на якоре.
Электромагнит содержит намагничивающую катушку 1 и магнитную систему с рабочим воздушным зазором 2, включающую в себя выполненные из магнитно-мягкого материала корпус 3, сердечник 4, якорь 5, опорный 6 и проходной 7 фланцы. На сердечнике 4 (фиг.1) или якоре 5 (фиг.2) расположен охватывающий часть сердечника 4 (фиг.1) или якоря 5 (фиг.2) постоянный магнит 8, намагниченный вдоль оси магнитной системы, к торцевым поверхностям которого примыкают два магнитных шунта 9 из магнитно-мягкого материала, охватывающие части сердечника 4 (фиг.1) или якоря 5 (фиг.2). Направление магнитного потока, создаваемого постоянным магнитом 8 в рабочем воздушном зазоре 2, совпадает с направлением магнитного потока, создаваемого катушкой 1.
Если постоянный магнит 8 установлен на сердечнике 4, один из магнитных шунтов 9, примыкающих к торцевым поверхностям постоянного магнита 8, может быть выполнен заодно с сердечником 4.
Если постоянный магнит 8 установлен на якоре 5, то магнитный шунт 9, примыкающий к торцевой поверхности постоянного магнита 8 со стороны проходного фланца 7, может быть выполнен заодно с якорем 5.
При расположении постоянного магнита 8 на сердечнике 4 (фиг.1), когда катушка 1 выключена, большая часть Фп1 поляризующего магнитного потока, создаваемого постоянным магнитом 8, замыкается через примыкающие к торцевым поверхностям постоянного магнита 8 магнитные шунты 9 и охватываемую постоянным магнитом 8 часть сердечника 4, так как этот путь имеет наибольшую магнитную проводимость по сравнению с параллельным путем через магнитный шунт 9, примыкающий к торцевой поверхности постоянного магнита 8 со стороны опорного фланца 6, опорный фланец 6, корпус 3, проходной фланец 7, якорь 5, рабочий воздушный зазор 2, магнитный шунт 9, примыкающий к торцевой поверхности постоянного магнита 8 со стороны рабочего воздушного зазора 2, по которому проходит меньшая часть Фп2 потока поляризующего постоянного магнита 8. Так как магнитный поток Фп2, проходящий через рабочий воздушный зазор 2, при выключенной катушке 1 незначителен, создаваемое электромагнитом усилие не может преодолеть усилие возвратной пружины (на чертеже не показана) и якорь 5 остается неподвижным.
При включении катушки 1 нарастающий в ней ток создает свой магнитный поток Фк, который замыкается через якорь 5, рабочий воздушный зазор 2, сердечник 4, опорный фланец 6, корпус 3, проходной фланец 7. Магнитный поток Фк в охватываемой постоянным магнитом 8 части сердечника 4 направлен навстречу магнитному потоку Фп1. Поэтому возрастающая намагничивающая сила катушки 1 уменьшает магнитный поток Фп1, являющийся частью поляризующего магнитного потока, создаваемого постоянным магнитом 8. Одновременно возрастает часть Фп2 магнитного потока постоянного магнита 8, которая замыкается через выполненный из магнитно-мягкого материала и примыкающий к торцевой поверхности постоянного магнита 8 со стороны опорного фланца 6 магнитный шунт 9, опорный фланец 6, корпус 3, проходной фланец 7, якорь 5, рабочий воздушный зазор 2 и магнитный шунт 9, примыкающий к торцевой поверхности постоянного магнита 8 со стороны рабочего воздушного зазора 2.
При увеличении тока в катушке 1 и достижения создаваемой им намагничивающей силы, достаточной для перемагничивания охватываемой постоянным магнитом 8 части сердечника 4, магнитный поток в этой части сердечника 4 меняет направление и по нему проходит поток Фк, создаваемый катушкой 1. В этом случае магнитный поток Фп1, проходящий через охватываемую постоянным магнитом часть сердечника 4, исчезает и весь магнитный поток постоянного магнита 8 состоит из потока Фп2, замыкающегося через рабочий воздушный зазор 2. Изменение пути замыкания постоянно существующего в системе поляризующего магнитного потока, создаваемого постоянным магнитом 8, приводит к тому, что скорость нарастания магнитного потока в рабочем воздушном зазоре 2 увеличивается, что вызывает увеличение скорости нарастания создаваемого электромагнитом усилия и повышение его быстродействия.
При выключении катушки 1 магнитный поток Фк, создаваемый ее намагничивающей силой, снижается до нуля. При этом происходит перераспределение частей Фп1 и Фп2 магнитного потока постоянного магнита 8 по параллельным путям замыкания. Возрастает часть Фп1 поляризующего магнитного потока, которая снова замыкается по пути с наибольшей магнитной проводимостью через охватываемую постоянным магнитом 8 часть сердечника 4. Одновременно с увеличением потока Фп1 часть магнитного потока Фп2, проходящая через рабочий воздушный зазор 2, стремится к минимуму. Магнитный поток в рабочем воздушном зазоре 2 и развиваемое электромагнитом усилие снижаются и якорь 5 под действием возвратной пружины (на чертеже не показана) возвращается в исходное положение.
При расположении постоянного магнита 8 на якоре 5 (фиг.2), когда катушка 1 выключена, большая часть Фп1 поляризующего магнитного потока, создаваемого постоянным магнитом 8, замыкается через примыкающие к торцевым поверхностям постоянного магнита 8 магнитные шунты 9 и охватываемую постоянным магнитом 8 часть якоря 5, так как этот путь имеет наибольшую магнитную проводимость по сравнению с параллельным путем через магнитный шунт 9, примыкающий к торцевой поверхности постоянного магнита 8 со стороны рабочего воздушного зазора 2, рабочий воздушный зазор 2, сердечник 4, опорный фланец 6, корпус 3, проходной фланец 7, часть якоря 5, не охваченную как постоянным магнитом 8, так и примыкающим к нему шунтом 9, со стороны проходного фланца 7, магнитный шунт 9, примыкающий к торцевой поверхности постоянного магнита 8 со стороны проходного фланца 7, по которому проходит меньшая часть Фп2 потока поляризующего постоянного магнита 8. Так как магнитный поток Фп2, проходящий через рабочий воздушный зазор 2, при выключенной катушке 1 незначителен, создаваемое электромагнитом усилие не может преодолеть усилие возвратной пружины (на чертеже не показана) и якорь 5 остается неподвижным.
При включении катушки 1 нарастающий в ней ток создает свой магнитный поток Фк, который замыкается через якорь 5, рабочий воздушный зазор 2, сердечник 4, опорный фланец 6, корпус 3, проходной фланец 7. Магнитный поток Фк в охватываемой постоянным магнитом 8 части якоря 5 направлен навстречу магнитному потоку Фп1. Поэтому возрастающая намагничивающая сила катушки 1 уменьшает магнитный поток Фп1, являющийся частью поляризующего магнитного потока, создаваемого постоянным магнитом 8. Одновременно возрастает часть Фп2 магнитного потока постоянного магнита 8, которая замыкается через выполненный из магнитно-мягкого материала и примыкающий к торцевой поверхности постоянного магнита 8 со стороны рабочего воздушного зазора 2 магнитный шунт 9, рабочий воздушный зазор 2, сердечник 4, опорный фланец 6, корпус 3, проходной фланец 7, часть якоря 5, не охваченную как постоянным магнитом 8, так и примыкающим к нему шунтом 9, со стороны проходного фланца 7, магнитный шунт 9, примыкающий к торцевой поверхности постоянного магнита 8 со стороны проходного фланца 7.
При увеличении тока в катушке 1 и достижения создаваемой им намагничивающей силы, достаточной для перемагничивания охватываемой постоянным магнитом 8 части якоря 5, магнитный поток в этой части якоря 5 меняет направление и по нему проходит поток Фк, создаваемый катушкой 1. В этом случае магнитный поток Фп1, проходящий через охватываемую постоянным магнитом часть якоря 5 исчезает и весь магнитный поток постоянного магнита 8 состоит из потока Фп2, замыкающегося через рабочий воздушный зазор 2. Изменение пути замыкания постоянно существующего в системе поляризующего магнитного потока, создаваемого постоянным магнитом 8, приводит к тому, что скорость нарастания магнитного потока в рабочем воздушном зазоре 2 увеличивается, что вызывает увеличение скорости нарастания создаваемого электромагнитом усилия и повышение его быстродействия.
При выключении катушки 1 магнитный поток Фк, создаваемый ее намагничивающей силой, снижается до нуля. При этом происходит перераспределение частей Фп1 и Фп2 магнитного потока постоянного магнита 8 по параллельным путям замыкания. Возрастает часть Фп1 поляризующего магнитного потока, которая снова замыкается по пути с наибольшей магнитной проводимостью через охватываемую постоянным магнитом 8 часть якоря 5. Одновременно с увеличением потока Фп1 часть магнитного потока Фп2, проходящая через рабочий воздушный зазор 2, стремится к минимуму. Магнитный поток в рабочем воздушном зазоре 2 и развиваемое электромагнитом усилие снижаются и якорь 5 под действием возвратной пружины (на чертеже не показана) возвращается в исходное положение.
Формула изобретения
Электромагнит, содержащий намагничивающую катушку и магнитную систему с рабочим воздушным зазором, включающую в себя постоянный магнит и выполненные из магнитно-мягкого материала корпус, сердечник, якорь, опорный и проходной фланцы, отличающийся тем, что постоянный магнит охватывает часть сердечника или якоря и намагничен вдоль оси магнитной системы, а к торцевым поверхностям постоянного магнита примыкают два магнитных шунта, выполненных из магнитно-мягкого материала и закрепленных соответственно на сердечнике или якоре, причем направление магнитного потока, создаваемого постоянным магнитом в рабочем воздушном зазоре, совпадает с направлением магнитного потока, создаваемого катушкой.
РИСУНКИ
|
|