|
|
(21), (22) Заявка: 2006100544/09, 10.01.2006
(23) Дата поступления дополнительных материалов к ранее поданной заявке: 2005.10.17 2005110809/09 13.04.200
(24) Дата начала отсчета срока действия патента:
10.01.2006
(46) Опубликовано: 20.09.2007
(56) Список документов, цитированных в отчете о поиске:
ЗАЙЦЕВА А. Все дело в смачивании. – Наука и жизнь, 2005, №2. SU 1049853 А, 23.10.1983. RU 2139559 C1, 10.10.1999. SU 452021 A1, 30.11.1974. RU 2085981 C1, 27.07.1997. JP 2004-325524 В1, 18.11.2004. JP 2004-212609 В1, 29.07.2004. JP 08-152640 В1, 11.06.1996.
Адрес для переписки:
140003, Московская обл., г. Люберцы, п/о 3, 68, кв.125, Д.О. Прокопенко
|
(72) Автор(ы):
Прокопенко Дмитрий Олегович (RU)
(73) Патентообладатель(и):
Прокопенко Дмитрий Олегович (RU)
|
(54) ЯЧЕЙКА ДИСПЛЕЯ
(57) Реферат:
Изобретение представляет собой ячейку многоцветного дисплея, в которой для управления цветом используется эффект электросмачивания. Техническим результатом является обеспечение повышения качества изображения за счет полного и четкого разделения цветов и использования всей площади ячейки для воспроизведения одного цвета. Ячейка содержит полость с токопроводящей (ТП) и токонепроводящей (ТН) жидкостями и раздельные электроды в ТП жидкости. Полость ячейки выполнена в виде кольцевого замкнутого контура, включающего экран ячейки. На части своей поверхности полость имеет гидрофобное (ГФ) покрытие с раздельными электродами под ним. В исходном положении жидкостей при отсутствии напряжения часть канала контура с ГФ покрытием заполнена ТН жидкостью, которая содержит цветоносители в виде прозрачных цветных шариков, плотность которых равна плотности этой жидкости. Шарики одного цвета объединены в секции, одна из которых в отсутствии напряжения располагается под экраном. При этом электроды ГФ покрытия и секции шариков имеют одинаковую длину. 4 ил.
Изобретение относится к видеотехнике, многоцветным дисплеям, использующим для управления цветом эффект электросмачивания, МПК G09F 9/35.
Известна ячейка дисплея фирмы «Philips», см. журнал «Наука и жизнь» №2 за 2005 г., статью Зайцевой А. «Все дело в смачивании». Ячейка имеет полость, заполненную несмешивающимися жидкостями, токопроводящей (ТП) – водой и токонепроводящей (ТН) – маслом красного цвета, которое покрывает белое донце ячейки с гидрофобным (ГФ) покрытием и электродом под ним. Второй электрод размещен в воде. Когда между электродами дают напряжение, ГФ покрытие становится гидрофильным, вода устремляется к нему, оттесняя масло в угол экрана ячейки, открывая при этом белый цвет донца. На фото видно, что красное масло осталось пятнами на донце. Разделение цветов нечеткое и неполное. Экран дисплея в этом случае будет не белым, а светло-красным, тем более хорошего разделения цветов не приходится ожидать от ячейки с тремя цветами. В этом недостаток ячейки.
Целью изобретения является обеспечение полного и четкого разделения цветов, использования всей площади экрана ячейки для воспроизведения одного цвета.
Сущность изобретения. Полость ячейки дисплея выполнена в виде кольцевого замкнутого контура, который включает экран ячейки. В исходном положении жидкостей, при отсутствии напряжения, часть канала контура с ГФ покрытием заполнена токопроводящей жидкостью, содержащей цветоносители в виде прозрачных цветных шариков, размещенных по крайней мере в один ряд. Шарики имеют возможность циркулировать в контуре вместе с жидкостью, а плотность их материала равна плотности токопроводящей жидкости. Шарики одного цвета объединены в секции, одна из которых в исходном положении распложена под экраном, а электроды ГФ покрытия размещены по длине остальных секций.
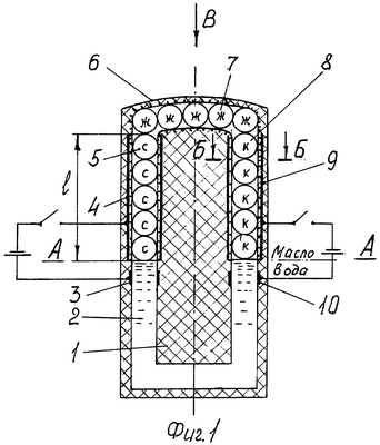
Для пояснения конструкции ячейки и ее работы прилагается чертеж (Фиг.1, 2, 3, 4). На Фиг.1 дан продольный разрез ячейки; на Фиг.2 – вид на шарики под экраном по стрелке В; на Фиг.3 – разрез Б-Б по электроду под ГФ покрытием; на Фиг.4 – условное обозначение ГФ покрытия.
Конструкция ячейки дисплея включает: корпус 1; полость канала 2 замкнутого контура; электрод левый 3 в воде; электрод левый 4 под ГФ покрытием; шарик 5 синий; экран 6 ячейки; шарик 7 желтый; шарик 8 красный; электрод правый 9 под ГФ покрытием; электрод правый 10 в воде. Шарики выполнены из прозрачного полимерного материала, а цвет их может быть и иным. Имея плотность равную плотности ТН жидкости, шарики не изменяют практически безынерционную циркуляцию этой жидкости в канале контура.
Работа ячейки дисплея. ГФ покрытие в верхней части контура отталкивает воду вниз с образованием между ней и маслом четкой устойчивой границы по плоскости А-А, см. Фиг.1, вне зависимости от пространственной ориентации ячейки и воздействия силы гравитации. Канал с маслом заполнен шариками в несколько рядов, и каждый ряд поделен на секции определенного цвета. Длина каждой секции равна длине электрода l. В исходном положении под экраном высвечивается секция с желтыми шариками. Если необходимо желтый цвет сменить на синий, то создают напряжение между электродами 3 и 4, тогда ГФ покрытие на длине l станет гидрофильным и вода устремится вверх, смачивая покрытие и перемещая масло вместе с шариками, осуществляя циркуляцию жидкости в контуре по часовой стрелке, в результате чего на экране синяя секция вытеснит желтую вследствие равенства длин секций и электродов под ГФ покрытием.
Известно, что площадь окружности, вписанной в квадрат, составляет 3,14/4 от его площади, следовательно, площадь цветных шариков по отношению к площади экрана определяется таким же соотношением, что характеризует и яркость свечения экрана. Причем указанное соотношение не зависит от рядности шариков: будет их пять рядов, как на прилагаемом чертеже, или один ряд. В статье Зайцевой приводятся данные о том, что фирме «Philips» удалось использовать две трети экрана для воспроизведения одного цвета, это в четыре раза ярче, чем в жидкокристаллических дисплеях, и все же это почти на 20% меньше, чем в предлагаемой конструкции, которая и определяет теперь мировой уровень яркости.
Основные размеры предлагаемой ячейки в миллиметрах: экран 0,5×0,5; высота ячейки 1,4; диаметр шариков 0,08.
Помимо синего, желтого и красного цветов на дисплее с предлагаемыми ячейками можно получать и дополнительные цвета. Так, если подать на электроды 3 и 4 напряжение меньше максимального, то секция синих шариков лишь частично вытеснит секцию желтых, так что на экране ячейки окажется граница между этими секциями и экран дисплея будет зеленым. Уберем напряжение, секции займут исходные положение, как показано на чертеже. Теперь, если подать напряжение меньше максимального на электроды 9 и 10, то можно выдвинуть на экран ячейки границу между красной и желтой секциями и получить на дисплее оранжевый цвет. Естественно, изменяя на экране положение границы между секциями, можно получить множество оттенков зеленого и оранжевого цветов на дисплее, все зависит от программного обеспечения работы дисплея.
Формула изобретения
Ячейка дисплея, содержащая полость с токопроводящей и токонепроводящей жидкостями, в которой эта полость на части своей поверхности имеет гидрофобное покрытие с раздельными электродами под ним и возможностью изменять ими смачивающие свойства покрытия при наличии напряжения, а также раздельные электроды в токопроводящей жидкости, отличающаяся тем, что полость ячейки в ней выполнена в виде кольцевого замкнутого контура, включающего экран ячейки, при этом в исходном положении жидкостей при отсутствии напряжения часть канала контура с гидрофобным покрытием заполнена токонепроводящей жидкостью, содержащей цветоносители в виде прозрачных цветных шариков, размещенных, по крайней мере, в один ряд с возможностью их циркуляции в нем вместе с жидкостью, и имеющих плотность материала, равную плотности токонепроводящей жидкости, причем шарики одного цвета объединены в секции, одна из которых в исходном положении располагается под экраном, при этом электроды гидрофобного покрытия размещены по длине остальных секций.
РИСУНКИ
|
|