|
|
(21), (22) Заявка: 2006113360/28, 19.04.2006
(24) Дата начала отсчета срока действия патента:
19.04.2006
(46) Опубликовано: 20.09.2007
(56) Список документов, цитированных в отчете о поиске:
RU 2292602 C1, 27.01.2007. RU 2285960 С1, 20.10.2006. RU 2292601 C1, 27.01.2007. КУШНИР Ф.В. и др. Измерение в технике связи. – М.: Связь, 1970, с.478. RU 2133505 C1, 20.07.1999. SU 530289 А, 30.09.1976. DT 2507837 A1, 02.09.1976. WO 98/20472 A2, 14.05.1998.
Адрес для переписки:
197082, Санкт-Петербург, П-82, ул. Красного Курсанта, 16, ВКА им. А.Ф.Можайского, В.Е. Прохоровичу
|
(72) Автор(ы):
Белокопытов Руслан Алексеевич (RU), Ковнацкий Валерий Константинович (RU)
(73) Патентообладатель(и):
Военно-космическая академия им. А.Ф. Можайского (RU)
|
(54) ИЗМЕРИТЕЛЬ ПРОЕКЦИИ ВЕКТОРА НАПРЯЖЕННОСТИ ПЕРЕМЕННОГО МАГНИТНОГО ПОЛЯ
(57) Реферат:
Предложенное изобретение относится к учебным приборам и может быть использовано в лабораторном практикуме в высших и средних специальных учебных заведениях по курсу физики для изучения и углубления знаний физических законов. Целью изобретения является упрощение конструкции прибора. Предложенный измеритель проекции вектора напряженности переменного магнитного поля содержит регулируемый усилитель, измерительный механизм и фазочувствительный детектор, вводы первого входа которого соединены с выводами регулируемого усилителя, а выводы его соединены с вводами измерительного механизма. Кроме того, в состав измерителя дополнительно введены регистратор ЭДС, подвижная измерительная катушка, выводы которой соединены с вводами регулируемого усилителя и регистратора ЭДС, неподвижная измерительная катушка, выводы которой соединены с вводами второго входа фазочувствительного детектора. 3 ил.
Изобретение относится к учебным приборам и может быть использовано в лабораторном практикуме в высших и средних специальных учебных заведениях по курсу физики для изучения и углубления знаний физических законов.
Известен измеритель проекции Нl вектора напряженности переменного магнитного поля на направление вектора , основанный на индукционном методе (патент RU №2210815, 20.08.2003, Бюл. №23. Автор Ковнацкий В.К.). Он прост в реализации и эксплуатации. Этот измеритель содержит подвижную измерительную катушку, выводы которой соединены с вводами регистратора ЭДС взаимоиндукции. С помощью этого измерителя можно определить проекцию Нl, но нельзя определить знак этой проекции.
Известен также измеритель проекции Нl как переменного, так и постоянного магнитного поля, основанный на эффекте Холла (Н.Н.Евграфова, В.Л.Каган Руководство к лабораторным работам по физике. – М.: Высшая школа, 1970, с.193, рис.135). Однако на этом измерителе нельзя определить знак проекции Нl.
Наиболее близким к предлагаемому измерителю проекции Нl является измеритель, основанный на эффекте Холла (Ф.В.Кушнир и др. Измерения в технике связи. – М.: Связь, 1970, с.478, рис.16.6). С помощью этого измерителя Нl можно определить величину проекции и знак проекции с помощью фазочувствительного детектора и измерительного механизма. Однако измеритель (фиг.1) сложен в реализации и эксплуатации на лабораторных занятиях. Для повышения точности измерений применяют температурную компенсацию и термостабилизацию датчика ЭДС Холла (ДX), а это делает его дорогим и неудобным в работе.
Он содержит (фиг.1) регулируемый усилитель (У), измерительный механизм (ИМ) и фазочувствительный детектор (ФД), вводы первого входа (х) которого соединены с выводами регулируемого усилителя, а выводы его соединены с вводами измерительного механизма.
Целью изобретения является упрощение известного измерителя проекции Нl (фиг.1). Эта цель достигается тем, что в него введены: регистратор ЭДС; подвижная измерительная катушка, выводы которой соединены с вводами регулируемого усилителя и регистратора ЭДС; неподвижная измерительная катушка, выводы которой соединены с вводами второго входа фазочувствительного детектора.
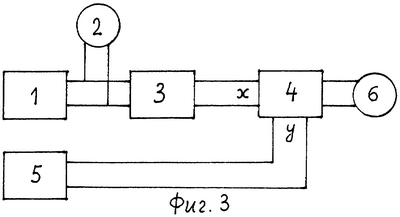
На фиг.1 изображен прототип предлагаемого измерителя, на фиг.2 представлен чертеж, поясняющий принцип работы предлагаемого измерителя. На фиг.3 изображен общий вид этого измерителя.
Предлагаемый измеритель проекции вектора напряженности переменного магнитного поля содержит: 1 – подвижная измерительная катушка; 2 – регистратор ЭДС; 3 – регулируемый усилитель; 4 – фазочувствительный детектор; 5 – неподвижная измерительная катушка; 6 – измерительный механизм.
Определение проекции вектора напряженности переменного магнитного поля осуществляется, например, при вычислении циркуляции вектора напряженности магнитного поля. Циркуляция вектора по замкнутому контуру l

где – вектор элемента контура, направленного из точки В по направлению обхода контура l (фиг.2); Нl=Hcos – проекция вектора на направлении вектора ; – угол между векторами и .
Заменим интеграл (1) конечной суммой:

где Hli – проекция вектора на направления в i-й точке, li – элемент контура конечной длины, соответствующие i-й точке.
Проекцию вектора Нli в произвольной точке контура l измеряем индукционным методом. Для этого в исследуемую точку устанавливаем подвижную измерительную катушку 1, содержащую W витков и имеющую столь малые размеры, что поле в ее окрестности можно считать однородным. Если измерительную катушку 1 расположить так, чтобы ось ее (нормаль л) совпадала с направлением вектора (фиг.2), то проекция вектора напряженности переменного магнитного поля Нli на направление в i-й точке определяется по формуле:

где i – ЭДС, измеряемая регистратором ЭДС 2; – частота переменного магнитного поля; 0 – магнитная постоянная; – магнитная проницаемость сердечника; S – площадь поперечного сечения подвижной измерительной катушки 1; – постоянный коэффициент.
Подставляя выражение (3) в формулу (2), получим окончательное выражение для определения циркуляции вектора Н по замкнутому контуру

Из выражения (4) следует, что для определения циркуляции вектора по произвольному замкнутому контуру l необходимо разбить этот контур на n частей. Измерить ЭДС i в каждой i-й точке контура, вычислить сумму всех n произведений i li и умножить на . Значение i необходимо брать со своими знаками. Покажем, каким образом определяются знаки ЭДС i.
Если в произвольной i-й точке угол между векторами и лежит в пределах 0°  90°, то проекция Нli, будет положительной и знак при i в формуле (4) будет также положительным (точки А, В, С на фиг.2). Если в i-й точке 90°  180°, то проекция Hli, будет отрицательной и знак при i в формуле (4) будет отрицательным (точки D, F на фиг.2).
Общий вид предлагаемого измерителя проекции вектора напряженности переменного магнитного поля изображен на фиг.3. Он включает в себя подвижную измерительную катушку 1, выводы которой соединены с вводами регистратора ЭДС 2 и регулируемого усилителя 3. Выводы регулируемого усилителя 3 соединены с вводами первого входа (х) фазочувствительного детектора 4. Рядом и параллельно подвижной измерительной катушке 1, которая располагается в исходной точке контура l, например, в точке В (фиг.2) расположена точно такая же неподвижная измерительная катушка 5, выводы которой соединены с вводами второго входа (у) фазочувствительного детектора 4. Выводы фазочувствительного детектора 4 соединены с вводами измерительного механизма 6. В процессе работы неподвижная измерительная катушка 5 остается на месте, а подвижная измерительная катушка 1 устанавливается в нужные точки магнитного поля, например в точки А, В, С, D, F (фиг.2).
За счет явления электромагнитной индукции в подвижной 1 и неподвижной 5 измерительных катушках наводятся переменные ЭДС, которые подаются соответственно на первый (х) и второй (у) входы фазочувствительного детектора 4. Если угол между векторами и в i-й точке контура l лежит в пределах 0°  90°, то измерительный механизм 6, подключенный к выходу фазочувствительного детектора 4 показывает положительное напряжение. В этом случае проекция Нli будет иметь положительный знак.
Если угол между векторами и в i-й точке контура l лежит в пределах 90°  180°, то измерительный механизм 6 покажет отрицательное напряжение. В этом случае проекция Hli будет иметь отрицательный знак.
В зависимости от положения на контуре l подвижной измерительной катушки 1 регистратор ЭДС 2 будет показывать различные ЭДС i. По измеренной ЭДС i и по формуле (3) находим величину Hli. Так как от точки к точке контура l ЭДС i будет изменятся в пределах от 0 до imax, поэтому для нормальной работы фазочувствительного детектора 4 ЭДС, снимаемая с подвижной измерительной катушки 1, усиливается или автоматическим, или ручным способом с помощью регулируемого усилителя 3.
Таким образом, по измеренной регистратором ЭДС 2 в произвольной i-й точке переменного магнитного поля определяем по формуле (3) проекцию вектора напряженности магнитного поля на направление вектора обхода . Знаки проекций Нli в каждой точке магнитного поля определяем по знаку напряжения измерительного механизма 6.
Технико-экономическая эффективность предлагаемого измерителя проекции вектора напряженности переменного магнитного поля заключается в том, что он содержит недорогие, удобные для проведения исследований элементы. Измеритель недорогой, удобный в работе и обеспечивает повышение качества усвоения основных законов и явлений физики студентами.
Предлагаемая установка реализована на кафедре физики и используется в учебном процессе на лабораторных работах по электромагнетизму.
Формула изобретения
Измеритель проекции вектора напряженности переменного магнитного поля, содержащий регулируемый усилитель, измерительный механизм и фазочувствительный детектор, вводы первого входа которого соединены с выводами регулируемого усилителя, а выводы его соединены с вводами измерительного механизма, отличающийся тем, что в него введены регистратор ЭДС, подвижная измерительная катушка, выводы которой соединены с вводами регулируемого усилителя и регистратора ЭДС, неподвижная измерительная катушка, выводы которой соединены с вводами второго входа фазочувствительного детектора.
РИСУНКИ
MM4A – Досрочное прекращение действия патента СССР или патента Российской Федерации на изобретение из-за неуплаты в установленный срок пошлины за поддержание патента в силе
Дата прекращения действия патента: 20.04.2008
Извещение опубликовано: 20.03.2010 БИ: 08/2010
|
|