|
|
(21), (22) Заявка: 2006109347/09, 24.03.2006
(24) Дата начала отсчета срока действия патента:
24.03.2006
(46) Опубликовано: 20.09.2007
(56) Список документов, цитированных в отчете о поиске:
US 4086475, 25.04.1978. RU 2195079 C1, 20.12.2002. US 4357530, 02.11.1982. JP 06-176225, 24.06.1994. JP 06-191747, 12.07.1994. JP 07-182547, 21.07.1995.
Адрес для переписки:
117279, Москва, ул. Миклухо-Маклая, 55а, ЗАО “Фирма “Центр патентных услуг”, К.А. Суворову
|
(72) Автор(ы):
Габлин Максим Владимирович (RU), Комиссаров Сергей Болеславович (RU), Буравцев Иван Евгеньевич (RU), Гоглов Сергей Александрович (RU), Комиссаров Владимир Болеславович (RU), Юдин Василий Владимирович (RU)
(73) Патентообладатель(и):
Общество с ограниченной ответственностью “Социальные системы” (RU)
|
(54) УСТРОЙСТВО ДЛЯ ОБРАБОТКИ БЕСКОНТАКТНЫХ СМАРТ-КАРТ
(57) Реферат:
Изобретение относится к устройствам обработки бесконтактных смарт-карт и может быть успешно использовано в составе систем контроля доступа, включая контрольно-пропускные пункты в местах проведения культурно-массовых мероприятий, охраняемых зданиях и сооружениях жилого и нежилого фонда, а также системы контроля и регулирования пассажиропотока на общественном транспорте. Устройство для обработки бесконтактных смарт-карт включает в себя приемник и соединенный с ним накопитель смарт-карт. Накопитель имеет полость для сбора и хранения смарт-карт и наружный карман для возврата карты пользователю, и при этом приемник содержит блок считывания и управления, а также узел приема и сортировки карт. Последний включает в себя шаговый электродвигатель и соединенный с его ротором сортировочный карман, обеспечивающий прием и размещение карты для ее считывания при помощи указанного блока считывания и управления с возможностью ее последующего направления на хранение в замкнутую полость накопителя или на выдачу пользователю через наружный карман накопителя в зависимости от результатов считывания информации с карты. В результате обеспечивается корректная обработка бесконтактных смарт-карт, предназначенных как для однократного, так и многократного использования. При этом устройство имеет сравнительно несложную конструкцию и может быть реализовано в виде самостоятельного элемента системы контроля доступа. 6 з.п. ф-лы, 5 ил.
Изобретение относится к устройствам обработки бесконтактных смарт-карт и может быть успешно использовано в составе систем контроля доступа, включая контрольно-пропускные пункты в местах проведения культурно-массовых мероприятий, охраняемых зданиях и сооружениях жилого и нежилого фонда, а также системы контроля и регулирования пассажиропотока на общественном транспорте.
В настоящее время бесконтактные смарт-карты (БСК) уже хорошо известны и широко используются на практике для идентификации личности пользователя в системах контроля доступа на режимные объекты, в качестве средства оплаты проезда в общественном транспорте, а также в других приложениях. Типы и схемы работы устройств, используемых для обработки БСК, в существенной степени зависят от конкретного приложения, а именно от типа информации, записанной на БСК, срока использования одной смарт-карты и пр.
Смарт-карты, используемые постоянными посетителями режимных объектов (например, штатными сотрудниками компаний, чьи офисы расположены на данном конкретном объекте), являются по существу многоразовыми, т.е. одна карта постоянно используется одним и тем же пользователем на протяжении длительного периода времени. Устройства обработки смарт-карт подобного типа, как правило, выполнены с возможностью считывания информации с карты после ее простого прикладывания к считывающему устройству либо предусматривают прием карты для считывания с обязательной ее последующей выдачей вне зависимости от того, соответствует ли размещенная на карте информация установленным в системе правилам допуска на объект или нет. В последнем случае при соответствии информации на карте условиям допуска средство контроля доступа на объект (например, турникет того или иного типа) разблокируется, разрешая проход пользователя. В противном случае – при несоответствии информации на карте установленным требованиям – как правило, выдается звуковой сигнал пользователю либо любым иным способом сообщается о недействительности его карты, и средство контроля доступа остается заблокированным, не разрешая проход.
В то же время смарт-карты, предназначенные для применения только один раз или в течение ограниченного периода времени (например, идентифицирующие гостей режимного объекта или используемые пассажирами общественного транспорта для одной поездки или некоторого ограниченного числа поездок), как правило, нуждаются в утилизации после их аннулирования для последующего повторного использования. Во многих существующих на данный момент системах контроля доступа эта проблема решается за счет утилизации аннулированных карт вручную: например, гость режимного объекта сдает использованную карту на охране (передает охраннику в руки), либо пассажир транспортного средства после использования карты должен утилизировать ее в специально отведенном для этих целей контейнере. Очевидными недостатками данной схемы утилизации является сравнительно высокая вероятность утраты части использованных карт (посетитель режимного объекта или пассажир транспортного средства может попросту не вернуть аннулированную карту), сопряженная с этим опасность загрязнения окружающей среды (большинство карт содержат пластиковые и металлические детали, плохо поддающиеся естественному распаду), а также необходимость использования дополнительных, отдельно стоящих емкостей для утилизации на остановках общественного транспорта или в помещениях режимных объектов. Кроме того, при усложнении схемы доступа на режимный объект, например, при наличии нескольких уровней доступа на объект для различных гостей ручная утилизация аннулированных карт для их последующего повторного использования существенно усложняет работу службы охраны объекта. Все это в совокупности приводит к неоправданному повышению издержек на обслуживание системы контроля доступа и заметному снижению эффективности последней.
Известны также устройства для обработки различных типов носителей индивидуальной информации (билетов, магнитных карт и пр.), в которых реализована схема автоматической утилизации аннулированных носителей.
В частности, из GB 1502586, опубл. 01.03.1978, известно устройство для обработки носителей информации (конкретно – билетов), включающее приемник с размещенным в нем узлом считывания информации с носителя и накопитель для сбора и хранения использованных носителей. К существенным недостаткам известного устройства следует отнести то, что известное устройство по существу входит в состав устройства контроля доступа, а именно турникета, что значительно увеличивает его габариты, снижает удобство в эксплуатации. Кроме того, в известном устройстве предусмотрена только возможность приема носителей информации и их утилизации, что делает невозможным применение такого рода устройства для обработки носителей, предназначенных для неоднократного (хотя бы и ограниченного) использования.
Также из US 4086475, опубл. 25.04.1978, известно устройство для обработки носителей информации (билетов с магнитной полосой, магнитных карт и т.п.), включающее по меньшей мере приемник с узлом считывания информации с носителя и накопитель для утилизации использованных носителей. Аналогично вышеописанному, недостатком данного устройства является невозможность его применения для обработки носителей, предназначенных для неоднократного применения, поскольку возможность возврата пользователю носителя, годного для дальнейшего применения в известном устройстве, не предусмотрена. Кроме этого, известное устройство обладает сравнительно сложной, громоздкой конструкцией.
Задачей настоящего изобретения является создание устройства для обработки бесконтактных смарт-карт, которое имело бы сравнительно несложную конструкцию, незначительные габариты, а также могло бы быть установлено в составе систем контроля доступа отдельно от механических устройств разрешения доступа (турникетов, автоматических дверей и пр.) и при этом обладало бы более широкими функциональными возможностями за счет обеспечения корректной обработки не только однократно используемых, но и многократно используемых носителей информации.
Указанная задача решается тем, что в устройстве для обработки бесконтактных смарт-карт, включающем приемник и соединенный с ним накопитель для утилизации смарт-карт, согласно изобретению накопитель имеет полость для сбора и хранения смарт-карт и наружный карман для возврата карты пользователю, и при этом приемник содержит по меньшей мере блок считывания и управления, а также узел приема и сортировки карт, включающий в себя шаговый электродвигатель и соединенный с его ротором сортировочный карман, обеспечивающий прием и размещение карты для ее считывания при помощи указанного блока считывания и управления с возможностью ее последующего направления на хранение в замкнутую полость накопителя или на выдачу пользователю через наружный карман накопителя в зависимости от результатов считывания информации с карты.
Предпочтительно, сортировочный карман имеет входное отверстие, выходное отверстие и при этом имеет возможность углового перемещения под управлением указанного шагового электродвигателя между по меньшей мере тремя положениями, в первом из которых указанный сортировочный карман обеспечивает прием карты через входное отверстие и ее размещение для считывания, во втором – направление карты через выходное отверстие в наружный карман накопителя и в третьем – направление карты через выходное отверстие в замкнутую полость накопителя через выполненное в последнем впускное отверстие с возможностью возврата в первое из указанных положений после выпуска карты из сортировочного кармана.
Предпочтительно, шаговый электродвигатель электрически связан с блоком считывания и управления, который имеет возможность выработки и передачи на электродвигатель управляющих воздействий для осуществления угловых перемещений его ротора.
В предпочтительном случае осуществления изобретения приемник также содержит опорный кронштейн, на основании которого закреплены блок считывания и управления, узел приема и сортировки карт, а также крышка приемника, имеющая отверстие для загрузки карты.
Предпочтительно, к указанному загрузочному отверстию в крышке приемника с внутренней стороны указанной крышки примыкает входное отверстие сортировочного кармана при расположении последнего в своем первом положении.
Предпочтительно, накопитель закреплен на указанном опорном кронштейне.
Вышеописанное выполнение устройства по изобретению обеспечивает корректную обработку бесконтактных смарт-карт, предназначенных как для однократного, так и многократного – ограниченного либо неограниченного по времени – использования. Однократно используемые и подлежащие аннулированию многократно используемые смарт-карты собираются в накопитель для последующей утилизации, а все прочие карты (годные к использованию) могут быть выданы пользователю. Кроме того, заявленное устройство имеет сравнительно несложную конструкцию, и может быть реализовано в виде самостоятельного элемента системы контроля доступа (отдельно от турникетных и им подобных устройств), что повышает его технологичность, удобство в эксплуатации и существенно расширяет область его применения по сравнению с аналогичными устройствами, известными ранее. Кроме того, описанное устройство может быть реализовано с небольшими массогабаритными характеристиками, что облегчает его применение в таких приложениях, как контроль пассажиропотока на общественном транспорте (в особенности – наземном).
Изобретение поясняется далее более подробно со ссылкой на прилагаемые чертежи, на которых изображено:
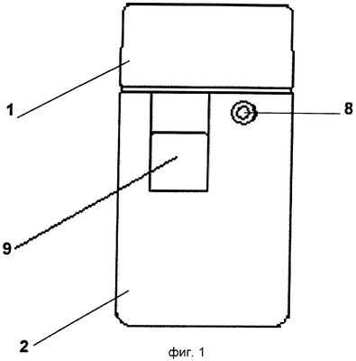
– на фиг.1 – устройство по изобретению, общий вид;
– на фиг.2 – устройство по изобретению, в разрезе;
– на фиг.3 – узел приема и сортировки карт в положении, обеспечивающем прием карты;
– на фиг.4 – узел на фиг.3 в положении, обеспечивающем выдачу карты в наружный карман накопителя;
– на фиг.5 – узел на фиг.3 в положении, обеспечивающем сброс карты в накопитель.
Как показано на чертежах, в наиболее предпочтительном варианте осуществления устройство по изобретению содержит приемник 1 и соединенный с ним накопитель смарт-карт 2. Приемник 1 содержит опорный кронштейн 3, на основании которого закреплены блок считывания и управления 4, а также узел приема и сортировки БСК 5. Блок 4 и узел приема и сортировки 5 закрыты крышкой 6, крепящейся к основанию кронштейна 3 винтами (не показаны). В верхней части крышки 6 выполнено загрузочное отверстие 7 для загрузки бесконтактной смарт-карты в приемник.
Накопитель 2, который в изображенном на чертежах конкретном случае выполнен в виде короба, крепится к опорному кронштейну 3 на направляющих (не показаны) и зафиксирован замком 8, предотвращающим несанкционированный доступ к содержимому накопителя 2. В конкретном варианте осуществления, показанном на чертежах, в передней части накопителя 2 выполнен наружный карман 9 для выдачи карт пользователю. В накопителе 2 также имеется замкнутая полость 10 для приема и утилизации использованных (аннулированных) карт.
Далее, как это лучше показано на фиг.3-5, узел приема и сортировки смарт-карт 5 включает в себя шаговый электродвигатель 11 (в качестве которого, в частности, может быть использован шаговый электродвигатель ST-28 или MOTS1 производства компании Веллеман Компоненте, Бельгия), и соединенный с его ротором сортировочный карман 12, который обеспечивает прием карт для их считывания бесконтактным способом посредством блока 4 считывания и управления с последующим направлением карты либо в полость 10 накопителя 2 для ее утилизации, либо выдачей карты пользователю через наружный карман 9. Для этих целей форма сортировочного кармана 12 предпочтительно адаптирована под типовую форму смарт-карты и содержит входное, предпочтительно щелевидное, отверстие 13 и выходное, также предпочтительно щелевидное, отверстие 14. При этом с учетом его жесткого соединения с ротором шагового электродвигателя 11 сортировочный карман 12 имеет возможность углового перемещения под управлением электродвигателя 11 между по меньшей мере тремя положениями. В первом из указанных положений, изображенном на фиг.3, сортировочный карман 12 располагается по существу вертикально, и при этом входное отверстие 13 сортировочного кармана 12 с внутренней стороны крышки 6 примыкает к загрузочному отверстию 7, обеспечивая прием карты и ее размещение для считывания внутри кармана 12. Во втором положении, лучше показанном на фиг.4, сортировочный карман 12 располагается под углом к первоначальному положению, причем его выходное отверстие 13 сообщается при этом с наружным карманом 9 (что может быть обеспечено различными способами, очевидными для специалиста, например посредством последовательности однотипных щелевидных отверстий между полостью приемника 1 и наружными карманом 9 – на чертежах не показаны). В третьем положении, лучше показанном на фиг.5, сортировочный карман 12 также располагается под углом к первоначальному вертикальному положению с тем отличием, что его выходное отверстие 13 направлено в сторону полости 10, расположенной в накопителе 2 за наружным карманом 9, причем к выходному отверстию 13 в рассматриваемом третьем положении сортировочного кармана 12 примыкает выполненное в накопителе 2 впускное отверстие 15, предназначенное для выдачи карт в полость 10.
Блок считывания и управления 4 обеспечивает бесконтактное считывание информации с БСК, например с использованием интерфейса MIFARE RF interface ISO/IEC 14443 A (MIFARE – зарегистрированный товарный знак концерна Филипс, Нидерланды), а также выработку сигналов для управления ротором шагового электродвигателя 11 в зависимости от считанной информации. Для этих целей блок 4 может включать в себя:
– соответствующую микросхему реализации протокола ISO/IEC 14443 А (например, микросхему MF RC53101T/OFE производства Филипс, Нидерланды);
– антенну, электрически связанную с указанной микросхемой реализации протокола ISO/IEC 14443 А, обеспечивающую, в частности, обмен данными с БСК;
– контроллер, реализующий алгоритм определения действительности БСК (например, программируемый контроллер на базе процессора PIC производства компании Микрочип, США), соединенный с указанной микросхемой реализации протокола ISO/IEC 14443 А посредством шины данных и вырабатывающий логические управляющие сигналы в зависимости от результатов считывания данных с БСК в соответствии с заложенным в нем алгоритмом;
– преобразователи логических сигналов в электрические управляющие воздействия для ротора электродвигателя 11, которые задают по меньшей мере направление вращения ротора и количество шагов, на которые должен повернуться ротор в указанном направлении, и которые могут быть легко подобраны специалистом с учетом конкретного типа шагового электродвигателя 11 и схемы его подключения к внешним устройствам; указанные преобразователи могут быть связаны с вышеупомянутым контроллером посредством шин данных соответствующей разрядности и электрически соединены с шаговым электродвигателем 11.
Несмотря на то, что это напрямую не относится к сущности заявленного изобретения, следует отметить, что в зависимости от конкретного приложения и, соответственно, реализуемого в этом приложении алгоритма взаимодействия со сторонними устройствами, блок 4 считывания и управления может быть соединен с контроллерами внешних устройств (например, турникетов) и обмениваться с ними различными данными, в том числе направлять на указанные контроллеры управляющие воздействия, обеспечивающие блокирование/разблокирование турникетов и т.п.
Также следует отметить, что в рамках настоящего изобретения могут использоваться различные алгоритмы проверки действительности БСК, конкретная структура которых может варьироваться в широких пределах, исходя из формата данных, записанных на БСК, критерия оценки действительности карты (это может быть, например, дата начала или окончания использования, длительность использования, сколько раз информация уже была считана с карты и т.п.) и других параметров, которые могут быть существенными в том или ином приложении. Как уже упоминалось выше, в рамках настоящего изобретения вполне допускается вариант реализации блока считывания и управления 4, при котором нужный алгоритм может быть запрограммирован специалистом, исходя из конкретной поставленной перед ним задачи.
Устройство работает следующим образом.
При загрузке бесконтактной смарт-карты в приемник 1 через загрузочное отверстие 7 в крышке 6 и входное отверстие 13 она попадает в сортировочный карман 12, который в режиме ожидания установлен в своем первом положении (вертикально). За счет опоры на основание узла приема и сортировки 5 карта фиксируется в вертикальном положении и может быть считана бесконтактным способом посредством блока считывания и управления 4. В зависимости от считанной информации, определяемой алгоритмом, заложенным в блоке 4 (а именно, в вышеупомянутом контроллере, реализующем алгоритм определения действительности БСК), блок 4 вырабатывает и передает соответствующее управляющее воздействие на электродвигатель 11.
Если по результатам считывания карта признается подлежащей аннулированию, блок 4 вырабатывает управляющий сигнал, задающий направление поворота и количество шагов ротора в данном направлении и обеспечивающий поворот ротора электродвигателя 11 и перевод сортировочного кармана 12 в третье положение, в котором выходное отверстие 14 сортировочного кармана 12 совмещается с впускным отверстием полости 10 накопителя 2. При этом смарт-карта, расположенная в сортировочном кармане 12, под действием силы тяжести сбрасывается в полость 10 накопителя 2.
Если по результатам считывания смарт-карта признается годной для дальнейшего использования, блок 4 вырабатывает управляющий сигнал, обеспечивающий поворот ротора электродвигателя 11 с переводом сортировочного кармана 12 в его второе положение, при котором его выходное отверстие 14 сообщается (в зависимости от конкретного конструктивного выполнения устройства либо непосредственно, либо через одно или более однотипных щелевых отверстий, выполняемых в основании приемника 1 и/или верхней части накопителя 2) с наружным карманом 9 накопителя 2. При этом смарт-карта под действием силы тяжести сбрасывается в наружный карман 9, откуда может быть далее изъята пользователем.
После освобождения сортировочного кармана 12 блок 4 считывания и управления вырабатывает управляющий сигнал, обеспечивающий поворот ротора электродвигателя 11 в положение, соответствующее первому положению сортировочного кармана 12, после чего устройство возвращается в режим ожидания. В качестве критерия освобождения сортировочного кармана 12 может использоваться заранее заданный промежуток времени, необходимый и достаточный для освобождения сортировочного кармана 12 от БСК, задаваемый программными средствами в блоке 4 считывания и управления. В другом варианте конкретного осуществления изобретения вблизи выходного отверстия 14 сортировочного кармана 12 могут устанавливаться фотодатчики (не показаны), электрически связанные с блоком 4 считывания и управления (например, через соответствующие аналого-цифровые преобразователи). Указанные фотодатчики могут фиксировать прохождение карты через выходное отверстие 14 и далее передавать сигнал об освобождении сортировочного кармана 12 в блок 4 для дальнейшей обработки и формирования соответствующего управляющего сигнала, обеспечивающего возврат ротора электродвигателя 11 в первоначальное положение, соответствующее первому положению сортировочного кармана 12.
Вообще говоря, место установки упомянутых фотодатчиков и их необходимое количество может быть подобрано специалистом исходя из конкретной решаемой задачи и заданной конструкции остальных элементов заявленного устройства. Например, еще в одном частном случае конкретного осуществления изобретения упомянутые фотодатчики (один или несколько), электрически связанные с блоком 4 считывания и управления, могут быть установлены в центральной части кармана 12 или в верхней его части, вблизи входного отверстия 13 с тем, чтобы фиксировать сначала попадание карты в сортировочный карман 12 (что соответствует прерыванию контрольного оптического луча), а затем ее выход в наружный карман 9 или замкнутую полость 10 накопителя 2 (что соответствует восстановлению контрольного оптического луча). Срабатывание фотодатчиков при попадании карты в карман помогает точно определить момент, начиная с которого необходимо производить считывание информации посредством блока 4, вследствие чего расход электроэнергии, необходимой для питания считывающих элементов блока 4 (в частности, упомянутой ранее антенны), может быть снижен в периоды отсутствия карт в кармане 12. Кроме того (что, в частности, немаловажно в приложениях, связанных с общественным транспортом), в описываемом частном случае может быть обеспечена правильная обработка случайных предметов, попадающих в сортировочный карман 12 и имеющих форму карты, но не предназначенных для считывания с них информации бесконтактным способом (например, карты с магнитной полосой, обычные пластиковые карты, несущие только визуальную информацию и пр.). В частности, за счет внесения незначительных и очевидных для специалиста изменений в алгоритм проверки действительности карты подобные случайные предметы могут выбрасываться, например, в наружный карман 9 накопителя 2 аналогично тому, как это было описано выше в случае с бесконтактными смарт-картами, которые были признаны годными для дальнейшего использования.
Следует отметить, что в каком-либо конкретном приложении может возникнуть необходимость блокирования сортировочного кармана 12 в неком промежуточном положении, когда одновременно невозможна ни загрузка карты в сортировочный карман 12, ни выгрузка размещенной в кармане 12 карты в наружный карман 9 или замкнутую полость 10 накопителя 2. Легко видеть, что данная задача может быть решена специалистом, не выходя за рамки настоящего изобретения, путем простого подбора типа шагового электродвигателя (с удовлетворительной величиной шага) и внесения соответствующих изменений в алгоритм управления работой узла 5 приема и сортировки (например, путем перепрограммирования ранее упомянутого контроллера, входящего в блок 4 считывания и управления).
Таким образом, как было показано выше, предложенная конструкция устройства успешно решает поставленную задачу и обеспечивает корректную обработку бесконтактных смарт-карт, предназначенных как для однократного, так и многократного использования, а также – при необходимости – корректную обработку случайных предметов, загружаемых в устройство вместо БСК. При этом заявленное устройство имеет сравнительно несложную конструкцию и может быть реализовано в виде самостоятельного элемента системы контроля доступа, что повышает эффективность его использования и удобство эксплуатации в различных приложениях.
В заключение следует отметить, что вышеописанный пример реализации устройства приведен исключительно для лучшего понимания изобретения, подтверждения достижения технического результата и ни в коей мере не может рассматриваться в качестве ограничивающего объем притязаний. С учетом сведений, изложенных выше, специалисту будут ясны и другие конкретные варианты осуществления изобретения, в которых, в частности, в зависимости от решаемой задачи и конкретного приложения могут использоваться различные типы блоков считывания и управления, адаптированные для работы с различными типами БСК, различные алгоритмы проверки действительности БСК, конкретные формы приемников и/или накопителей, формы сортировочных карманов, адаптируемые под конкретный тип БСК, равно как и различные формы отверстий для загрузки карты в приемник и/или выпуска карты в наружный карман или замкнутую полость накопителя. При этом все упомянутые варианты конкретного осуществления устройства не выходят за рамки испрашиваемого объема правовой охраны, полностью определяемого прилагаемой формулой изобретения.
Формула изобретения
1. Устройство для обработки бесконтактных смарт-карт, включающее приемник и соединенный с ним накопитель смарт-карт, характеризующееся тем, что накопитель имеет полость для сбора и хранения смарт-карт и наружный карман для возврата карты пользователю, и при этом приемник содержит, по меньшей мере, блок считывания и управления, а также узел приема и сортировки карт, включающий в себя шаговый электродвигатель и соединенный с его ротором сортировочный карман, обеспечивающий прием и размещение карты для ее считывания при помощи указанного блока считывания и управления с возможностью ее последующего направления на хранение в замкнутую полость накопителя или на выдачу пользователю через наружный карман накопителя в зависимости от результатов считывания информации с карты.
2. Устройство по п.1, отличающееся тем, что сортировочный карман имеет входное отверстие, выходное отверстие, и при этом имеет возможность углового перемещения под управлением указанного шагового электродвигателя между, по меньшей мере, тремя положениями, в первом из которых указанный сортировочный карман обеспечивает прием карты через входное отверстие и ее размещение для считывания, во втором – направление карты через выходное отверстие в наружный карман накопителя, и в третьем – направление карты через выходное отверстие в замкнутую полость накопителя через выполненное в последнем впускное отверстие с возможностью возврата в первое из указанных положений после выпуска карты из сортировочного кармана.
3. Устройство по п.1 или 2, отличающееся тем, что шаговый электродвигатель электрически связан с блоком считывания и управления, который имеет возможность выработки и передачи на электродвигатель управляющих воздействий для осуществления угловых перемещений его ротора.
4. Устройство по п.2, отличающееся тем, что приемник также содержит опорный кронштейн, на основании которого закреплены блок считывания и управления, узел приема и сортировки карт, а также крышка приемника, имеющая отверстие для загрузки карты.
5. Устройство по п.3, отличающееся тем, что приемник также содержит опорный кронштейн, на основании которого закреплены блок считывания и управления, узел приема и сортировки карт, а также крышка приемника, имеющая отверстие для загрузки карты.
6. Устройство по п.4 или 5, отличающееся тем, что к указанному загрузочному отверстию в крышке приемника с внутренней стороны указанной крышки примыкает входное отверстие сортировочного кармана при расположении последнего в своем первом положении.
7. Устройство по п.4 или 5, отличающееся тем, что накопитель также закреплен на указанном опорном кронштейне.
РИСУНКИ
|
|