|
|
(21), (22) Заявка: 2006105149/09, 20.02.2006
(24) Дата начала отсчета срока действия патента:
20.02.2006
(46) Опубликовано: 20.09.2007
(56) Список документов, цитированных в отчете о поиске:
RU 2190352 C1 10.10.2002. RU 2265396 C1 10.12.2005. RU 2185661 C2 20.07.2002. US 6972660 B1 06.12.2005.
Адрес для переписки:
456318, Челябинская обл., г. Миасс, пр-кт Октября, 21, ЗАО “СОНДА Технолоджи”
|
(72) Автор(ы):
Гудков Владимир Юльевич (RU), Боков Анатолий Семенович (RU)
(73) Патентообладатель(и):
Закрытое акционерное общество “СОНДА Технолоджи” (RU)
|
(54) УСТРОЙСТВО ДЛЯ РЕГИСТРАЦИИ ПАПИЛЛЯРНОГО УЗОРА
(57) Реферат:
Изобретение относится к области оптического формирования дактилоскопического изображения с использованием вычислительной техники, используемого правоохранительными органами. Устройство содержит источник излучения, призму, имеющую входную, выходную и воспринимающую отпечатки пальцев поверхности, систему фотоприемных элементов, электрически соединенную с блоком обработки изображения, и полую подушку из эластичного оптически прозрачного материала, заполненную иммерсионной жидкостью и приклеенную оптически прозрачным клеем к воспринимающей поверхности призмы. Технический результат заключается в получении более качественного изображения отпечатка пальца. 1 ил.
Изобретение относится к области оптического формирования изображения с помощью вычислительной техники, в частности к устройствам для получения дактилокарт, используемых правоохранительными органами.
Известно применение силиконовой пленки в качестве приемной площадки в сканере отпечатка пальца, которая наклеивается на воспринимающую отпечатки пальцев поверхность призмы, причем эта поверхность призмы освещается под углом полного внутреннего отражения источником излучения, а отраженное излучение через проекционную оптическую систему попадает в фотоприемник (заявка РФ №96105643, МПК А61В 5/117, G06К 9/00, G09F 3/00).
Такая пленка недостаточно улучшает оптический контакт поверхности пальца с призмой, так как слабо деформируется под давлением пальца. При сильном нажатии пальца на пленку папиллярные линии пережимаются, рисунок линий искажается. Кроме того, при длительном использовании пленка изнашивается.
Известно устройство регистрации отпечатков пальцев, содержащее призму, гипотенузная грань которой освещена под углом полного внутреннего отражения источником света, проекционную оптическую систему в виде телескопической системы, фотоприемник, выполненный в виде прямоугольной матрицы фотоэлементов, и блок обработки изображения (заявка РФ №93002977/14, МПК 7 А61В 5/117). Данное устройство выбрано в качестве прототипа.
Недостатком прототипа является то, что воспринимающая отпечатки пальцев поверхность (гипотенузная грань призмы) является поверхностью, выполненной из жесткого материала (стекла). Такое устройство обладает рядом недостатков:
– при прокатке пальца по жесткой поверхности легко произвести передавливание папиллярных линий и тем самым исказить рисунок кожного узора;
– на краях контактной области кожи пальца с воспринимающей поверхностью папиллярные линии эластично растягиваются и рисунок кожного узора искажается.
Задачей, решаемой настоящим изобретением, является повышение качества зарегистрированного фотоприемником изображения.
Достигается это тем, что:
– на грань призмы, воспринимающей отпечатки пальцев, приклеивается герметичная полая подушка, выполненная из эластичного оптически прозрачного материала;
– полость герметичной подушки заполняется иммерсионной жидкостью;
– оптический контакт призмы и подушки осуществляется посредством оптически прозрачного клея.
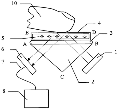
Сущность предлагаемого устройства схематично иллюстрируется чертежом, на котором представлен общий вид устройства.
Устройство для регистрации папиллярного узора содержит последовательно расположенные источник излучения 1, призму 2 (призма АВС), имеющую входную поверхность ВС, выходную поверхность АС и поверхность АВ, которая оптически контактирует с клеевой оптически прозрачной основой 3 и подушкой 4 из эластичного оптически прозрачного материала, причем герметичная полость подушки заполнена иммерсионной жидкостью 5, систему фотоприемных элементов 6, электрически соединенную кабелем 7 с блоком обработки изображения 8. К подушке 4, наружная поверхность которой является воспринимающей поверхностью ED, прикладывается палец 10. Излучение (показано пунктирными стрелками) от источника излучения 1 падает на воспринимающую поверхность ED под углом полного внутреннего отражения.
Устройство работает следующим образом.
Излучение от источника 1 входит в призму 2 через входную поверхность ВС и проникает через клеевую основу 3 к эластичному оптически прозрачному материалу подушки 4 и через иммерсионную жидкость 5 достигает воспринимающей поверхности ED подушки. На поверхности ED излучение отражается от участков поверхности, контактирующих с воздухом во впадинах кожных линий, и возвращается через подушку 4, заполненную иммерсионной жидкостью 5, и клеевую основу 3 в призму 2. Из призмы излучение выходит через выходную поверхность АС, попадая на систему фотоприемных элементов 6. Показатели преломления иммерсионной жидкости 5, эластичного оптически прозрачного материала подушки 4, клеевой основы 3 и призмы 2 выбираются близкими по величине. Поэтому отражение и преломление на поверхностях, контактирующих с иммерсионной жидкостью 5 и клеевой основой 3, пренебрежимо мало, и излучение без потерь доходит до воспринимающей поверхности ED, на которой претерпевает полное внутреннее отражение. В тех точках воспринимающей поверхности ED, которые имеют контакт с папиллярными линиями пальца 10, полное внутреннее отражение нарушается, так как излучение поглощается кожей, что приводит к возникновению в плоскости фотоприемных элементов светотеневой картины, копирующей папиллярные линии пальца 10. Электрический сигнал с системы фотоприемных элементов 6 через кабель 7 вводится в блок обработки изображений 8 (компьютер) для последующей обработки.
Под давлением пальца 10 поверхность ED эластичного оптически прозрачного материала подушки 4 слегка прогибается, деформируется и плотно примыкает к пальцу, а иммерсионная жидкость 5 незначительно растягивает подушку 4. При удалении пальца с поверхности ED подушка 4 восстанавливается в первоначальную форму.
Степень эластичности оптически прозрачного материала 4 выбирается такой, чтобы перспективные искажения изображения узора пальца были допустимы. Объем полости подушечки также можно регулировать, ограничивая величину деформации эластичного материала 4.
Отметим преимущества предлагаемого устройства по сравнению с прототипом.
Так как воспринимающая поверхность эластичная и гибкая, вероятность передавливания папиллярных линий значительно уменьшается и качество регистрируемого в компьютере изображения повышается. За счет той же эластичности воспринимающей поверхности папиллярные линии на краях контактной области пальца с поверхностью ED деформируются меньше, что тоже способствует повышению качества изображения. Наконец, подушку можно выполнить сменной и легко заменить при износе эластичного материала на новую подушку, что повышает износоустойчивость устройства.
Таким образом, предложено сравнительно простое устройство, позволяющее получить высококачественные отпечатки пальцев, используемые в криминалистике, в системах предотвращения несанкционированного доступа в охраняемые помещения.
Предприятием-заявителем начинается разработка технической документации для создания опытного образца устройства со сроком внедрения в 2006 году. В качестве эластичного оптически прозрачного материала предлагается силиконовая пленка, полиуретан или другие оптически прозрачные и эластичные синтетические полимеры.
Формула изобретения
Устройство для регистрации папиллярного узора, содержащее последовательно расположенные и оптически связанные между собой источник излучения, призму, имеющую входную, выходную и воспринимающую отпечатки пальцев поверхности, систему фотоприемных элементов, электрически соединенную с блоком обработки изображения, отличающееся тем, что на воспринимающую отпечатки пальцев поверхность призмы наклеивается посредством оптически прозрачного клея полая герметичная подушка из эластичного оптически прозрачного материала, полость которой заполняется иммерсионной жидкостью.
РИСУНКИ
|
|