|
|
(21), (22) Заявка: 2006124250/28, 06.07.2006
(24) Дата начала отсчета срока действия патента:
06.07.2006
(46) Опубликовано: 20.09.2007
(56) Список документов, цитированных в отчете о поиске:
RU 2194296 C1, 10.12.2002. SU 1705871 A1, 15.01.1992. RU 2160471 C1, 10.12.2000. US 4550395 A, 29.10.1985.
Адрес для переписки:
115184, Москва, Средний Овчинниковский пер., 12, ЗАО “ИНЭВРИКА”
|
(72) Автор(ы):
Абрамян Ара Аршавирович (RU), Андреев Григорий Иванович (RU), Куракин Сергей Вячеславович (RU), Солодовников Владимир Александрович (RU), Ванин Валерий Александрович (RU), Шулаков Владимир Анатольевич (BY)
(73) Патентообладатель(и):
Абрамян Ара Аршавирович (RU), Андреев Григорий Иванович (RU), Куракин Сергей Вячеславович (RU), Солодовников Владимир Александрович (RU), Ванин Валерий Александрович (RU), Шулаков Владимир Анатольевич (BY)
|
(54) СПОСОБ ЗАПИСИ И ВОССТАНОВЛЕНИЯ ГОЛОГРАММЫ ДВУХМЕРНОГО ИЛИ ТРЕХМЕРНОГО ОБЪЕКТА
(57) Реферат:
Изобретение относится к области голографии. Способ заключается в записи нескольких отдельных голографических изображений объекта. В качестве регистрирующей среды для поточечной записи голограммы объекта использована пластинка в форме диска. В процессе записи совокупности изображений объекта для записи различных ракурсов голографического изображения диск перемещают по двум координатам и поворачивают относительно оси диска с дискретным угловым шагом с заданной угловой скоростью 1 (шаг/мин), а в процессе восстановления указанных голографических изображений диск поворачивают относительно своей оси с тем же угловым шагом с угловой скоростью 2=k 1, где k – предварительно заданная константа, не изменяя при этом ориентацию пучка света, падающего на диск. Технический результат – повышение качества записи и упрощение процесса восстановления голограммы. 2 з.п. ф-лы, 2 ил.
Изобретение относится к способам изготовления изделий сувенирного и представительского назначения на основе изобразительной голографии двухмерных или трехмерных объектов.
Из уровня техники известен классический способ получения оптических голограмм за счет регистрации интерференционной картины оптического Фурье-образа записываемого транспаранта, формируемого с помощью объектива записи, с опорным когерентным пучком и использования при восстановлении голограмм энергии копии опорного пучка. Устройство для получения оптических голограмм включает в свой состав оптически последовательно связанные лазер, затвор, светоделитель, микрообъектив записи и фотопластину, вход которой также оптически связан через отражающие элементы опорного канала с вторым выходом светоделителя. Путем дискретного пространственного позиционирования фотопластины в ходе записи образуется двумерная матрица оптических голограмм. Устройство для восстановления произвольных записей содержит в своем составе оптически связанные лазер, матрицу оптических голограмм с блоком выборки и пространственный анализатор изображений. Часть энергии светового пучка лазера дифрагирует на интерференционных решетках восстанавливаемой оптической голограммы и строит в плоскости анализатора изображение информационной страницы (указанные способ и устройство описаны в статье Вагина Л.Н., Назаровой Л.Г., Арсеньевой Т.М., Ванина В.А. Голографическая миниатюризация научно-технической информации. В журнале Оптика и спектроскопия, 1975, т. XXXVIII, №5, с.994-998).
Недостатком данного способа получения и восстановления оптических голограмм является принципиальная невозможность его использования для формирования образа движения объекта, отображенного в качестве подобной голограммы.
Для того чтобы показать движение объекта, на тонкой регистрирующей среде, имеющей форму кинопленки, наносился ряд последовательно по ее длине записанных голографических изображений объекта, каждый из которых отображал один из последовательных ракурсов изделия (точно так же, как записываются кадры на стандартной кинопленке). После этого регистрирующую среду в форме кинопленки прокручивали с помощью проектора и пользователь мог наблюдать ряд последовательно сменяющих друг друга изображений объекта в разных его ракурсах, т.е. его движение. Описанный способ был реализован в книге (В.Г.Комар и О.Б.Серов Изобразительная голография и голографический кинематограф, Москва: Искусство, 1987 г.).
Однако основным недостатком указанного способа записи и восстановления голографических изображений является то, что для его реализации требуется значительный расход материала регистрирующей среды (длина пленки обычно превышает несколько метров). Кроме того, в процессе реализации подобного способа вследствие особенностей воспроизводящей аппаратуры (проектора) наблюдается резкость смены отдельных кадров – изображений объекта, а регистрирующая среда постоянно подвергается деформациям изгиба, что самым негативным образом сказывается на качестве записанного на нее голографического изображения. Таким образом, качество полученных голографических изображений объекта весьма невысоко.
В последнее время получил известность так называемый способ записи голограмм DOT MATRIX, усовершенствованная модификация которого реализована, например, в патенте США US 6930811 В2, опубликованном 16.08.2005, МПК G03H 1/26, который может быть принят в качестве прототипа предложенного изобретения. Указанный способ заключается в том, что осуществляют запись нескольких отдельных голографических изображений объекта путем пошагового освещения сфокусированным излучением лазерных пучков малых по площади (так называемых точечных) участков регистрирующей среды – перематываемой с одного ролика на другой светочувствительной ленты в процессе ее движения с заданной скоростью относительно источника излучения, и восстановление каждого из голографических изображений, записанных на регистрирующую среду путем ее освещения пучком света, падающим на регистрирующую среду под предварительно заданными углами, используя обработку с помощью ЭВМ полученных с видеокамер двухмерных изображений объекта, преобразуя их в масштабе реального времени в трехмерный образ объекта либо используя виртуальное изображение объекта, полученного с помощью той же ЭВМ.
Недостатком данного способа получения и восстановления оптических голограмм, так же как и второго из описанных здесь аналогов, является то, что для его реализации требуется значительный расход материала регистрирующей среды. Кроме того, в процессе реализации подобного способа вследствие особенностей записывающей и воспроизводящей аппаратуры регистрирующая среда постоянно подвергается деформациям изгиба, что самым негативным образом сказывается на качестве записанного на нее голографического изображения. Кроме того, для того, чтобы для пользователя не была заметна смена кадров, в состав аппаратуры воспроизведения голографического изображения должна входить мощная ЭВМ, позволяющая обрабатывать в масштабе реального времени сложные трехмерные изображения.
Таким образом, задачей предложенного изобретения является воспроизведение способа получения и восстановления оптических голограмм, в котором реализовано движение (или видоизменение) голографического изображения объекта, при использовании регистрирующей среды малого размера и обеспечении высокого качества и плавности смены отдельных ракурсов объекта, отображенного на голограмме, без использования сложной и дорогостоящей аппаратуры в процессе восстановления голограммы.
Указанная задача достигается за счет того, что в известном способе записи и восстановления голограммы двухмерного или трехмерного объекта, заключающемся в записи нескольких отдельных голографических изображений объекта путем пошагового освещения сфокусированным излучением лазерных пучков малых по площади участков регистрирующей среды в процессе ее движения с заданной скоростью относительно источника излучения, и восстановлении каждого из голографических изображений, записанных на регистрирующую среду путем ее освещения пучком света, падающим на регистрирующую среду, согласно предложенному изобретению в качестве регистрирующей среды использована пластинка в форме диска, в процессе записи совокупности изображений объекта диск поворачивают относительно своей оси с дискретным угловым шагом с заданной угловой скоростью 1 (шаг/мин), а в процессе восстановления указанных голографических изображений диск поворачивают относительно своей оси с дискретным угловым шагом с угловой скоростью 2=k 1, где k – предварительно заданная константа, не изменяя при этом ориентацию пучка света падающего на диск.
Величина дискретного углового шага зависит от числа n заданных видов (ракурсов) записываемого объекта и определяется как 360°/n. Угловая скорость смены записываемых ракурсов 1 (шаг/мин) и время записи каждого ракурса t определяются техническими характеристиками устройства записи голограмм. С увеличением числа записываемых ракурсов снижаются яркость и качество восстановленного изображения. При использовании регистрирующих сред, применяемых в описанном аналоге и прототипе, приемлемое качество изображения можно обеспечить для 4-6 ракурсов (видов). Однако при использовании так называемых «толстых» фазовых регистрирующих сред, обладающих высокой дифракционной эффективностью и низкими шумовыми характеристиками, появляется возможность записи значительно большего числа ракурсов (более 30). В предпочтительном варианте реализации предложенного способа процесс освещения голографического изображения при его восстановлении синхронизирован по времени с каждым из дискретных угловых шагов поворота диска. Кроме того, как правило, записывают и восстанавливают цветное изображение объекта, при этом в процессе записи голографических изображений в качестве средства освещения диска используют лазерные пучки трех длин волн. Обычно используют лазерные излучения в области красного, зеленого и синего видимого спектра.
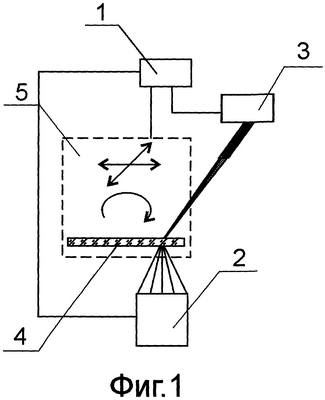
На фиг.1 показана структурная схема записи голографического изображения объекта.
На фиг.2 показана структурная схема восстановления записанного голографического изображения объекта.
В состав системы, реализующей предложенный способ, входят следующие основные блоки.
– ЭВМ 1, в которую заложена программа, регламентирующая процедуру записи голографического изображения, и которая управляет режимом работы оптоэлектронной системы 2, лазера 3 и механизма двухкоординатного перемещения и дискретного поворота 5 регистрирующей голографическое изображение объекта среды.
– Оптоэлектронная система 2, формирующая оптическую информацию для поточечной записи голограммы объекта, управляемая от ЭВМ 1. После каждого поворота диска 4 на заданный угол меняется информация о записываемом объекте (например, угол его наблюдения либо его цвет).
– Лазер 3, формирующий сфокусированное излучение лазерных пучков с тремя длинами волн, освещающих малые по площади (точечные) участки регистрирующей голографическое изображение объекта среды – тонкого диска 4.
– Регистрирующая среда – тонкий диск 4, который в процессе записи различных видов (ракурсов) голографического изображения перемещается по двум координатам и пошагово поворачивается на заданный угол с угловой скоростью 1, в соответствии с программой, заложенной в ЭВМ 1, а в процессе восстановления голографического изображения пошагово поворачивается на тот же угол с угловой скоростью 2.
– Механизм двухкоординатного перемещения и дискретного поворота 5 регистрирующей голографическое изображение объекта среды. Перемещение регистрирующей среды – тонкого диска 4 – по двум координатам осуществляется только в режиме записи голографического изображения объекта (поскольку указанная процедура является стандартной для большинства используемых на сегодняшний день процессов записи голограмм, и как следствие не является предметом настоящего изобретения, она в формуле изобретения не отражена).
– Источник освещения 6, освещающий в процессе восстановления голографического изображения объекта, регистрирующую среду – тонкий диск 4.
Приспособления для фокусировки и задания направления световым лучам определенного направления (система фокусирующих линз, отражающих и полупрозрачных зеркал) на фигурах не показана.
Предложенный способ реализуют следующим образом.
Детали процесса записи голограммы в соответствии с форматом DOT MATRIX широко известны из уровня техники, в частности подобный способ подробно описан в прототипе предложенного способа – описании к патенту US 6930811 В2. Поэтому здесь раскрыты лишь те детали предложенного способа, которые отражают существо заявленного изобретения. В ЭВМ 1 закладывают программу записи голографического изображения. В процессе записи голограммы от ЭВМ 1 в соответствии с заложенной в нее программой поступает сигнал на механизм двухкоординатного перемещения и дискретного поворота 5 тонкого диска 4. Указанный механизм двухкоординатного перемещения и дискретного поворота 5 обеспечивает местонахождение тонкого диска 4 в определенном положении в горизонтальной плоскости при определенном угле поворота в каждый из моментов процедуры записи. Лазер 3 формирует пучок света с заданной длиной волны, падающий на регистрирующую среду – тонкий диск 4. Как правило, при записи голограммы используют лазерное излучение с тремя длинами волн – в области красного, зеленого и синего видимого спектра. При этом сфокусированный лазерный пучок проходит через диск и интерферирует с излучением от оптоэлектронной системы 2 (см. фиг.1). На тонком диске 4, выполненном из фотографического материала в виде фотопластины типа ПФГ-04, записывается образ фрагмента поверхности голографического изображения объекта, рассчитанный с помощью ЭВМ и сформированный оптоэлектронной системой 2. В следующий такт записи механизм двухкоординатного перемещения и дискретного поворота 5 тонкого диска 4 меняет положение диска 4 в горизонтальной плоскости и записывает образ следующего участка голограммы. Данный процесс продолжается до тех пор, пока не будет записана вся информация об объекте, подготовленная для записи при данном угловом положении диска 4. Далее механизм двухкоординатного перемещения и дискретного поворота 5 меняет угловое положение диска 4 и процесс записи повторяется. Одной из существенных операций предложенного способа является то, что в процессе записи голограммы тонкий диск 4 пошагово поворачивается на заданный угол в соответствии с программой ЭВМ 1. Это позволяет записать не одно объемное голографическое изображение объекта, а несколько отдельных изображений объекта в разных ракурсах (в процессе движения объекта или изменения его цвета или формы). При каждом из угловых положений регистрирующей среды – тонкого диска 4 – на нем записывается один из ракурсов объекта (по аналогии с одним из кадров кинопленки).
Для того чтобы восстановить голографическое изображение объекта, его освещают светом от источника освещения 6 (см. фиг.2) под заданным углом. Если изменить указанный угол освещения, то для пользователя изменится точка наблюдения и наблюдаемый ракурс объекта. Однако в случае предложенного изобретения этого не делают. Для того чтобы обеспечить возможность наблюдать разные ракурсы объекта при неизменной точке наблюдения, регистрирующую среду – тонкий диск 4 – при помощи механизма двухкоординатного перемещения и дискретного поворота 5 поворачивают относительно своей оси с заданным угловым шагом с угловой скоростью 2 (шаг/мин), согласованной с угловой скоростью 1 (шаг/мин) тонкого диска 4, реализуемой в процессе записи голографического изображения. При этом соответствующим образом изменяется угол освещения тонкого диска 4, а следовательно, пользователь может наблюдать следующий ракурс объемного голографического изображения, не меняя места своего наблюдения. Последовательная прокрутка всех записанных на тонкий диск 4 голографических изображений объекта позволяет сформировать образ движения объекта либо его формоизменения (по аналогии с покадровой прокруткой киноленты). Поскольку в качестве регистрирующей среды использован тонкий диск (круглая пластина), который не имеет никаких визуально заметных отличий в каждом из своих направлений, то его пошаговые дискретные повороты с малой угловой скоростью и непрерывным освещением или даже с большой угловой скоростью, но с использованием стробоскопического освещения фактически не заметны для наблюдателя. При использовании стробоскопического освещения его стробы (импульсы) должны быть синхронизированы по времени с каждым из дискретных угловых шагов поворота тонкого диска 4.
Одним из основных условий реализации заявленного способа является то, что в процессе восстановления голографического изображения объекта угловая скорость смены показываемых ракурсов объекта 2 (шаг/мин) тонкого диска 4 не произвольна, а жестко связана с угловой скоростью смены записываемых ракурсов 1 (шаг/мин) на стадии записи голографического изображения соотношением 2=k 1, где k – предварительно заданная константа. Причем коэффициент пропорциональности k задается априорно в соответствии с программой ЭВМ 1. Его величина в большинстве случаев равна 1, что способствует сохранению в процессе восстановления голографического изображения той же последовательности смены ракурсов изображения объекта что и при их записи. Однако при необходимости соответствующим программированием ЭВМ 1 можно задать любую последовательность смены кадров восстановленного голографического изображения.
Таким образом, предложенный способ записи и восстановления голограммы может найти самое широкое применение, например, на различного рода выставках и презентациях для демонстрации изделий сувенирного и представительского назначения, в основу которых положена изобразительная голография.
Формула изобретения
1. Способ записи и восстановления голограммы двухмерного или трехмерного объекта, заключающийся в записи нескольких отдельных голографических изображений объекта путем пошагового освещения сфокусированным излучением лазерных пучков малых по площади участков регистрирующей среды в процессе ее движения с заданной скоростью относительно источника излучения, и восстановлении каждого из голографических изображений, записанных на регистрирующую среду путем ее освещения пучком света, падающим на регистрирующую среду, отличающийся тем, что в качестве регистрирующей среды для поточечной записи голограммы объекта использована пластинка в форме диска, в процессе записи совокупности изображений объекта для записи различных ракурсов голографического изображения диск перемещают по двум координатам и поворачивают относительно оси диска с дискретным угловым шагом с заданной угловой скоростью 1 (шаг/мин), а в процессе восстановления указанных голографических изображений диск поворачивают относительно своей оси с тем же угловым шагом с угловой скоростью 2=k 1, где k – предварительно заданная константа, не изменяя при этом ориентацию пучка света, падающего на диск.
2. Способ записи и восстановления голограммы двухмерного или трехмерного объекта по п.1, отличающийся тем, что процесс освещения голографического изображения при его восстановлении синхронизирован по времени с каждым из дискретных угловых шагов поворота диска.
3. Способ записи и восстановления голограммы двухмерного или трехмерного объекта по п.1 или 2, отличающийся тем, что записывают и восстанавливают цветное изображение объекта, при этом в процессе записи голографических изображений в качестве средства освещения диска используют лазерные пучки трех длин волн, например, в области красного, зеленого и синего видимого спектра.
РИСУНКИ
|
|