|
|
(21), (22) Заявка: 2005136053/28, 21.11.2005
(24) Дата начала отсчета срока действия патента:
21.11.2005
(46) Опубликовано: 20.09.2007
(56) Список документов, цитированных в отчете о поиске:
МИРОШНИКОВ М.М. Теоретические основы оптико-электронных приборов. – Л.: Машиностроение, 1983, с.52. SU 654927 А1, 30.03.1979. SU 1041979 А1, 15.09.1983. US 2004/190097 А1, 30.09.2004.
Адрес для переписки:
660074, г.Красноярск, ул. Киренского, 26, КГТУ, ПИО
|
(72) Автор(ы):
Круглов Сергей Николаевич (RU), Малахов Евгений Станиславович (RU), Соловьюк Владимир Михайлович (RU)
(73) Патентообладатель(и):
Государственное образовательное учреждение высшего профессионального образования Красноярский государственный технический университет (КГТУ) (RU), ООО “Центр Мехатронных Технологий” (RU)
|
(54) ДВУХКООРДИНАТНЫЙ ДЕФЛЕКТОР
(57) Реферат:
Изобретение относится к области оптического приборостроения, точной механике и может найти применение в качестве устройства управления по двум пространственным координатам различными механическими или оптическими элементами для изменения направления излучения как когерентных, так и обычных источников света. В двухкоординатном дефлекторе, содержащем исполнительный элемент, закрепленный на внутреннем рамочном элементе, внешний рамочный элемент с электроприводом по одной координате и основание с электроприводом по второй координате, новым является введение дискового элемента с соответствующими подвижными механическими связями, приводящими к переносу массы электропривода с внешнего рамочного элемента на основание. Вид механических связей позволяет осуществить практическую реализацию устройства с величиной механического люфта исполнительного элемента, ограниченного только люфтом практической реализации механических связей. Преобразователь вращательного движения в колебательное в виде “ось с локальным изгибом – дисковый элемент” позволяет количественно трансформировать круговое вращение оси в угловое движение в одной плоскости с коэффициентом трансформации, зависящим от величины локального углового изгиба оси. Технический результат – повышение быстродействия двухкоординатного дефлектора за счет уменьшения инерционности его элементов. 1 ил.
Изобретение относится к области оптического приборостроения, точной механики и может найти применение в качестве устройства управления по двум пространственным координатам различными механическими или оптическими элементами для изменения направления излучения как когерентных, так и обычных источников света. Устройства такого типа широко применяются в научных исследованиях, в технологиях прецизионной обработки материалов, в медицине, военной технике.
Известно устройство двухкоординатного управления исполнительным элементом (М.М.Мирошников. Теоретические основы оптико-электронных приборов. Л., Машиностроение, 1983 г., с.53), содержащее исполнительный элемент, рамочный элемент и основание, которые конструктивно размещены один в другом и последовательно механически связаны друг с другом с помощью осей, расположенных ортогонально. При этом исполнительный элемент размещен внутри рамочного элемента и механически связан с ним с помощью оси, лежащей в плоскости рамки и имеющей с одной своей стороны жесткую связь с центром массы исполнительного элемента, а со второй стороны – подвижную механическую связь с центром одной из сторон рамочного элемента, который, в свою очередь, в плоскости, ортогональной оси связи исполнительного элемента, и параллельной плоскости этой связи имеет подвижную механическую связь с основанием посредством двух осей, лежащих на одной осевой линии и проходящих каждая через центр соответствующей стороны рамки, прилежащих стороне рамки, имеющей связь с исполнительным элементом.
Работа устройства управления исполнительным элементом по двум координатам основана на приложении к осям исполнительного и рамочного элементов вращательного или колебательного движения, например, с помощью электроприводов. При этом исполнительный элемент изменяет свое угловое положение в плоскости, перпендикулярной оси, к которой приложено вращательное или колебательное движение.
Недостатком устройства является низкое быстродействие устройства по изменению углового положения исполнительного элемента, которое обусловлено значительной инерционностью внешнего рамочного элемента, на котором необходимо размещать электропривод оси исполнительного элемента. В результате к массе самого внешнего рамочного элемента добавляется масса электропривода и соответствующая этому приводу масса балансира.
Известно устройство двухкоординатного управления исполнительным элементом (М.М.Мирошников. Теоретические основы оптико-электронных приборов. Л.: Машиностроение, 1983 г, с.52.), выбранное в качестве прототипа и содержащее исполнительный элемент, внутренний рамочный элемент, внешний рамочный элемент с электроприводом по одной координате и основание с электроприводом по другой координате. При этом исполнительный элемент механически жестко закреплен на внутреннем рамочном элементе, который имеет в плоскости, параллельной плоскости рамки, подвижную механическую осевую связь с противоположными сторонами и электроприводом внешнего рамочного элемента, который, в свою очередь, имеет подвижную механическую связь в центральной части одной своей стороны рамки с основанием и электроприводом посредством оси, расположенной параллельно плоскости внешнего рамочного элемента, но ортогонально плоскости оси связи внутреннего рамочного элемента с внешним рамочным элементом.
Работа устройства двухкоординатного управления исполнительным элементом основана на приложении к осям соответствующих рамочных элементов вращательного или колебательного движения с помощью соответствующих электроприводов. Исполнительный элемент при этом совершает изменение углового положения в плоскости, перпендикулярной оси, к которой приложено движение. Для изменения углового положения исполнительного элемента по двум координатам в прототипе, как и в аналоге, электропривод оси внутреннего рамочного элемента, на котором закреплен исполнительный элемент, размещен на внешнем рамочном элементе. Это увеличивает массу рамочного элемента, его инерционность и, как следствие, уменьшает потенциально возможное быстродействие устройства по изменению углового положения исполнительного элемента. При этом считаем, что потенциально возможное быстродействие устройства реализуется в том случае, если к массе внешнего рамочного элемента не добавляется масса привода оси внутреннего рамочного элемента.
Недостатком устройства, выбранного в качестве прототипа, является его низкое быстродействие по изменению углового положения исполнительного элемента, обусловленное повышенной инерционностью его элементов.
В основу предлагаемого изобретения положена задача повышения быстродействия устройства двухкоординатного управления исполнительным элементом за счет уменьшения инерционности его элементов.
Решение задачи достигается тем, что в двухкоординатном дефлекторе, содержащем исполнительный элемент, закрепленный на внутреннем рамочном элементе, внешний рамочный элемент с электроприводом осей внутреннего рамочного элемента и основание с размещенным на нем электроприводом оси внешнего рамочного элемента, при этом рамочные элементы размещены один в другом и последовательно механически связанны между собой ортогонально расположенными осями, отличающемся тем, что во внутренний рамочный элемент дополнительно введен дисковый элемент, который в диаметрально противоположных точках подвижно механически связан с противоположными сторонами рамки внутреннего рамочного элемента, ортогональными сторонам его связи с внешним рамочным элементом, а своим геометрическим центром подвижно механически связан центральной осью с электроприводом внутреннего рамочного элемента, размещенного на основании, причем центральная ось дискового элемента проходит внутри оси связи внешнего рамочного элемента со своим электроприводом, для чего ось связи внешнего рамочного элемента со своим электроприводом выполнена полой, а центральная ось выполнена с локальным угловым изгибом со стороны дискового элемента, при этом локальный угловой изгиб центральной оси относительно ее осевой линии выполнен в одной плоскости, а форма изгиба обеспечивает прохождение участка оси после изгиба через геометрический центр дискового элемента ортогонально его плоскости, причем оси связи дискового элемента с противоположными сторонами внутреннего рамочного элемента расположены в плоскости осей связи внутреннего и внешнего рамочных элементов и ортогонально им, а точка пересечения линий осевых связей дискового и рамочных элементов является общей, совпадает с точкой их геометрических центров и находится на осевой линии симметрии устройства.
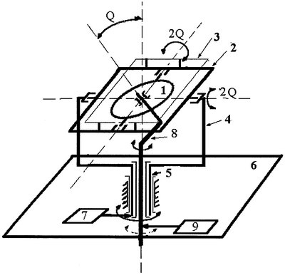
Заявляемое техническое решение – двухкоординатный дефлектор – поясняется чертежом, где представлена кинематическая схема взаимодействия элементов. Дисковый элемент 1 размещен внутри плоскости внутреннего рамочного элемента 2 и связан подвижно с первой парой его противоположных сторон двумя осями. Исполнительный элемент 3 закреплен на внутреннем рамочном элементе 2 над дисковым элементом 1. Вторая пара противоположных сторон внутреннего рамочного элемента 2 связана подвижно двумя осями с внешним рамочным элементом 4. А внешний рамочный элемент 4 связан подвижно полой осью 5 с основанием 6 и электроприводом 7. Центральная ось 8 со стороны локального изгиба проходит через центр дискового элемента 1 по нормали к его плоскости, а своим прямым участком проходит внутри полой оси 5 по нормали к основанию 6 и обеспечивает подвижную связь дискового элемента 1 с основанием 6 и электроприводом 9. При этом положение плоскости дискового элемента по отношению к оси устройства приобретает некоторый угол Q, равный углу локального изгиба центральной оси 8 относительно оси симметрии устройства. Примером конкретного выполнения подвижных связей между элементами может быть, например, соединение ось в подшипнике.
При вращении центральной оси 8 с помощью электропривода 9 и неподвижной оси 5 внешнего рамочного элемента 4 участок оси после локального изгиба, проходящий через подшипник в центре дискового элемента 1, описывает фигуру вращения конус, имеющий угол раскрыва 2Q. Вершина конуса находится в центре дискового элемента 1 и на осевой линии симметрии устройства. Дисковый элемент 1 размещен на этом участке центральной оси 8 подвижно и, не вращаясь, своей плоскостью в пространстве однозначно повторяет фигуру вращения. При этом две его оси подвижной связи, проходящие через подшипники на противоположных сторонах внутреннего рамочного элемента 2, обеспечивают однозначное изменение углового положения плоскости внутреннего рамочного элемента 2, а следовательно, и исполнительного элемента 3, в пределах 2Q относительно осевой линии симметрии устройства, но уже в одной плоскости, или координате, перпендикулярной осям его подвижной связи через подшипники с противоположными сторонами внешнего рамочного элемента 4. Вращением полой оси 5 внешнего рамочного элемента 4 с помощью электропривода 7 обеспечивается изменение углового положения внешнего рамочного элемента 4, а следовательно, и управление исполнительным элементом 3 по второй координате.
Перенос электропривода по второй координате с внешнего рамочного элемента на основание, а также соответствующее, один в другом, размещение элементов устройства, имеющего осевую симметрию, обеспечивают технологическую возможность компактного изготовления устройства, что также повышает его быстродействие. Вид механических связей позволяет осуществить практическую реализацию устройства с величиной механического люфта исполнительного элемента ограниченного только люфтом применяемых подшипников. Преобразователь вращательного движения в колебательное в виде ось с локальным изгибом – дисковый элемент позволяет количественно трансформировать круговое вращение оси в угловое движение в одной плоскости с коэффициентом трансформации, зависящим от величины угла локального изгиба оси.
Совместное управление электроприводами позволяет реализовать двухкоординатное управление исполнительным элементом по выбранному закону. Например, для реализации управления исполнительным элементом, описывающим спираль Архимеда, достаточно обеспечить одностороннее вращение обеих осей с разностью в скоростях, определяемой требуемым шагом спирали.
Формула изобретения
Двухкоординатный дефлектор, содержащий исполнительный элемент, закрепленный на внутреннем рамочном элементе, внешний рамочный элемент с электроприводом осей внутреннего рамочного элемента и основание с размещенным на нем электроприводом оси внешнего рамочного элемента, при этом рамочные элементы размещены один в другом и последовательно механически связаны между собой ортогонально расположенными осями, отличающийся тем, что во внутренний рамочный элемент дополнительно введен дисковый элемент, который в диаметрально противоположных точках подвижно механически связан с противоположными сторонами рамки внутреннего рамочного элемента, ортогональными сторонам его связи с внешним рамочным элементом, а своим геометрическим центром подвижно механически связан центральной осью с электроприводом внутреннего рамочного элемента, размещенного на основании, причем центральная ось дискового элемента проходит внутри оси связи внешнего рамочного элемента со своим электроприводом, для чего ось связи внешнего рамочного элемента со своим электроприводом выполнена полой, а центральная ось выполнена с локальным угловым изгибом со стороны дискового элемента, при этом локальный угловой изгиб центральной оси относительно ее осевой линии выполнен в одной плоскости, а форма изгиба обеспечивает прохождение участка оси после изгиба через геометрический центр дискового элемента, ортогонально его плоскости, при этом оси связи дискового элемента с противоположными сторонами внутреннего рамочного элемента расположены в плоскости осей связи внутреннего и внешнего рамочных элементов и ортогонально им, а точка пересечения линий осевых связей дискового и рамочных элементов является общей, совпадает с точкой их геометрических центров и находится на осевой линии симметрии устройства.
РИСУНКИ
|
|