|
|
(21), (22) Заявка: 2006102608/28, 30.01.2006
(24) Дата начала отсчета срока действия патента:
30.01.2006
(46) Опубликовано: 20.09.2007
(56) Список документов, цитированных в отчете о поиске:
SU 1597806 A1, 07.10.1990. SU 1753431 A1, 07.08.1992. SU 1647469 A1, 07.05.1991. SU 79653 A, 21.07.1959. SU 516004 A, 30.05.1976. DE 4337810 A1, 11.05.1995. EP 1074850 A2, 07.02.2001.
Адрес для переписки:
111250, Москва, ул. Красноказарменная, 12, ГУП ВЭИ, патентно-лицензионный отдел, Е.Н. Лифановой
|
(72) Автор(ы):
Каттель Леонид Гиршевич (RU)
(73) Патентообладатель(и):
Государственное унитарное предприятие “Всероссийский электротехнический институт им. В.И. Ленина” (RU)
|
(54) УСТРОЙСТВО ДЛЯ ИСПЫТАНИЯ ВЫКЛЮЧАТЕЛЕЙ ВЫСОКОГО НАПРЯЖЕНИЯ НА ВКЛЮЧАЮЩУЮ СПОСОБНОСТЬ
(57) Реферат:
Предложенное изобретение относится к средствам испытания электрических аппаратов на коммутационную способность и предназначено для испытания выключателей высокого напряжения на включающую способность в синтетических схемах. Цель изобретения – упрощение устройства, повышение надежности его работы и увеличение испытательных возможностей при сокращении числа элементов устройства и обеспечении реализации различных режимов испытаний. Устройство для испытания выключателей высокого напряжения на включающую способность содержит клеммы для подключения испытуемого выключателя, источник высокого импульсного напряжения, последовательную цепь, состоящую из источника тока включения, параллельно которому включен конденсатор, и реактора, подключенную параллельно источнику высокого импульсного напряжения и одним концом электрически связанную с первой клеммой для подключения испытуемого выключателя. Кроме того, в состав устройства дополнительно введен блок для автоматического управления опытом, один выход которого соединен с входом запуска источника высокого импульсного напряжения, а второй выход включен в схему устройства так, что сигнал с него подается к испытуемому выключателю, при этом вторая клемма для подключения испытуемого выключателя соединена с вторым концом последовательной цепи. 1 ил.
Изобретение относится к средствам испытания электрических аппаратов на коммутационную способность и предназначено для испытания выключателей высокого напряжения на включающую способность в синтетических схемах.
В соответствии с положениями МЭК при включении на короткое замыкание межконтактный промежуток выключателя подвергается воздействию приложенного напряжения, соответствующего действующему значению номинального напряжения, деленному на 3, что приводит к его пробою. После этого момента выключатель подвергается воздействию включаемого тока.
Современные выключатели на напряжение 100 кВ и выше испытываются в лабораториях больших мощностей на коммутационную способность только в так называемых синтетических схемах. В этих схемах воздействие на испытуемый объект нормируемыми током и напряжением производится от разных источников: источника тока включения/отключения и источника напряжения включения/отключения. При этом суммарная мощность источника тока и источника напряжения значительно меньше мощности, которая была бы необходима при прямых испытаниях, т.е. при испытаниях с одним источником мощности. Соблюдение адекватности синтетических испытаний прямым испытаниям должно обеспечиваться.
При испытаниях выключателей на включающую способность в синтетических схемах испытуемый выключатель, как правило, подключается непосредственно к источнику напряжения и через вспомогательный коммутационный аппарат к источнику тока с пониженным напряжением (см. Стандарт Международной Электротехнической Комиссии – МЭК, Публикация 60427 – Синтетические испытания выключателей переменного тока высокого напряжения – IEC 60427, figure 6 – Synthetic make circuit and waveforms, p.59). Во время испытаний после подачи команды на включение контакты испытуемого выключателя (под действием привода) начинают сближаться и электрическая прочность межконтактного промежутка падает. При падении электрической прочности ниже мгновенного значения приложенного напряжения промежуток пробивается (как правило, до металлического касания контактов), после чего должно быть обеспечено подключение испытуемого выключателя к источнику тока. Ток от источника тока через выключатель будет протекать только после включения коммутационного аппарата. До включения коммутационного аппарата ток через испытуемый выключатель обеспечивается цепью начального переходного включаемого тока (НПВТ – ITMC Circuit, see figure 6, р.59 of IEC 60427). Время срабатывания коммутационного аппарата, т.е. время от момента пробоя межконтактного промежутка испытуемого выключателя до начала протекания тока от источника тока, не должно превышать 200 мкс (ГОСТ 687-78). Высоковольтный коммутационный аппарат с таким малым временем срабатывания может быть выполнен только в виде управляемого дугового разрядника. Известные синтетические схемы испытаний на включающую способность отличаются, в основном, способом управления и конструкцией разрядника. Эти устройства можно разделить на два типа: с плазменным поджигом и с созданием перенапряжения на искровых промежутках разрядника. Первые имеют времена запаздывания срабатывания (tr, see figure 6, р.59 of IEC 60427) 70…250 мкс, вторые – менее 10 мкс. Адекватность результатов испытаний повышается с уменьшением времени запаздывания срабатывания коммутационного аппарата.
Испытания выключателей на включающую способность в общем случае должны проводиться в трех режимах, а именно: при наибольшей выделяемой энергии в дуге (режим I), при наибольшем пике тока включения (режим II) и при наибольшей длительности дуги включения (режим III). В зависимости от типа и конструктивных особенностей испытуемого выключателя испытания должны проводиться в двух или трех режимах. Все три режима, с точки зрения методики испытаний, отличаются друг от друга только выбором момента пробоя межконтактного промежутка относительно фазы приложенного синусоидального напряжения источника тока. В частности, режим III осуществляется при пробое в максимум напряжения источника тока (tpa, see figure 5, p.57 of IEC 60427).
Процесс коммутационных испытаний скоротечен. В частности, продолжительность опыта при испытании на включающую способность не превышает 0,3 секунды. При этом в эксперименте задействован большой комплекс аппаратов и приборов. Обеспечение подачи в требуемой последовательности серии импульсов заданной длительности на срабатывание аппаратов и приборов в испытательных, измерительных и вспомогательных цепях осуществляется электронным прибором автоматического управления опытом. Вырабатываемые прибором коммутационные импульсы синхронизированы с фазой напряжения источника тока.
Наиболее полно отвечают предъявляемым требованиям устройства по авторскому свидетельству СССР №1559902 (с разрядником по авт. свид. СССР №1628805, Удостоверение на промышленный образец №30691) и авторскому свидетельству СССР №1597806. В этих устройствах время срабатывания коммутационного аппарата не превышает 5 мкс и поэтому не требуется применение цепи начального переходного включаемого тока.
Наиболее близкой к изобретению является синтетическая схема по а.с. №1597806, выбранная в качестве прототипа, содержащая клеммы для подключения испытуемого выключателя высокого напряжения, к которым подключен источник напряжения, последовательную цепь, состоящую из последовательно соединенных источника тока включения, зашунтированного конденсатором, и реактора, источник высокого импульсного напряжения, включенный параллельно этой цепи, и разрядный коммутатор, включенный между одной из клемм для подключения испытуемого выключателя и соответствующим выводом источника высокого импульсного напряжения. В этой схеме подключение испытуемого выключателя к источнику тока после пробоя межконтактного промежутка от воздействия источника напряжения осуществляется с помощью источника высокого импульсного напряжения, осуществляющего включение разрядного коммутатора.
Недостатком прототипа, как и всех других известных синтетических схем испытаний на включающую способность, является необходимость применения быстродействующего коммутационного аппарата (дугового разрядника), рассчитанного на коммутацию высокого (сотни киловольт) напряжения и больших (десятки килоампер) токов, источника напряжения включения, а также сложность надежной реализации заданного режима испытаний.
Цель изобретения – упрощение устройства, повышение надежности его работы и увеличение испытательных возможностей при сокращении числа элементов устройства и обеспечении реализации различных режимов испытаний.
Поставленная цель достигается тем, что в устройстве для испытания выключателей высокого напряжения, содержащем клеммы для подключения испытуемого аппарата, источник высокого импульсного напряжения, последовательную цепь из последовательно соединенных источника тока, зашунтированного конденсатором, и реактора, включенную параллельно источнику высокого импульсного напряжения и подключенную одним концом к одной из клемм для подключения испытуемого аппарата, а также блок для автоматического управления опытом, вторая клемма для подключения испытуемого выключателя электрически соединена со вторым концом последовательной цепи. При этом вход запуска источника высокого импульсного напряжения подключен к соответствующему выходу блока автоматического управления опытом.
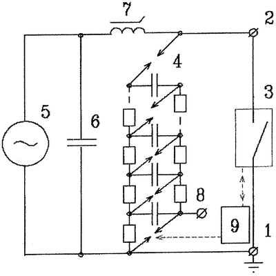
На чертеже изображена принципиальная схема устройства для испытания выключателей высокого напряжения на включающую способность.
Устройство содержит клеммы 1 и 2 для подключения испытуемого выключателя 3, включенный между ними источник 4 высокого импульсного напряжения, источник 5 тока включения, зашунтированный конденсатором 6 и подключенный к клемме 1 через реактор 7. С соответствующих выходов блока 9 для автоматического управления опытом подаются сигналы на включение источника 4 высокого импульсного напряжения и испытуемого выключателя 3.
В качестве источника 4 высокого импульсного напряжения может быть использован генератор импульсных напряжений (ГИН), выполненный по схеме умножения, по каскадной схеме или по схеме Фитча. В качестве источника 5 тока могут быть использованы ударный генератор, мощная сеть или колебательный контур, подключаемые непосредственно или через трансформатор. Источник 5 тока зашунтирован конденсатором 6, емкость которого значительно больше емкости ГИНа в ударе. Конденсатор 6 совместно с реактором 7 служат для защиты источника тока от воздействия высокого импульсного напряжения при срабатывании ГИНа. При этом реактор 7 обеспечивает требуемую длительность импульса, необходимую для пробоя испытуемого выключателя и подключения его к источнику тока. Для снижения влияния реактора 7 на величину тока включения и уменьшения мощности ГИНа реактор может быть выполнен с нелинейной индуктивностью (например на феррите), входящей в насыщение после начала протекания тока включения.
Устройство работает следующим образом.
Конденсаторы ГИНа 4 заряжаются от маломощного зарядного устройства по цепи 8 до напряжения, обеспечивающего пробой межконтактного промежутка испытуемого выключателя в заданном режиме. Включается источник тока 5, напряжение которого значительно меньше номинального напряжения испытуемого выключателя 3. По снятой предварительно характеристике электрической прочности межконтактного промежутка выключателя 3 (see figure 5, р.57 of IEC 60427), в соответствии с выбранным режимом испытаний, определяются момент подачи команды на включение выключателя 3 и момент подачи команды на запуск ГИНа 4 относительно фазы синусоидального напряжения источника тока 5. Блоком 9 автоматического управления опытом подается команда на включение выключателя 3 и в заданный или определяемый в процессе операции “включение” момент времени подается команда на запуск ГИНа 4. В результате импульс высокого напряжения, вырабатываемый ГИНом, пробивает межконтактный промежуток сближающихся контактов выключателя 3, и через него начинает протекать ток от источника тока 5.
Преимуществом предлагаемого устройства является то, что в нем отсутствует управляемый разрядник на большие токи, как правило, шунтируемый в процессе коммутации выключателем (для снижения эрозии электродов и продления срока службы), отсутствуют источник напряжения включения и цепь начального переходного тока включения, что существенно повышает надежность работы устройства, упрощает конструктивное выполнение и снижает стоимость устройства и проведения испытаний.
В предлагаемом устройстве в принципе отсутствует время задержки подключения источника тока после пробоя межконтактного промежутка испытуемого выключателя, что обеспечивает адекватность испытаний, а возможность выбора момента пробоя испытуемого выключателя в процессе операции «включение» позволяет реализовать заданный режим испытания.
Предлагаемое устройство позволяет проводить испытания трехполюсных выключателей, предназначенных для работы в сетях с изолированной нейтралью или с глухо заземленной нейтралью. В этих случаях, в зависимости от требуемого режима, используются два или три источника высокого импульсного напряжения.
Формула изобретения
Устройство для испытания выключателей высокого напряжения на включающую способность, содержащее клеммы для подключения испытуемого выключателя, источник высокого импульсного напряжения, последовательную цепь, состоящую из источника тока включения, параллельно которому включен конденсатор, и реактора, подключенную параллельно источнику высокого импульсного напряжения и одним концом электрически связанную с первой клеммой для подключения испытуемого выключателя, отличающееся тем, что в состав устройства дополнительно введен блок для автоматического управления опытом, один выход которого соединен с входом запуска источника высокого импульсного напряжения, а второй выход включен в схему устройства так, что сигнал с него подается к испытуемому выключателю, при этом вторая клемма для подключения испытуемого выключателя соединена с вторым концом последовательной цепи.
РИСУНКИ
|
|